Dow Jones Broad Tape News Printer

© Brooke Clarke 2013 - 2026


Background
Photographs
Ticker
Electromagnet
Patents
Teletype LP124RE/AJU
Related
Related Patents
Links

Background

Although this news printer used wide (broad) sheets of paper instead of the narrow tape used for stock quotations, it still uses a single type wheel and the "ticker" method of printing so I think of it as a "stock ticker".

I'm looking for any and all information about this printer, let me know if you have some.

The page originally was called broad sheet, but I've been told a broad sheet is newspaper size and broad tape is tabloid size, so broad tape it is.

The paper should be 5" wide, my first try has it as 6-1/8 which is a little too wide for the mechanism.

Photographs

Fig 1 Micro switch at left end.
Dow Jones Broad
                Sheet News Printer
Fig 2
Dow Jones Broad
                Sheet News Printer
Fig 3  "Ticker" motor to rotate type wheel
Dow Jones Broad
                Sheet News Printer
Fig 4 Shaft (12) for motor at left
Carriage return spring on arm at bottom
Dow Jones Broad
                Sheet News Printer

Fig 5 Bottom Solenoid (what does it do?)
Dow Jones Broad
                Sheet News Printer
Fig 6
Dow Jones Broad
                Sheet News Printer
Fig 7 Bottom Solenoid triggers print CR?
Dow Jones Broad
                Sheet News Printer
Fig 8 Bottom Solenoid
Dow Jones Broad
                Sheet News Printer
Fig 9 Vertical motor shaft out bottom
Dow Jones Broad
                Sheet News Printer
Fig 10 Character Advance wobble plate and rack
Dow Jones Broad
                Tape News Printer Character Advance wobble plate and
                rack
Fig 11 Cinch Jones 8 pin Plug
Dow Jones Broad Tape News Printer Cinch Jones 8
              pin Plug
Note: Numbers are on back of connector.
Cinch Jones 8 pin Plug
Pin
Function
1
nc
2
SPDT Microswitch
3
"
4
"
5
Red wire Ticker
6
Black wire Ticker
7
green wire Electromagnet
8
blue wire Electromagnet

Photos © Jeffrey R. Brooks

Fig 1
Dow Jones Broad Tape
                News Printer © Jeffrey R. Brooks
Fig 2
Dow Jones Broad Tape
                News Printer © Jeffrey R. Brooks
Fig 3
Dow Jones Broad Tape
                News Printer © Jeffrey R. Brooks
Fig 4
Dow Jones Broad Tape
                News Printer © Jeffrey R. Brooks
Fig 5
Dow Jones Broad Tape
                News Printer © Jeffrey R. Brooks
Fig 6
Dow Jones Broad Tape
                News Printer © Jeffrey R. Brooks

Ticker

See Fig 3.  The ticker is driven with a bi-polar signal on two wires (Cinch Jones plug pins 5 & 6, see Fig 11).

It has a DC resistance of 88 Ohms.

If the motor supplies torque on the type wheel shaft, then activation of the ticker would allow the type wheel to move one step.

Electromagnet

It has a DC resistance of 400 Ohms.

Patents

On Label:

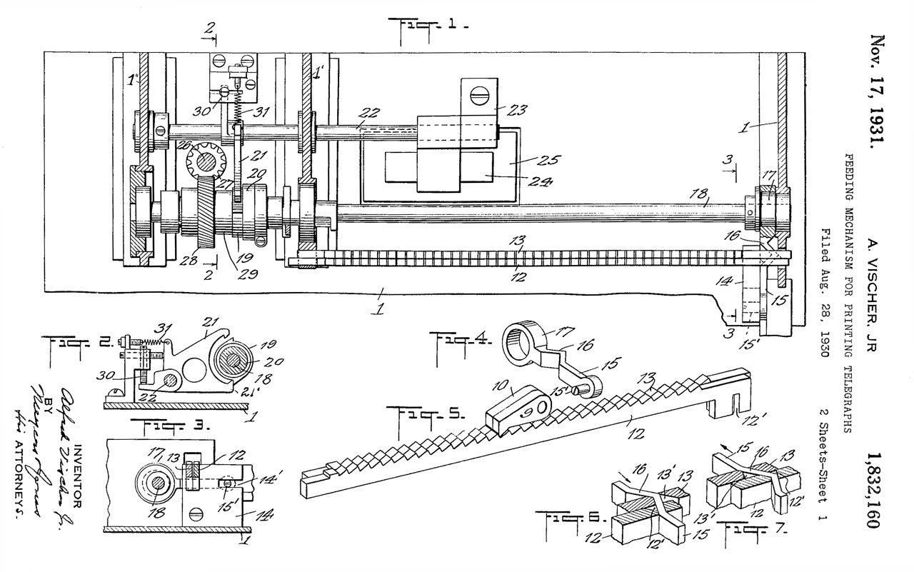
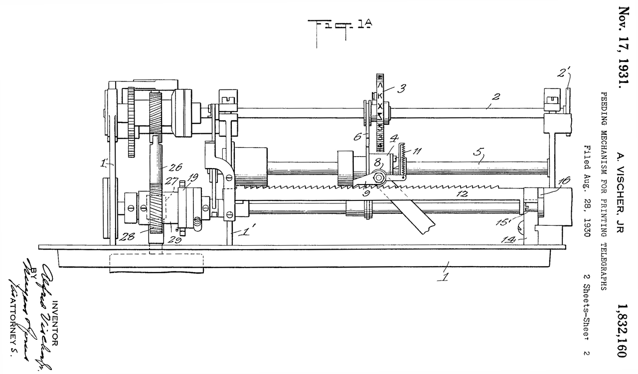
1832160 Feeding Mechanism for Printing Telegraphs, A. Vischer Jr. (Dow, Jones & Co.),  
            Nov 17, 1931, 400/320 ; 178/28; 400/322; 400/332.4; 400/332.5; 451/392; 74/167
This may be for the wobble plate character advance.
    Calls:
     1178215 Printing Telegraph Receiver, G.S. Conger (Dow Jones & Co.), Apr 4, 1916
            Calls:
             765978 Receiving Instrument for Printing Telegraph Systems, W.R. Landfear,
                          Jul 26, 1904,
Dow Jones Broad Tape News Printer 1832160
Dow Jones Broad Tape News Printer 1832160

D87174 June 14, 1932, D20/2 - standing casket design.
              flat glass to allow viewing and reduce noise



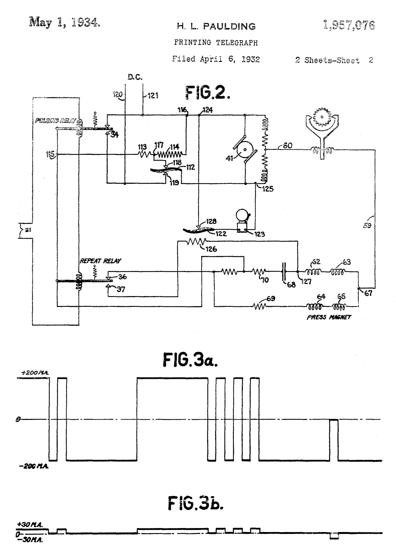
1957076 Printing Telegraph, H.L. Paulding (Financial Press Companies), May 1, 1934,
        178/4.1R ; 178/23R; 178/28
        This includes a schematic of how the transmitter is wired to the system and this printer.

Note: Bipolar signal in Fig 3a.

1957076
                Printing Telegraph Fig 1

1957076
                Printing Telegraph Fig 2

1957088 Switch, A. Vischer Jr. (Financial Press Companies), May 1, 1934,
               337/89 ; 337/104; 337/109; 337/113
               Switch housed in multi-plug assembly



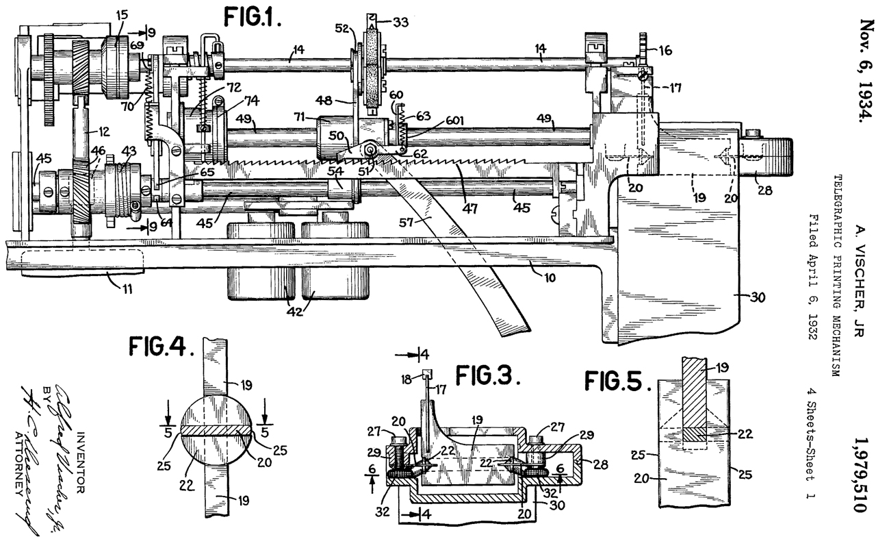
1979510 Telegraphic Printing Mechanism, A. Vischer Jr.(Financial Press Companies),
               Nov 6, 1934, 400/320 ; 16/94R; 178/27; 188/316; 267/124; 267/64.15;
               400/174; 400/322; 400/328.1; 403/318; 403/356; 451/233; 464/106
               This appears to be this printing mechanism!
               Calls: 1957076 (see above)

Dow Jones Broad Tape News Printer 1979510
                Telegraphic Printing Mechanism
Dow Jones Broad Tape News Printer 1979510
                Telegraphic Printing Mechanism

Dow Jones Broad Tape News Printer 1979510
                Telegraphic Printing Mechanism Dow Jones Broad Tape News Printer 1979510
                Telegraphic Printing Mechanism

Teletype LP124RE/AJU (Model 28)

This is part of the Model 28 family (Wiki).
The ID plate has the following patent numbers and others have been added.


2348214

2505729 Printing telegraph apparatus, Walter J Zenner, Tyeltype, 1950-04-25, - Model 28 rectangular type block

2566031 Latch operated clutch, Arthur N Nilson, Tyeltype, 1951-08-28, -

2568249 Latch operated clutch, Arthur N Nilson, Rolf A Thienemann, Walter J Zenner, Tyeltype, 1951-09-18, -

2574137 Stop for reciprocating members, Walter J Zenner, Tyeltype, 1 951-11-06, -

2577064 Interchangeable type carrier, Walter J Zenner, Tyeltype, 1951-12-04, -

2595745 Printing telegraph selector, Walter J Zenner, Tyeltype, 1952-05-06, -

2607848 Telegraph keyboard transmitter, , Walter J Zenner, Tyeltype, 1952-08-19, -

2624799 Range finder for telegraph selectors, Carl W Swan, Tyeltype, 1953-01-06, -

2658105 Shift mechanism, Berthel F Madsen, Tyeltype, 1953-11-03, -

2666095 Telegraph printer, Walter J Zenner, Tyeltype, 1954-01-12, -

2667256 Line feed mechanism, Berthel F Madsen, Tyeltype, 1954-01-26, -

2667533 Automatic message switching system, Walter J Zenner, Tyeltype, 1954-01-26, -

2678118 Friction clutch, Walter J Zenner, Tyeltype, 1954-05-11, -

2697505 Ribbon reverse mechanism, Berthel F Madsen, Tyeltype, 1954-12-21, - 

Related Patents

261567 Printing-telegraph, E.A. Schoettel, July 25, 1882, - line over line rather than paper tape.  Uses many type wheels.
1140861 Printing-telegraph receiver, John E Wright, Wright Telegraphic Typewriter Co, 1915-05-25, -
1201809 Printing-telegraph receiver, Amos F Dixon, WE, 1916-10-17, -
1370402 Automatic telegraph system, George R Benjamin, WU, 1921-03-01, -

Related

Telegraph
Stock Ticker Patents - illustrated with drawings
WU 5A High Speed Stock Ticker

Links

Back to Brooke's PRC68, Alphanumeric Index to web pages, Products for SaleHome, Military Information, TelegraphPhones, Telephone Patents
Page created 2 April 2013.