Web Page Summarizing Intrusion Detectors and Related Equipment
TRC-3
PEWS - Platoon early Warning Systems AN/TRS-2(V)
AN/USQ-42 Radio Frequency Monitor Set
Frequency Disconnect
Turd
Lazy Dog
Flechettes
Patents
ID-1631A/GSQ Info Wanted
Operation Hamster
Different web page: MOID Modular Outdoor Intrusion Detectors
Geophones have been developed for the oil exploration business. They have a "ground shaker" which could be a heavy vehicle with a "tamper" that pounds the ground or they set off explosions. By using a number of geophones (earth microphones) and listening to the sub sonic sounds they can make a sub surface map of the rock formations that may help in locating oil. Needless to say they have a lot of money to develop these geophones.
-
As of 10/19/98 the following three units are on the Stano Components Inc. Seismic page.. Note mine is a PSR-1 and they are showing a PSR-1A.
TRC-3/3A Transmitter
The PCB has about 2 dozen transistors, a single crystal, a couple of adjustable inductors and 3 variable caps. The axial lead resistors are all standing up so that they take up less board space. The switch is located near the sensor input and has a number of resistors connected in series between contacts, like a voltage divider. The final transistor may be a TO-5 2N3866, all the other transistors look like Fairchild plastic units. There is a panel on the face opposite the label about 2x3.5" that is the PCB cover. It's been sealed by cementing the plastic together
The crystal oscillator is in the corner opposite the switch and feeds an RF chain ending with the antenna..
This is a single geophone combined with a radio transmitter. The transmitter only turns on when there is a sub sonic signal above a selectable threshold. I find that if I place it within 30' of my house at the least sensitive setting it goes off from my foot steps inside the house. At 100' from my house at the least sensitive setting if I jump in the house it will go off, but not with foot steps. So far I have not found a location where it will go off for a car coming into my drive way but not from me in the house. The fidelity is not as good as the PSR-1 maybe because of the radio link and the use of squelch on the receiver.
Photo showing the "single bump" indicating that this one sends out a single "beep" others send out 2,3 or more "beeps"
The frequency on this one is 129.000 MHz which is below the 160 to 176 MHz range of the UQS-46 sensor receiver.
The modulation is probably AM.
RC-3A PSID Receiver
This receiver is housed in a case with the same outline as the TRC-3/3A transmitter and runs on 2 each 9 Volt batteries. It has a coaxial output connecter that is 0.243" in diameter and has two lugs for a bayonet sytle mating connector. It has a male pin. This may be a "BN" connector, but I have not found a reference for it. These may be part of the GSQ-151 PSID system.
Stock number 6350-179-1560 (6350-179 matches the TRC-3/3A transmitter). Freq. 126.6 MHz
DAAK02-70-C-0577 is the contract number.Dorsett Electronics may now be part of LaBarge.
Headphone
This is a single earphone that has 3 straps with Velcro ends so you can install it under a helmet. The coax connector looks like a miniature BNC plug.
This headset mechanically plugs onto the URC-68 headphone jack, but does not function properly on that radio.
Being sold on eBay as: Military Intrusion Alarm Receiver Headset by j5w23
I have been told that this is a TRC-3 headset.
PEWS - Platoon early Warning Systems AN/TRS-2(V)
This set consists of one of the R-1808(V)x receivers and ten DT-577(V)x Detectors plus misc. other items. (the x is the version number and indicates the RF frequency as follows:
PEWS Set
PEWS Receiver
Note that all the frequencies are below the 160 to 176 MHz range of the UQS-46 sensor receiver.
Variation Frequency (MHz) NSN AN/TRS-2(V)1 139.100 5895-01-063-8103 AN/TRS-2(V)2 139.250 5895-01-073-9032 AN/TRS-2(V)3 141.100 5895-01-063-8104 AN/TRS-2(V)4 148.925 5895-01-068-6747 AN/TRS-2(V)5 149.600 5895-01-068-6748 AN/TRS-2(V)6 150.600 5895-01-068-6749The set can also be used in a wire line mode with the RF mode disabled. The DT-577 Detectors have both seismic and magnetic sensors. The magnetic sensor has a sensitive axis the DT-577 has an arrow to be aligned parallel to the path or road. You do not get to hear the sub sonic sounds with this unit, it only sends a digital byte of data with the area and sensor ID and the type of detection, either seismic or magnetic. If a deer sets it off the signal is the same as if a man set it off. You can not select either magnetic or seismic, you must always have both. I would like to have magnetic only - no deer would set it off. There is NO sound from the receiver, only a digital byte or two is sent, so you can not "hear" what's happening.
The key Technical Manuals are:
TM 11-5895-1047-10 Operators Manual
TM 11-5895-1047-23 Organization and Direct Support Maintenance Manual
TS-3565/TRS-2 can generate the digital messages like the sensor, but has no capability to receive data.
TM 11-6625-2784-14 Test Set, Receiver TS-3565/TRS-2(V) (NSN 6625-01-075-0046)
TM 11-6625-2784-24P Test Set, Receiver TS-3565
TM 11-6625-2784-14HR Test Set, Receiver TS-3565
The test set has capabilities similar to the TS-2963/USQ-46 Test Set except that the 3565 has only wire line outputs (an RF generator is needed for RF testing) and the data format is different. The PEWS equipment works with: Area: 3 bits, ID: 4 bits, Parity: 1 bit, Class (Seismic or Magnetic).TRS-2 was offered by Stano Components Inc. 1998
Patents
3644825 Magnetic detection system for detecting movement of an object utilizing signals derived from two orthogonal pickup coils, Paul D Davis Jr, Thomas E Mccullough, Texas Instruments, 1972-02-22, - cited by 149 patents!
The TRC-3 and PEWS sensors transmit in the 129 to 150 MHz range BUT the USQ-42 and USQ-46 receivers tune in the 161 to 175 MHz range. Note that sonobouys operate in the 162 to 174 MHz range and the air dropped sensors were modified sonobouys.
The modern sensors like the GSQ-154, -160 that use the "common components" match the newer USQ-42, -46 receivers. What receivers were meant to be used with the TRC-3? answer follows:
Igloo White (Wiki) - Sonobuoy\Ref 72 -
Acoubuoy, Spikebuoy, Muscle Shoals and Igloo White by Chris Jeppeson - a lot of info on how the electronic battlefield worked in Viet Nam. The early air dropped seismic sensors were based on sonobuoys with the hydrophone replaced by a geophone. They transmitted to AN/ARC-??(V) aircraft transceivers in the 100 to 156 MHz range. There were constantly aircraft flying, acting as relay stations to pickup the sensor signals. Since the sensor transmitters were low power (2 Watts typical) they were hard to detect on the ground, but had a long range to aircraft.
There is still a problem because the airborne sonobuoy receivers will not receive the 129 to 150 MHz sensor transmissions. But the AN/ARQ-52 maybe does. It was a FM Sonobuoy Signal Receiver; used in P-2, P-3A, S-2, SH-2D, EC-121R "IGLOO WHITE"
10 April 2001 - the GSQ-187 and R-2016/GSQ receivers for the REMBRASS II program cover a frequency range of 138 to 153 MHz. There probably were earlier versions of these units.
5 Apr 2002, (after 9/11) A thought. It would be good to have a system of satellites to receive these transmissions. Much more effective than aircraft circling on a 24/7 basis and you would have world wide coverage. The technology could be similar to the SARSAT system.
Crash of EC-121R - Bat Cat aircraft
EC-121R Bat Cat - photo -
This is a Vietnam era fake turd that has mercury batteries a vibration sensor (not a geophone) and a VHF transmitter. I need to take a photo and do some reverse engineering. X-Ray of dog turd, lump of clay and tree branch. You can see 3 coin batteries, transistors and coils in these.
X-ray courtesy of Dr. Christof Hasse.
The tree branch sensor is shown on the fifth page after pg 54 in the book "The Electronic Battlefield" by Paul Dickson, Indiana University Press, 1976, ISBN 0-253-12158-2, extensive bibliography. On the next page -
"WATCH YOUR STEP. One of the many new sensor set-ups that are part of the current electronic battlefield. Here noiseless button bomblets (NBB), which are disguised as such things as twigs and animal droppings, are activated when a human walks close by. The NBB sends a signal to an ARFBOUY transmitter, which passes the signal along to those in charge of the action. (U.S. Navy/MITRE)"New Turd with wrapper still on
I've heard of small disks, maybe 1" diameter by 0.4" tall related to this and now have found a patent for them.
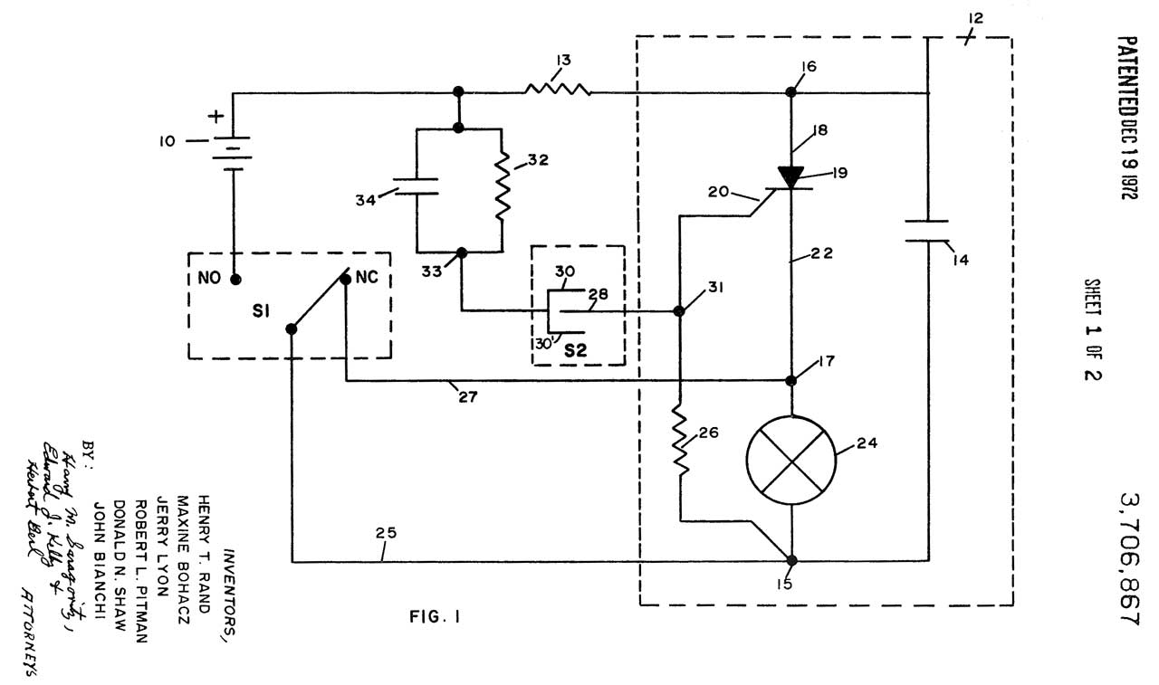
3706867 Electronic anti-intrusion device, Henry T Rand, Maxine Bohacz, Jerry Lyon, Robert L Pitman, Donald N Shaw, John Bianchi, U.S. Army, Feb 18, 1971, 200/61.52, 102/424, 340/541, 200/61.11
The vibration sensor shown inFig 1-S2 & Fig 2 and Fig 3 is a ball in cage type. These come in many variations.
This unit uses two switches. S1 when in the safe position shorts out the noise maker (detonator or transmitter) and when in the arm or operate position starts an RC time constant where the capacitor is the main power source. R would be a medium value resistor and C would be a fairly high capacitance that's also very low loss. After that RC time constant has passed (allowing time for an air drop and bouncing around and settling) then switch S2 comes into play. S2 is a ball in cage switch that may be either shorted or open after the RC time goes by, but in either case the SCR will not trigger. S2 must change state then the SCR will trigger. The patent mentioned the size of 1" dia. by 0.4" high. Maybe this is the NBB?
Note the patent talks about a noise maker as the output and also mentions the idea that the noise maker might be a detonator, but it also could be a radio transmitter (hence noisless).
http://en.wikipedia.org/wiki/Measurement_and_signature_intelligence#Unattended_ground_sensors
CIA: Seismic Intruder Detection Devices -
Since I don't see any lathe tool marks this may be the forged version.
A Flechette (Wiki) is more like an arrow and has much less mass that the bomb shaped Lazy Dog. This means the kinetic energy in the Lazy Dog is much higher. Flechettes can only attack personnel out in the open whereas the Lazy Dog will penetrate vehicle bodies.
Kinetic energy weapons (Wiki) do not make use of explosives but rather depend on kinetic energy = 0.5 * Mass * Velocity * Velocity. (on line calculator). This includes Project Thor, Rods from God.
A new idea is that the effectiveness of a weapon depends on some function of it's power and how accurately it is delivered. For example dumb/iron bombs were made in larger and larger sizes in the hope that they would be more effective, but that did not work. The same goes for artillery. But it's now clear that during the Russian invasion of Ukraine that smart weapons, i.e. weapons that land within a couple of meters of the target are very effective.
The point is that it's really the combination of energy and accuracy of delivery that's important.
Each of the four fins folds out from the center and then is bent. The bending forms a tail cone which in turn lowers the drag coefficient.
Dia: 0.407" (10.3mm)
Len: 1.778"
Wt: 0.6 Oz. (17 g)
Vt: 213 m/sec (476 M/h)s
Cd: 0.07283
Ref 1: DEVELOPMENT TO COMBAT: Additional Technological Developments - Perfecting Effectiveness: Armament: Lazy Dog:
Ref 2: Static and Dynamic Stability Studies on Several Lazy Dog Configuration, 1964, 176 pgs (pdf) - starting point was the .50 caliber bullet because there was a huge number of them as surplus. There was an effort to make use of just the steel core. But none of the 8 versions (various fin configurations) tested in this paper matches the Lazy Dog shown above.
Ref 3: On the front line of R & D : Wright-Patterson Air Force Base in the Korean War, 1950-1953, by Lori S. Tagg - on order Sep22
Ref 4:Drone Darts are Silent and Deadly!, 16:00 - Home made Lazy Dog dropped from DJI Mavic 2 quadcopter (Mavic 2 Pro can lift 2.2 lbs).
Ref 5. YouTube: Veritasium:The Fatal Physics of Falling Objects, 22:40 - @18:14 Flechettes, @19:19 Lazy Dogs, 68 Joules will break a skull.
Terminal Velocity (Wiki) Vt = SQRT[(2*m*g)/d*A*Cd)]
Vt: terminal velocity
m: mass 17 g
g: acceleration of gravity
d: air density (Wiki) 1.2 kg/m3
Cd: drag coefficient (streamlined body = 0.04)
A: projected area = PI * R * R = 84 sq mm
Terminal Velocity Calculator
If Vt=476 then Cd=0.07283
Kinetic Energy CalculatorRef 6. "Deadly Metal Rain: The Legality of Flechette Weapons in International Law: A Reappraisal Following Israel's Use of Flechettes in the Gaza Strip" - 213 m/s (476 Mb)
MPH
Joules
50
4
100
17
200
68
300
153
400 (Cd 0.1)
272
476
385
642 (Cd0.04)
700
Ref 7. Flechettes: The Darts of War, 23:20 -
Ref 8. Military FLECHETTES - More Than Meets the Eye, not at all effective when fired from a 12 Ga shotgun.
Ref 9. Rods From God - Real or Myth?, 4:43 -
Some flechettes (Wiki) have the appearance of a nail where the head end has been stamped into small fins. The pointed end looks very much like the point on a nail.
Fig 1
The flechette and cubes are from battlefield detritus from Ukraine 2023.
These came along with a Shahed 136 part that included a servo.
Note cubes show up in patent 3498224 Fragmentation warhead having circumferential layers of cubical fragments. I'm sure they're used in munitions of many countries.
Flechette: Body dia: 2.25mm x 30mm long
Cube: 7mm, 2.6 g 7580 kg/m3 which is probably steel, not tungsten.
YouTube: Do FLECHETTES work like in Video Games/Hollywood Movies?, 10:22 - 12 Ga shotgun shell w/19 each nail like flechettes - very poor performance. Far worse than 00 buckshot (Wiki). This suggests that the fins do not work in this case.
Cobra Firing Flechettes Vietnam War, 4:21 - from rocket pod.
Archive.org: Missiles and Flechettes - 13 photos; Gardian: How Flechettes work - APERS-T 105mm Shell (Wiki: Beehive) replaced by Killer Junior (Wiki).
Patents (TI=Flechette)
1195107 Gun Cartridge, J. Ed Sheriff, 1916-08-15 - shotgun shell
3334588 Ammunition round, Farrell G Larsen, General Precision, 1967-08-08, -
3407463 Apparatus for producing flechettes, Ira J Boots, Jr John Metz, Maurice H Paris, Whirlpool Corp, 1968-10-29, -
3545383 Flechette, Carl F Lucy, Singer General Precision, 1970-12-08, -
3673047 Flechette assembly machine, Roy C Buth, Arthur F Schroeder, Navy, 1972-06-27, - looks like the skinny one in the photo above.
3695310 Flechette manufacturing machine, Vincent J Donadio, Army, 1972-10-03, - pinching wire going down the center of a tube, many tubes in parallel.
3771455 Flechette weapon system, R Haas, Army, 1973-11-13, -
3941059 Flechette, Donald R. Cobb, Army, 1976-03-02, -
4210082 Sub projectile or flechette launch system, Jack Brothers, Army, 1980-07-01, - cylinder with explosive at center
Interesting Citations and References, including a China Lake patent 3504632 Time delay fuze
