Crystals

© Brooke Clarke, N6GCE 2001 - 2024

Frequency Accuracy
Common Crystal & Oscillator Frequencies
Radios That Use Crystals for setting Tx and/or Rx Frequency
Specifications
Theory
Test Equipment
Manufacturing
Crystal Radios
Filters
Oscillators
Ceramic Resonators
SAW Devices
Vendors
Oscillators
Holders
Related
Links


Frequency Accuracy

When a crystal is installed into an oscillator circuit a number of factors determine the actual frequency of oscillation.

Initial frequency

The initial frequency is specified for either series mode or parallel mode with some load capactance.  In either case becasue of stray capacitance either the frequency will be off some or there will be a variable capacitor to adjust the frequency.

A tolerance of 0.002% on a crystal is a little better than normal. That is equivalent to 20 parts per million (ppm).  Low cost unit oscillators have a frequency specification of 100 ppm that covers initial frequency, power supply variations and aging for something like 90 days.

Note that 100 ppm translates to 2,000 Hz for a 20 MHz oscillator or crystal.

Temperature effects

The frequency vs. temperature curve is a strong function of how the crystal was cut.  For narrow temperature range applications the turning point can be controlled so that the slope of the curve is about zero at the operating temperature.  For wider temperature ranges the turning point can be set to be in the center of the temperature range to minimize the variation over the complete temperature range.  The temperature variation can be characterized and is repeatable.

Lab standard crystals are typically SC cut and the turning point is set for the double oven temperature.

Aging

When operating (vibrating) the crystal will change frequency over long time periods.  If the crystal was manufactured in a modern clean factory and is sealed using a cold weld process then the aging process follows a formula whose constants are serial number tied to the crystal.  Once the aging function is known for a crystal then it can be predicted.  Very high quality oscillators have an aging function that appears to be linear for time frames of many months.  You could just turn the fine tuning adjustment a small number of counts each day, once you know what the drift rate is.

The best laboratory grade double oven crystal oscillators have an aging rate of about 1E-10 per day after they have been burned in for many weeks.   That's 0.002 Hz in 20 MHz.

A Rubidium oscillator might have an aging rate of 1E-10 per month.  The Stanford Research PRS10 uses GPS to correct for long term aging and uses an improved version of their SC10 crystal oscillator to provide very good short term stability (Allan Variance).

A problem with aging relates to the pullability or Q of the crystal.    The aging rate is very low and gets better with age like a fine wine.  But at some point the coarse trim capacitor can no longer pull the oscillation frequency back to the nominal value.  This happened to me with a Gibbs lab standard that was very old. I got a little more life out of it by adding some glass caps to the coarse circuit, but in the end still could not pull the Bliley glass cased crystal back to nominal.  When a timing output is desired, like a 1 Pulse Per Second output a microcontroller can continue to correct for a non nominal frequency so the only thing that matters is that the oscillator is running.  The old crystal would have a much lower aging rate then newer crystals.

Allan Variance

If you look at how the frequency varies as a function of how far from the carrier you test the parameter is called phase noise.
If you look at how the time varies as a function of the time interval the variation is called Allan Variance or modified Allan Variance.

A low cost unit oscillator may have a frequency variation of a few Hz when measured using a 1 second integration time counter whereas a high quality oscillator will have a one second frequency stable to a small fraction of a cycle.

Common Crystal & Oscillator Frequencies

Wiki: Crystal Oscillator Frequencies
Table as pdf document with factors that are typically 2, 3 and 5.

Radios That Use Crystals for setting Tx and/or Rx Frequency

Radios like the PRC-68 family or the PRC-25 or PRC-77 or NRD-545 use some crystals and a frequency syntheizer to set the operatiing frequency and do not need to be recrystaled to change frequency.

The following radios use individual crystals to set their operating frequency.  Typically one crystal for the transmit frequency and another crystal for the receive frequency.

BC-611
PRC-6
PRT-4 & PRR-9
GRC-109
Village Radio

Specifications

Cut
Series Reasonant Frequency
Parallel Reasonant Frequency with a specified CL
Q
Operating Temperature - Temp Comp Patents
Equivalent Circuit Values: Ls, Lm. Cm, Rs, Cp
Holder
Harmonic

Theory

The mechanical resonance shows up as Lm, Cm and Rm whose equivalent electrical values are much larger than conventional parts.

5 July 2017 - added a section based on the book: Electroacuustics: The Analysis of Transduction, and its Historic Background,
Published by the American Institute of Physics for the Acoustical Society of America.  Frederick V. Hunt, 1954, 1982, ISBN: 0-88318-401-X
pg 53 - Crystal Control of Frequency
1450246 Piezo-electric resonator, Cady Walter G, Apr 3, 1923, 310/314, 331/163, 601/2, 333/187, 310/319, 310/318 -
RE17355 Piezo-electric resonator, Cady Walter G, RCA,Filed: Jan 28, 1920, Pub: Jul 2, 1929, 333/187; 310/318; 330/109; 330/174 -

George W. Pierce

1576459 Electric retardation line, Submarine Signal Co, Filed: Dec 24, 1921, Pub: Mar 9, 1926, 333/138 - frequency independent time delay 3X to 10X wider bandwidth of prior art.
2124596 Piezoelectric crystal apparatus, Roger A Sykes, Bell Telephone Labor Inc, Jul 26, 1938, 310/355, 333/190, 310/342 - holder
2133642 Electrical system, Pierce George W, Filed: Feb 25, 1924, Pub: Oct 18, 1938, 332/182, 331/164, 332/181, 331/105, 327/596, 310/354, 455/336, 310/318, 310/367, 455/119, 331/158, 455/292 - oscillator circuits, mainly for electromechanical systems.
2133645 Electrical system, Pierce George W, Filed: Jan 14, 1928, Pub: Oct 18, 1938, 329/349, 455/319, 331/40, 331/164, 331/158, 455/321 - crystal controlled oscillators used in radio receivers (One Tube Radio).
2223537 Piezoelectric crystal apparatus, Sykes Roger A, Bell Telephone Labor Inc, Dec 3, 1940, 310/361, 310/365, 381/190, 310/366 - Fig 8: "a rectangular parallelepiped quartz plate I having a thickness dimension of 2.00 millimeters along an electric axis X, a width dimension of 16.50 millimeters along the optic axis Z and a length dimension of 45.03 millimeters along a mechanical or third axis Y, the crystal being vibrated in the longitudinal mode along the length dimension Y at a fundamental frequency of 60,000 cycles per second determined by the length dimension Y."
Calls:
1974081 Piezo-electric wave filter, Mason Warren P, Bell Telephone Labor Inc, Sep 18, 1934, 333/190 
1967250 Wave filter, Mason Warren P, Bell Telephone Labor Inc, Jul 24, 1934, 333/189
2124596
Piezoelectric crystal apparatus, Roger A Sykes, Bell Telephone Labor Inc, 310/355, 333/190, 310/342 - holder
2173589 Piezoelectric apparatus, Mason Warren P, Sykes Roger A, Bell Telephone Labor Inc, Sep 19, 1939,310/361, 310/368 - quartz cut angles and associated properties (math and rules for cuts)
2185599
Piezoelectric apparatus, Mason Warren P, Bell Telephone Labor Inc, Jan 2, 1940, 310/361, 367/164, 310/355, 310/318, 310/365, 310/366, 310/370, 333/187 - crystal filter   
2032865
Piezoelectric crystal apparatus, Bicling Carl A, Bell Telephone Labor Inc, Mar 3, 1936, 310/355  
2507374 Piezoelectric crystal holder, Franklin Ralph E, Miller William A, Rca Corp, May 9, 1950, 310/349, 310/364, 310/354, 310/346 - clamped at center, not plated, when vibration is radial to clamp

Bliley & John M Wolfskill (Bio)

YouTube: From Raw Crystal to Crystal Oscillator - Crystals go to War in 1943, 41:27 - @32:00: "...placed in the etching solution for the required time..." @32:21 " The etching solution dissolves quartz from the surface of the crystal making it thinner and thereby increasing the frequency.  Also by removing the damaged surface layer, produced by machine lapping, etching increases the stability of the finished oscillator plate."  In this movie an iterative process is used at final etch to bring the crystal on frequency.  They are not showing the slide rule for calculating final etch time.

Bliley made very high end crystals.  Used in the Gibbs 5 MHz double oven standard and the Sulzer 2.5 MHz standard.

2157808 Piezoelectric crystal, John M Wolfskill, Bliley Electric Co, 1939-05-09, - for use in harmonic overtone mode, around 4 MHz fundamental
2163742 Apparatus for protecting piezoelectric crystals from overload, John M Wolfskill, Bliley Electric Co, 1939-06-27, -
2213031 Low frequency piezoelectric crystal,
John M Wolfskill, Bliley Electric Co, 1940-08-27, - 50 - 500 kHz & low temp coef.
2240453 Piezoelectric crystal apparatus,
John M Wolfskill, Bliley Electric Co, 1941-04-29 - low-frequency resonant-pin crystal holder cross licensed with Bell Labs -
2256931 Piezoelectric crystal oscillator,
John M Wolfskill, Bliley Electric Co, 1941-09-23, - vacuum tube
2364501
Piezoelectric crystal apparatus, John M Wolfskill, Bliley Electric Co, App: 1941-04-04, W.W.II, Pub: 1944-12-05, - simple etch method to get on frequency
2479286 Production of piezoelectric crystals,
John M Wolfskill, Bliley Electric Co, App: 1944-11-21, W.W.II, Pub: 1949-08-16, - HF acid removes cracks. Design for etching slide rule. - This may be the most important patent in relation to crystals.
2481806 Piezoelectric crystal holder, J
ohn M Wolfskill, 1949-09-13, -
2595037 Piezoelectric crystal apparatus,
John M Wolfskill, 1952-04-29, - mounting
3017525 Mounting support for piezoelectric crystal units,
John M Wolfskill, 1962-01-16, -mounting
3037263 Method of producing piezoelectric crystal devices,
John M Wolfskill, Bliley Electric Co, 1962-06-05, - mounts suitable for use at 200 to 400 deg C. (not soldered)
3046423 High shock and vibration resistant piezoelectric crystal units,
John M Wolfskill, Richard H Tuznik, Bliley Electric Co, 1962-07-24, -
3932777 Vacuum electrolysis of quartz, James Claude King,
Bliley Electric Co, 1976-01-13, - "... rendering it insensitive to transient frequency offset due to bursts of ionizing radiation" for use in space

Reeves

In YouTube: From Raw Crystal to Crystal Oscillator - Crystals go to War in 1943, @35:38: "... a new technique has been developed by which it is possible to reduce the frequency of a crystal whose frequency has been carried too high."  Uses radiation.

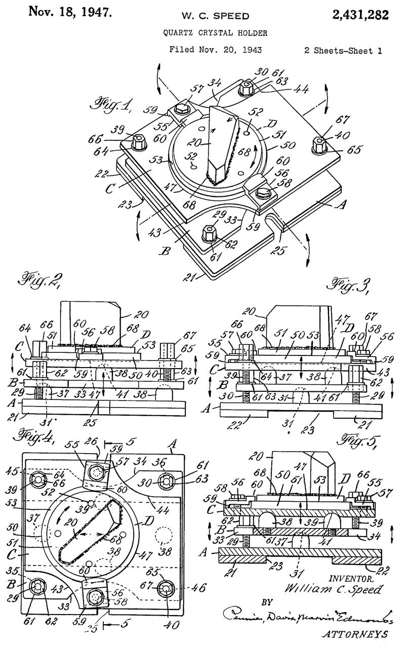
2413795 Apparatus for cutting quartz oscillator blanks, William C Speed, Reeves,App: 1943-11-20, W.W.II, Pub: 1947-01-07, - works with holder 2431282.

2431282 Quartz crystal holder, William C Speed,
                  Reeves, William C Speed
2431282 Quartz crystal holder, William C Speed, Reeves, App: 1943-11-20, W.W.II, Pub: 1947-11-18, - this is the holder featured in the manufacturing video.


Raising (or lowering) the Frequency of a BT Quartz blank with a dry process
2437912 Quartz oscillator plate, Frondel Clifford, Reeves, App: 1944-12-15, W.W.II, Pub: 1948-03-16, - to move frequency down by radiation
2437913 Quartz oscillator plate, " - to move frequency down
2437914 Quartz oscillator plate, " - to move frequency down
2437915 Quartz oscillator plate, " - to move frequency down
2449844 Quartz oscillator plate, Frondel Clifford, Reeves, App: 1944-12-15, W.W.II, Pub:1948-09-21 - to move frequency up using UV light.

2445132 Apparatus for determining electrical axis of quartz crystals, Berman Harry, Reeves, App: 1943-11-20, W.W.II, Pub: 1948-07-13, - based on X-Ray crystallography (Wiki)
2513870 Hermetically sealed crystal, Philip R Hoffman, Reeves Hoffman, 1950-07-04, - crimp, not solder

Test Equipment

Military Crystal Impedance (CI) Test Sets

Model
Frequency
TM
Mil-spec
TS-710
RFL (Radio Frequency Labs) 541C
10 to 1,100 kHz
same as TS-683?
MIL-T-12333C
Drive Adjustment Procedure for Crystal Impedance Meter TS-710/TSM MS91446A
TS-537
75 to 1,100 kHz
TM 11-5052 MIL-T-12628
MIL-T-12333
TS-330
RFL Model 459A
1 to 15 MHz
11-6625-536-14
MIL-C-12555B
Drive Adjustment Procedure for Crystal Impedance Meter TS-330/TSM MS90167B
TS-531
10 to 110 MHz

?
TS-683
RFL Model 531
10 to 140 MHz
11-6625-456-14, -40P  and TM 11-5051 ?
Drive Adjustment Procedure for Crystal Impedance Meter TS-683/TSM MS90168B
Drive Adjustment Procedure for Crystal Impedance Meter TS-683/TSM (for Testing CR-33/U Quartz Crystal Unit) MS91415A
AN-TSM/15
RFL ???
> 200 MHz


Saunders 200VHF 10 to 200 MHz


Commercial Crystal Test Equipment

The Agilent (formerly HP) E5100 network analyzer with LCD screen is used by almost all the manufacturers for engineering and some production testing for crystals above 10 kHz.  This is a swept instrument where the crystal is connected in series using a test fixture as described in app note 5967-6048E.pdf
The Agilent  E4915 & E4916 crystal impedance meters are production meters with numerical output.  These two are difficult to use because you must know the rough parameters before you test.
The Agilent 4194  is still used for low frequency (32,768 KHz) crystals where the impedance can get into the hundreds of Meg Ohm range.

Agilent App Note: Measurement of Load Reasonance Frequency of Crystal Reasonator 5967-6048E.pdf  Note This is all about a test circuit that will supply the correct load capactance.

Crystal Acivity Meter - used to see if a crystal is alive and get a rough idea of the frequency.  Amateur Radio operators use simple circuits with known CL values and a radio and/or counter to test crystals.

It is possible to use the 4395A to measure the crystal equivalent circuit by using a series connection, like in the E5100 and curve fitting the reasonance data in a computer program.

Victor VC2000 Crystal & Frequency Meter

Sanders 150C

Manufacturing

1836735 Crystal oscillator, Edgar D Tillyer, American Optical, 1931-12-15, - crystal in light bulb glass enclosure - Tillyer has many of optical patents
1907425 Piezo electric resonator, Warren A Marrison, Bell Labs, 1933-05-09, - ring shaped crystal with low temp coefficient
1907613 Oscillating crystal, Edgar D Tillyer, American Optical, 1933-05-09, -  Y cut
1925577 Oscillating crystal, Edgar D Tillyer, American Optical, 1933-09-05, - dumbell shape cut

2326319 Crystal working apparatus, Richard S Bailey, Bendix Aviation Corp, App: 1942-03-12, Pub: 1943-08-10, 125/13.01; 29/DIG.26; 29/25.35; 125/901; 356/31; 451/364; 451/6; 451/442; 451/231 -
2340843 Piezoelectric apparatus and method, Richard S Bailey, Bendix Aviation Corp, App: 1941-08-20, Pub: 1944-02-01, 451/6; 125/901; 451/278; 451/44 -
2341683 Piezoelectric crystal holder, Richard S Bailey, Bendix Aviation Corp, 1944-02-15, 310/356; 174/50.53; 968/824 - looks like a snap in cylindrical fuse holder (first after the start of W.W.II)
2356910 Etched crystalline hone, Richard S Bailey, Bendix Aviation Corp,App: 1942-04-20, Pub: 1944-08-29, 451/556 -
2383638 Means for multiple edging and squaring radio quartz crystals, Leon A Faber, James Knights Co, 1945-08-28, - grinding
2394999 Piezoelectric crystal holder, Theodore W Keller, App: 1943-07-12, Pub: 1946-02-19, -  small rectangular box with 2 pins, two screws hold cap on end opposite pins.
2562325 Apparatus for producing artificial crystals, George E Merritt, Bendix Aviation, 1951-07-31, 117/206; 117/926; 117/941 - Czochralski method (Wiki) - Rochelle salts so not for electrical piezo crystals, but instead hydrophones?
2842687 Crystal mount, Karl S Van Dyke, Army, 1958-07-08, - Equivalent resonator circuit

Crystal Radios

These are radios that use a crystal to rectify the RF signal and provide modulation to headphones.  Almost all of these do not use any power source, some may use an amplifier.  I put this here because if you do a web search on "crystal radio" you will get many hits on this topic. A Galena crystal was used in the old days.

Filters

Quartz crystals can be combined (or just one) to make a filter with very steep skirts.

Oscillators

Some companies make only crystal oscillators.  They combine the crystal and the oscillator circuit in a small packate that has power, ground and output.

Ceramic Resonators

To save money a ceramic reasonator may be used in some applications where a quartz crystal was used.

SAW Devices

These are ceramic parts that work with Surface Acoustic Waves.  Some can by used to replace crystal filters.

Vendors

AF4K - for Sale - Data -
Bliley Electric Company  -
Bomar Crystal -
Cal Crystal Lab -
Cardinal Components, Inc. -
Chequers Electronic - China
Cinox - made the 12.000 MHz osc in the TS-3354 and that product line is now made by Vectron
Connor-Winfield -
Corning Frequency Control - includes McCoy Crystal, Oak Industries, Ovenaire, HES, and Croven Crystals
Crystal Technology -
Crystek Crystals
Ecliptek Corporation -
ECS Inc. -
ECM Electronics - UK
Epson -
Fox Electronics -
Hy-Q International -
ILSI America -
International Crystal Manufacturing Co., Inc. (ICM) -
IQD Ltd - UK -> now part of C-MAC -
JAN -
Jewon World Communication Co. LTD -
Klove Electronics BV -
Lap-Tech Inc. - manufacture SC Cut Crystals, frequency control quartz devices for the Aerospace, Satellite, Military and R&D industries.
M F Electronics -
M H Electronics -
Mercury United Electronics, Inc.  -
Micro Crystal, Switzerland, a Division of the Swatch Group -
Mizu - China
M H Electronics - Rancho Cucamonga, CA reasonable prices
MMD - crystals and unit oscillators - SC non oven unitoscillator with temp and frequency serial data outputs.
Morion - Russian -
NKX, Inc. 1814 Hancock St.  Gretna, La. 70053  Talk to Pam at 504-361-5525
Oak Frequency Control Group -
Piezo Technology -
Precision Devices Inc. - Crystals & Test Equipment - KH-1200 IEC444 compliant testing
Quartz Crystal Technology (QCT) -
Quartztek -
Rakon -
SaRonix - Basic Crystal Oscillator Design Considerations -
Sentry Manufacturing Company -
Statek Corporation - Watch Crystals
STC Frequency Technology (PTY) Ltd - South Africa
Surplus Sales of Nebraska - Crystals -
Tellurian Technologies, Inc. -
Tianjin Huaguang Electronic Devices -  China
TTE Frequency Devices - North American sales for TaiTien, E-mail: TaiTien@aol.com
Vectron International -
Webster Electronics -

Oscillators

While looking for UV patents related to W.W.II by Westinghouse came across this one for a crystal oscillator.
2297800 Standard frequency oscillator, Thomas A Read, CBS, Westinghouse, App:1941-11-01, Pub: 1942-10-06, 331/1R; 134/166C; 331/11; 331/34; 334/26; 331/2; 331/32; 331/35 - Quartz crystal, two DC motors, Tubes

Holders



1959827 Piezo-electric crystal apparatus, Lawrence A Hyland, 1934-05-22, -

2392690 Piezoelectric crystal holder, Perkins Alan James, Roberts Walter George, Simmonds Aerocessories, App: 1943-09-28, W.W.II, Pub:
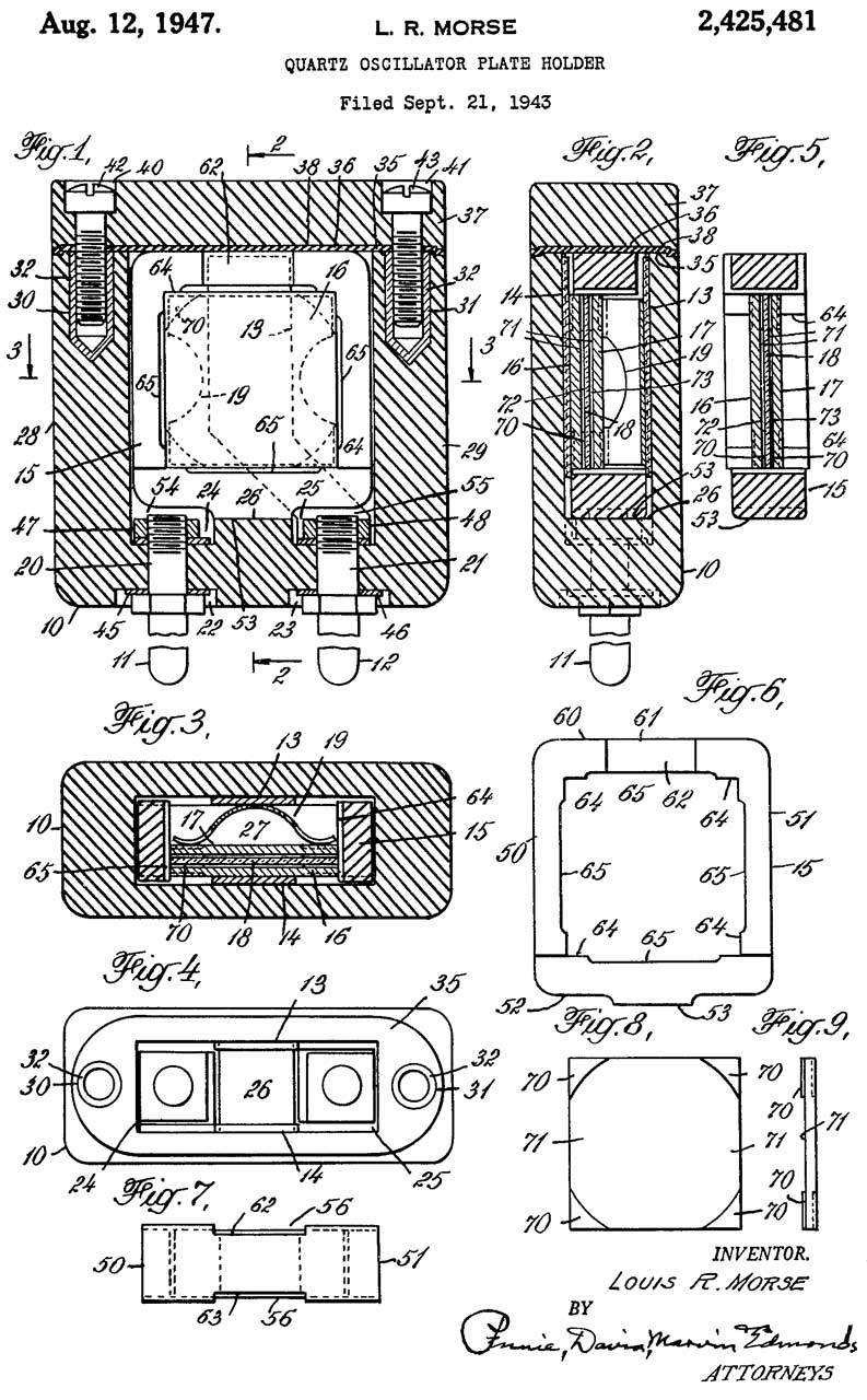
2425481 Quartz oscillator plateholder, Louis R
                  Morse, Reeves Hoffman, App: 1943-09-21, W>W.II,
                  Pub: 1947-08-12
2425481 Quartz oscillator plateholder, Louis R Morse, Reeves Hoffman, App: 1943-09-21, W.W.II, Pub: 1947-08-12, 310/356; 310/349 -
I think I have a tray of military surplus crystals that use this case.

There are about a dozen newer patents by Reeves Hoffman for similar products.

Other Hoffman radio patents:
2797313 Radio communication by neutral frequency deviation, Wasmansdorff Carlton, Hoffman Electronics, 1957-06-25, - This is a modified FSK system where the shift only occurs at the beginning and end of a mark or space.  I don't think is was used.  A good description of the problems of HF FSK over long distances.



2494919 Socket for holding a crystal, Louis R Wanner, Hugh H. Eby, 1950-01-17, - maybe for the CR-24/U

2497966 Crystal holder, Lester C Via, Reeves Hoffman, App: 1946-01-26, W>W>II, Pub: 1950-02-21, -

2677775 Retaining frame piezoelectric crystal mounting, Font Ramon, Premier Research Labs, 1954-05-04, -

Related

LED Clock, PIC micro controller based & runs from an atomic or other 10 MHz frequency standard
6 Digit Display LED1 & PIC 12F675 Clock PC2
Precicion Clock #4
Disciplined  Oscillators patents
Time & Frequency Test Equipment
Stellar Time Keeping - there are limits to the accuracy you can get with optical observations
Navigation Orientation & Position
Frequency Allocations
HP 117A WWVB VLF Frequency Comparator
LORAN-C Chains (now obsolete)

Links

Help in FT-243 Grinding by N6EV
Crystal Oscillators  by N6EV
CRYSTALS / INFO & SOURCES by AF4K
G&G Communications -
Surplus Sales of Nebraska - Crystals -
Xtal Swaps on the Internet by S. Simpson
Crystal  Equipment by Frederick W. Chesson
About FT-241 "Channel" Crystals -
Agilent (HP) policy on aging rate -
IEEE Ultrasonics, Ferroelectrics, and Frequency Control Society - Frequency Control History -
Early History of Piezoelectricity - 1880 - 1980
Introduction to Quartz Frequency Standards -

YouTube - How It's Made: Quartz Used in Military Radio Communication - Vintage Technology Documentary (40 minutes)
YouTube -
Krystallos Bell System Film Development of Quartz Crystal Manufacturing 59554 CF -
IEEE: A History of the Quartz Crystal Industry in the USA, Virgil E. Bottom -
W4NPN - Crystals -
Back to Brooke's Products for SaleMilitary Information, Electronics, Home page

Page created 6 Sep 2001.