BC-611 Handie-Talkie
Signal Corps 
Radio Receiver and 
Transmitter BC-611-E
18224:CGG, 10756-PHILA-44

© Brooke Clarke, 2001 - 2025


BC-611, 4
                  "D" Batt Adp, FT-501, Voice Sil

BC-611, 4 "D" cell Batt Adapt, FT-501, Voice Silence & Manual

General Information
Changing Frequency
Photos
Related Equipment
A & B Battery
Patents
    Prior to W.W.II
    SCR-300
    Crystals
Manuals on CD
Maintenance
Links

General Information

W.W. II vintage "Handie Talkie".  Used in large numbers. 
The BC-721 is a version for use in Gliders and has an 8 pin Jones plug on the enlarged bottom plate (battery cover).  Behind the sliding door above and to the right of the PTT switch there's an antenna disconnect switch that's activated when the BC-721 is installed in it's mount.
The SCR-536-(*) consists of the following (thanks to Robert D.): BC-611 (1 ea), TM 11-235 (2 ea), Batteries ( 4 pair), FT-501-A (2 ea), spare tubes ( 1 set).
The SCR-536-D consists of an SCR-536-(*) plus the BX-49.

3.5 to 6 Mc, single channel 360 mW RF output (typo in manual says 36 mw)
    (24 ma * 103.5 Volts = 2.48 Watts Tx DC input power, TM 11-235 paragraph 115 says average RF output power is 255.3 mw, minimum RF output is 170 mw.)
It looks like the "E" is an overlay, i.e. this radio was upgraded form some earlier version.
With label "3885" on PTT side.
The battery box cover says : Place batteries in position with + (POS) end out" and
Use only BA-37 "A" Battery (1.5 V @ 250 mA Rx, 300 mA Tx, can use "D" battery and empty 0.5" shell casing)
Use only BA-38 "B" Battery (103.5 V @ 11 mA Rx, 35 mA Tx)
in this radio,. (BA-1, BA-4, BA-30 or
Flashlight cells will either burn
out or not  operate
the set).

Range is 1 to 3 miles.  The ON switch is activated by pulling up the bottom antenna section.  The FT-501 battery adapter takes two BA-30 ("D" cells) and connects them in parallel yielding a longer lasting 1.5 Volt battery.
The "-F" version has a jack for external audio accessories like the HS-30 headphones, T-30 throat microphone, T-45 lip microphone.
The Homing Modification Kit MC-619 allows the AN-190() direction finding loop antenna to be fitted to the BC-611.

Frequency Conversion Kit MC-534 contains 400 crystals and 72 antenna coils and 60 tank coils.  This allows using any of 50 frequencies in the radio.  To change frequencies the Rx and Tx crystals are changed along with the load and tank coils.  No alignment is needed when changing frequency.  The Rx crystal is 455 kHz lower (or higher) than the Tx crystal which is on the channel frequency.

Radio Craft, July 1946, pg 684: Inside the Handie-Talkie, Robert F. Scott, W4FSI - about the BC-611 & DF antenna.

Changing Frequency

The Antenna Coil, Tank Coil and crystal need to be changed for each frequency.  On page 10 of manual TM 11-235"However, each unit is adjusted to operate
at only one frequency in this band by proper choice of plug-in crystals and coils (fig. 4) followed by pre-tuning adjustments."  So a soldier can not change the frequency and expect optimum performance.  The IE-17 alignment kit is used for not only pre-tuning but also for checking batteries and crystal activity as described in TM 11-311.
For use on 3885 kHz the C-371 tank coil is the correct one.  Mine was marked 4035.  Note that the C-371 covers 3825 to 4225 kHz per TM 11-235 page 41.

Photos

Exploded ViewThe pin holding the strap has been removed, the top removed, the bottom hinged open, the two wires unplugged from the bottom and the chassis slid out from the case in the photo at left showing an exploded view.


 



BC-611 with PRC-6 -


BX-49 Box with Coils & Crystals (12 frequencies)
BC-611 BX-49 Box
                  with Coils & Crystals (12 frequencies)
BX-49 Box Labels
BC-611 BX-49Crystal
                  Box Labels

Signal Corps, BOX BC-49, 2038 CGG 31393 PHILA-43
CAUTION, Channel Change Requires, Realignment of Radio Set


Voice Privacy PTT cover -The BC-611 is turned by raising the antenna.  The Push To Talk switch is very convenient, maybe too convenient such that someone might transmit without intending to.  This device covers the PTT switch so you can still hear, but not mistakenly transmit. BC-611 Voice Privacy PTT cover


PTT Switch is long and has many contacts whose function is labeled on plastic overlay - BC-611 PTT Switch

Coil Side - There is a plug in coil that is part of what needs to be changed when changing channels, you can see the tops of the tubes
BC-611 Coil Side of board
Socket Side - the tube sockets and point to point wiring

BC-611 socket side of board
Back Plate - There is a hole so you can see the crystal frequency (3885 kc) BC-611 Back Plate with hole to read crystal
                  frequency
Inside Bottom - When removing the chassis unplug the red and green wires.  There is a Black plug in jumper and what appears to be two places for attaching 1/4 fasteners, this was probably used in the manufacturing or re-channeling process. BC-611 bottom
AN-190 (eBay photo) - DF loop antenna, may be for use with the BC-611 since it has a matching frequency range BC-611 AN-190 Direction Finding
                Loop

Related Equipment

Padded Canvas carry CASE CS156 S.C. No. 2Z1890-156
AN-190 DF Loop Antenna
BC-722 Remote Control for the BC-721 in a W.W. II Glider

BC-722-B
                label

BC-722-B Jacks
BC-722-B BC-722-B Jones
                Plug

BC-611 Coil and
                  Crystal Equipment Box



Coil and Crystal Equipment
For BC-611-B
Freq. 4680 K.C.
Order No. 3805 Chl. 42
Made by
Galvin Mfg. Corp.
Chicago, Illinois

IE-17 Test & Alignment Kit
x



A & B Battery

The BC-611 needs two voltages.  "A" battery for the filaments and "B" battery for the plates.

A thought:  If the batteries were to last for 24 hours with 2.4 hours of Tx and 21.6 hours of Rx (this might be 3 calendar 8 hour days.) Then for transmit you would need about 33 Watt hours of B+ (8 AA cells) and 6.12 AH of A filament (a single "C" cell will provide 8.3 AH or a single "D" cell 18 AH).  Using 8 each AA cells costs about $5.60 compared to using 10 each 9 Volt batteries for $22.50.  The tradeoff is that the Switching Mode Power Supply (SMPS) has a higher initial cost.

A Battery

The tube filaments need 1.5 Volts.  This was originally supplied by a single BA-37 battery.  This was about the diameter of a modern "D" cell but a little more than twice as long.  Do Not Use 2 series connected "D" Cells, this will burn out the filaments.  The TM does suggest that you can use one "D" cell and an empty 0.50 shell casing.

FT-501 A Battery Adapterfor PRC-6 The FT-501 adapter allows using 2 "D" cells in parallel.   Note that a modern "D" cell has a little more capacity than the BA-37 so you could use a single "D" cell in the FT-501 adapter and it would last about as long as most "B" battery options.

2449550 Battery Adapter, Robert L. Eichberg & Homer R. Montague, Sep 21 1948, 429/1 ; 429/99; 439/627; 439/638 - Replaces BA-37 with two BA-30 common "D" cells. 
References:
2036088 Hand Lantern, Roy L. Darling (Bond Electric Corp), Mar 31, 1936, 362/191 ; 362/197; 429/97 - uses "U" shaped battery contact to prevent reversed polarity.
2293354 Constant Polarity Holder for Dry Cells, Leland A. Munchow (Ray-O-Vac), Aug 18 1942, 429/1 ; 429/99; 439/500 - works whichever way cells are installed
2377161 Electric Safety Water Light, Augustus J. Le Strange, May 29 1945, 441/17 ; 340/321; 362/158; 429/99; 43/17 - uses series connected dry cells

B Battery

4 D cell Battery
          AdapterThe Plate voltage of 103.5 Volts was supplied by a BA-38.  The two modern ways of supplying the B+ are either a string of 10 each 9 Volt batteries or a SMPS that runs from a few "D" cells.

Photo at left shows the 4 "D" cell battery adapter from Pietro in Italy.

Operation

29 June 2004 - I think this radio has not been powered for many many years, but it turned on and worked.

Using one of the Italian inverting type battery adapters and 4 each "D" batteries I powered up the BC-611.
I can hear it on my NRD-545 in AM mode on 3,885 kHz and on the PRC-104.
The strange thing is that I can hear the PRC-104 when it's in USB mode.

The screw down cap that goes over the antenna not only protects the antenna from harm, but is also a positive off switch.  If the lower antenna section was to slip upwards say 1/2" the radio would be turned on and the battery drained.  When you put the cap on your know the radio is off.

Patents

The BC-611 was invented by Donald H. Mitchell.  He worked for Galvin for some years prior to W.W. II.  Their main products were radios for cars.  The Victrola was a very popular item and so they named one of radios a Motorola meaning Motoring-ola, i.e. a machine to make music while you motor.  Later Galvin became Motorola, which you can see in the assignee name in the following patents.

The key BC-611 patent (2439408) mentions that there is a commercial embodiment.  Maybe for Police use?  Let me know what it was.

This was not just the development of a single radio, but of a system that included using the radio hand held or mounted in a vehicle like a car or airplane.  In addition the construction is very modular allowing sub assemblies to be made and tested prior to being installed in the radio.  This also aids in field maintenance.

Patents Prior to W.W. II
2299058 Radio receiver apparatus, Donald H
                  Mitchell, Galvin Mfg Co, App: 1940-08-03, Pub:
                  1942-10-13
2299058 Radio receiver apparatus, Donald H Mitchell, Galvin Mfg Co, App: 1940-08-03, Pub: 1942-10-13, -
Prior to this Galvin had made car radios, car antennas, car heaters, car record players, &Etc.
This was their first man portable radio and was the precursor to the BC-611.

2343115 Radio receiver circuit, Daniel E Noble, Galvin Mfg Co, App: 1941-04-05, Pub: 1944-02-29, - muting or squelch
2315315
                          Radio apparatus, William E Cairnes, Galvin Mfg
                          Co, App: 1941-05-02, Pub: 1943-03-30
2315315
                          Radio apparatus, William E Cairnes, Galvin Mfg
                          Co, App: 1941-05-02, Pub: 1943-03-30

2315315 Radio apparatus, William E Cairnes, Galvin Mfg Co, App: 1941-05-02, Pub: 1943-03-30, - table portable radio improved antenna.
Note Zenith was working on the same problem around the same time.
 
SCR-300 (Wiki) Walki-Talki
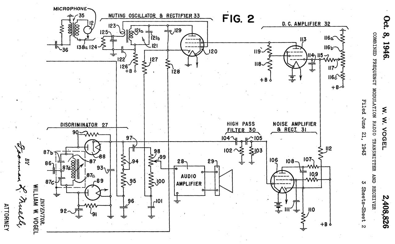
2408826
                          Combined frequency modulation radio
                          transmitter and receiver, William W Vogel,
                          Galvin Mfg Co, App: 1943-06-21, Pub:
                          1946-10-08, - SCR-300
2408826
                          Combined frequency modulation radio
                          transmitter and receiver, William W Vogel,
                          Galvin Mfg Co, App: 1943-06-21, Pub:
                          1946-10-08, - SCR-300
2408826
                          Combined frequency modulation radio
                          transmitter and receiver, William W Vogel,
                          Galvin Mfg Co, App: 1943-06-21, Pub:
                          1946-10-08, - SCR-300

2408826 Combined frequency modulation radio transmitter and receiver, William W Vogel, Galvin Mfg Co, App: 1943-06-21, Pub: 1946-10-08, - SCR-300 Walkie-Talkie

Note this is an FM radio and thus susceptible to Squelch Capture.
same figures as above.
2408791 Radio communication system, Magnuski Henry, Galvin Mfg Co, App: 1943-06-21, Pub: 1946-10-08, -

2398793 Radio receiving system, Magnuski Henry, Galvin Mfg Co, App: 1943-07-03, Pub: 1946-04-23, - AFC that works with SC-300, Police, Fire, &Etc where the carrier is off for some time.

2409139 Radio receiving system Magnuski Henry, Galvin Mfg Co, App: 1943-07-03, Pub: 1946-04-23, -improved squelch

2423152 Rotary turret selector, Donald H Mitchell, App: 1944-11-22, Pub: 1947-07-01, - ? Military, TV ???

Crystals
Galvin also has a number of patents relating to crystals.
2387135 Method of grinding small objects
2387136 Method and apparatus for edge grinding small objects
2387137 Method of finishing piezoelectric crystals
2387138 Grinding method and apparatus
2387139 Apparatus for edge grinding small objects
2387140 Method and apparatus for finish grinding piezoelectric crystals
2387141 Method of making piezoelectric crystal structures
2387142 Crystal grinding and etching
2404282 Apparatus for making piezoelectric crystals
2405417 Apparatus for grinding the surfaces of small objects
2410491 Method and apparatus for grinding small objects

Car or Aircraft Adapter Filed Mar 29 1943

2421516 Apparatus for Supporting a Portable Radio, Donald H. Mitchell (Galvin Mfg Corp), Filed 480924: Mar 29 1943, Issued: Jun 3 1947, 455/90.3 ; 200/51.1; 220/260; 343/702; 343/876; 343/901; 343/906; 455/347
Fixed or Vehicle adapter for radio including remote operation of the PTT switch
2136858 Circuit Changing Switch Mechanism, Edmond Michel (Larmloc Corp), Nov 15, 1938, 200/51.04 ; 200/16R; 200/5R; 200/51.1
References:
2082806 Electric Control Lock, Edmond Michel (Larmloc Corp), Jun 8 1937, 70/283 ; 200/5R; 340/543; 70/282
An electromagnetic controlled door lock that uses a tube socket and mating plug as part of the key.
1800259 Electric Plug, R. Mayrshofer, Apr 14 1931, 200/51R ; 439/695
No openings to allow dust into either plug or socket.  When mated plug can be rotated to make or break connection
1968557 Radioreceiver, John E. Johanson (RCA), Jul 31 1934, 455/301 ; 137/906; 411/522; 455/340; 455/349
ARC-5? type aircraft receiver light weight and shock and vibration isolation & remote control
References:
1987997 Control and Indicating Device, John E. Johanson (RCA), Jan 15, 1935, 74/10.85 ; 116/242; 116/DIG.6; 334/8
Simple and rugged aircraft remote controls
1938656 Audion Amplifier, Frederick H. Drake (RCA), Dec 12, 1933, 330/68 ; 336/107; 336/66; 336/67; 336/87; 336/92; 361/809; 439/682; 455/191.1; 455/301; 455/349
Removable inter stage impedance matching that can be changed for different frequencies.
1877551 Radio Apparatus, Walter Bruce (Westinghouse), Sep 13 1932, 174/549 ; 217/54; 220/668
Provide a high level of isolation for the severe railroad environment not met by the referenced patents.
References:
1401121 Mounting for Vacuum Tubes, R.M. Allen (Western Electric), Dec 27, 1921, 313/50 ; 439/382 - shock protection includes sponge rubber
1364860  Vibration Proof Vacuum Tube Mounting, Walter L. Betts (Western Electric),  Jan 11 1921, 248/632 ; 313/50; 362/390 -double cushions
1496768  Vibration Reducing Mounting Device for Signaling Systems, W.T. Booth (Western Electric), Jun 10, 1924, 313/50 ; 362/390; 439/382
chassis is cushioned both for up and down movement
1545247  Tubes, John O. Gargan (Western Electric), Jul 7, 1925, 361/815 ; 313/50; 439/382 - locate electrodes on line between support points
1571964  Mounting for Thermionic Valves, Hugo Perlesz (Zenith), Feb 9, 1926, 248/632 ; 211/26; 439/683 -
instead of foam rubber, smaller rubber donuts are used above and below the chassis
1669217 Signal Receiving Circuits, A.H. Taylor (Wired Radio), May 8, 1928, 455/170.1 ; 334/71; 455/296; 455/347
Uses Piezo crystal and the schematic includes "springs" on two different sections.  Suspension for both shipping and use.
tuning capacitor plates have resonance frequency above or below human hearing so no microphonics from them.
"Our construction of receiver is the only type which has been found to be satisfactory for continuous wave reception abroad aircraft at frequencies in excess of 2000 kilocycles."
1631100  Vibration Damping means for Vacuum Tubes, C.C. Lauritsen (Dyal Co), May 31, 1927, 188/379 ; 174/395; 248/559; 439/384 -
adds a metal weight to the top of the tube in the form of a cap.  Moves the cg of the tube higher and changes it's resonant frequency.
2299058 Radio Receiver Apparatus, Donald H. Mitchell (Galvin Mfg Corp), Oct 13 1942, 455/157.1 ; 343/718; 455/347; 455/351
A broadcast band portable radio with a shoulder strap that is also the loop antenna.
994996 Box, James B. Grimes (N.M. Stanley), Jun 13, 1911, 220/285 - lid raiser for tobacco tin
2077284 Automobile Radio Receiver, Edmund J. Te Pas (W.A. Franz), Apr 13, 1937, 455/345 ; 248/27.1 - can be easily removed from car and used elsewhere
1997254 Automotive Radio Receiver, J. B. Forsythe, H.L. Brump, R.C. Ellis (RCA), Apr 9 1935, 455/154.1 ; 180/90; 334/8; 455/345 -
Control box is on car instrument panel and radio is behind control box (this may have set the standard for volume on left, tuning on right?) including shock and vibration isolation.
2265998 Electric Connector, William A. Bruno (Bruno Patents Inc), Dec 16 1941, 200/51.1 ; 174/51; 174/75C; 439/188; 439/289; 439/320; 439/387; 439/939
A microphone connector similar to the PL-259 & SO-259 but with a moveable element so that the connector shorts the center conductor to ground when it's opened.
2036948 Remote Control for Radio Apparatus, Joseph Orris Mcnary, Apr 7 1936, 74/504 ; 334/8; 74/10A; 74/10R; 74/557 - mechanical shafts
2337987 Convertible Radio Cabinet, Charles P. Galloway (Stewart-Warner Corp), Dec 28 1943, 455/351 ; 312/7.1 -
Portable (luggable) radio can run on batteries, but when running from house current the battery box can be removed.  Mains power cord attached and stored in radio.
2319527 Cabinet for Portable Radio Receiver Sets, Mario Zavattaro (RCA), May 18, 1943 455/351 ; 312/7.1; 455/350 -
While portable a radio has the main speaker removed to save weight, the empty space acting as resonator for small speaker.  When fixed the main speaker is simply installed, making electrical connections.

BC-611 Original Filing Feb 20 1942

2439408 Portable Radio Transmitting and Receiving, Donald H. Mitchell (Motorola), Filed 431722: Feb 20 1942, Issued: Apr 13 1948, 455/90.2 ; 181/137; 200/17R; 200/302.1; 313/312; 313/50; 336/136; 343/888; 361/814; 429/163; 439/683
This is the BC-611 and there's mention of a commercial embodiment.
References:
723717 Electric Conductor, J.D. Nicholson (Pittsburg Reduction Co), Mar 24 1903, 428/652 ; 428/939
aluminum jacket copper wire, not alloy stronger then either Al or Cu - used as the PTT control mechanical wire item 17 in Fig 5.
1594738 Receptacle, Elmer e. Landon, Aug 3 1926, 206/349- for storing rolling pins in kitchen
1611215 Radio Receiving Apparatus, ALEXANDER P. MCARTHTTR, Dec 21, 1926, 455/349 ; 174/541; 174/549; 312/7.1; 439/862
Chassis can easily be unplugged from cabinet and removed
1637864 Electron Tube Apparatus, F.A. Kolster (Federal Telegraph Co), Aug 2 1927, 313/50 ; 174/395; 188/268; 248/507; 362/377; 439/382
reduce microphonics and minimizing tube vibration (also hold down)
1752196 Radio Apparatus, Ronald E. Patrie, Mar 25 1930, 455/344 ; 313/312; 313/51; 362/205; 362/310; 455/347; 455/351
Combined Flashlight and single tube regenerative receiver.
1775266 Apparatus Unit, W.M. Bailey (Wireless Specialty Apparatus Co),  Sep 9, 1930, 323/370 ; 361/275.1
Combined resistor and capacitor in one unit
1789673 Amplifier Coupling, Harold P. Donle (Radio Inventions Inc), Jan 20, 1931, 330/166 ; 330/171; 333/177; 336/90
L-C coupling
2004329 switch for Electric Meters, Ernest G. Johansson (Palmer Electric Co), Jun 11, 1935, 200/16E ; 200/293; 200/61.62
A type of slide switch
2053941 Automobile Radio Set, Earl C. Booth (Noblitt-Sparks Ind), Sep 8, 1936, 455/217 ; 220/4.02; 455/300; 455/345; 455/349
Easy open case allows removal of chassis.
2095420 Variable Inductance for Tuned High Frequency Circuits, Wladimir J. Polydoroff (Johnson Labs), Oct 12 1937, 336/136 ; 336/150
Uses two coils of different inductance and a movable core to tune a 3:1 range
References:
1940228 Radio Amplifying Circuits, Wladimir J. Polydoroff (Johnson Labs), Dec 19, 1933, 330/169 ; 330/155; 330/171; 334/61; 334/77; 336/136; 336/206; 336/226; 336/234; 361/298.1
A lot of information about powered metal cores
RE21282 Radio Amplifying Circuits, Wladimir J. Polydoroff (Johnson Labs), Nov 28, 1939, 330/169 ; 330/155; 333/179; 334/61; 334/70; 336/136; 336/233
The class assignments are different on the REissue patent, maybe other differences in the body.
1982689 Magnetic Core Material, Wladimir J. Polydoroff (Johnson Labs), Dec 1934, 336/233 ; 106/228; 106/253; 106/287.18; 106/287.23; 148/104; 148/306; 252/62.53; 252/62.54; 264/325; 264/DIG.58; 29/608; 428/402; 428/900; 75/348
Toroidal and slugs.  Aimed at AM broadcast receivers.
79 claims, some modified with legal paperwork at the end
2142993 Radio Telephone Equipment, Brown (E.G. Baxley), Jan 10 1939, 455/78 ; 338/157; 338/200; 455/232.1; 455/550.1; D14/248
Microphone with PTT switch and volume control
2159903 Automobile Slide Aerial, Stephen J. Max, May 23, 1939, 343/889 ; 191/12R; 343/900; 343/904
Movable antenna can be fully retracted from sight and connects to ground for lightening protection
2186184 Circuit Aligning Device and Method of Aligning Circuits, Ernest A. Tubbs (National Television Corp), Jan 9 1940, 333/172 ; 324/619; 333/178; 439/366
A tube is removed and an adapter inserted between the tube and equipment that has some new circuitry and test points or the tube is replaced with an adapter with circuitry and test points.
2192374 Adjustable Envelope Fastener, William Day Fritz (Quality Park Envelope), Mar 5 1940, 24/686 ; 24/69EF; 24/698.2; 292/209; 292/285; 292/DIG.50
A sheet metal clasp
2206821 Antenna System, Gus L. Mydlil (Galvin Mfg Corp), Jul 2 1940, 343/749 ; 174/153A; 336/107; 336/192; 343/715; 343/828; 343/851; 343/888; 343/892; 343/899; 343/906; 455/292; 455/297
Receiving system uses loading coil near the antenna then coax to radio.
2232380 Sound Translating Device, Gabriel M. Giannini (Associated Electric Labs), Feb 18 1941, 381/163 ; 181/148; 381/189; 381/362; 381/390
Microphone element suspension and waterproofing.
2276933 Radio Apparatus, Cletus J. Collom (Weltroiuc Corp),  Mar 17, 1942, 455/575.1 ; 379/433.01
Self Contained Receiving and Transmitting unit.
2364637 Pilot Control System for Aircraft, William P. Lear (Lear Avia), Dec 1944, 244/1TD ; 343/707; 343/877
To control an H.F. trailing wire reel system and includes the coupling between the radio and antenna.
References:
2272213 Antenna Reeling System, William P. Lear (Lear Avia), Feb 10 1942, 343/877 ; 191/12.2R; 200/52R; 242/390.2; 318/256; 318/3; 318/452; 318/468; 318/481; 33/750; 343/707; 343/729; 343/894 - aircraft trailing wire
Length of wire made to be a quarter wave at the operating frequency.  Automatic prevention of extending the wire while until the airspeed is above a set value and retracting the antenna when the air speed goes below that value thus preventing landing with the wire out.
2472021 Preassembled Impedance Unit, Donald H. Mitchell (Motorola), Filed 431722: Feb 20 1942, Filed 579603 Feb 21 1945, Issued: May 31, 1949, 361/815 ; 264/272.18; 361/767; 439/683


2533493 Portable radio device, Donald H Mitchell,
                  Motorola, Priority: 1942-02-20, W.W.II, Pub:
                  1950-12-12, - https://prc68.com/I/BC611.shtml 2533493 Portable Radio Device, Donald H. Mitchell (Motorola), Filed 431722: Feb 20 1942, Filed 617219: May 31 1946, Issued: Dec 12 1950, 455/78 ; 315/95; 455/90.2

DC Power Polarity Filed Feb 20 1942

Mitchell was aware of Murphy's Law (Wiki), although probably didn't call it that, when it comes to getting the polarity reversed when making DC power wiring connections and that's the subject of patent 2439409.  The exact same problem was present when the first Fuzz Busters were being made.  In that case the answer was to install a full wave bridge rectifier inside the Fuzz Buster so that it did not matter which way the input wires are connected.  Silicon bridge rectifiers were not available in 1942.
2439409 System for Providing an Energizing Direct Current, Donald H. Mitchell (Motorola), Filed: Feb 20 1942, Issued: Apr 13 1948, 320/165 ; 200/85R; 307/112; 327/548
The input DC is fed through a vibrator to convert it into AC which goes through a transformer to isolate the ground.  Then it's rectified, using the vibrator as a synchronous rectifier, into DC with a known polarity.  This is very similar to the way modern Switching Mode Power Supplies work.
References:
719753 System of Electrical Distribution, J.L. Creveling, Feb 3, 1903, 320/165 ; 307/127; 335/180 - a relay is added to a generator so that no matter which way the armature is turned the output polarity is the same.  Note: many steam engines will run in whatever direction they are started (as well as some permanent magnet DC motors).
2021380 Power Supply System for Radio Apparatus, N. Raskhodoff (United American Beach), Nov 19, 1935, 307/150 ; 327/547 -
The transformer in a synchronous vibrator power supply can also be driven from the AC mains by using a different power input cord (multi pin plug).
a tube rectifier is used when AC in input and is disconnected for DC input
2103135 Radio Receiver, E.F. Andrews, Dec 21, 1937, 455/298 ; 315/201; 315/210; 315/219; 315/97; 455/343.1 - like 3031380 but adds vibrator hash suppression
2231873 Direct Current Transforming Device, E.L. Barrett (Crosley Corp), Feb 18, 1941, 363/33 ; 310/29; 327/548 -
Vibrator B+ supply eliminating sparking.
References:
1946563
2251302 Power Supply Suitable for use in Telephone Systems, R.F. Stehlik (Associated T&T), Aug 5, 1941, 379/324 ; 379/378 - AC or DC input
2280465 Radio Receiver, D.J. Barrett, Apr 21, 1942, 455/269 ; 307/150; 307/80; 320/110; 369/11; 455/346 -
radio that can be used in a vehicle or removed and powered from a storage battery.
Adds switching function to 1/4" phone plug. [the USPTO has gross errors in the classifications on old patents (haven't tried to check modern ones).
Called by:
2575059 Universal Power Input Radio Receiver, Joseph La Via, Nov 13, 1951, 327/547 ; 307/150; 327/531 - rotary switch for: 110 VAC, 110 VDC, Off, 220 VAC or 220 VDC

D135540 Portable Radio Device, Donald H. Mitchell (Motorola), Filed 105951: Feb 23 1942, Issued: Apr 20 1943

BC-611 Switch Filed Feb 20 1942

2439410 Combined Radio Transmitter and Receiver, Donald H. Mitchell (Motorola), Filed: Feb 20 1942, Issued: Apr 13 1948, 200/16F ; 200/16R; 200/329
This patent was filed on the same date as the other BC-611 patent and has been made a division of that filing.  It's main focus is the switch that changes from receive to transmit.
References:
2276933 Radio Apparatus, Cletus J. Collom (Weltroiuc Corp),  Mar 17, 1942, 455/575.1 ; 379/433.01
Self Contained Receiving and Transmitting unit.
2018569 Radio Signaling Apparatus, G.W. Pettingill (RCA), Oct 22, 1935, 455/85 ; 331/59; 455/78
uses a lever switch with many contacts for T/R switching
2267427 Electric Switch, Schmid (Kingston Prod Corp), Dec 23 1941, 200/16C ; 200/16R  -
lever or toggle switch insulating body metal cover and lever
2234405 Push Button Switch, H.C. Hall (P.R. Mallory Co), Mar 11, 1941, 200/5E ; 200/16F; 200/16R; 74/483PB - radio button
2213845 Switch, E.J. Mastney (Oak Mfg Co), Sep 3, 1940, 200/5E ; 200/16F; 200/16R; 200/323; 200/325; 74/483PB - radio button
1735344 Duplex Radio Communication System, E.L. White (Wired Radio Inc), Nov 12, 1929, 455/86 ; 331/164; 331/182; 331/75
Three tube 2-way radio with antenna switching and seperate Tx and Rx circuitry, two tube receiver and one tube AM transmitter
1669545 Switch, C. Aslborg (Westinghouse), May 15, 1928, 200/424 ; 15/DIG.10; 200/429 - vacuum cleaner handle switch
1955967 Automatic Electric Switch Handle, W. Leathers (Quadrex Corp), Apr 24 1934, 200/455 ; 15/DIG.10; 439/476.1 - Vac cleaner handle sw
893891 Hand Telephone Set, G.F. Atwood (Western Electric), Jul 21, 1908, 379/422 ; 200/505; 379/433.01 - Army, spit cup handset with PTT
2064828 [typo in patent number] Multiband Radio Apparatus, Grohsgal Dec 22 1936, -
uses a combined switch-coil to eliminate wiring inductance
2213845 - [listed same patent two times]
842405 Switch for Storage Batteries, S.A. Leonard, Jan 29, 1907, 200/16B ; 200/16R - linear contacts
1691627 electric Flatiron, W.A. DeHart (F.R. King), Nov 13, 1928, 200/450 - toggle action like switch on BC-611
842405 Leonard - [he listed the same patent two times]
1089564 Circuit Controller, S.P. Hull, Mar 10, 1914, 200/16F ; 200/1R; 200/16R; 200/275 - linear contacts

Improved Radio? Filed Jly 1 1944

2439411 Portable Two-Way Wave-Signal Space-Communication, Donald H. Mitchell (Motorola), Filed 543167: Jly 1 1944, Issued: Apr 13 1948,455/90.3 ; 200/16R; 251/149.7; 343/702; 343/888
Improved version of 2439408, antenna and chassis are independent of each other, accepts batteries or vibrator pack, chassis can be removed from the housing independently of the antenna

Improved Radio Plug-in Tuning? Filed Aug 4 1944

2439412 Multistage Plug-In Frequency Determining Unit, Donald H. Mitchell (Motorola), Filed 548103: Aug 4 1944, Issued: Apr 13 1948, 455/187.1 ; 174/359; 361/728; 361/815; 439/56; 455/300; 455/349
References:
1677268 High Frequency Signaling System, Brown (Vickers Elec), Jul 17 1928, 455/178.1 ; 455/271; 455/349
Interchangeable incuctances and feedback circuits
1875140 Radio Receiving Apparatus, E. L. Powell (Wired Radio), Aug 30, 1932, 455/178.1 ; 330/192; 330/67; 330/76; 455/301
Four tube receiver with plug-in frequency modules
1895902 Screen Grid Amplifier, Harold A. Snow (RCA), Jan 31, 1933, 330/68 ; 330/155; 361/299.1; 455/217; 455/338; 455/341
Mechanical and shielding for cascaded tetrodes
2062379 Radio Receiver, McMurdo Silver (Glen's Patents & Holdings), Dec 1, 1936, 334/54 ; 334/47; 334/85
mechanically combine all the elements to change bands
2064828 Multiband Radio Apparatus, Alexis C. Grohsgal (J.J. Steinharter), Dec 22 1936, 336/137 ; 200/16F; 200/16R; 334/54
Replace band switch and coils with integrated switch-coil assembly to reduce parasitics
2157576 Arrangement of Oscillator Crystals, Wilhelm Schneider (Telefunken), May 9, 1939, 331/69 ; 310/342; 310/365; 331/161; 331/179; 331/70; 346/37
Multiple crystals, all in a common oven and by means of a rotary switch connected to a tube which is  also in the oven.

Crypto Slide rule Filed  Oct 21 1943

2439413 Cryptographic Sliderule, Donald H. Mitchell (Motorola), Filed 507119: Oct 21 1943, Issued: Apr 13 1948, 380/59 ; 235/70R - Not up to the M-138 (Wiki) or M-94
References:
492677 Cryptographic Instrument, RICHARD PIARTE, Feb 28, 1893, 131/351
767087 Calculator, CHAELES H. SPECKMAN, Aug 9, 1904, 235/86 ; 235/89R
1248238 arithmetical Educational Apparatus,  EDMUND T. YOUNG, Nov 27 1917, 434/199 ; 235/75R; D19/62
1683827 Analysis Chart, H.E. Ingram, Sep 11 1928, 434/430

Manuals

TM 11-235 Radio Sets, SCR-536-A, -B, -D, -E, and -F    War Department, May 1945
including changes:
C 1 15 Dec '43
C 2 18 Oct '44
TB 11-235-1 31 May '44
TB 11-235-2 22 Jul '44
TB 11-235-3   8 Aug '44
TB 11-235-4 11 Aug '44
TB 11-235-5 16 Sep '44
TB 11-235-6 14 Nov '44
TB 11-235-7      Nov '44
TB 11-235-8 25 Jan '45

This manual is available on a CD-ROM for $10 + postage.  It has the following enhancements over the stock government issue manual:
The Buy Now button allow the use of charge cards through PayPal.
U.S. mailing address $ 11.60

International Air mail $ depends
Contact

Maintenance

Removing the Chassis

Remove the screw from the top cover, and in my case so as to not strain the web strap, remove the screw that holds the strap to the top cover.
Lift the top cover up and off.  Note the porcelain antenna insulator comes off with the top cover.

loosen the screw that holds the bottom battery cover on and swing it out and open the door to the bottom.

Unplug the red and green wires and slide the chassis out the bottom.

Tips on Alignment -

------------------------------
Date: Sat, 7 Apr 2001 00:26:17 -0500
From: "ROBERT W. DOWNS" <RWDowns_WA5CAB@compuserve.com>
Subject: [MilSurplus] BC-611-F Trivia

As a few of you know, the ferrite slugs in the IF transformers of the BC-611-F are tender", and the adjusting slot often breaks off when you try to do an IF alignment.  I've been fighting with what initially looked like a mint condition chassis for the last two days.  So far, I've discovered the following.  The remainder of the slug (which can no longer be adjusted) is simple to drill out with a 1/8" HS drill bit.  Most (but not all) of the remainder of the slug can be pushed out or blown out with LP air.  The slug and beeswax residue that won't come out using those methods means certain death to the first replacement slug that you try to install.  The solution is to run a bottoming tap into both ends of the transformer, turning it only with your fingers (do NOT use a tap wrench) until it contacts the unthreaded area in the middle of the transformer.  The trivia is that the threads are #12-28, probably the least commonly available thread in North America.  However, some of the larger machine tool supply houses still seem to have a small number of the taps in stock.  I bought a set this morning, along with a die (JIC).

Another BC-611 tip not mentioned in any of the manuals.  It is much easier to align the IF's (no noise to contend with) if you do it with the coils and crystals removed.

Robert Downs
<RWDowns_WA5CAB@compuserve.com>
Houston

- ---
Submissions milsurplus@qth.net

Date: Sat, 16 Jun 2001 09:31:39 -0400
From: "ROBERT W. DOWNS" <RWDowns_WA5CAB@compuserve.com>
Subject: [MilSurplus] BC-611 DC-DC Converter Spacer

Group,

By now, quite a few of you have bought C. Litrico's converters for the BC-611, either directly from him or off the web site in the UK.  I have several here and other than in the late BC-611-F (with the thick bottom cover), they all work OK.  However, when you shake the set, because the original BA-38 was rectangular in cross section rather than square, there is enough room for everything to rattle around pretty severely, sometimes enough to cause the inverter to stop.  I fixed the problem by making a spacer from 1/4" plywood that goes between the three D-cells and the gray fibre or aluminum battery spacer/wire protector.  Width is the width of the protector.  Length is the length of the three D-cells. Bevel the end toward the bottom cover so that the D-cells will drop in without catching on the spacer.  Notch the bottom to clear the B-battery ground spring and the two bosses cast into the top cover.

1/4" phenolic, other plastic, or aluminum would also work and probably last longer than the plywood because of the notching at the top.

My laptop, ordered on Monday for delivery on Wednesday, still hasn't arrived, so I'll be totally out of touch for a while from tomorrow (Sunday).

Robert Downs

Links

K4CHE: BC-611 Transmitter Bench Ops - extensive info on mods and repairs - tuning.
BC-611 Main Page by Crusty old Joe Stevens
WA4KCY - photo of BC-611 collection -
Military Equipment List - Photo - Schematic Circuit Diagram -
Signal Corps US Army BC611 Transceiver by Nicolas Ducor
Surplus Stuff - Technical Manual -
eBay photo of a BC-721 -
K4CHE Military Radio and Boat Anchors - BC-611 B+ battery Box - Build a BC-611 Filament Battery Supply - BC-611 B+ Battery Box - BC-611 Inverter -
Pietro in Italy - Inverting type battery adapter that uses 4 "D" cells
[11.1] Tactical Radio Communications -
BC-611 & BC-721 - Pogo Stick Radio SCR-511 BC-745 -
BC-611 Tube Substitution using FETs and then running from 4 each 9 volt batteries.
BC-611 Inverter Power Supply -
YouTube: Motorola's First Walkie Talkie... It was BAD - BC-611/SCR-536 & BC-1000/SCR-300 (UK: WS-31)
YouTube:
At Ease, Soldier!: SCR-536 History and things that you did`t know about the Handie Talkie WW2 radio BC-611, 6:40 -
YouTube: "Rescue from Shangri-La" 1945 C-47 Plane Crash Survivor Documentary 70564, 12:06 -  Use BC-611 on ground to talk to C-47 and BC-721 in glider.
YouTube 2026:  They Doubted This American Engineer — Until His Invention Outranked Every German General !, 26:27 - SCR-536/BC-611 - This is an example of AI Slop.  They say the BC-611 the BC-611 is an FM radio.


Back to Brooke's Military Electronics Information, Squad Radio, Home page

Page Created 11 March 2001.