1N21 Crystal Rectifiers & Related

© Brooke Clarke 2020

1N21 & 1N23
                  Microwave rectifier Diodes AIL 390A-3 Microwave
                  Crystal Test Set

Background
Description
    Diodes
    Test Sets
    AIL 390A-3 Crystal Test Set
    TS-268 Crystal Rectifier Test Set
    1N34 Diode
    1N21 Diode
Patents
Related
References
Links

Background

Many of the early Police Radar Warning Receivers used cartridge type microwave crystal rectifiers in the 1N21 family.  The HP 934 Harmonic Mixer also uses a couple of these diodes.
These were hand made in a way not too unlike how Tunnel Diodes were made at Aertech.  But the 1N21 came about much earlier.

Also see the Diodes paragraph my Crystal Radio web page.

Description

Diodes

The 1N34 point contact (Wiki) germanium diode is very similar to the 1N21 when a point contact is used.  This may be the DO-7 packaged 1N34, but the DO-35 packaged 1N34 is a "double plug" glass package and is not a point contact.  Unfortunately the DO-nn nomenclature refers to the outline drawing, not the internal construction.  "Point Contact" is a type of construction very similar to a Cat's Whisker.

In order to improve the performance of these microwave cartridge point contact diodes the art of semiconductor processing was developed.  Bipolar transistors (Wiki) got started in 1947, so it's clear that the Silicon processing in patent 2438892 of 1943 came before the transistor.  So I'd say that semiconductor processing started as a direct result of the need to improve microwave diodes.

1N34 Diode

These are axial lead glass packaged point contact diodes.  I used one in my Crystal Radio.  They require no bias to rectify an RF signal at low power levels, i.e. the I-V curve (Wiki) has curvature at zero volts bias. Schottky Diodes (Wiki) make excellent microwave detectors when a small amount of DC bias is applied.  They also make excellent microwave mixers (see: non charge storage diodes)

1N21 Diode

This type of point contact diode is very similar to a "cat's whisker" in that you need to fiddle with the placement of the whisker to get the best results.  Also if it is bumped and the whisker moves then the performance will be degraded or it will fail all together.  So the way these are made takes this into account and as time went on they got better at mitigating these problems.

Originally only one polarity of Microwave cartridge diode was made and so the convention of  a 1/8" dia pin on one end and a 1/4" dia at the other end with a flange.  But later there was a need to have both polarities.  This resulted in the newer cartridge diodes having both end pins 1/8" dia and adding a 1/4" adapter that can be installed on either end so the user can get either polarity.

Fig 1 L to R: 1N21B,  1N23B (black ink), 1N23B (green ink)
1N21 & 1N23
                        Microwave rectifier Diodes
Fig 2
1N21 & 1N23
                        Microwave rectifier Diodes

Test Sets

Maybe the most common way to test a diode is checking the forward voltage at 1 mA.  This is built into many Fluke Digital Multi Meters.  For modern diodes the value of Vf gives some indication of the type of material.  The test is configured so that the maximum voltage is on the order of a couple of volts, so if the connection is reversed the diode will not be driven past it's breakdown voltage and destroyed.

During W.W.II the testing of the microwave crystal diodes was done by measuring at point on the reverse I-V curve at 1.0 Volts.  After the diode is installed in the test set an adjustment is made to bring a 1 mA meter movement to full scale across a 1,000 Ohm resistor, i.e. 1.0 Volts.

When working with first generation TI Germanium microwave transistors I discovered that DC testing results had a strong correlation with measured noise figure.  So I built a "Safe and Simple Transistor Tester" based on the GE Transistor manual.  So using a DC checker that has some numerical readout is not as simple as a go-nogo checker.  They have real value.

AIL 390A-3 Microwave Crystal Test Set

While I was working at Aertech we had a number of 30 MHz IF amplifier strips made by AIL (Airborne Instruments Laboratory) as well as a Noise Figure meter.  It makes sense that they might get complaints about their equipment that was caused by faulty mixer diodes, which at that time would be in the 1N21 form factor.

This test set is aimed at the use of 1N21 diodes in mixer application.  It measures the non-linearity of the crystal around 100 uA forward bias.
Install crystal and select Calibrate.  Adjust pot for a meter reading that is the same as the pot value.  If meter does not move switch the Norm/Ref switch and try again.
Select Measure and read meter.  A resistor would read the same as the cal value.  The more non-linear the crystal the lower the reading.  Good crystals read in the shaded area starting at 0 uA.

Fig 1
AIL 390A-3
                        Microwave Crystal Test Set
Fig 2
AIL 390A-3
                        Microwave Crystal Test Set
Fig 3
AIL 390A-3
                        Microwave Crystal Test Set
Fig 4 Microwave Crystal Test Set
Type 390A-3
Patent No. 2,385,353
Airborn Instruments Labratory Inc.
Mineola, N.Y.

AIL 390A-3
                        Microwave Crystal Test Set


TS-268E Crystal Rectifier Test Set

There were many many of these test sets made. I'm guessing that the newest "E" version was the most common.

There are two crystal sockets.  The classic round hole for crystals that have the 1/4" diameter large end.  The fuse clip for crystals where both ends are 1/8" dia.
The battery compartment (you can see part of the cap in Fig 2) holds a single "D" cell battery. (+ to the contact inside, - to cap).

Switch Functions
The intention is to do these in order 1 to 5.
Start by installing crystal, then hold Push to Operate when adjusting or reading.

Switch
Label
Note
1
Adj Meter
Full scale w/crystal installed
2
Front Res

3
Back Res

4
Adj Meter

5
Back Current


Fig 1
TS-268E Crystal
                        Rectifier Test Set
Fig 2
TS-268E Crystal
                        Rectifier Test Set




TM 11-1242: Crystal Rectifier Test Set TS-268(A,B,C,ED,E)/U, September 1952,
TM 11-6625-305-24P: Organizational, Direct Support, and General Support Maintenance, Repair Parts and Special Tools Lists, (Including Depot Maintenance for Repair Parts and Special tools) for, Crystal Rectifier Test Set TS-268E/U (NSN 6625-00-669-1215), August 1977 - only repair parts

Patents

Point Contact Crystal Holders

Like for Crystal Radios (Wiki, Brooke No. 1).

755840 Detector
                      for electrical disturbances, Jagadis Chunder Bose,
                      1904-03-2
GB190115467 Improvements in and connected with Wireless Telegraphy and other Signalling, Jagadish Chandra Bose, Sara Chapman Bull, App: 1901-07-30, Pub: 1902-07-30, - galena, are said to automatically remain sensitive

755840 Detector for electrical disturbances, Jagadis Chunder Bose, 1904-03-29, - Galena or tellurium between contacts (4) and (5).


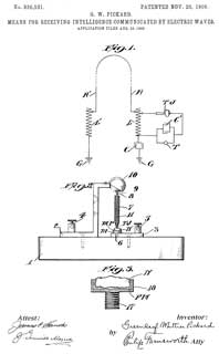
836531 Means for
                      receiving intelligence communicated by electric
                      waves, Greenleaf Whittier Pickard, 1906-11-20
836531 Means for receiving intelligence communicated by electric waves, Greenleaf Whittier Pickard, 1906-11-20, 423/348; 136/207; 136/203; 252/62.3E

Crude point contact.
888191
                      Oscillation-receiver, Greenleaf Whittier Pickard,
                      1908-05-19, - Crystal detector, Cat's wisker
888191 Oscillation-receiver, Greenleaf Whittier Pickard, 1908-05-19, - Crystal detector, Cat's wisker

1162765 Holder
                      for crystal detectors, John J Ghegan, 1915-12-07


1162765 Holder for crystal detectors, John J Ghegan, 1915-12-07, 257/41; 439/8 - "... cerusite, carborundum, silicon and any and all of the general class of minerals and other substances used for detectors in Wireless receiving apparatus employed in rendering oscillations audible, "

The Galena (Wiki) Crystal (patent C) appears to be in a lead cylinder.

1698668 Demodulator and method of demodulation, Stuart Ballantine, Lewis M. Hull, Radio Frequency Laboratories, Pub: 1929-01-08, - "...old types of detectors which rely solely upon asymmetrical conductivity are abandoned and we employ instead a detecting element having a certain operating range in which the response is directly proportional to the amplitude of the impressed voltage stimulus. Thus by means of our invention we are able to obtain in response to a modulated radio frequency signal voltage an audio frequency current whose amplitude is directly proportional to the amplitude of said radio frequency voltage..  This linear relation obtained between the stimulus impressed upon our demodulating device and the audio frequency response stands in contrast with the square-law relation characteristics of ionic tube and crystal detectors as commonly employed and results in a marked improvement in the tonal quality of the demodulated signal."

Fig 1 Static I-V for commonly used asymmetrical conductor (diode) [Iron point contact on Silicon]
Fig 2. Static I-V detector element having a substantially constant conductivity over a wide range. [Iron & Iron-Pyrite contacts on Ferro-Silicon]
Fig 3. Experimental response of Fig 2. Rectified current mA vs. Input Voltage
Fig 4. Exponent in Equation: Iaudio=A * eK  RF [0.5V to 3.5V input]
Fig 5. schematic DC variable DC diode bias.
Fig 6. schematic like Fig 5 but with RF and audio matching transformers as well as RF & AF amplification.

The non linearity is expressed by a power series equation rather than an exponential equation. So for this case the main effect is "square law detection" which is non-linear. This is also the case with a vacuum tube detector is used.

For the patented diode and when the RF drive level is above about 0.6V or higher then the audio output is a linear function of the RF amplitude, i.e. linear detection.

-------------------
RE18579 Demodulator and method of demodulation, Stuart Ballantine, Lewis M. Hull, Radio Frequency Laboratories, App: 1932-08-23, Pub:  1932-08-23, -

Cartridge Crystal Holders


962262
                      Wave-detector for wireless telegraphy, Wilhelm
                      Schloemilch, Paul Fernand Pichon, Telefunken,
                      1910-06-21
962262 Wave-detector for wireless telegraphy, Wilhelm Schloemilch, Paul Fernand Pichon, Telefunken, 1910-06-21, 257/41; 252/62.3V; 329/370-

Psilomelane (Wiki) is a group name for hard black manganese oxides including hollandite and romanechite. 




1537856 Crystal
                      detector, Michels Frederick, Erisman Adolph,
                      1925-05-12
1537856 Crystal detector, Michels Frederick, Erisman Adolph, 1925-05-12, 257/41; 438/100; 257/E23.182 -

The holder (5) looks like it was for a 1/4" cartridge 3AG fuse (Wiki).  That probably explains the 1/4" size on the 1N21 cartridge microwave diode.



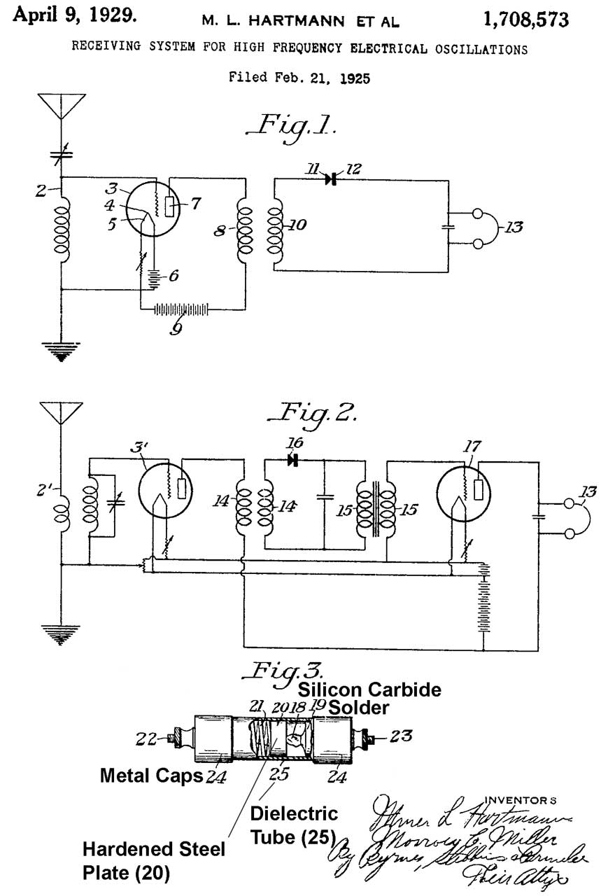
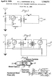
1708573
                      Receiving system for high-frequency electrical
                      oscillations, Miner L Hartmann, Morrow C Miller,
                      Carborundum Co, 1929-04-09
1708573 Receiving system for high-frequency electrical oscillations, Miner L Hartmann, Morrow C Miller, Carborundum Co, 1929-04-09, 329/370; 257/E29.104 -

Instead of a Cat's Whisker this diode uses a hardened metal plate.  That may solve the fragile nature of the other detectors, but at the cost of a huge amount of junction capacitance which makes it a non starter for higher frequencies.

1908316
                      Rectifying apparatus, Bush Vannevar (Wiki),
                      Raytheon, 1933-05-09
1908316 Rectifying apparatus, Bush Vannevar (Wiki), Raytheon, 1933-05-09, 257/43; 252/62.2; 252/62.3R; 313/312; 313/358; 361/436; 420/441; 445/33; 438/104 -

V. Bush was a very important person related to W.W.II since he was the director of the Office of Scientific Development which, among many things, oversaw the Proximity Fuze and Manhattan Projects.

The nickel plated iron capsule (16) has an Edison screw base, like used for flashlight bulbs.

The glass bulb (1) contains "...metallic colloid while the other is formed of a material that when subject to an oxidizing agent, yields a compound permeable to current in one direction only".

Only good for RF not microwave frequencies.  Fragile.  Nice in that it's an easily replaced unit.

2402582 Preparation of silicon materials, Jack H Scaff, Bell Labs, App:1941-04-04, W.W.II, Pub: 1946-06-25, -  

2406405 Coaxial
                      condenser crystal and method of making same,
                      Frederick L Salisbury, Sperry Gyroscope, App:
                      1941-05-19, (W.W.II), Pub: 1946-08-27
2406405 Coaxial condenser crystal and method of making same, Frederick L Salisbury, Sperry Gyroscope, App: 1941-05-19, (W.W.II), Pub: 1946-08-27, 257/41; 264/272.18; 249/79; 310/340; 29/593; 29/856; 438/100; 324/750.28; 324/755.02; 174/21C -

24131861 Art of mounting crystal detectors, Rue William D La, RCA, 1946-12-24

2430028
                      Translating device and method of making it,
                      William G Pfann, Jack H Scaff, Addison H White,
                      Bell Labs, 1947-11-04
2430028 Translating device and method of making it, William G Pfann, Jack H Scaff, Addison H White, Bell Labs, 1947-11-04, 438/100; 205/664; 29/854; 257/41 -

The first page of figures was about grinding the point.
This page is about etching to get a sharper point.

2438892
                              Electrical translating materials and
                              devices and methods of making them, Joseph
                              A Becker, Bell Labs, App: 1943-07-28
                              (W.W.II), Pub: 1948-04-06
2438892
                              Electrical translating materials and
                              devices and methods of making them, Joseph
                              A Becker, Bell Labs, App: 1943-07-28
                              (W.W.II), Pub: 1948-04-06

2438892 Electrical translating materials and devices and methods of making them, Joseph A Becker, Bell Labs, App: 1943-07-28 (W.W.II), Pub: 1948-04-06, 257/41; 423/349; 117/77; 117/931; 117/923; 117/81; 438/478; 438/486 -

All the prior art diodes have been made using machine shop methods.
This patent is the first I've seen that's using what I'd call semiconductor processing. 
In this case Silicon.

It was done to get better electrical specifications by improving the quality of the Silicon.

2447829
                      Germanium-helium alloys and rectifiers made
                      therefrom, Randall M Whaley, Purdue Research
                      Foundation, 1948-08-24
2447829 Germanium-helium alloys and rectifiers made therefrom, Randall M Whaley, Purdue Research Foundation, 1948-08-24, 257/610; 148/712; 164/68.1; 257/616; 257/617; 420/556; 438/795; 438/100 -

This is an example of trying to improve the underlying material properties.
For most W.W. II applications I don't see the benefit of a 100 Volt reverse capaility.
But there are other patents linked from this one that get into semiconductor materials.

The Bell Labs 2438892 is a much more useful improvement.

2475940 Crystal
                      contact, Brittain Francis Hugh, GE, Priority:
                      1945-04-28, Pub: 1949-07-12
2475940 Crystal contact, Brittain Francis Hugh, GE, Priority: 1945-04-28, Pub: 1949-07-12, 257/41; 438/127; 438/780; 438/100

This is an improvement on some prior art devices where wax or plastic was used to try and stabalize the point so it would not move if there was mechanical shock or temperature change.

Like the Cat's Whisker for a Crystal Radio is you get different performance from different spots on the crystal and with different amounts of pressure.


2555151 Crystal detector assembly, Jr Atherton Noyes, Aircraft Radio Corp, 1951-05-29, - Crystal holder for UHF receiver allows replacing crystal from front panel.

2567970
                      Semiconductor comprising silicon and method of
                      making it, Jack H Scaff, Henry C Theuerer, Bell
                      Labs, 1951-09-18
2567970 Semiconductor comprising silicon and method of making it, Jack H Scaff, Henry C Theuerer, Bell Labs, 1951-09-18, 438/57; 23/296; 148/33; 164/108; 257/44; 338/15; 117/931; 438/925; 438/100; 438/89; 438/919; 257/458; 117/81; 136/261; 148/33.5; 252/62.3E; 257/E21.154 -

This is Silicon doping 101 but relating to improving the material of a microwave point contact diode.

They use the word Ingot (Wiki: Boule)
N-type & P-type semiconductors (Wiki)

Fig 3 is the point contact microwave diode

2569570 Crystal
                      diodes and joint contact device, Matare Herbert
                      Francois, Poilleaux Andre, Westinghouse,
                      1951-10-02
2569570 Crystal diodes and joint contact device, Matare Herbert Francois, Poilleaux Andre, Westinghouse, 1951-10-02, 257/41 -

Equivalent circuits for S-sprint (Fig 6) and this improved unit (Fig 7) show much reduced package inductance.  But I haven't seen this ever used.

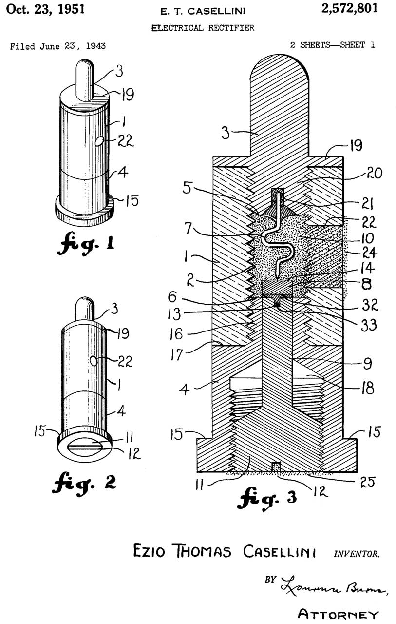
2572801
                      Electrical rectifier, Casellini Ezio Thomas, GTE
                      Sylvania, Filed: 1943-06-23, (W.W.II), Pub:
                      1951-10-23
2572801 Electrical rectifier, Casellini Ezio Thomas, GTE Sylvania, Filed: 1943-06-23, (W.W.II), Pub: 1951-10-23, 257/41 -

2585353
                              Apparatus for testing crystal rectifiers,
                              Peter D Strum, AIL, 1952-02-12
2585353
                              Apparatus for testing crystal rectifiers,
                              Peter D Strum, AIL, 1952-02-12
2585353
                              Apparatus for testing crystal rectifiers,
                              Peter D Strum, AIL, 1952-02-12



 2585353 Apparatus for testing crystal rectifiers, Peter D Strum, AIL, 1952-02-12, 324/762.01 -

This is the oldest patent in this class.

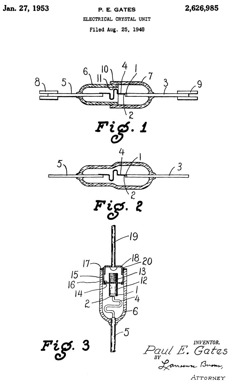
2626985
                      Electrical crystal unit, Paul E Gates, GTE
                      Sylvania, 1953-01-27
2626985 Electrical crystal unit, Paul E Gates, GTE Sylvania, 1953-01-27, 257/41; 65/42; 257/E23.182 -

The point contact version of the 1N34 might be packaged in a glass package like this.

2632042
                      Electrical crystal unit, James E Fitchett, GTE
                      Sylvania, 1953-03-17
2632042 Electrical crystal unit, James E Fitchett, GTE Sylvania, 1953-03-17, 257/41; 257/E23.182 -

One end of the glass package has a metal tube.  A rod with the semiconductor chip is fiddled with then sealed to the tube.  a spot weld fixes the location then a solder dip seals it.
2682034
                      Apparatus for Applying High-intensity electrical
                      Pulses to Crystal Rectifiers,
2682034 Apparatus for Applying High-intensity electrical Pulses to Crystal Rectifiers, 1954-06-22, 324/755.02; 333/33; 307/109; 333/99R; 324/762.07
 
See MIT Rad Lab Vol 15 (Ref 1)-

9-8 Burnout - includes the spike test, Fig 9-36 matches patent 2682034 Apparatus for Applying High-intensity electrical Pulses to Crystal Rectifiers,

2694168
                      Glass-sealed semiconductor crystal device, Harper
                      Q North, Jr Justice N Carman, Hughes Aircraft,
                      1954-11-09
2694168 Glass-sealed semiconductor crystal device, Harper Q North, Jr Justice N Carman, Hughes Aircraft, 1954-11-09, 257/746; 65/42; 250/239; 445/33; 257/41; 438/100; 438/127; 438/65; 257/432; 65/61; 257/794; 219/633; 257/E23.182 -

Uses Dumet (Wiki) to make glass to metal seals, one to a glass bead and one to a glass cup.  The final step is melting the glass cup around the glass bead.  This is the method I saw, but not sure of the wire metal composition.

This was a major improvement because of much higher temperatures and hermetic sealing.

Can be used for many different types of semiconductors, but one of them is the point contact diode.

2818536 Point contact semiconductor devices and methods of making same, Jr Justice N Carman, Elmo E Maiden, Raytheon, 1957-12-31, - "S" bend

2878399 Crystal
                      semiconductor device, Julien J B Lair, ITT,
                      1959-03-17
2878399 Crystal semiconductor device, Julien J B Lair, ITT, 1959-03-17, 257/41 -

The effort is to reduce the capacitance to get higher frequency operation.

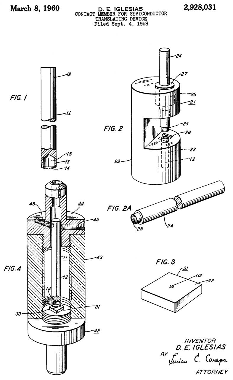
2928031 Contact
                      member for semiconductor translating device, David
                      E Iglesias, Bell Labs, 1960-03-08
2928031 Contact member for semiconductor translating device, David E Iglesias, Bell Labs, 1960-03-08, 257/785; 438/106; 29/854 -

By using a disk spring (14) on the bottom of rod (11) that acts like the bottom of an oil can AND a mesa diode (33) the S-spring is eliminated.

Note mesa (Wiki) construction requires photolithography (Wiki) and the ability to etch (Wiki) whatever the semiconductor material is being used.

I have not seen this or the bellows (3231795) used in practical diodes.  But this goes to show they were trying to reduce the lumped element inductance to get higher frequency operation.

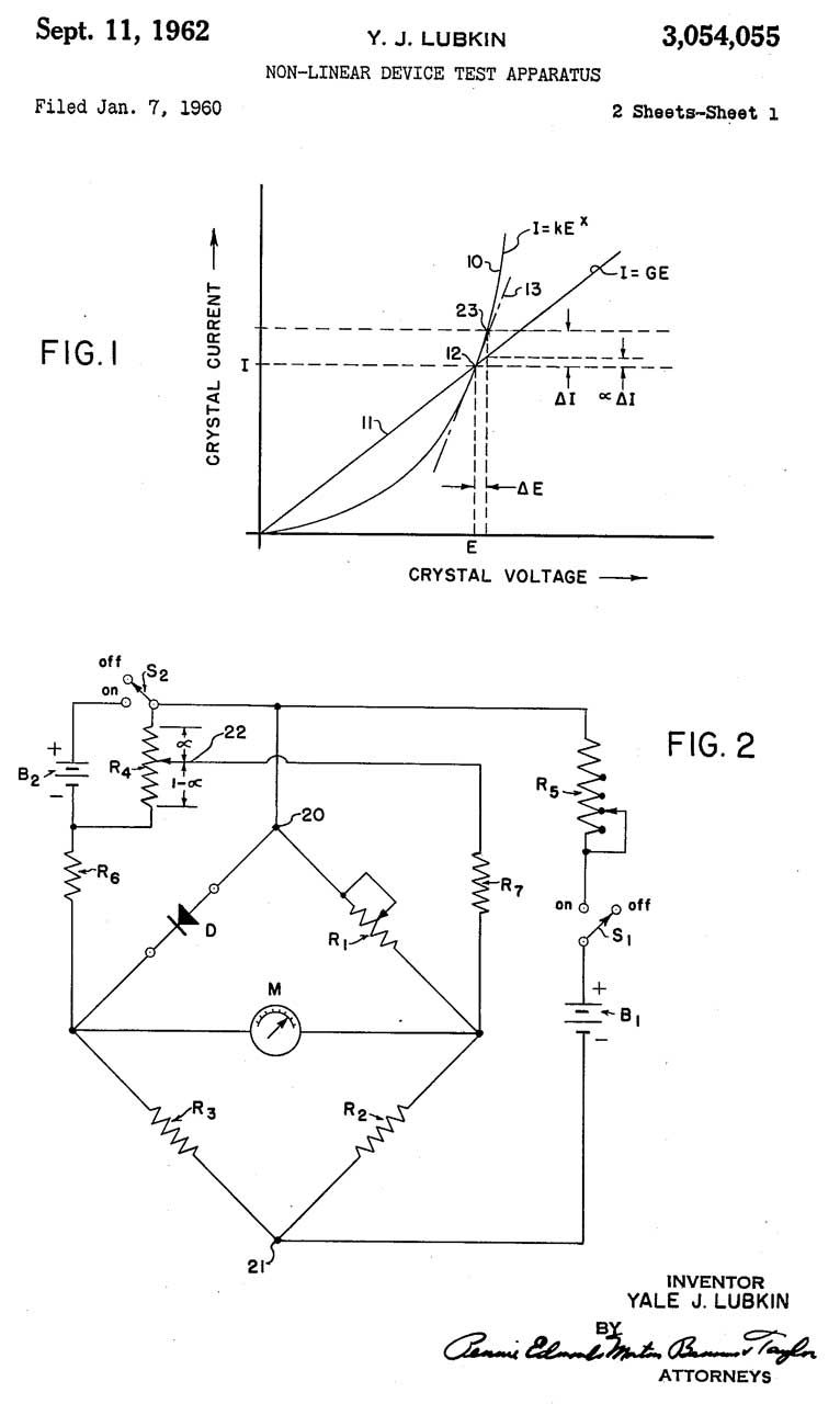
3054055
                              Non-linear device test apparatus, Yale J
                              Lubkin, Cutler Hammer, 1962-09-11
3054055
                              Non-linear device test apparatus, Yale J
                              Lubkin, Cutler Hammer, 1962-09-11


3054055 Non-linear device test apparatus, Yale J Lubkin, Cutler Hammer, 1962-09-11, 324/760.01; 324/626; 324/762.07 -

A correlation between DC parameters and detector sensitivity is demonstrated for some diodes.

Measures dynamic slope at a given bias current.  Can calculate both R and TSS.

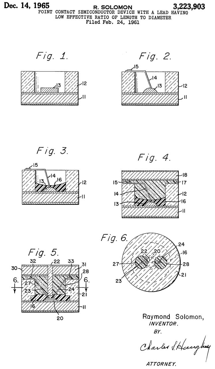
3223903 Point
                      contact semiconductor device with a lead having
                      low effective ratio of length to diameter, Solomon
                      Raymond, Hughes Aircraft, 1965-12-14
3223903 Point contact semiconductor device with a lead having low effective ratio of length to diameter, Solomon Raymond, Hughes Aircraft, 1965-12-14, 257/41; 257/790; 257/687; 438/124; 438/100 -

Kovar (Wiki) disk (11) attached to alumina cylinder to form "pill" package.
Mesa etching done inside pill package (this was the way Tunnel Diodes were made at Aertech).

A lot of information about inductance of fine wires that implies operation to 12 GHz.
Mentioned Tunnel Diodes.

They did not use bonding wire from the metalized top surface of the cylinder down to the diode junction, only point contact methods.



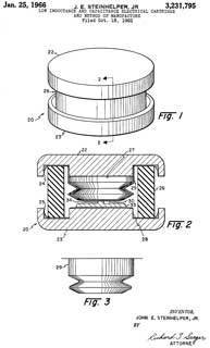
3231795 Low
                      inductance and capacitance electrical cartridge
                      and method of manufacture, Jr John E Steinhelper,
                      Bendix, 1966-01-25
3231795 Low inductance and capacitance electrical cartridge and method of manufacture, Jr John E Steinhelper, Bendix, 1966-01-25, 257/727; 257/728; 257/E23.187; 257/688; 174/544 -

the start of the "pill" package

aimed at reducing capacitance and inductance.
makes use of a bellows (3) as an electrical contact to a mesa structure diode.

I looked into using bellows made by Servometer some decades ago.  When sealed they are barometers, that's to say you can have all kinds of problems if there's not a hole to allow the pressure to equalize.

In this application the mesa lifts the face of the bellows away from the diode.  But most modern diodes have a planar surface so this will not work.

3308355 Point
                      contact diode, Jr Charles Freeman Davis, Lueck
                      Arthur Mitchell, TI, 1967-03-07
3308355 Point contact diode, Jr Charles Freeman Davis, Lueck Arthur Mitchell, TI,  1967-03-07, 257/41; 257/739 -

This is a flange type pill package.  One of the flanges is attached to the ceramic cylinder as part of making the package.  The lid is spot welded to the flange by passing high current through the lid and flange.  Note no current goes through the diode (which if it did would destroy the diode).  This type of pill package is much easier to seal than the straight walled "pill" package which requires some type of solder seal.

Also used is "mesh" instead of wire.  This lowers the inductance of the connection to the diode and this construction looks very much like how Aertech made Tunnel Diodes.

3311800 Means and method of sealing glass encapsulated diodes, Bakalar David, Transitron Electronic Corp, 1967-03-28, - double plug, point contact

Detector Sylvania - uses diode in metal cylinder, i.e. coax

Related

Aertech - the semiconductor processes and packages for Tunnel  and other diodes were developed as improvements on these cartridge microwave diodes.
Crystal Radio - Diodes
Diodes paragraph my Crystal Radio web page.
Police Traffic Radar Warning Receivers -
HP 934A Harmonic Mixer - uses a couple of cartridge diodes (1N21B, 1N416B)

References


Ref 1 M.I.T. Radiation Laboratory Series - Vol 15: Crystal Rectifiers, Henry C. Torrey, Charles A. Whitmer, 1948, 457 pages.  Section 9-10 D.C. Tests (pg 297).  Fig. 9-39 is probably the TS-268.
Ref 2  Bell System Technical Journal, Vol XXVI, January 1947: Development of Silicon Crystal Rectifiers for Microwave Radar Circuits.  Shows the 1N21 style cartridge developed in 1941 (consistent  with the Sperry Gyroscope patent above.  Fig 5 (page 10) shows design where ceramic has female threads all the way through.  One end plug holds an S shaped point contact assembly and the other end plug holds a silicon chip.

Links

WA9EXS - Wisconsin Maritime Museum - submarines - Cobia Sub photos including SJ-1 radar.
PRC68, Alphanumeric Index of Web pages, Contact, Products for Sale
Page Created 2020 July 3