Fare Registers

© Brooke Clarke 2020

Ohmer Taxi
                  Fare Meter

Background
Description
    Ohmer TAXI fare meter
Patents
Related
References
Links

Background

"Fare" refers to paying for public transportation (Wiki).  "Registers" refers to counters.  For example Registering (counter) Padlocks have a Veeder Root type counter that keeps track of openings.  These devices have the look and feel of the Abbott Calculagraph billard/phone call timer, Mills Vest Pocket Slot Machine, Johnson Coin Changer,

Pretty much as long as there have been forms of transportation there have been people who made a business of hiring it out.  An early example is the Hansom Cab (Wiki).  His patent was destroyed in the 1836 patent office fire (Wiki).  So the earliest patents are by Lawrence.  But how the fare was determined I have yet to learn.  Let me know.

Trams (Wiki: History of Trams) started out being pulled by horses.
582366 Fare
                      Register, J.F. Ohmer & H. Tyler, 1897-05-11
582366 Fare Register, J.F. Ohmer & H. Tyler, 1897-05-11


597561 Fare
                      Register, J.F. Ohmer & H. Tyler, 1898-01-18
597561 Fare Register, J.F. Ohmer & H. Tyler, 1898-01-18, -
RE11681 Fare Register, John F. Ohmer, Hiram Tyler, assigned to Ohmer, 1898-07-19, -



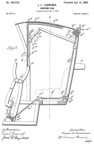
611385 Hansom Cab, J. L. Lawrence, C. Thomas & Co, 1898-09-27, 49/111; 49/357 - driver operated gates/doors


618039 Hansom
                      Cab, J. L. Lawrence, Thomas & Co, 1899-01-17
618039 Hansom Cab, J. L. Lawrence, Thomas & Co, 1899-01-17, 296/146.4 - driver operated gates/doors (a) and window (b).
RE11734 Hansom Cab, J. L. Lawrence, Thomas & Co,1899-04-18, 296/146.4 -


635343 Mechanism
                      for operating fare-registers, John F Ohmer, Hiram
                      Tyler, Ohmer Fare Regiester Co, 1899-10-24
635343 Mechanism for operating fare-registers, John F Ohmer, Hiram Tyler, Ohmer Fare Regiester Co, 1899-10-24, -


652049
                      Railway-car (Subway car), Frank J Sprague, Sprague
                      Electric Co, App: 1898-12-30
652049 Railway-car (Subway car), Frank J Sprague, Sprague Electric Co, App: 1898-12-30, -

This is for an electric subway car, but should be close in time to the introduction of electric trolly cars powered from an overhead power line.

Frank Sprague (Wiki) may have invented the pole and wheel connection for the overhead line.
There is no need for a fare register in a subway car since all the ticketing operations are done outside the car.


715129
                      Fare-register, John F Ohmer, Hiram Tyler, Ohmer
                      Fare Regiester Co, 1902-12-02
715129 Fare-register, John F Ohmer, Hiram Tyler, Ohmer Fare Regiester Co, 1902-12-02, -



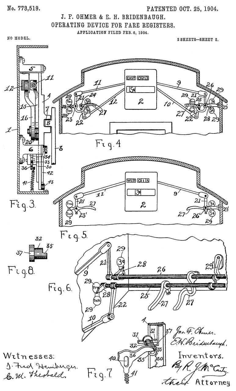
773519 Operating
                      device for fare-registers, John F Ohmer, Elmer H
                      Bridenbaugh, Ohmer Fare Regiester Co,1904-10-25,
773519 Operating device for fare-registers, John F Ohmer, Elmer H Bridenbaugh, Ohmer Fare Regiester Co, 1904-10-25, -

By using a rod instead of a rope (like used to ring the bell) two different fares can be set, such as 3 cents or 5 cents.


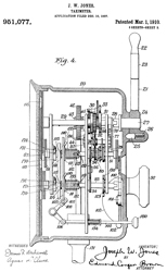
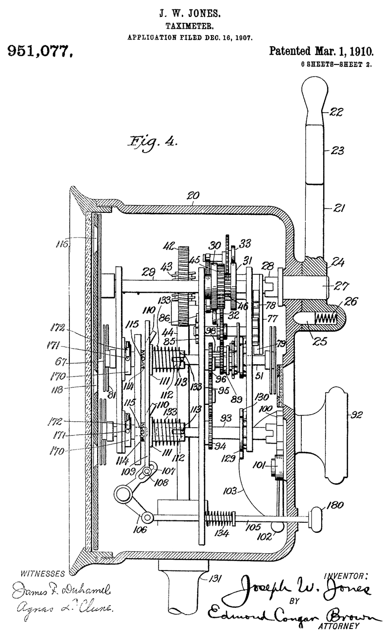
951077
                              Taximeter, Joseph W Jones, App:
                              1907-12-16, Pub: 1910-03-01
951077
                              Taximeter, Joseph W Jones, App:
                              1907-12-16, Pub: 1910-03-01

951077 Taximeter, Joseph W Jones, App: 1907-12-16, Pub: 1910-03-01, -

Other Jones Inventions:
Gramophone record cutting: 604829 & 763903
Speedometers: 765841, 925814, 899055,


1036259
                              Cab-fare register, James Alexander Keyes,
                              Columbia Motor Car Co, 1912-08-20
1036259
                              Cab-fare register, James Alexander Keyes,
                              Columbia Motor Car Co, 1912-08-20

1036259
                              Cab-fare register, James Alexander Keyes,
                              Columbia Motor Car Co, 1912-08-20

1036259 Cab-fare register, James Alexander Keyes, Columbia Motor Car Co,  1912-08-20, -

The application date was1899-07-07 and even then the mechanical complexity of the fare register was quite high.  Note this includes both a distance based or time based fare system.  It was only in later fare registers that they combined distance and time into a single fare.




Description


Ohmer Taxi fare meter

Taximeters (Wiki) calculate the fare based on distance traveled, time and in some cases "extras".

Fig 1 Ohmer Taxi Fare Meter
Ohmer
                      Taxi Fare Meter
Fig 2
Ohmer
                      Taxi Fare Meter
Fig 3
Ohmer
                      Taxi Fare Meter
Fig 4
Ohmer
                      Taxi Fare Meter
Fig 5  It looks like the grease has hardened up, jamming the works.  It probably needs a clean and lube.
Ohmer
                      Taxi Fare Meter
Fig 6
Ohmer
                      Taxi Fare Meter
Fig 7
Ohmer
                      Taxi Fare Meter
Fig 8
Ohmer
                      Taxi Fare Meter
Fig 9 The "T" handle on the front panel winds up
the spring which powers the clockwork that tracks the time.  The pawl just below the yellow (panel light) wire is the winding shaft.  The clock is not electric, it's wind-up.
Ohmer
                      Taxi Fare Meter


Ohmer Fare Resister (Wiki).   Both John F. Ohmer who founded the Ohmer Fare Register Company in 1898 and his brother Wilfred I. Ohmer associated with the Recording and Computing Machines Company.

The version of this meter made by Rockwell Register Co. shows patent number 2596164 on front panel.

Patents

The early patents were for use on trolley cars or light rail systems.

2596164 Taximeter, Brian C Palmer, Rockwell Register Co, 1952-05-13, -













2006653 Tamperproof transmission equipment, Herbert C Riesinger, 1935-07-02, - speedometer cable transmission to drive fare meter.

Patents Cited by 1744307:

1023050
                      Taximeter control
1023050 Taximeter control, Joseph D Sulsona, Taximeter Control Co, 1912-04-09, -

"A further object of this invention is to provide an audible alarm for a vehicle, to designate when it is occupied, and the taximeter thereon in its non-registering position, which is operative only when the ve hicle is in motion."  i.e. to prevent a free ride.

1182408 Taximeter, John F Ohmer, William G Orth, Ohmer Fare Regiester Co, 1916-05-09, - 

1438853 Taximeter, Phillips Fredrick William, 1922-12-12, - drum with dials on end cap

1470949 Taximeter, Weisinger Abraham, 1923-10-16, - square with flag

1497918 Adding machine, Landsiedel Harry, Dalton Adding Machine Co, 1924-06-17, -
10 number keys, 4 function keys

1522910 Taximeter, P. Richert, 1925-01-13, - box w/flag that tips to the right

1608117 Initial-charge-controlling mechanism for taximeters, Orth William George, Darst George Henry, Ohmer Fare Register Co, 1926-11-23

1615399 Adjustable figure wheel, William G Orth, Ohmer Fare Register Co,1927-01-25, -

1643551 Register dial, C.M.F. Friden, (Wiki: Carl Friden) 1927-09-27, -

1671553 Counter, George E Sheldrick, Pitney Bowes, 1928-05-29, -

1695663 Register wheel, Rodanet Charles Hilaire Henri, 1928-12-18, -

1744307 Taximeter construction, Gluck Julius, Ohmer Fare Register Co, 1930-01-21, - clock winding knob on front panel, 2 position VACANT flag.

1762862 Taximeter, Gluck Julius, Ohmer Fare Register Co,1930-06-10, -

1771142 Fare indicator, Riegger Paul, Kienzle Uhrenfabriken, 1930-07-22, - fixes a problem caused by fast operation of the flag.

1780780 Taximeter, Jacob A Costuma, Harry E Bauer, Charles L Lovercheck, International Taxameter, 1930-11-04

1786745 Fare indicator, Gehlen Karl, Kienzle Uhrenfabriken, 1930-12-30, - provision for initial fare

1794808 Taximeter, Bruce H Tingley, Ohmer Fare Register Co, 1931-03-03, - 1 large fare counter + 9 small counters

1827139 Taximeter, Brun Jean Albert Francois, 1931-10-13, -

1846417 Printing taximeter construction, Gluck Julius, Ohmer Fare Register Co,1932-02-23, -

1856403 Fare indicator, Riegger Paul, Kienzle Uhrenfabriken, 1932-05-03, -

1874962 Taximeter construction, Gluck Julius, Rudolph R Karich, Ohmer Fare Register Co,

1947937 Drive mechanism for taximeters, Hennig Fred, Pittsburg Taximeter Co, 1934-02-20, - between transmission and meter (speedo cable connection).

1961869 Meter flag thrower, G. Swaim, 1934-06-05, - big electromagnet

2127295 Registering device, Mark M Hennessy, Durant Mfg, 1938-08-16, -

2233920 Radio antenna for automobiles, Arthur A Johnson, Casco Products, 1941-03-04, -

2279556 Counting mechanism, Kenly C Bugg, Neptune Meter, 1942-04-14, -
similar to the Veeder Root counter, intended for gasoline pumps
2191877 Counting mechanism, Kenly C Bugg, Neptune Meter, 1940-02-27, -

2315569 Dashplate compartment taximeter, Henry W White, 1943-04-06, - made to fit into glove compartment.

2335718 Value stamping and vending machine, Jr Walter H Wheeler, Pitney Bowes, 1943-11-30, - has counters and levers similar to fare meter

2428080 Cab meter, Horn Thurman, Cabometer Inc, 1947-09-30, -


2596164 Taximeter, Brian C Palmer, Rockwell Register Co, 1952-05-13, -
332866 Fare Registering Machine, J.B. Benton, 1885-12-22, 235/41; 235/47; 235/128; 235/131M; 235/24; 235/48; 235/131JA; 235/135; 235/144B -
479388 Fare Register, F.C. Boyd, R. Martin, 1892-07-19, 235/37; 40/495; 235/47; 235/135; 235/44; 235/128 -
506618 Detective Device for Cash Registering Machines, F.L. Bailey, Boston Cash Register Co, 1893-10-10, 235/28; 235/116; 292/DIG.19-
560529 Fare Register, J.F. Ohmer, 1896-05-19, 235/29R; 235/42; 235/128 -
567315 Recording fare-register, W.H. Honiss, 1896-09-08, 346/16; 235/33; 235/42; 235/47; 235/128; 235/132R; 346/61; 346/145; 235/44; 235/48; 235/130R; 235/135; 346/136 - eBay brass unit.
567374 Transfer-ticket for street-railways, 1896-09-08, -
567441 missing
584216 Register for Car Steps, T.H. French, 1897-06-08, 235/99R; 235/117R - as people board a train car one of the steps has a counter tally the number of people coming or going.
597561 Fare Register, J.F. Ohmer & H. Tyler,1898-01-18, 235/44 - Street car
RE11681 Fare Register, J.F. Ohmer & H. Tyler, 1898-07-19, 235/44 - Street car
758488 Fare-register, Hiram Tyler, Ohmer Fare Register Co, 1904-04-26, 235/29R; 235/47; 346/15; 235/24; 235/48; 346/96 -
766649 Ticket printing and registering machine, Wilfred I Ohmer, Joseph Leitschuh, Joseph N Kelly, Recording and Computing Machines Co, 1904-08-02, 101/66; 101/272; 101/420 -
769710 Ticket printing, checking, and recording machine, Wilfred I Ohmer, Joseph N Kelly, Joseph Leitschuh, Recording and Computing Machines Co,1904-09-13, 101/66 -
773519 Operating device for fare-registers, John F Ohmer, Elmer H Bridenbaugh, 1904-10-25, -
781224 Bracket for operating-rods of fare-registers, John F Ohmer, Ohmer Fare Register Co,1905-01-31, 248/70; 248/291.1 -
833040 Fare-register, Charles E Gierding, Sterling Meaker, 1906-10-09, 235/37; 235/44 - alrge round trolley car
885280 Actuating mechanism for fare-registers, John F Ohmer, Ohmer Fare Register Co,1908-04-21, 235/45 - Trolley or street car.
890171 Fare-register, John F Ohmer, Edward Seebers, Ohmer Fare Register Co, 1908-06-09, 235/33; 235/29R; 235/44 -
896315 Setting and operating device for fare-registers, John F Ohmer, Ohmer Fare Register Co, 1908-08-18, 235/29R; 235/44 -
908028 Fare register and recorder, John F Ohmer, Elmer H Bridenbaugh, Harry Nelson, Ohmer Fare Register Co, 1908-12-29, 346/16; 235/33; 235/47 -
908029 Fare register and recorder, John F Ohmer, Harry Nelson, Ohmer Fare Register Co, 1908-12-29, 346/94 -
908030 Setting and operating mechanism for fare-registers, John F Ohmer, Walter S Heaton, Ohmer Fare Register Co,, 1908-12-29, 235/44 -
914361 Fare-register, John F Ohmer, Ohmer Fare Register Co, 1909-03-02, 346/16 -
937220 Fare-register, John F Ohmer, Ohmer Fare Register Co, 1909-10-19, 346/16 -
973315 Recording Fare-register, Arthur E. Stone, Francis L. O'Bryan, 1910-10-18, -
1099198 Fare-box, Wilfred I Ohmer, Joseph Leo Kist, Recording and Computing Machines Co,
1223723 Fare-box, Wilfred I Ohmer, Recording and Computing Machines Co, 1917-04-24, 235/44; 232/57; 235/32 -
1139556 Seal, Philip J Mitten, Recording and Computing Machines Co,1915-05-18, 292/307R -
18400 Implement for sealing railroad-cars,  F.W.A. Krause, 1857-10-13, - improvement over using a hammer and dies.
35868 Seal Lock, J.R. Bowbilla, 1862-07-15, - brass device locks cord (sort of like a zip-tie) used on mail bags.
240882 Lead-seal press, J.W. Calef, 1881-05-03, 140/152; 30/185; 140/153 -
4950007 Ball seal, Allan W. Swift, EJ Brooks Co, 1990-08-21,
292/324; 292/320 - sheetmetal ball locks sheetmetal strap.
Now (2020) there are a plethora of plastic security seals that are variations of the cable tie (Wiki).
1565754 Winding key, William G Orth, Ohmer Fare Register Co, 1925-12-15, 464/39; 292/347; 81/7.5; 292/358; 70/422 -
1592568 Figure wheel, William G Orth, Ohmer Fare Register Co, 1926-07-13, 235/1R; 235/30R; 235/63DE; 235/144PN; 235/1C -
1615399 Adjustable figure wheel, William G Orth, Ohmer Fare Register Co, 1927-01-25, 235/1R; 235/113; 235/117R; 235/128; 235/132R -
1711245 Ink roll, John F Ohmer, Ohmer Fare Register Co, 1929-04-30, 101/367 -


1744307
                      Taximeter construction, Gluck Julius, Ohmer Fare
                      Register Co, 1930-01-21
1744307 Taximeter construction, Gluck Julius, Ohmer Fare Register Co, 1930-01-21, 235/23; 235/30R -

1762862 Taximeter, Gluck Julius, Ohmer Fare Register Co, 1930-06-10, 235/33; 235/30R; 235/144SS - 3 digits on Dollar drums, 2 digits on the Extras register.
1794808 Taximeter, Bruce H Tingley, Ohmer Fare Register Co, 1931-03-03, 235/30R -
2428080 Cab meter, Horn Thurman, Cabometer Inc, 1947-09-30, 235/30R -

Related

Calculagraph - measures elapsed time.  Used for pool hall table rental, long distance phone calls.
Cars - Speedometer & Odometer

References


Links

PRC68, Alphanumeric Index of Web pages, Contact, Products for Sale
Page Created 2020 Aug 29