Money

© Brooke Clarke 2017 - 2021

Background
Description
    Money in Circulation
    Paper Money
    Coins
        Rolls
        Kwik Koin Dispenser
        Downey-Johnson Model 20-PH Johnson Fare Box Co Manual Coin Counter
        Johnson Coin Changer
        Coin Operated Toys
        Parking Meter
        Nadex Coin Changer
Photos
Patents
Related
References
Links

Background 

Although a common misconception is that money came about as an alternative to using gold, there is no scientific support for that (if you know of some let me know).  The Wiki page for money says " there is no evidence of a society or economy that relied primarily on barter.[12]   There is some evidence that Kings issued money, for example Tally sticks (Wiki).  This page written after I learned about Modern Monetary Theory.

Description

Money in Circulation

Milton Friedman (Wiki) believed that the money supply (Wili: Monetarism) conrolled the GDP (Wiki), employment (Wiki) and inflation (Wiki) through the Phillips curve (Wiki).  But all of these ideas have been shown to be false. (Ref 1, Ref 2)
Some people think the U.S. government has a "printing press" and can print as much money as they want to and that is a problem.  But the recent experience with Quantative Easing (Wiki) where Trillions of dollars have been put into the economy has not resulted in any inflation, although there are many economists who expect it any day now.  The Fed (Wiki) does not have any tools that can control inflation or employment (Ref 3). The only thing they can control is the overnight interest rate.

There are a number of measures of how much money is in circulation (Wiki: Money Supply, Fractional Reserve Banking) but Modern Monetary Theory suggests that these have no value in relation to inflation or employment.  Ben Bernanke's (Wiki) The Great Moderation (Wiki) turns out the be a myth as shown by the Global Financial Crisis (Wiki)

Paper Money

While I was a young man all the paper money I carried had the words "Silver Certificate, This certifies that there is on deposit in the Treasury of the United States of Ameerica One Dollar." at the top.  The idea was that you could take the Silver Certificate to any U.S. Mint (Wiki) and exchange it for a Silver Dollar (Wiki) which at that time contained a dollars worth of silver metal.

Some people think that FDR (Wiki) took the U.S. off the gold standard, that's not exactly the case, what Executive Order 6102 of 1933 (Wiki) did was to remove gold coins, gold bullion and "Gold Certificates" (Wiki) from circulation and change the price of gold from $20.67 per ounce to $35 per ounce.  Note the Silver Certificate remained in circulation. 

Nixon took the U.S. off the gold standard in 1971 (Wiki: Nixon Shock).  Between the end of W.W.II and 1971 the U.S. dollar was pegged to gold and the currency of 44 other countries was pegged to the U.S. dollar, i.e. the exchange rate was fixed between countries Wiki: Bretton Woods System).  I remember that a Pound sterling (Wiki) was $2.40.  Nixon Shock had the effect of floating all the exchange rates.

U.S. Paper money is printed by the U.S. Treasury (WIki, Treasury). "Silver Certificate"
"This certifies that there is on deposit in the Treasury of One Dollar in silver payable to the bearer on demand".  That means you could turn in a "Silver Certificate" and get in return a Silver Dollar (Wiki) that had a dollar's worth of Silver in it.

Silver
              Certificate

A traveling salesman's luggage case was used in the movies Fargo (case holds $1 million) (IMDB, Wiki) and No Country for Old Men (case holds $2 million) (IMDB, Wiki)) bundles of 100 each $100 bills ($10,000 per bundle).  These bundles of $100 bills are available on eBay as "Prop money".

Coins

The U.S. Coinage Act of 1792 (Wiki) established the silver dollar (used for paying debts) and the U.S. Mint.  Coins using gold, silver and copper were authroized for trade.  The U.S. Mint (USMint.gov) makes only various types of coins not paper money.  In the "olden days" there was a plethora of coins including ones made from solid, gold, silver, copper, nickel and occasionally some base metal.  But today most of these are no longer in general circulation. 

In the past I've used the clear plastic tube with a slot in the side to package quarters.  The idea is that you overfill the tube then shake out the extra quarters.  But the bank found that some rolls were short one coin and billed by account.  The next step was to use a postal scale and tare (zero) the scale with the clear plastic tube empty.  Now when the tared weight is 8 ounces there are 40 quarters in the tube.  Also if there's a foreign quarter the weight will be off from 8.0 ounces.  This is an excellent way to get the coin count correct, but time consuming.

613844 Bogus coin detector for coin operated vending machines, M.B. Mills, The Mills novelty Company, Nov 8, 1898, 194/302; 194/344; 194/352; 235/32 -  List of Patent Trials
8967361 Coin counting and sorting machines, Douglas A. Martin, Outerwall Inc., Mar 3, 2015, 194/215, 194/342 - Good reference because it has 562 Citations 

  Rolls

When handling coins on a business basis they are put into paper rolls making it easier to handle and count the dollar amount.  There are two styles of rolls:

Shipped flat paper rolls - need both ends folded to close - Very compact before use.
Pre formed cylindrical with one end pre-rolled.  These work with low cost end rollers, but take up a lot of storage space.

Denomination
cents
Dia
"
Thick
"
#/roll
Total
1
0.750
0.056
50
$0.50
5
0.835
0.077
40
$2.00
10
0.705
0.053
50
$5.00
25
0.955
0.069
40
$10.00
50
1.205
0.085
20
$10.00

Kwik Koin

 Nickle dispenser by McPherson Mfg. Co., Tacoma, WN (Washington)

I came across this while looking at machines that handle coins.  It came from Las Vegas and was rumored to be from the Dunes Hotel basement.  At one time there were many machines in Nevada that used nickle coins so this makes some sense as a very efficient way for a cashier to make change.  Although there are machines similar to a cash register that will dispense any amount of change that would be more convenient, but also are more expensive both to buy and to maintain.

Description
There is a slide at the bottom of the tube that supports the stack of coins.  When the slide is moved forward with the hand in a cupped position the stack of coins falls down by 5 coins (25 cents) and is stopped by another slide.  When the spring loaded slide is allowed to return to it's resting position 5 coins are dropped into the operator's hand.  I think the holes in the tube are at $1 intervals (20 nickles).

Aluminum casting with stainless steel tube.  This should last for almost ever since it's very simple construction.  It's now 70 years old.

2491573 Coin Dispensing Machine, C. C. McPherson, Dec 20, 1949 -

Photos

Fig 1 Kwik Koin
Kwik Koin
                      Nickle Dispenser (25 cents per cycle)
Fig 2
2491573
                      Coin Dispensing Mechanism, C.C. McPherson, Dec 20,
                      1949
Fig 3 Slide in resting position
Kwik Koin
                      Nickle Dispenser (25 cents per cycle)
Fig 4 Slide pulled forward
Kwik Koin
                      Nickle Dispenser (25 cents per cycle)

  Downey-Johnson Model 20-PH Johnson Fare Box Co Manual Coin Counter s/n: 22434

There are a number of machines for various tasks relating to coins.  Some of these tasks are: total counting (like the number in a bag), counting a specific number of coins to fill a wrapper, sorting, packaging, verifying, storing, protecting, saving &Etc.

This coin sorter also has height and width adjustments for which coin is being processed as well as an adjustment for how many coins go into a roll.  This unit looks a lot like the Brandt model 730.  Note that the Brandt 730 patents show a very similar machine.  A rotating disk, adjustments for coin thickness and width as well as coins per roll.

The 30-PM version has a motor.  Maybe the "M" is for Motor and the "H" in 20-PH is for Hand crank?

The model 380 is still (2017) being sold by Lynde-Ordway, (eBay) and they have some parts.

Operation

This unit needs to be sitting at the edge of a table if the plastic coin chutes are going to be used since the lower end of the chute is lower than the table top.  In Patent 2165240 Fig 4, below you can see that the clamp that holds the coin counter steady on the table also has a stop lever that keeps the coins from falling out of the chute until you are ready to fill a paper roll.  That clamp is missing from this machine.

Although there were motorized coin counters on eBay I found a more expensive one had a defective motor, so without repairing the motor it would not function.  Hence choosing this hand cranked version.

The Inspection pan (25,40) is where the coins are first placed.  The operator can inspect that they are the correct denomination and that there is no foreign matter.  The holes allow debris to fall out.  Note that lifting the rear of the pan dumps coins onto the table so to get the coins to the spinning disk they need to be moved by hand.

The adjustment for coin thickness it not a sort, but rather to keep from getting two coins stacked one on top of the other and counting that as a single coin.  The width adjustment also stops two coins from being counted as a single coin.  This machine will also work with tokens although a custom output tube may be needed if the token diameter is not close to a standard US coin diameter.

The operation of the Veeder Root counter is to count the total number of coins and is independent of the count per roll.  This offers a check on the number of coins in a roll.  If you zero the counter at the start of a session, when doing quarters, 40 coins per roll, the the count will go 0000, 040, 080, 120, 160, 200, &Etc.  When a roll is done the weight should be 8.0 ounces. Quarters and dimes are $20 a pound.

It's easier to put the paper coin sleeve into the chute from the top.  It's important that the chute be square to the machine.  If it's cock-eyed then a coin may get hung-up in the gap causing a pile of coins not going into the sleeve.

A couple of times the handle got hard to turn.  Removing the two thumb screws and taking off the hopper and ring and reinstalling them fixed it.

Fig 9 YouTube of operation (click photo)
Downey-Johnson Model 20-PH Johnson Fare Box Co
                  Manual Coin Counter

The label:

Model: 20-PH
Downey-Johnson
Coin Counter
Volts: (blank)  Cycle: (blank) - this is a hand cranked model.
Johnson Fare Box Co.
New York ____________________Chicago
Made in U.S.A.
Patents Issued: 2165240   2165241
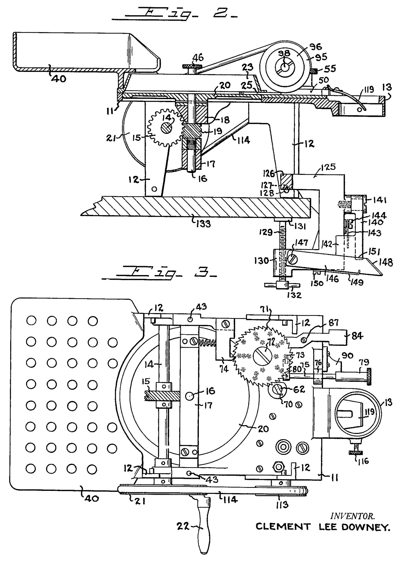
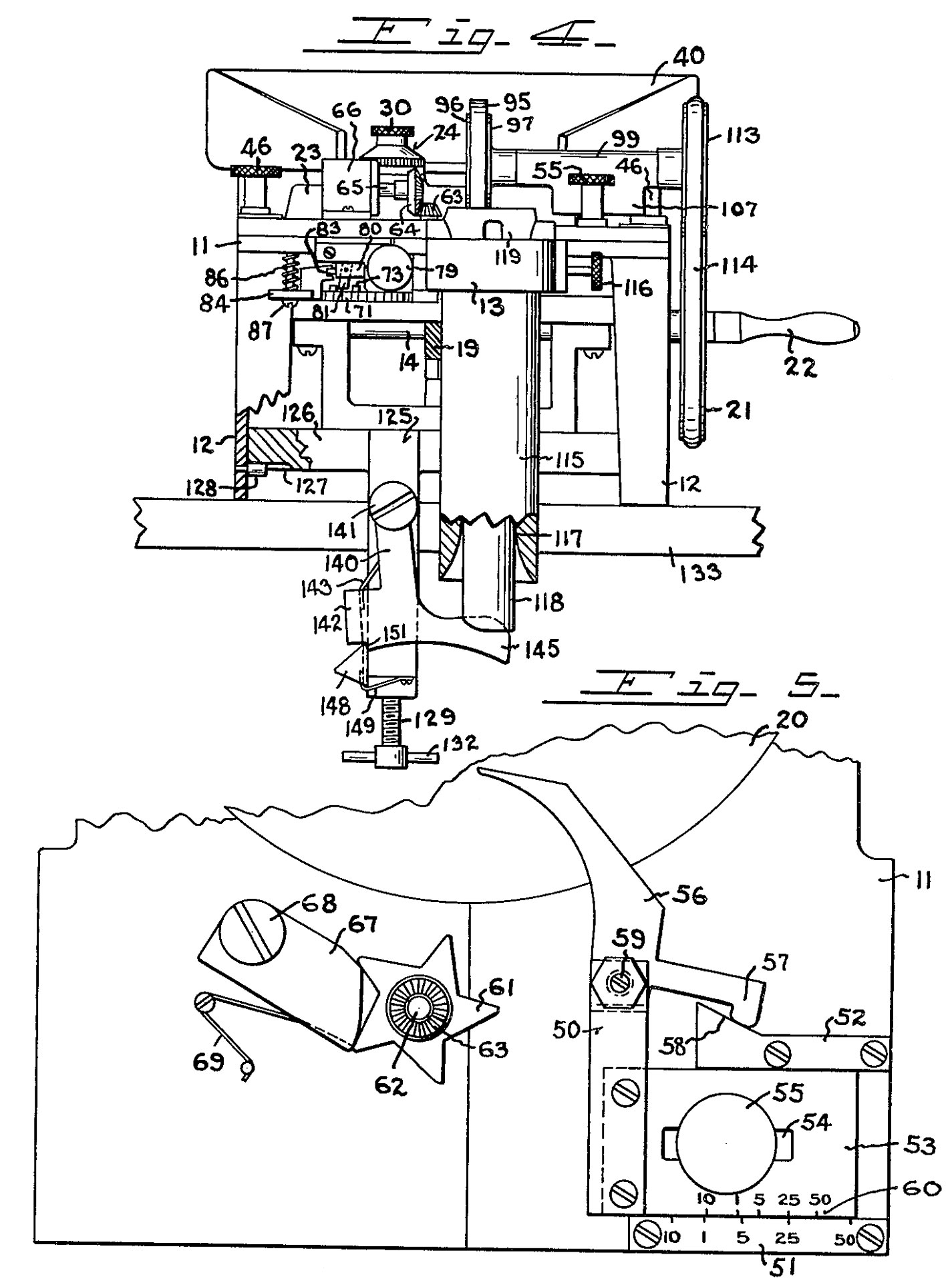
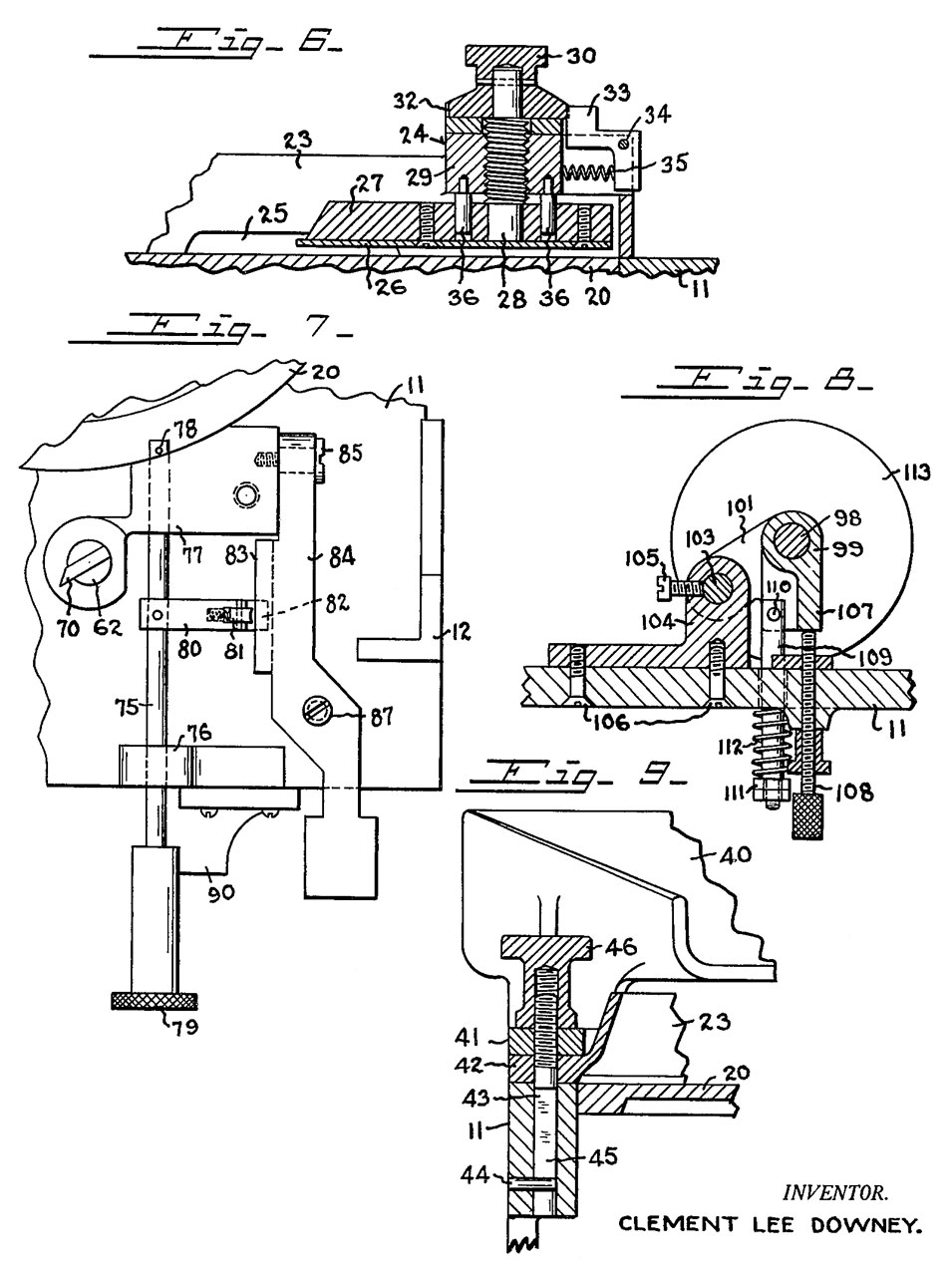
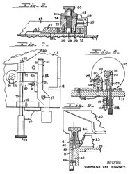
2165240 Coin counting machine, Lee Downey Clement, Filed: May 21, 1932, Pub: Jul 11, 1939, 453/31, 453/35 - hand cranked
2165241 Coin counting machine, Lee Downey Clement, Jul 11, 1939, 453/35, 235/132.00E - hand cranked

Label on eBay
Standard-Johnson Co. Inc.
Brooklyn, N.Y.
Model N 4 No. 6399
Patented:
March 23, 1909
April 23, 1912
Dec  9, 1913
Nov 1 1915
Other U.S. & Foreign patents pending.
 
726067 Coin-counting machine, Charles Wade Johnson, Apr 21, 1903, 453/57; 232/7; 235/100; 453/58 - gravity powered  falling coin zig-zag
824794 Coin-counting machine, Jay M Johnson, Charles Sulfer, Counting Machine Co. N.Y., Jul 3, 1906, 453/34; 53/284; 53/501 -
915965
Coin separator and counter, Jay M Johnson, C H Birdsall, Mar 23, 1909, 453/13; 453/34 - multiple designs all using spinning wheel
1080533 Coin-counting machine, Alfred C O Bock, John J Donnellan, James L Donnellan, Alfred C O Bock, Dec 9, 1913, 453/33 -
1096172 Coin-counting mechanism, Jay M Johnson, May 12, 1914, 235/32; 453/3 - 45 deg spinning wheel

List from label on 20-PH s/n: 12203 (mine is s/n: 22434)

D190309 Display stand for musical instruments (maybe related to leg for sorting tray?)
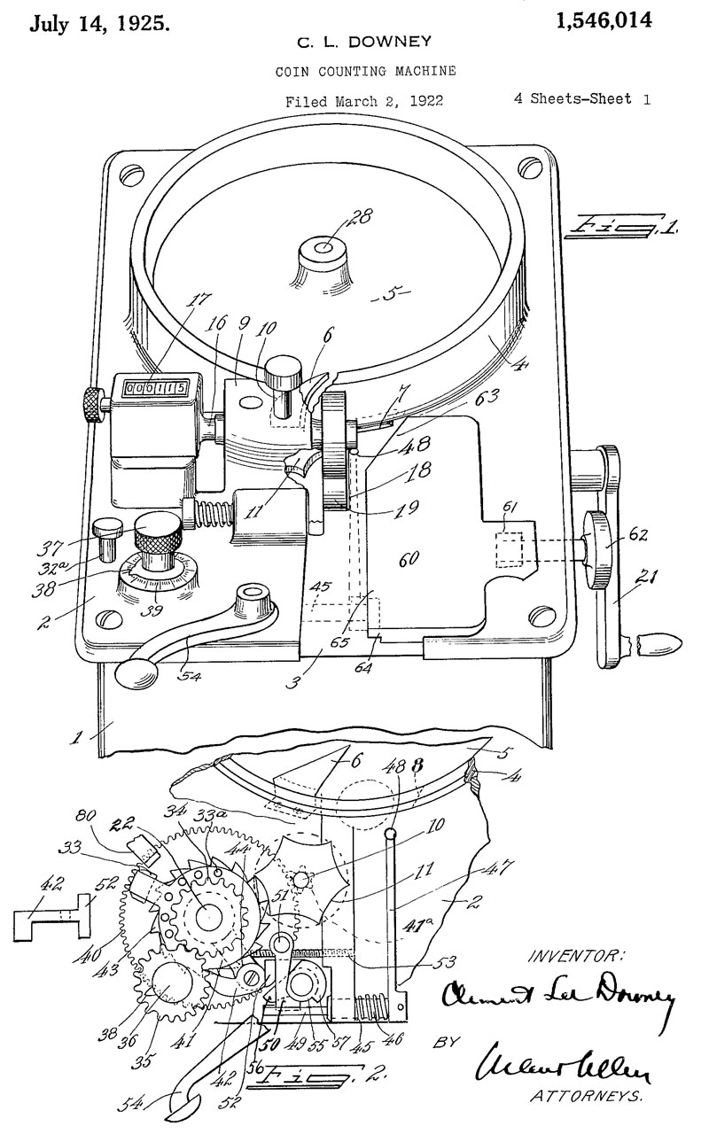
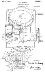
1546014 Coin-counting machine, Lee Downey Clement, Jul 14, 1925, 453/35 - star wheel at the heart of this machine.  
1546014 Coin-counting machine, Lee
                              Downey Clement, Jul 14, 1925, 453/35 -
                              heart of PH-20 coin counter

1843358 Coin-counting machine, Lee Downey Clement, Feb 2, 1932, 453/35 -  motor or hand crank
1819701
Coin counting and assorting machine, Lee Downey Clement, Aug 18, 1931, 453/8, 453/34 - motorized, disk at 45 deg. 
1710086
Stacking stem for coin-counting machines, Lee Downey Clement, Apr 23, 1929, 53/254, 453/61 - holds counted coins prior to dumping them into wrapper.  
1721377
Machine for crimping coin tubes, Lee Downey Clement, Jul 16, 1929, 53/285 -  special tooling attached to motor shaft.  Not clear the requirements: tubular wrapper?
1750578
Coin-counting machine, Lee Downey Clement, Mar 11, 1930, 453/35, 453/62 - very similar to this machine 
1546633
Coin-storage tray,  Lee Downey Clement, Jul 21, 1925,    
1491522
Coin-wrapping device, Downey Clement L, Apr 22, 1924, 53/254, 453/62 - funnel with plug at bottom that clamps on side of table.

227038 Automatic Coin-Counting Device, William C. Morison, April 27, 1880 - the oldest patent in class 453/35 - star wheel in corner -
1160830  Coin-counting machine, John J Donnellan, James L Donnellan, Alfred C O Bock, Nov 16, 1915, 453/35 - similar to PH-20
1251534 Coin inspection and counting machine, Jay M Johnson, Johnson Coin Counting Machine Company, Jan 1, 1918, 453/35, 453/57 -
1382050 Coin counting machine, Hugo J. Baur Johnson Coin Counting Machine, Jun 21, 1921, 453/35  

1410239 Coin-counting machine, Baur Hugo JJohnson Coin Counting Machine, Mar 21, 1922, 453/35, 453/57 - hand cranked
3229076 Coin counter, Gunn Harvey B, Mahoney Eugene T, Johnson Fare Box Company, Jan 11, 1966, 377/7 - electric motor and electromagnets

Fig 1
Downey-Johnson Model 20-PH Johnson Fare Box
                      Co Manual Coin Counter
Fig 2 6 digit Veeder Root Counter
Downey-Johnson Model 20-PH Johnson Fare Box
                      Co Manual Coin Counter
Fig 3 the lever at left that looks like a key is the count rest to start a new roll of coins.
Downey-Johnson Model 20-PH Johnson Fare Box
                      Co Manual Coin Counter
Fig 4 Folded w/3 coin chutes under tray/lid.
Downey-Johnson Model 20-PH Johnson Fare Box
                      Co Manual Coin Counter
Fig 5 Ring (23) with thickness micrometer
Downey-Johnson Model 20-PH Johnson Fare Box
                      Co Manual Coin Counter
Fig 6 bottom of ring,
brass sector moves up & down
Downey-Johnson Model 20-PH Johnson Fare Box
                      Co Manual Coin Counter
Fig 7 tire is old and cracked.
The small black square time at the lower right
corner of the block in front of the counter is
what's left of the lid bumper.
Downey-Johnson Model 20-PH Johnson Fare Box
                      Co Manual Coin Counter
Fig 8 Coin Tubes marked:
Major Metalfab Inc (MMF)
Will hold flat coin wrapper inside tube
because of springiness of paper.

Color
cents
ID
Flat
width
Paper
Orange
25
1.00"
1.55"
Red
5
0.81"

Green
10
0.76"


Downey-Johnson Model 20-PH Johnson Fare Box
                      Co Manual Coin Counter
Fig 9 YouTube of operation (click photo)
Downey-Johnson Model 20-PH Johnson Fare Box
                        Co Manual Coin Counter


Fig 10 Bottom plate and sheet metal removed.
Downey-Johnson Model 20-PH Johnson Fare Box
                      Co Manual Coin Counter
Fig 11 Old & New Tires
OD: 1.986"
ID: 0.977" (Drum OD: 1.000")
Thick: 0.223"
Downey-Johnson Model 20-PH Johnson Fare Box
                      Co Manual Coin Counter
Fig 12 New Tire Installed
The height was set to clear a 3x5" card (0.007")
Note counter @ 000440 or 11 rolls.
Downey-Johnson Model 20-PH Johnson Fare Box
                      Co Manual Coin Counter
Fig 13 Even though the machine is getting near 100 years old, it still works well.
Downey-Johnson
                      Model 20-PH Johnson Fare Box Co Manual Coin
                      Counter



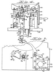
Patent 2165240
Fig 1: Plan View

2165240
                        Coin counting machine, Lee Downey Clement, Jul
                        11, 1939, 453/31, 453/35 - hand cranked
Patent 2165240
Fig 2: Section 2-2
Fig 3 Bottom View

2165240
                        Coin counting machine, Lee Downey Clement, Jul
                        11, 1939, 453/31, 453/35 - hand cranked
Patent 2165240
Fig 4: Front (missing table clamp)
Fig 5: Star Wheel + Width gauge

2165240
                        Coin counting machine, Lee Downey Clement, Jul
                        11, 1939, 453/31, 453/35 - hand cranked
Patent 2165240
Fig 6: Thickness gage
Fig 7: Push-Pull Adj.
Fig 8: Coin Feed Roller
Fig 9: Coin Ring and Tray attachment

2165240
                        Coin counting machine, Lee Downey Clement, Jul
                        11, 1939, 453/31, 453/35 - hand cranked
Patent 2165241
Fig 2: Side View
2165241
                        Coin counting machine, Lee Downey Clement, Jul
                        11, 1939, 453/31, 453/35 - hand cranked





Johnson Coin Changer

These were worn on the belt of people who accepted payments and made change while not at a cash register.  For example: drive-in car hops (Wiki).  The Brandt Automatic Cashier is an example of a fixed location coin changer.

1465409 Universal change maker, Hugo J Baur, Johnson Fare Box Company, Aug 21, 1923, 453/38, 221/207 - So far this is the first money changer that a person can carry, the prior art devices were for use at a fixed location.

The quarter tube showed some corrosion and the mechanism did not go fully back when released.  Some steel wool soaked in Brasso cleaned it up and smoothing some burrs on the slide got it going.

patent 1465409
1465409
                      Universal change maker, Hugo J Baur, Johnson Fare
                      Box Company, Aug 21, 1923, 453/38, 221/207
Fig 1 Modules:
Left Belt Hook
Dime Tube
Nickel Tube
Quarter Tube
Right Belt Hook (broken wire)
Johnson Coin
                      Changer patent 1465409
Fig 2 Quarter Tube
Slider=Down- Operate
Johnson Coin
                      Changer patent 1465409
Fig 3 Quarter Tube
Slider=Up - Locked
Johnson Coin
                      Changer patent 1465409

Coin Operated Toys, Banks &Etc.

118011 race-course toy-bank, John Hall, Aug 15, 1871, 194/262; 463/67 - 2 horses,  See Mechanical Banks.orgF.H. Griffith - HOBBIES Magazine - March, 1959
605064 Toy Savings Bank, Charles Smyth, May 31, 1898, 446/13 - X-Ray Bank, mirrors see:  F.H. Griffith - HOBBIES Magazine - April, 1961
296689 Toy Bank, H.C. Hart & J.W. Cross, Apr 8, 1884, 446/8; 472/58 - mirrors, see: F.H. Griffith - HOBBIES Magazine - September, 1956 
D21594, Toy Savings Bank, C.G. Shepard & P. Adams, May 31, 1892 D99/39; 446/11 - Artillery bank

Parking Meter

2198422 Coin controlled timing device, William N Woodruff, Seeburg Noel Marshall, Vehicular Parking,
2328043 Parking meter, William N Woodruff, Charles A Toce, Vehicular Parking, 1943-08-31
2262783 Vehicle parking meter, Charles A Toce, William N Woodruff, Broussard Robert, Vehicular Parking, 1941-11-18, -
2596123 Parking meter and coin slot therefor, Broussard Robert, Duncan Parking Meter Corp,
4216461 Code controlled microcontroller readout from coin operated machine Robert L. Werth, Timothy L. Brehm, Kasper Wire Works, 1980-08-05, 340/5.9; 194/216; 273/143R; 377/13; 377/7; 700/236 -
4369442 Code controlled microcontroller readout from coin operated machine
5109972 Coin Operated Timing Mechanism, Duncan Ind,
5139128 Chute for controlling the motion of a token moving by gravity through a token-receiving device, Duncan Parking Tech,
5244070 Dual coil coin sensing apparatus, Duncan Parking Tech,
5273151 Resonant coil coin detection apparatus, Duncan Parking Tech,
5805083 Electronic parking meter operating system, Duncan Parking Tech,
5841369 Parking meter with peripheral functions, Duncan Parking Tech,
D431788 Parking meter, Duncan Parking Tech,- built into what looks like a pipe
6230868 System for metering multiple parking spaces, Duncan Parking Tech,

Nadex Coin Changer

Got this on eBay for use in my car.  eBay title: Nadex 4 Barrel Steel Coin Dispenser Money Changer with Belt Clips
The photo shows (left to right): Quarter, Dime, Nickel, penny
There is a coin holder but it's right next to the Cigarette Lighter Socket and when any coin falls into it a fuse is blown!
See Rolls of coins above for these coin sizes:
Cents
Dia
Inch
Dia
mm
Changer
Hole
mm
1
0.750
19.05
21
5
0.835
21.2
22.5
10
0.705
17.9
19.5
25
0.955
24.3
26


Fig 1
Nadex Coin
                      Changer
Fig 2 Left to Right: Quarter, Dime, Nickel, Penny
Nadex Coin
                      Changer

Patents

Class 221: Article Dispensing
    207 with quantity preselection means \ Variation by adjustment

Class 235 Registers
    132 with control means operable on predetermined register reading (to fill paper wrapper)

Class 453: Coin Handling

    3 Asorter
        5*Largest First
    18 Deliverer
        29*Delivery of a distinct number of plural coins from a single source
            30**With Counter
                31***And means to wrap delivered coins
                34***Notched Coin Mover
                35***Star Wheel
        57*Rotary  
         

2292628 Coin selector,  Benjamin W Fry, National Slug Rejectors Inc, 1942-08-11 - zig-zag gravity based
1819701 Coin counting and assorting machine, Lee Downey Clement, Aug 18, 1931, 453/8, 453/34 - spinning wheel tipped 45 deg.
1893828 Machine for separating and counting coins, Graeme Charles G, John H Wells, Jan 10, 1933, 453/8, 453/34 - spinning wheel tipped 45 deg.

Abbott

1037405 Coin counting and packaging device, Augustus Abbott, Universal Device CompanySep 3, 1912,   
1080381 Coin-counting Machine, Herbert K Smith, Abbott Coin Counter Company, Dec 2, 1913
1406958 Coin counting and wrapping device, Augustus Abbott, Universal Device Company Feb 21, 1922, 453/59, 53/254, 453/61 -
1406959 Coin counting and wrapping device, Augustus Abbott, Universal Device Company, Feb 21, 1922, 453/29, 453/59, 53/254 -
1188494 Coin-separator, Charles Savrda, Abbott Coin Counter Company, Jun 27, 1916, 453/5 - zig-zag gravity based
2886045 Coin sorting and counting machine, Brown Norman E, Jan Dawidowicz, Abbott Coin Counter Company In, May 12, 1959, 453/5, 188/196.00B, 453/30 - spinning wheel tipped 45 deg.

Accubanker

American Coin Register Co.

1210732 Coin separator and counter, Clyde C Voglesong, American Coin Register Company, Jan 2, 1917, 235/32, 453/3, 235/22 - spinning wheel tipped 45 deg.

Brandt (History, no longer in business)

list of patents while searching for Brandt 730 bench top hand cranked Coin Counter and Packager  [the 740 is a motorized unit either bench top or free standing]

1816515 Adjustable spout, Edward J Brandt, Brandt Automatic Cashier Co, Jul 28, 1931 - coin output
1820343 Change making machine, Edward J Brandt, Brandt Automatic Cashier Co, Aug 25, 1931 - typewriter keyboard with all numbers on keys
1822560 Key for coin delivery machines, Edward J Brandt, Brandt Automatic Cashier Co, Sep 8, 1931 - as in typewriter key, not lock
1839946 Coin delivery apparatus locking means, Edward J Brandt, Brandt Automatic Cashier Co, Jan 5, 1932 - connecting coin tuybes to machine
1849318 Coin sorting machine, Carl Schwartz, Brandt Automatic Cashier Co, Mar 15, 1932 - motorized drum
1850148 Money sorting machine, Brandt Edward J, Brandt Automatic Cashier Co, Mar 22, 1932 - motorized drum slots for different size coins
1850198 Money handling machine, Edward J Brandt, Brandt Automatic Cashier Co, Mar 22, 1932 - keyboard dispenser
1850257 Change making machine, Edward J Brandt, Brandt Automatic Cashier Co, Mar 22, 1932 - 
1850258 Money handling machine, Edward J Brandt, Brandt Automatic Cashier Co, Mar 22, 1932 - swing arm output chute
1850313 Money handling machine, Edward J Brandt, Brandt Automatic Cashier Co, Mar 22, 1932 - tubes in back + keyboard
1868272 Coin delivery machine, Edward J Brandt, Brandt Automatic Cashier Co, Jul 19, 1932 - multiple coins of same value
1885582 Coin delivery chute, Edward J Brandt, Brandt Automatic Cashier Co, Nov 1, 1932 - swing arm output chute
1887989 Shotgun cartridge, Paton Pollitt George, Rule Nimmo Walter, Winder Brownsdon Henry, Ici Ltd, Nov 15, 1932
1900039 Money handling machine, Edward J Brandt, Brandt Automatic Cashier Co, Mar 7, 1933 - swing arm output chute
1901081 Money handling machine, Edward J Brandt, Brandt Automatic Cashier Co, Mar 14, 1933 - keyboard type
1917091 Money handling machine, Edward J Brandt, Brandt Automatic Cashier Co, Jul 4, 1933 - keyboard type
1932687 Coin tray, Edward J Brandt, Brandt Automatic Cashier Co, Oct 31, 1933 - 6 chutes + keyboard
1935012 Coin receiver, Brandt Edward J, Brandt Automatic Cashier Co, Nov 14, 1933 - used at the output of a coin counter or coin sorter
1944313 Money handling machine, Edward J Brandt, Brandt Automatic Cashier Co, Jan 23, 1934 - swing arm output chute + keyboard
2152952 Coin counting machine, Barganz Walter A, Brandt Edward J, Reuteler Edward G, Brandt Automatic Cashier Co, Filed: Feb 25, 1933, Pub: Apr 4, 1939, 453/35, 453/57 - very similar to the D-J.  Improved in that when the paper tube is released the counter is reset. The PH-20 has a manual tube count reset lever.
2163082 Coin delivery chute, Edward J Brandt, Brandt Automatic Cashier Co, Jun 20, 1939 - swing arm output chute
2311732 Coin delivery chute, Arnold R Buchholz, Otis E Hoffman, Brandt Automatic Cashier Co, Feb 23, 1943 -
2348936 Coin sorting and counting machine, prenger William H, Brandt Automatic Cashier Co, May 16, 1944 - motorized does dime, penny, nickel, quarter & half dollar at the same time
2378828 Coin counting machine, Barganz Walter A, Buchholz Arnold R, Brandt Automatic Cashier Co, Jun 19, 1945, 453/35 - has the look and feel of the 730
2406948 Coin Handling Machine, O.E. Hoffman et al, Brandt Automatic Cashier Co, Sept 3, 1946 - 8 keys, motorized
2635402 Coin wrapping machine , Jorgensen Jens Julius, Brandt Automatic Cashier Co, 1953-04-21 -
2642881 Coin sorter control mechanism, Buchholz Arnold R, Brandt Automatic Cashier Co, Jun 23, 1953 - notification that output container is full an needs to be emptied
2709880 Coin handling apparatus, Jorgensen Julius, Brandt Automatic Cashier Co, 1955-06-07 -  counts and packages from roll of paper
2805825 Currency counting apparatus, Buchholz Arnold R, Julius Jorgensen, Brandt Automatic Cashier Co, Sep 10, 1957 - 
2861580 Coin handling machine with adjustable passage, Arnold R Buchholz, Haban Frank, Brandt Automatic Cashier Co, Nov 25, 1958, 453/57 - 730 model can be adjusted for a specific coin.
2864385 Coin dispensing machine, Arnold R Buchholz, William H Sprenger, Brandt Automatic Cashier Co, Dec 16, 1958 - motorized keyboard type
2893406 Coin changer apparatus, Arnold R Buchholz, Haban Frank, Brandt Automatic Cashier Co, Jul 7, 1959 - keyboard esperate from coin handler  
2952348 Coin delivery chute, Arnold R Buchholz, Haban Frank, Brandt Automatic Cashier Co, Sep 13, 1960 -  
3413451 Predetermined count means for paper currency counter, Buchholz Arnold R, Johnson George V, Krause Arnold J, Brandt Automatic Cashier Co, Nov 26, 1968 - for banding   
3214096 Paper currency counter, Krause Arnold, Arnold R Buchholz, George V Johnson, Brandt Automatic Cashier Co, Oct 26, 1965 - 
4383540 Feeding mechanism for dual coin sorters operating in parallel, Roy W. De Meyer, Frederick H. Harder, Arnold R. Buchholz, Richard P. Uecker, John A. Kressin, Brandt, Inc., May 17, 1983  
4409773
Coin wrapping machine, Charles T. Bergman, Robert L. Zwieg, Brandt Inc, 1983-10-18 - 

Cummins

Glory

4058954 Coin packaging machine, Kazuto Asami, Glory Kogyo KK1977-11-22 - counts and packages using a roll of paper.
4072156 Coin sorting device,  Masahiro Abe, Glory Kogyo KK, 1978-02-07 -
4558711 Coin processing apparatus,Ikuta Yoshiaki,Takashi Tanaka, 1985-12-17, - can take in bulk coins and can also provide desired change.

Klopp

3086536 Coin sorter-counter, Klopp Mogens C, Klopp Engineering Inc, Apr 23, 1963, 453/9, 194/219, 453/32 -

Laurel

Scan Coin -

Semacon

Standard Coin Counter Inc.

1389634 Coin-counting machine, Donnellan Edward P, Standard Coin Counter Inc, Sep 6, 1921, 453/35 - Very similar to the PH-20

Standard-Johnson Co Inc

1406623 Wrapper-holding mechanism for coin-counting machines, Donnellan Edward P, Standard Johnson Co Inc, Feb 14, 1922, 453/31, 453/35 -

1468733 Counting mechanism, Edward P Donnellan, Standard Johnson Co Inc, Sep 25, 1923, 453/35 - alternate to Veeder Root counter?

Victoreen

2540063 Coin detecting and indicating apparatus, John A Victoreen, Victoreen Instr Company, Jan 30, 1951, 194/318, 235/32, 3
2600817 Method and apparatus for photoelectrically assorting, recording, or computing, John A Victoreen, Victoreen Instr Company, Filed: Dec 10, 1945, Pub: Jun 17, 1952, 235/454, 341/13, 101/93, 250/569, 235/474 - This is a high speed  optical reader for IBM punched cards, but would also work on other paper forms.  

Validation


The are a lot of counterfeit coins that look to you eye like they are real.  So looking for ways to confirm validity.  Mose of these patents are for loose coins like used in vending machines.  Maybe there will be some that work with coins in numismatist packaging?

4448297 Ferromagnetic coin validator and method, Lewis I. Mendelsohn, 1984-05-15, - has the feel of a classic metal detector.
3599711 - coin conductivity
3596744 - coin causes coupling between coils: strength determines validity
4151904 - change in frequency caused by coin

4666027 Coin validation apparatus and method for detecting stringing of coins and distinguishing valid tokens or coins from slugs, Joseph Ostroski, Lawrence M. Briski, Validation Systems, 1987-05-19, -
3285382
3998309 - "stringing"
4106610 - size
4267916 - size
4243133
4298116
4437558
4441602
5191957 Coin discrimination method, Stephen J. Hayes, Protel, 1993-03-09, - 2 coils, 1st 120 kHz; 2nd 2 MHz.
3918565
3653481
above diameter and thickness, N.G. for bent coins
4353452
4742903
4754862
above use multiple high frequency test signals
4488116 uses two coils at different frequencies
4471864 calibration techniques

5351798 Coin discrimination apparatus and method, Stephen J. Hayes, Protel, 1994-10-04  - 2 coils, 1st 120 kHz; 2nd 2 MHz.

5494145 Coin validator for testing the mass of a coin, Hans-Ulrich Cohrs, Wilfried Meyer, National Rejectors, 1996-02-27, - the mass of the coin determines how far a spring is compressed.  It's not clear why the period of spring oscillation would be different?  Maybe it's like the coin is pushing a pendulum and how far it's pushed depends on the coin mass?, but still I don't see why any difference.  Maybe the speed of the rolling coin is what's really being measured as it presses the spring?

5568854 Coin discrimination method, Stephen J. Hayes, Patrick R. Gorman, Protel, 1996-10-29, -

6799670 Coin validation, Nikola Korecki, Microsystem Controls, 2004-10-05, - "...measuring:
(i) characteristics of Sound signals generated after the coin Strikes a Surface; or
(ii) characteristics of electrical signals generated as the coin passes through an electromagnetic field. "
uses math transformation to make it easier to separate all possible coins

7025190 Coin validation by signal processing, Katharine Louise King, Crane Payment Innovations, 2006-04-11, - coin hits obstacle and piezo microphone hears the ring.  This patent calls a number of prior art coin validation patents.

9135765 Coin validation apparatus, Martin Sackfield, Matthew Strong, John Robinson, Innovative Technology, 2015-09-15, - in the form of a coin sorting machine.  uses an Argand diagram (Wiki).

Related

 Modern Monetary Theory -
Locks - Toy Metal Combination Safe - Automatic Recording Safe Co Coin Bank - Registering Bank Kingsbury Mfg. Co. -

References

1. Debunking Economics (Wiki) by Steve Keen, 2001 (my MMT page, Wiki) - aimed at the ideas of microeconomics (Wiki)
2. Zombie Economics by J. Quiggin (my MMT page) - Wiki book outline  - aimed at the ideas of macroeconomics (Wiki)
3. Modern Monetary Theory

Links

Coin Operated Collectors Association -

PRC68, Alphanumeric Index of Web pages, Contact, Products for Sale
Page Created 2017 Feb 1