Locks

© Brooke Clarke 2016 - 2026

Background
Description
    Warded
    Pin Tumbler
        Yale Cylinder
        Yale Plunger
        Yale 40 Door Lock
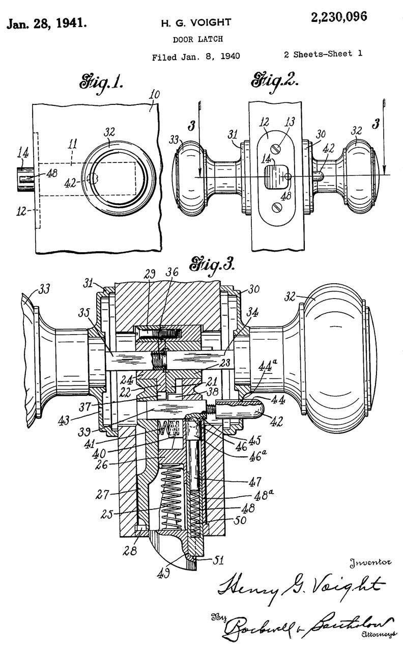
        Yale Door Latch
        Yale Door Latch 2
        Paracentric key warding
        Master Key Pin Lock
        Hines Key System
    Wafer Tumbler
    Disc Tumbler
    Bramah Lock
    Chubb detector Lock
    Tubular lock
    Squiggle-key
    Dimple
    Combination Locks
    Time Lock
    Time-delay Lock
    Mechanical Combo Locks
        Combo Attacks
        Single Number Combo
        Forbidden Numbers
        Joseph L. Hall
        Martin Briggs
    Combination Lock Photos
    Diebold 177-23
    LeFebure
    La Gard Model 3390SNZ
    S&G 6630
    S&G R6700
    S&G 8088 Padlock
    S&G 8077 Padlock
    Mosler 302-402  Group 1R
    Mosler BP-800 Group 1R
    Yale on Stand
    S&G Manipulation Proof on Stand
Group 2 & Historical Patents
    Pearl Harbor
Lever Locks
    Photos
    S&G 6880 Safe Lever Lock
    Yale 8-Lever Safe Lock
    Yale 10-Lever Safe Lock
    Guardian 03-877
    S&G 4440 Safe Deposit Box Lock
    S&G 120 Internal Safe Door Assembly
    S&G 4100 & Other PO Box Locks
    Post Office Box Doors
        Alvin
        Barney
        Art Novelty Co.
        American. P.O. Equip. Co.
        Eagle Lock Co.
        Lewis C. Thompson, Indianapolis, Indiana
        Keyless Lock Co. (Morris Lock Company, L.B. Williams Lock Co.)
            2 Dial Vertical
            Single Dial 3 Number
            2 Dial Side-by-Side
        Miller Lock Co.
        W.J. Neidl
        Corbin
        Yale
        PO Box Dial to Key Conversion
        USPS Cluster Box Units
            Yale PO Box Lock
    Diebold 17590 SD Box
    Diebold 17570-B Safe Deposit Box Lock
    Eagle Lock Co. 4-Lever Cabinet Lock
    Mosler 5700 PO Box Lock
    S&G 4500 Safe Deposit Box Lock & Door
    S&G 120 Internal Safe Door Assembly
    Hall 1863
Dead Bolt Locks - SCIF
    S&G 8470
Combination Lock Stands
   
Yale Cast Aluminum Stand
    S&G 8400 on Stand
 
    Field Expedient Lock Stand
    Prototype Display/Practice Combination Lock Stand
Mechanical Combo Lock Manipulators
     Drilling
Electronic Combination
    Fed Spec FF-L-2740A
        Kaba Mas X-07
Padlocks
    Characteristics
    S&G 8088 Padlock
    S&G 8077 Padlock
    Master 1500iD
    Master 1500eXD Padlock
    S&G Environmental Padlock
    S&G High Security Padlock
        826
        831
        833
        951
    American Lock 
    Seal Lock
        Slaymaker Bureau of Industrial Alcohol (B.I.A.) Seal Padlock
        Clarke Combination Seal Lock Co. Baltimore, M.D.
    Counter Padlock (registered mail)
    Lever Pancake Padlock
    Smith & Egge Mfg Co.
    Yale Padlocks, 854, 805, 805F, 633, 9425B, 324, 326, 1625, 1625h, 1625 Exploded, No 39 Railroad
    Keline
   
Railroad
    
Norwegian or Scandinavian Padlocks
        Slaymaker
         Segal
        Miller
        Fraim
    Abloy
    Chubb
    Belfry
    TSA & Luggage
   
Adlake
    Corbin (fake Gorbin)
    Slaymaker
    O.M. Edwards Co.
    Valiant
    Miller
    Pye
    Mallory, Wheeler & Co. New Haven, Conn.
    Eagle Lock Co
    Wilson Bohannan
    Abus
    Made in India
    Hanayama Puzzle
    Japanese Puzzle Box
    Sterling Gas Pump Lock
    Clarke Combination
Door Locks
    Rim
        Bradford
        Corbin
        Yale 40
        Yale Latch
        Yale Latch 2
        Yale Latch 3
    Mortise
        Russell and Erwin
    Unit
        Corbin Russwin Unit Lock
    Cylindrical
    Tubular
    Store Front
    RFID
    Coin Bathroom Stall
    Dead Latch
Picks & Locksmith Tools
    Lishi
    Classic Tools
Containers (safe,Vault & file cabinet)
    Book Safe
    Digital Safe
    Toy Metal Safe
    Cash Box
    Steelmaster (MMF) Locking Steel Bond Box
    Automatic Recording Safe Co Coin Bank
    Registering Bank Kingsbury Mfg. Co.
     Add-o-Bank
    Toy Bank
    Safe Box
    Hermann Safe Co.
    Commercial Safes
Keys
    Impressioning
    Transponder
         Mercedees Benz 2003 Car Key
        Smart
        Cutting Machines
        Photos & Classification
        Hollow Barrel Keys, Table
        Flat Keys
        Barrel Keys
        Solid Skeleton Keys
    Cutting Keys
Key Assemblies
    Key-In-Knob
    Key-In-Knob Patents
    Small Format Interchangeable Core (SFIC)   
    Large Format Interchangeable Core (LFIC)
    Rim Cylinder
    Interchangeable Core Patents
    Mul-T-Lock Patents
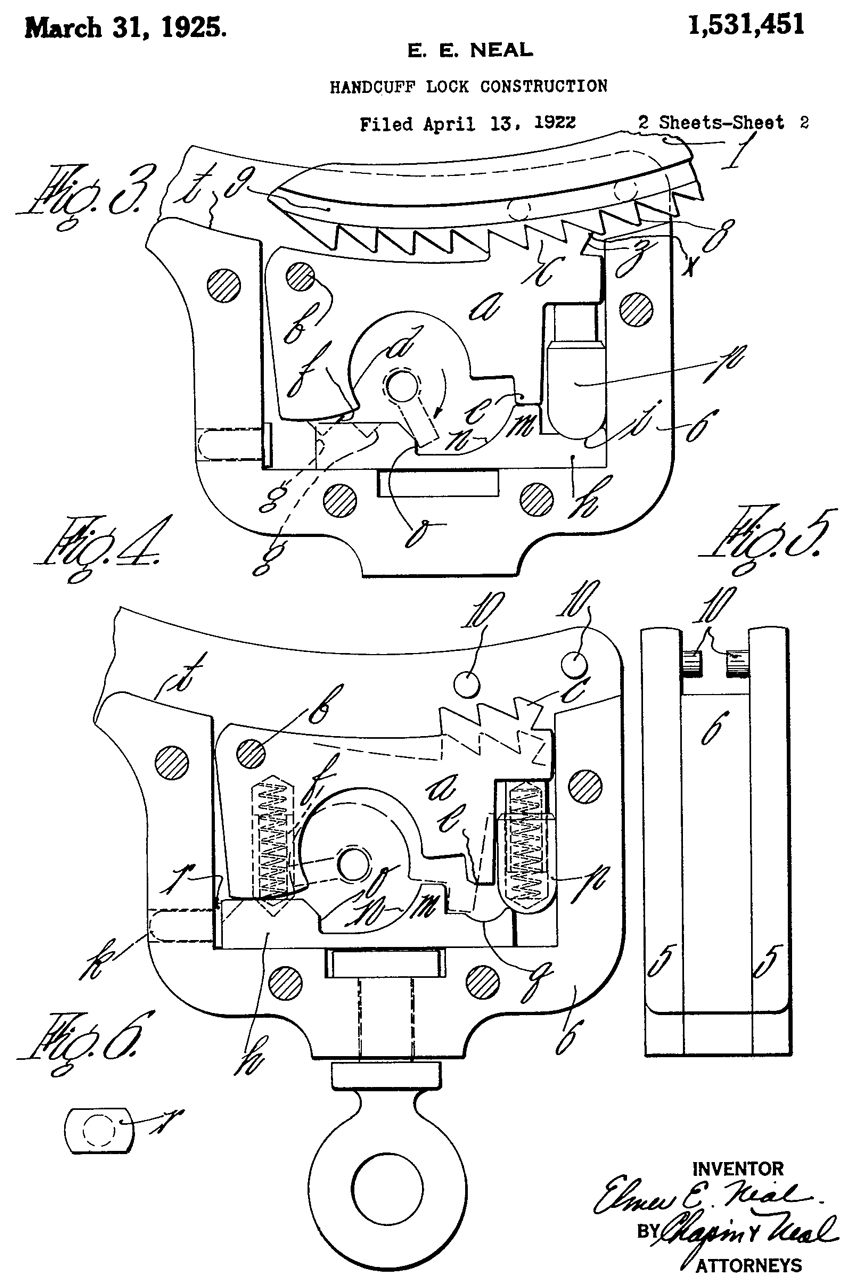
Handcuffs
Missile Launch Decoder
Military Vehicle Locks
Prison Locks
References
Related
Patents
Links

Background 

Locks have a strong relationship to Cryptography.  I also have web pages about crypto machines and crypto patents.  In both cryptography and locks there is a constant contest between those who are trying to protect something and those who are trying to defeat the protection.  Some people promote the idea of "security through obscurity" (Wiki) both in cryptography and locks but it's not a good idea.

Many years ago I got the book "Surley you're joking, Mr. Feynman!" (Wiki, Amazon) because it has information on combination locks.  I highly recommend this book.

Started this web page after watching some Defcon videos, see References below.

Description

There's a saying about knots something like "A good knot is easy to tie, serves a specific purpose and is easy to untie".  A lock works in a similar way.  That's to say a good lock is easy (and as inexpensive as possible) to use, serves it's purpose and is easy to unlock.  Locks that fail to meet all these requirements will not be successful. - Brooke

There are various types of locks (Wiki) Lock Picking (Wiki), Snap gun (Wiki), Bumping (Wiki), Locksport (Wiki),

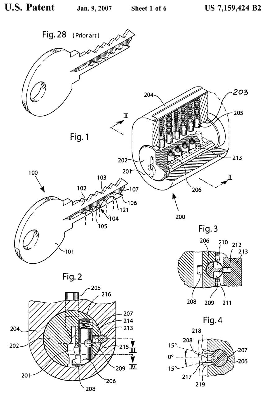
Warded (Wiki)

Very old locks work this way.  The idea is to have a part of the key that gets blocked by the lock mechanism. Typically any key that fits the lock can be made to work all similar locks by removing material from the key.  Very poor security.

Warding is also used in combination with the other types of keys shown below.  This is done by the shape of the key opening and the cross sectional shape of the keyway.  So there can be many locks that have the same pin tumbler coding but require different keys.  This is usually done by manufacturer, i.e. a Schlage key (Wiki) has a different cross section than a Kwikset key, &Etc.

3630 Door Lock, Lrnus Yale, Jun 13, 1844 - 

Pin Tumbler (Wiki)

In the U.S. most house and pad locks are of the pin tumbler type.  Most of these can be picked, see YouTube: Bosnia Bill -

Yale Cylinder

The threads may be 1-5/32-32.  Cam in within threads when locked and key can be removed (Fig 1 & 2) .  When unlocked (Fig 3 & 4) ket is captured.  Is the cam installed backward? Let me know.

Fig 1 Yale Cylinder
Yale Pin
                        Tumbler Cylinder Lock
Fig 2 Yale Cylinder
Yale Pin
                        Tumbler Cylinder Lock
Fig 3 Yale Cylinder
Yale Pin
                        Tumbler Cylinder Lock
Fig 4 Yale Cylinder
Yale Pin
                        Tumbler Cylinder Lock
                                                                                                                                                                                                                                                                                                                                                                                                                                                                                                                                                                                                                                                                     

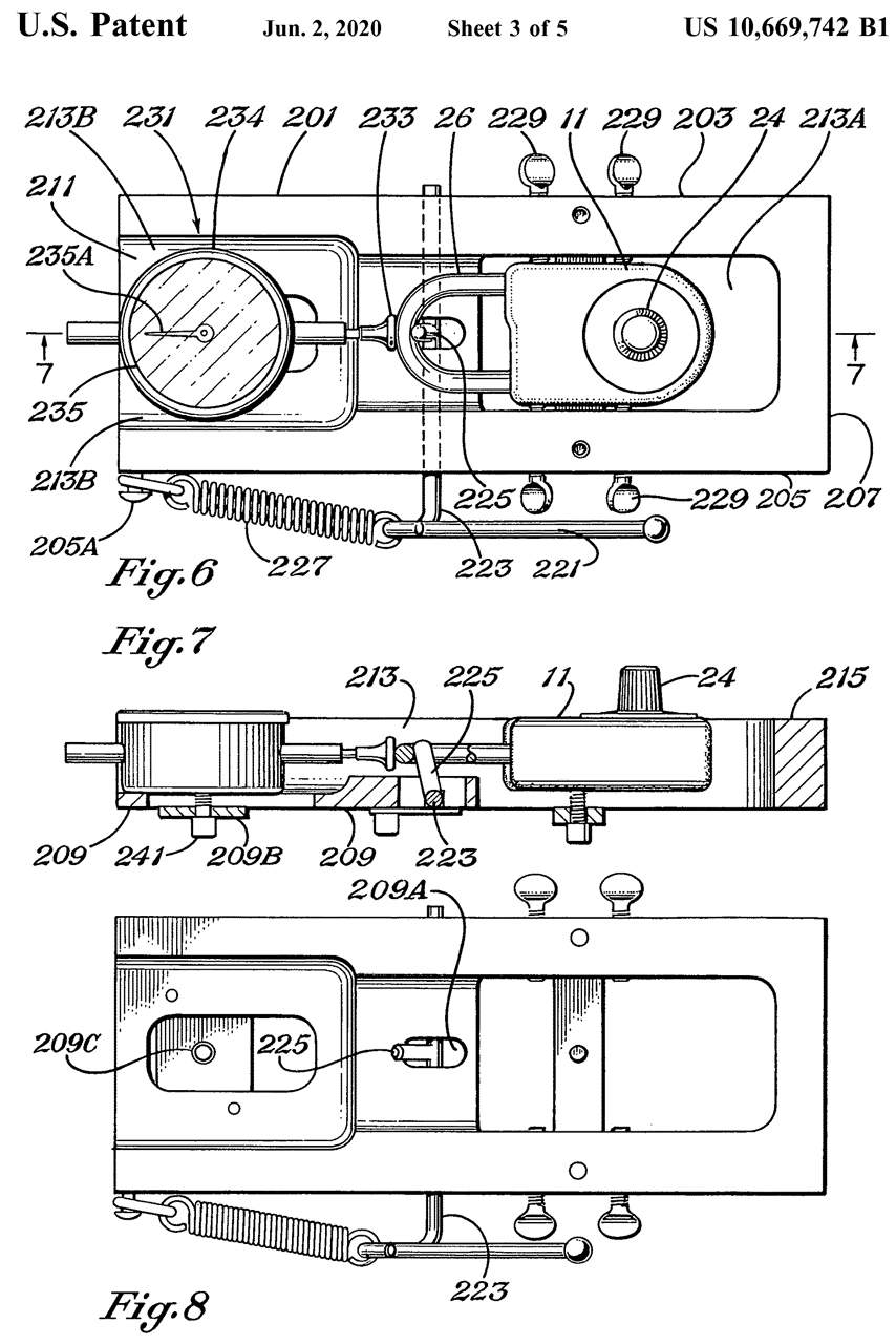
Yale Plunger

Not sure of how this is used.  Let me know.  maybe for a retail store sliding door on the back of a showcase?
When locked plunger is extended and key can be removed.  When unlocked plunger retraced and key captured.  Is it just an artifact that there is a keyway in the plunger?  It would seem to weaken the plunger.
Plunger: 1/2" dia x 1/2" high
Body: 1.093" dia x 1-1/4" high
Key: 5 pins

2091199 Lock, Fraim Samuel R, Aug 24, 1937, 70/90, 70/492, 70/379.00R - window sash plunger lock

Fig 1
Yale
                        Pin Tumbler Plunger Lock
Fig 2
Yale
                        Pin Tumbler Plunger Lock
Fig 3
Yale
                        Pin Tumbler Plunger Lock


Paracentric key warding

The first pin tumbler keys were simple flat keys, see 208863 (above).  There are two problems with them:
1. There is no mechanical control of the key position, you can wiggle the key up or down and it will not work.  It needs to be placed correctly to function.  This also means that when some keys that are not properly cut are in the keyway and are wiggled up  and down they may open the lock.
2. picking tools, like are used now (see picks below) can easily be inserted into the keyway, making picking pretty easy.
Still true today for most keyway warding patterns.  My guess is that it's expensive to broach a highly paracentric keyway (see patent 487701 below) so they are not that common.

See Fig 1
457753 Lock, .H. Taylor, Yale
                                  & Towne Mfg Co., Aug 11, 1891
456917 Lock, W.H. Taylor, THE YALE and TOWNE MANUFACTURING COMPANY, Jul 28, 1891, - Warded key, not flat, aka Paracentric key warding (Wiki)
, 70/378; 70/375 - anti picking tools and a discussion of the paracentric principle.
            Calls and talks about:
            192020 : RE9787 Hub for Locks, J. Schade, Yale Lock Co. July 5 1881, 70/375; 70/453 -
            208863 (above)
            234213 Lock Cylinder, W.H. Taylor, Nov 9, 1880, 70/375; 70/453 -
            234630 Lock Cylinder, W.H. Taylor, Nov 16, 1880, 70/375; 70/DIG.61 -         
            208863 Lock, W.H. Taylor, Oct 8, 1878, 70/407 -
            234002 Lock and Key, C.C. Dickerman, Nov 2, 1880, 70/407; 70/453 -                
            but should also mention 456917
YouTube: Lock Picking Lawyer: How To Pick Locks With Paracentric Keyways - shape, not thickness is the "key" thing.
487701 Tool for Forming Key Slots, W.H. Taylor, THE YALE a TOWNE MANUFACTURING COMPANY, Dec 6, 1892, - broach


1384022 Lock, Best Frank Ellison, Jul 5, 1921, 70/340; 70/367; 70/373; 70/375; 70/378; 70/451; 70/493; 70/DIG.59 - Mortise Cylinder lock with removable/interchangeable core.

Master Key Pin Lock

Prior to this invention there was a rather small limit to the number of different flat keys that could be used with pin tumbler locks.  To increase the number of keys the keyhole in front of the pin tumblers can be warded so that the cross sectional shape of the key needs to fit the keyhole.  This patent goes further in that the warding supports master keying on 6 levels.

Note that warding adds no security.  For example if you have a set of all possible pin tumbler keys on the master key blank you can open all the locks in that system.
67305
                                Master Key Pin Lock, William F. Donovan,
                                Yale & Towne Mfg Co., Sept 8, 1896,
                                70/340; 70/420 -
567305 Master Key Pin Lock, William F. Donovan, Yale & Towne Mfg Co., Sept 8, 1896, 70/340; 70/420 -



Hines Key System

Learned about this from YouTube, LockPickingLawyer: [1181] A TRAP For Pickers! The Clever Hines Key System Picked -

Searching for related patents:
1777725 Cylinder lock, Hines John, Segal Lock & Hardware Co, 1930-10-07, 70/370 - cylinder is harder to remove from housing
1833994 Lock, Hines John, Segal Lock & Hardware Co, 1931-12-01, 70/486; 70/156; 70/106; 292/DIG.41 - knob on each plus cylinder.
1922043 Lock, Hines John, Segal Lock & Hardware Co, 1933-08-15, 292/138; 292/140; 292/139 - Jimmy-Proof bolt
2379437 Laminated padlock, Hines John, Segal Louis, NORWALK LOCK Co, 1945-07-03, -  Master lock type padlock
3130573 Pin-tumbler lock, Hines John, New England Lock and Hardware Co, 1964-04-28 - a ball bearing on the shear line prevents drilling
3349588
                        Cylinder locks, Hines John, New England Lock and
                        Hardware Co, 1967-10-31

Hines Key System

3349588 Cylinder locks, Hines John, New England Lock and Hardware Co, 1967-10-31, 70/493; 70/378; 70/375; 70/421 -
"An object of the invention is to provide pin-tumbler cylinder locks with means making it more difficult to succeed in unlocking them by picking.

Another object of the invention is to provide means, out of reach of a picking tool, for re-engaging the cylinder and plug after the lock has been picked.

Another object of the invention is to provide means which will prevent the re-engaging means from operating when the proper key is inserted in the key slot.

I would not use this because if someone tries to pick it and the cylinder locks up there's no non destructive way to open it.  So probably only used is very specialized applications.


Wafer Tumbler (Wiki)

Uses washer shaped parts to act in a similar way to the pins in the above design.  The wafers move up and down like pins, not in rotation like a combination lock.Usually found in low cost locks in file cabinets, cam locks or vehicle doors and ignition switches.  Some of the wafers only move in one direction (the key is asymmetrical <teeth on only one edge. and can only be installed one way) or move both ways  (the key has teeth on both edges.).
YouTube: Bosnia Bill: Beating Wafer Locks (for Beginners) - How to Pick the American H10 Double Wafer (double sided) -

the Detex Watchman's clocks has a wafer lock to keep the watchman from getting inside so they typically come locked w/o that key.
99013 Lock, S. Shepahdson, Threaded cylinder, 18 Jan 1870, sort of a wafer tumbler style, Yale "plate key".

Disc Tumbler (Wiki)

The term disc tumbler is commonly used when wafer tumblers are what is meant, so be alert to this misuse of the term "disc tumbler".
The disks act in a way very similar to the wheels in a combination lock and need to be turned the correct amount to align the notches at the edge of the wheel so a side bar can fall and open the bolt.  These offer fairly high security.  Commonly called Abloy type locks.

Examples are the S&G Environmental padlock or the Abloy padlock.
Abloy Padlocks - come in grades 6 (highest security) to grade 2 (lowest security) (they don't make grade 1 padlocks) - YouTube channel, some models postmay be susceptible to punching - Exploiting Abloy's Design Defect


Fig 1 Disc Cam Lock (eBay <$10, motif2014)
Disk Cam
                        Lock
Fig 1 Abloy Sentry PL321/50B-KA 35GP52 Padlock
Abloy Sentry PL321/50B-KA 35GP52 Padlock
Fig 1 Abloy Sentry
Abloy Sentry PL321/50B-KA 35GP52 Padlock
Fig 1 LaGard 2200 - High Security Key Lock
         UL 768 Group 2, 4 disks
LaGard
                        2200 High Security Disk Key Lock
Fig 2 Note key change hole at upper right.
Used with a zero bitted key
LaGard
                        2200 High Security Disk Key Lock

Fig 3 relocker activates if punched
LaGard
                        2200 High Security Disk Key Lock
Padlock
Abloy
                        Padlock
Padlock
Abloy
                        Padlock
Padlock
Abloy
                        Padlock

Lock Wiki: LaGard 2200, 2240, 2270 -

Disk Tumbler Patents



9497 Safety-Lock, Linus Yale, Dec 21, 1852, 70/354; 70/419 - not sure if disk tumbler or something else, like a lever lock, but with offset cylinders instead of levers.
1514318
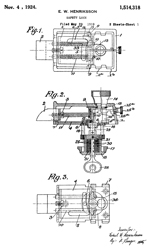
                        Safety lock, Henriksson Emil Wilhelm, App:
                        1919-05-29, Pub: 1924-11-04
1514318
                        Safety lock, Henriksson Emil Wilhelm, App:
                        1919-05-29, Pub: 1924-11-04 1514318 Safety lock, Henriksson Emil Wilhelm, App: 1919-05-29, Pub: 1924-11-04, 70/143; 70/151A; 70/DIG.28; 70/366; 70/409-

Abloy - History -

LockWiki: Abloy Disklock / Disklock Pro -


2217047 Lock, Fitz Gerald John W, Briggs & Stratton Corp, Oct 8, 1940 - rotating disk lock


3789638 Rotary disc tumbler lock construction, Cohn R, Roberts M, Ward J, Locking Syst Inc, Feb 5, 1974 -


4127996 Key profile system, Henrikki Malminen, Kaarlo Martikainen, Oy Wartsila Ab, Dec 5, 1978 - assigned to Abloy 1990


4351172 Cylinder lock mechanism, Kaarlo Martikainen, Oy Wartisila Ab, Sep 28, 1982 - assigned to Abloy 1990


4686843 Cylinderlock-key-combination, Kaarlo Martikainen, Kyosti Nevalainen, Oy Wartsila Ab, Aug 18, 1987 - assigned to Abloy 1990


5490405 Cylinder lock--key--combination, Seija Ramo, Kyosti Nevalainen, Pekka Vehvilainen, Abloy Security Ltd Oy, Feb 13, 1996


6799447 Cylinder lock-key-combination, Pekka Mielonen, Seppo Kiiski, Abloy Oy, Oct 5, 2004 -


8485006 Disc tumbler cylinder lock and key combination, Seppo Kiiski, Abloy Oy, Jul 16, 2013 - Protec2 system with ball bearing in key to only allow turning the key when it's all the way in.

Bramah Lock (Wiki) & 

Locks invented in the UK  and thought secure for many decades, but were picked in 1851 by Hobbs (Wiki).
YouTube: Hobbs and His Locks: The Great Lock Controversy of 1851 -
National Insecurity - article about the Crystal Place Exhibition of 1851 and lock-picking of Bramah Challenge lock by the American Hobbs.
Construction of Locks and Safes by A.C. Hobbs was reprinted in 1970 (on order April 5 2017)
The Bramah lock uses a cylindrical key and what amounts to lever wafers.  A precursor to the modern tubular lock (Wiki).
4196606 Bramah locks is a modern patent based on the Bramah idea and aimed at high security applications
The modern Bramah lock keys have slots cut into a tubular body and so are susceptible to accumulating dirt and lint in the slots, thi smar or may not be a problem?

This appears to be a cabinet lock with the lid part with two pins that stick into the lock body.  In Fig 2 below when the steel bolt is moved to the right by the cylindrical pin on the center of the lock the lid part is released.  The steel bolt dogs that hold the lid part are beveled so that the when the lid closes the spring allows the bolt to move to the right and capture the lid part.

The cylindrical part of the key should be about 0.200" O.D. with a hole of about 0.100" I.D.

This lock may be over 100 years old and the inside is very dirty (see Fig 3 below).  There is a potential problem of jamming if it gets too dirty.

Looking for original patent.
GB Jan 18, 1784 Joseph Bramah
GB May 3, 1798
Joseph Bramah

Fig 1
Bramah
                        Lock
Fig 2
Bramah
                        Lock
Fig 3 What look like wires are in fact flat levers.  There is a two part split steel disk that captures the center lock bods.
Bramah
                        Lock


Chubb detector Lever Lock (Wiki)

Chubb invented a lever lock that was commonly used to lock doors.  They also made padlocks and safes.

Patents

Feb 3, 1818 Jeremiah Chubb
June 15, 1824 Chubb, Charles, Portsea
May 17, 1828 Chubb, Charles, London
Dec 20, 1833 Chubb, Charles, London: and Hunter, E., Wolverhampton
Dec 14, 1846 Chubb, John, St. Paul's Churchyard
Jan 11, 1847 Chubb, John, and Hunter, Ebenezer, sen. , St Paul's Churchyard

Chubb web page 29 - mentioned  "...Patent No. 11,523 dated 11th January 1847. This was the fourth development on the original design patented in 1818."

Fig 1 Outside face with keyhole
Chubb detector Lever Lock
Fig 2 Inside face with keyhole
Chubb detector Lever Lock
Fig 3 Keys have front to back symmetry
Chubb detector Lever Lock
Fig 4 Inside
Chubb detector Lever Lock
Fig 5 Missing curtain disk on rear wall, like the one sitting on cover in Fig 4?
Chubb detector Lever Lock


Tubular lock

These are very similar to the Bramah lock except instead of using lever wafers like the Bramah lock, the modern tubular lock uses pin tumblers.  They became infamous when the Kryptonite bicycle lock (Wiki) could be opened with the plastic barrel of a Bic pen.  It turns out that tubular locks have an inherent weakness in that if made incorrectly (cheaply) they are susceptible to self impressioning. 

Squiggle-key Internal cut key (Wiki)


Electrical Products Co. Detroit
Used on the Mills Vest Pocket Trade Stimulator (Slot Machine) coin box.
2155734 Lock Tumbler, Phillip W. Olson, Automatic Instrument Co., Apr 25, 1939, 70/358, 70/492, 70/406 -

2155734 Lock Tumbler
2155734
                        Lock Tumbler, Phillip W. Olson, Automatic
                        Instrument Co., Apr 25, 1939, 70/358, 70/492,
                        70/406 -
Fig 1
Internal cut
                      key squiggle-key groove Electrical Products Co.
Fig 2 "Patented"
Internal cut
                      key squiggle-key groove Electrical Products Co.

Have a squiggle-key groove on the flat face of the key.  Used on some Rock-Ola jukebox cabinets.
179887 Locks for Doors &c., H.L. Arnold, Jul 18, 1876, 70/366; 70/403; 70/409 -
1328074 Key Lock, Edward O Bennett (Oakland), Hepburn Ruhl (San Francisco), Jan 13, 1920, 70/492, 70/358, 70/DIG.610, 70/375, 70/409, 70/408 - independent of springs & gravity - referenced by 13 patents
1456584 Key lock, Dillwyn M Bell, May 29, 1923, 70/340, 70/409, 70/360, 70/405, 70/358, 70/492, 70/DIG.370 - master key (slot not depression?) very different from individual key
2023207 [RE20865] Lock key, Olson Phillip W,Automatic Instr Company, Dec 3, 1935, 70/406, 70/409, 70/492 - referenced by 19 other patents (Apr 2017)
2035181 Lock,
Molinare Anthony W, Dudley Lock Corp, Mar 24, 1936, 70/358; 70/375; 70/377; 70/401; 70/407; 70/409; 70/492 - wafers
2155734 Lock tumbler, Olson Phillip W,Automatic Instr Company, Apr 25, 1939, 70/358, 70/492, 70/406 - referenced by 22 other patents (Apr 2017)
3035433 Lock mechanism, Frank J Testa, Eagle Lock Corp, May 22, 1962, 70/495; 70/409; 70/419 -
 
70/336 Key,   70/387 push/pull operation, 70/393 push/pull operation keys

Dimple Lock

913942 Lock, J.W. Bodge, Mar 2, 1909, 70/493; 70/358; 70/375; 70/378; 70/386; 70/403; 70/405; 70/406; 70/409; 70/421; 70/DIG.62 -
Also See Mul-T-Lock.

Combination Lock

Combination Lock (Wiki), Safe-Cracking (Wiki), Password Guessing (Wiki), Safe (Wiki), UL 768 (Lock Wiki)


Group
Attacker
Time
hours
Dial
Tolerance
Examples
1
Skilled
20
+/- 0.5
S&G 2937, 6435
1R
Skilled w/X-Ray
20 +/- 0.5 S&G 8430, 8560
2M
Skilled 2
+/- 1.25 S&G 6630
2
Semi-skilled 2 +/- 1.25 S&G 6730

UL Group 2: moderate resistance to unauthorized opening -
UL Group 1: High degree of resistance to unauthorized opening -
UL Group 1R: High degree of resistance to unauthorized opening including X-ray (but probably not neutron imaging (See References Safe Cracking w/o a Trace).

US Patent class 70/304 are early Permutation locks where there were often multiple dials.

32330 Combination Lock, Linus Yale Jr., May 14, 1861, 70/305; 70/326; 70/DIG.33 - requires many many turns of a crank at different levels, one for each tumbler, to set the combination by counting turns.
32331 Lock, , Linus Yale Jr.,May 14, 1861,  70/352 - lever lock vault door
51973 Permutation Lock, James Sargent and H.W. Covert,
57574 Permutation Lock, James Sargent, Aug 28, 1866, 70/329; 70/303A -
        RE4696 Jan 2, 1872, 70/322
157258 Permutation-padlocks, J.M. Willbur, Nov 24, 1874, - cylinder with 6 disks marked with numbers and letters. gong/bell rings when disks moved.
165370 Lock for safe and vault doors, J. Sargent, July 6, 1875, - an improvement upon the combined time, or chronometer lock and combination, permutation, or key lock - provide for the setting of the chronometer or time lock automatically by the act of locking the combination, permutation, or key lock, thus rendering the setting of the chronometer or time lock an absolute certainty upon lock ing the safe, vault, or other door.
200070 Improvement in tumblers for permutation-locks, J. Loch, Feb 5, 1878 - Easy combination change
821548
                        Permutation-lock, William Streeter, Edward
                        Wallis, (sold to S&G), 1906-05-22
821548 Permutation-lock, William Streeter, Edward Wallis, (sold to S&G), 1906-05-22, -

2575674 Permutation lock, Harry C Miller,  Filed: Mar 26, 1949, Pub: Nov 20, 1951, 70/284, 70/323, 70/303.00A, 70/333.00R -
                 "The primary object of the present invention is to provide a combination lock in which a manipulation of the dial will not give any indication of the position of the gates in any of the tumblers".  Model: 8400?
2807954 Combination lock, Miller Harry C, Filed: Jul 6, 1954 Pub: Oct 1, 1957, 70/333.00R, 70/303.00R, 70/323 - "Another object of the present invention is the provision of a novel combination lock of the type having means preventing engagement of the fence with the tumblers during rotation of the tumblers,"
3237435 Tumbler wheels for combination locks, Paul George D, Sargent & Greenleaf, Mar 1, 1966, - plastic tumblers X-Ray proof (but not neuron proof)
After the Mas-Hamilton Soft-Drill (Way Back Machine: photos, software, Review), the inventors worked on mechanical improvements to the The S&G 6730 or the LaGard 3330 to made them resistant to the Soft-Drill.  Things like adding a magnet that would be sensitive to the mounting magnets used on the Soft-Drill, but they eventually developed an electronic lock, the XO-7.

Time Lock (Wiki),
"Time locks were originally created to prevent criminals from kidnapping and torturing the person(s) who knows the combination, and then using the extracted information to later burgle the safe or vault, or to stop entry by authorized staff at unauthorized times."  For that function they work OK, but for times when you need a safe opened on a Sunday, like 7 Dec 1941 (Wiki), they present a big problem.

1205147 Time Lock, Edgar M Benham, Nydia Lock Co, 1916-11-21, 70/272 - three countdown timers in case
1206803 Auxiliary Motor for Time Locks, Edgar M Benham, Nydia Lock Co, 1916-12-05, 70/273 - the clock mainspring is too weak after a long delay so an auxiliary spring is needed to throw the bolt. (used in 1205803 see Mosler 2095429)
146832 [RE7104], [RE8035], [RE8550] Time-Lock, S.A. Little, Yale Lock Co., Jan 21, 1879,
70/273 - List of Patent Trials
665374 Time-lock,
Herbert C Stockwell, Yale & Towne Mfg Co, Jan 1, 1901, 70/273 -
686867 Locking device for safe-doors, 
Herbert C Stockwell, Nov 19, 1901, 70/272; 292/207; 292/231
833094 Time-lock, Herbert C Stockwell, 1906-10-09, - single unit that can be removed easily for swap or repair
991629 Time-lock for safes and vaults, Charles A Miller, Yale and Towne, 1911-05-09, - in addition to the 3-up time lock there's an additional hourly lock
1043531 Time-movement, Charles A Miller, Yale and Towne, 1912-11-05, - extra support for shafts
1164378 Time-lock, Charles A Miller, Yale and Towne, 1915-12-14, - fully automatic 7-day with skip Sunday
1283255 Time-lock movement, Charles A Miller, Yale and Towne,1918-10-29, - easy adjustment of balance wheel without disassembly.
1858964 Time lock mechanism,  Charles A Miller, Yale and Towne,1932-05-17, - Time delay, not a clock, but done by a simple modification to a classical time lock. "Bankers usually keep their reserve currency in a chest protected by a combination lock, but it is common for the yeggs to force the cashier to unlock this chest which often contains a considerable amount of money."
2095429 Time lock mechanism, William T Benham, Mosler Lock Co, 1937-10-12, 70/269 - time delay adjustable up to 72 hours (3 days)
Time-delay Combination Lock (Wiki)
"Unlike the time lock, which unlocks at a preset time (as in the case of a bank vault), time-delay locks operate each time the safe is unlocked, but the operator must wait for the set delay period to elapse before the lock can be opened. Time delay safes are most commonly used in businesses with high cash transactions."

Photos

Fig 1 Unknown make & Model
Delay of 15, 20, 25 or 30 minutes set by screw position.
There are two independent escapements and drive trains including
separate mainsprings for redundancy.   This is the same size as a
Group 2 lock bock and piggybacks onto it with a coupling between
the wheel at the top of the left unit and the drive cam on the combo
lock.  Wound as part of dialing the second number.
See: Mosler 3702551

Time-delay Combination Lock Clockwork
S&G Time Delay
S&G Time Delay Combination Lock
S&G Time Delay
S&G Time Delay Combination Lock

S&G Time Delay
S&G Time Delay Combination Lock
S&G Time Delay
14424
Unadjustrd Twenty Four (24) Jewels
Made in Switzerland  for
Herman D. Steel Company
Philadelphia,  Pa,  U.S.A.
S&G Time Delay Combination Lock
223933 Time-lock-unlocking attachment, S. M. Lillie, 1880-01-27, -
1078425 Lock, A. S. Franks, 1913-11-11, - magnetic coupling from external clock to mechanism inside door
1147905 Time-lock attachment, Herbert C Stockwell, 1915-07-27, - "...commences to run at the time the first step is taken toward unlocking the safe,"
1680321 Time-clock indicator, Crawford Franklin E, Bankers Electric Protective As Aug 14, 1928,  70/273, 340/870.16, 70/432 - adjustable delay up to 73 hours, single escapement

Mechanical Combination

Group Numbers

Group 1 are the best, like the S&G 2937, 6435,
Group 2 are still good, like the S&G 6730,

There seems to be two ways to change the combination on these UL 768 Group 2 combination locks which is clear from the location of the change key hole on the back cover.
The S&G method requires using a "change key" index mark that's at about 11 O'clock relative to the normal unlocking index at 12 O'clock.
In the Diebold method you just dial the normal combination as usual.
The location of the change key hole is different for each of the above.
All the below locks have common mounting dimensions and would fit on the same display/practice stand.
YouTube:

00:00 Intro
00:55 'Army of Thieves' (IMDB)
04:30 'The Italian Job'  (IMDB)
09:47 'The Thieves'   (IMDB)
12:47 'The Score'   (IMDB)
16:02 'Thief'   (IMDB)
17:47 'Fast Five'  (IMDB)

Combo Attacks (Wiki: Safe-cracking)

There are two kinds of attack. 
One where there is no sign after the opening that the safe was opened.  This is a huge problem when information is being protected since you do not know it has been stolen.  It's also a huge problem if valuables are stolen and there's no sign of a break-in since the insurance company will think it was an inside job.

The other type of attack is when you do know that the safe was opened.  This is most commonly when valuables are being stolen.

Blasting
The idea was to pour nitroglycerin (Wiki) into the crack between the door and safe/vault body and the explosion should blow the door off.  I'm guessing one countermeasure to this was the round door money safe where the door flange is similar to a Morse Taper (Wiki) where there would be zero distance between the door and frame when the door is closed and the only way to open the door is by a force from inside the vault pushing out.  That's to say you can not pull on the outside of the door to open it.

Punching
The idea is to cut off the dial and use a punch and sledge hammer to drive the spindle out of the lock removing the lock and allowing the door to open.  There are many patents for various "re-locking" devices to protect against this.
Some Yale and Mosler combination locks have the wheel pack attached to the rear lock cover, maybe for this reason?

Manipulation 1
The early locks where the fence rides on the circumference of the wheels, like my antique Herman safe, can easily be manipulated by applying a slight force on the opening handle while turning the dial and feeling the movement when the fence hits a gate in the wheel.  This will tell you one or more numbers of the combination greatly reducing the combination space.  Long time delay, up to 120 hours) clockwork additions to the combination lock were a fix for this problem, but then on Sunday, 7 Dec 1941 there were war plans in safes that could not be opened until the following Monday because of time locks.

Manipulation 2
At some point the drive cam became larger in diameter than the tumbler wheels so that the fence would never contact the wheels and so no information about the gates could be determined since the fence nose can only drop after all the gates have been aligned.  But by measuring the gap between the left and right contact points where the lever nose contacts the notch in the drive cam you can find the gates on all the wheels.

When Open
In most cases you can determine the combination by visual inspection of the disks, but in some cases that does not work.  So this paragraph is a placeholder for describing techniques for determining the combination when you have an open lock.

Single Number Combo

If the combination is set to all the same number such as N - N - N then after spinning the dial CCW at least four times all the notches are aligned.  When you stop on N all the notches are aligned with the gate.  Turning right opens the lock. This is a single number combination.  It may be the default combination on some Mosler locks.  Note you could easily check for a single number by spinning 4 turns CCW and stopping on all the numbers like this:

4 turns CCW stopping on 0
4 turns CCW stopping on 1
4 turns CCW stopping on 2
. . . .
4 turns CCW stopping on 99
But if you know the tolerance  you could use a shorter list of numbers.

Forbidden Numbers

On combination locks where you turn the dial to retract the bolt the last number dialed must not be too close to the number where the fence drops into the wheel to avoid jamming.  Here's a list of numbers I found on the alt.lockpicking web page.

Mfg Model Forbidden
Range
Diebold
177 & 180 90 - 10
900 75 - 100
Federal 800  0 - 20
Ilco
69; 673; A673; 674  0 - 20
LaGard
1800; 1843; 1847; 1854; 1980; 1985 0 - 20
3330 (splined at 50) 0 - 20
3330 (splined at 44) 95 - 15
Mosler
120; 302; 402; 1830 90 - 10
Precision all
0 - 20
S&G
6205; 6230; 6430; 6530; 6650; 6700 0 - 20
"
6709; 6727(074); 6731; 6741 0 - 20
"
6730 (splined at 50) 0 - 20
"
6730 (splined at 41) 90 - 10
"
6738 90 - 20
"
6750 (splined at 50) 90 - 20
"
6750 (splined at 41) 80 - 10
"
8400
45 - 50
"
8500
90 - 20

Note that by determining the drop number you get a little information on what type of lock you have.  You can also use this as a mild confirmation of the lock type (it's not unheard of that the dial does not match the mechanism).

Joseph L. Hall

Saw a nice "antique Joesph L Hall 4 Wheel Vault Door Lock" on eBay so looking for patents with Hall as inventor related to locks.  His company name "Joseph L. Hall, Cincinnati O." and a portrait was embossed on at coin that at first glance looks like a Silver Dollar and that coin was affixed to the lock mechanism.

Hall's Safe & Lock Co. (Wiki) - also the Consolidated Time Lock company (note time lock shown on patent 402590 and the mention of them in 94613.

6655 Fireproof Chest, E. & J.L. Hall, 1849-08-21, 109/83; 126/1R - air gap with mushroom pins to prevent pulling out walls.
81630 Permutation Padlock, J.L. Hall,1868-09-01, - 

94613 Permutation Lock, W.F. Kistler, J.L. Hall, 1869-09-07, 70/133- the eBay lock

"... prevent the “dog,' secured to the anchor, from being in contact with the faces of the tumblers, in order to prevent “feeling” for the slots in the tumblers..."
94613 Permutation
                      Lock, W.F. Kistler, J.L. Hall, 1869-09-07
Fig 1
94613 Permutation
                      Lock, W.F. Kistler, J.L. Hall, 1869-09-07
Fig 2 The disks have the look and feel of the Herman Safe Co.
94613 Permutation
                      Lock, W.F. Kistler, J.L. Hall, 1869-09-07
Fig 3
94613 Permutation
                      Lock, W.F. Kistler, J.L. Hall, 1869-09-07

Fig 4
94613 Permutation
                      Lock, W.F. Kistler, J.L. Hall, 1869-09-07
Fig 5
94613 Permutation
                      Lock, W.F. Kistler, J.L. Hall, 1869-09-07
Fig 6
94613 Permutation
                      Lock, W.F. Kistler, J.L. Hall, 1869-09-07

136239 Safe Door-hinges, J.L. Hall, 1873-02-25, 16/263; 16/386; 16/265 -

247250 Angle-bar for permutation-locks, J. L. Hall, 1881-09-20, 70/322 - can be used with time attachments

402590 Safe,
                      J.L. Hall, 1889-05-07
402590 Safe, J.L. Hall, 1889-05-07, 292/304; 109/64; 105/216; 312/325 - hinge for circular door that allows it to be moved to the side giving much better access to the safe.

816724 Fireproof safe and process of filling the walls of the same, William H Hall, Edward C Hall, 1906-04-03, 109/84 - the old method of filling voids with concrete can cause bulging and damage to the safe.  This is a better way.

Martin Briggs, Rochester, N.Y. Covert's Patent.

A vault door on eBay where the brass combination lock has patent dates: Sept 15, 1857 & Oct 5, 1858

18228 Permutation Lock, H.W. Covert, 1857-09-15,
RE1725 Permutation Lock, H.W. Covert, Martin Briggs, 1864-07-12, - was 18228

21655 Cam for Throwing Bolt in Locks, H.W. Covert, 1858-10-5, -
57574 Permutation Lock, James Sargent, 1866-08-28, - magnet
47575 Lock, James Sargent & H.W. Covert, 1895-05-02, - Magnetic lock prevents dog from touching wheels.
51973 Permutation Lock, James Sargent & H.W. Covert,1866-01-09, - key to allow resetting combination

Combination Lock Photos

Diebold 177-23
Group 2
Diebold
                      177 Combination Lock
For Fig 2 & Fig 3 see Field Expedient Lock Stand below
Fig 4
Diebold
                      177 Combination Lock

Fig 5  Note the location of the change key hole compared to the S&G R6700 (Fig 6)
To change the combo on the Diebold 177 combination is dialed using the normal index, but for the S&G the "change index" needs to be used for dialing the combination.  This difference is reflected in the location of the change key hole on the cover.
Diebold
                      177 Combination Lock

LeFebure
Group 2
LeFebure
                      Group 2 Combinatin Lock
The relocking spring on the bolt  at upper left and it's boss on the back of the cover plate can be seen.  If the back plate is removed the bolt will be held in the open position.  That could happen, like here or if the spindle was "punched" out.  LaGuard uses the same relock patented design.  When reassembling the lock after removing it the "smith" did not screw it in all the way.  Note key change hole at the lower right of the back cover.  Therefore a "change combo index must be dialed" like on the S&G.
LeFebure
                      Group 2 Combinatin Lock

La Gard Model 3390SNZ
3390 Series Group 2M
S: UL/Vds Class 1/EN1300 Class A
N: No Switch
Z: parameter not used
La
                      Guard Model 3390SNZ Combination Lock
Opened
Note location of the change key hole, like the S&G so uses a Change Index.
See dial photo at left for change index.
La
                      Guard Model 3390SNZ Combination Lock
Dial
La
                      Guard Model 3390SNZ Combination Lock
S&G 6630
Group 2M
YouTube: S&G 6730 Combination Lock Installation,
Sargent
                      & Greenleaf 6630 Combination Lock


S&G R6700
Group 2
YouTube - Combo: 50-50-50 with sound -
Sargent & Greenleaf R7600 Combination
                      Lock
Inside correct combo, bolt back
Spline key in VU (Vertical Up) so photo is upside down.
Sargent & Greenleaf R7600 Combination
                      Lock
Dial with Key Lock
Sargent & Greenleaf R7600 Combination
                      Lock
Inside back of R6700
Change key access hole is a square with an added notch.
Most of the change key has this cross section.
Sargent & Greenleaf R7600 Combination
                      Lock
Back side bolt retracted.  Note small round hole near upper left corner for change key round nose.  Not sure why the other small hole.  Note silver color plug between the spindle hole and bolt.  It's directly behind the torque adjustment.  Is that what it's for?  Let me know about the above.
Sargent & Greenleaf R7600 Combination
                      Lock
Fig 6 S&G U8 change key (Marked: IL Co 3)
Sargent & Greenleaf R7600 Combination
                      Lock
Fig 7 Change key ready to be turned
Sargent & Greenleaf R7600 Combination
                      Lock
Fig 8 Seated change key.
The relocker is engaged, bolt in locked position, correct combo set at "change" index.  But, without a stand and the dial attached I'm not sure how to
read the old combination or set the new combo.  Have a display stand or order and am working on manufacturing my own.
Sargent & Greenleaf R7600 Combination
                      Lock

S&G 8088 Padlock
Appears to be new in the box, but . . .
does not open with 10 - 20 - 30 - 0
There may be a problem with some 8088 padlocks
See 8088 patents below
Center of dial marked: 45
S&G 8088 Padlock
Fig 2 This is a different lock (not the one at left), the one at left did not open.  Note the change key is just a smaller version of the S&G Group 2 change key.  Marked:
US
Padlock 8088
Pat. No's.
2,673,457
2,625,032
Other Pat. Pend.
S&G 8088 Padlock

S&G 8077 Padlock
This is a more secure version of the 8088 padlock.  It has an
armor plate removable back to protect the key change hole.
See: 8077 patents below
Center of dial marked: 35
S&G
                      8077 Padlock
The change key hole is very much more guarded than in the 8077 compared to the 8088 above.  Marked:
D20678
U Sargent & Greenleaf Inc. S
Rochester, N.Y. U.S.A.
8077A
CL1/CL2
Fed. Spec. FF-P-110
1975
S&G
                      8077 Padlock

The factory combination is "25", but the instructions that came with the lock are wrong.  The instructions say to turn CCW four times and stop on 25.  Then turn CW to 0 and open.

But my lock works with the opposite rotation.
Turn CW and stop at 24 after it appears at least 4 times.
Then turn CCW to 0 and open.
YouTube Video demonstration of this:
Open Sargent and Greenleaf 8077A Padlok with Factory "25" Combination

Mosler 302-402  Group 1R
Note the dial has a change index, the change method
is to take apart the wheel pack, so the dial is mismatch to the lock.
Mosler 302 Group 1R
Fig 2 lists some Mosler patents 
missing 6-32 cover screws.
Mosler 302 Group 1R
Fig 3 Missing spindle key to drive cam.
Plastic wheels for the "R" part of 1R.

Also the the outside of each wheel has a lot of false gates.
Mosler 302 Group 1R
Fig 1 Mosler BP-800 Group 1R
I thought this was a "Direct Dial" lock, but it's just a Group 1R.

Mosler
                      BP-800 Group 1R Combination Lock
Fig 2
Mosler
                      BP-800 Group 1R Combination Lock
Fig 3 Cast in metal:
Mossler
BOLT MUST BE OUT
TO REMOVE COVER
Stickers: Patent numbers
50-25-50 (default combo)
UL Listed Combination Lock
Group 1 R No. B-83458
BP-800

Mosler
                      BP-800 Group 1R Combination Lock
eBay: Mosler BP-800 Set
Mosler
                      BP-800 Group 1R Combination Lock Set
Fig 4. "302-402" under default combo sticker.
Bolt stock because of old grease.
Mosler
                      BP-800 Group 1R Combination Lock
Fig 5. key-change smooth plastic wheels
Mosler
                      BP-800 Group 1R Combination Lock
Needs special dial.  How to install dial when the cover can not be removed until the bolt is out?
Thanks to Josh for information on how to get it open.
1. Under the default combination sticker "50-25-50" cast into the lid is "302-402", which is a normal Group 1R, not a "Direct Dial".
2. The reason the bolt did not want to move is the lock was assembled with an old school lubricant that gums up with age, unlike modern synthetic lubricants.  So the lock needs to be cleaned and lubricated.  To open the bolt just press on the round brass pin in the slot.  It would have been easier if I sprayed around the bolt with a solvent.3

3699789 Dial structure for mechanism requiring both lineal and rotary input operating movements, Anthony J Potzick, Mosler Safe Co, 1972-10-24, - Direct Dial -
3436941 Combination lock with cam-operated tumblers and sequentially engageable tumbler stops, Anthony J Potzick, Mosler Safe Co, 1969-04-08, - 1st Generation Direct Dial - "the operating shaft turns a rotary cam which swings a series of lever tumblers. Each tumbler is pivoted for swinging movement relative to the cam axis, and is spring biased toward the cam. Each tumbler has a gate at its free end. Rotation of the cam positions the gates; the gates must be positioned according to the proper combination be fore they will receive with a series of fingers, or teeth that are mounted to and move with the boit, in order for the bolt to be retracted. "

3518856 Combination Lock With Cam Follower Positioned, Cumulatively Arrested Tumbler Elements', Anthony J Potzick, Mosler Safe Co, 1970-07-07, - 2nd generation - "the operating shaft turns a set of several disk-like cams. One end of a pivoted cam follower is spring urged into contact with the shaped periphery of each respective cam. The other end of each cam fol lower bears upon and cams a lineally movable tumbler element. The slider tumbler is spring urged against the cam follower and is positioned in accordance with the angular position of the shaft. At the start of running of the combination, rotation of the dial operates all of the cam followers and slider tumblers, and as the combination numbers are dialed and set by axial movement of the shaft, the respective sliders are cumulatively ar rested by tumbler holding means in the form of a slider holding pin which passes perpendicularly through a hole in the slider."
3702551 Time delay combination locks, Horace A Blizard, Mosler Safe Co, 1972-11-14, - time delay (not time clock) replaces back plate
2029272 Delayed control time lock, William C Miller, Diebold Safe & Lock Co, 1936-01-28, - time delay (not time clock)
2036767 Delayed control timelock, William C Miller, Paul M Hawkins, Diebold Safe & Lock Co, 1936-04-07, - time delay (not time clock)
2097035 Dual control time-lock, William C Miller, Boughton Earl, Diebold Safe & Lock Co,1937-10-26, - dual count down timers
3719064 Combination lock with lineally movable cam followers and nonsequentially acting tumbler holders, A Potzick, Mosler Safe Co, 1973-03-06, - 3rd generation - "Push knob locks are easier to operate because they require no complex program of dial turning. They can be operated by turning the dial in either direction directly to each combination number, and do not require opposite rotations of the dial between successive numbers. Moreover, such locks do not require any predetermined number of turns, or indeed, any turns of the dial between succeeding numbers of the combination."
3727439 Modular key lock having lever tumblers with bendable portions, J Parrock, Mosler Safe Co, 1973-04-17, - lever lock
3772904 Lock with changeable guard and locking keys, J Parrock, Mosler Safe Co, 1973-11-20, - lever lock
4073554 Modular safety deposit box system, Charles D. Oder, Harold G. Doehlman, Mosler Safe Co, 1978-02-14, - construction of the safe deposit box assembly
4238942 Direct dial combination lock with driver-cammed reciprocating tumblers and scrambled combs, Joseph J. Parrock, Sr., Mosler Safe Co, 1980-12-16, - direct dial type (push knob)  "However, the lock structures of the three Potzick patents are very complicated. As a result those locks are quite difficult and critical to manufacture and assemble properly. For all their manipulation resistance and simplicity of operation, they are far too expensive for use in any but the most vital installations."
2775115 Manipulation-resistant combination lock, Frederick J Bremer, Mosler Safe Co, 1956-12-25, - "If an unauthorized person attempts to manipulate the lock, it will be seen that no clicking noise can be heard nor can any tumbler notch clicks be felt while the lock indexing spindle is being turned." 

3436941 Combination lock with cam-operated tumblers and sequentially engageable tumbler stops, Anthony J Potzick, Mosler Safe Co, 1969-04-08, - "A combination lock operated by turning the dial shaft directly to the numbers of the combination, in either direction, which does not require a prescribed program of dial turns in alternate directions. Once dialed, each number is "set" by pushing the shaft axially."

3719064 Combination lock with lineally movable cam followers and nonsequentially acting tumbler holders, A Potzick, Mosler Safe Co, 1973-03-06, - "The invention relates to improvements in combination locks of the push knob type, that is, locks wherein the dial is turned to a given angular position and that dial position is "set' into the lock by moving a shaft axially from a neutral position thereby to cause a tumbler to retain or "remember' that angular position during the setting of the other tumblers. "

3981167 Direct-Dial Combination Lock, Peter J. Phillips, 1976-09-21 - "a direct dial lock of the conventional gated tumbler wheel type with a conventional straight bar fence. In that lock, a pin on the drive is engaged with and is successively releasable from drive apertures in the tumbler wheels to allow sequential release of the located tumbler wheels upon axial movement of the driver. As in Bremer, the driver has a smooth cylindrical surface on which the lever nose rides that prevents engagement of the fence bar with the gate openings until the driver has been shifted axially to a tumbler wheel release location which aligns the lever nose with a driver notch. Like Bremer, the Phillips lock is much simpler than the complex Potzick structures. However, because it requires gated tumbler wheels that receive a straight or "unscrambled' fence bar, it is more susceptible to attack. All of the tumblers align at a single position of the fence; and it is far easier to determine that one position that it is to determine the multiple alignment positions of the doubly scrambled Potzick locks.
4516417 Changeable keylock having tumblers with shiftable pivot seats, Joseph J. Parrock, American Standard, 1985-05-14, - lever lock
Yale on Stand
1921 patent date
1.56" back of ring to front of lock


 Yale
                        on Stand
Fig 2 "PACKAGE  7" printed on tape
Yale on
                        Stand
Fig 3 First generation where the fence rides directly on the disks.  Combination change requires mechanical access to the wheel pack on the cover.

Yale on
                        Stand
Fig 4 The "tube" between the lock case and dial ring looks much stronger than what is typically used.  Probably a part of the patented spindle to prevent "Punching".
1398642 - punch proof - special spindle & tube
Yale on
                        Stand



Fig 1 S&G 8400 Manipulation Proof
No model number info.
Note "butterfly" knob in center of dial.

The two stand feet are removable, i.e. paper doll construction.
Sargent
                      and Greenleaf Manulipation Proof Combination Lock
                      Group 1

Fig 2 Back Side
Manipulation Proof
MP
Sargent & Greenleaf Inc.
Rochester, N.Y,. U.S.A.
Pat. No. 2,576,674
Other pat's pend.
Use 6720
Change key

Sargent
                      and Greenleaf Manulipation Proof Combination Lock
                      Group 1

Sargent
                      and Greenleaf Manulipation Proof Combination Lock
                      Group 1

Group 2 & Historical Patents

On many of the below patent references I've included the class number.  I learned about the importance of this when looking for patents in the Sunnyvale Patent Library where they file physical patents in folders that are grouped by class/sub-class number.  That's to say they do NOT file patents by patent number since that has no meaning.  So once you find a patent you are interested in they it's likely that you will be interested in patents with the same class/sub-class number.

In the list of top class numbers locks are 70. 

This page at the USPTO describes all the sub-classes under 70 Locks.

La Guard Patents

4532785 Combination lock, Tim M. Uyeda, La Gard, Inc., Aug 6, 1985, 70/333.00R, 70/322, 70/1.5, 70/115, 70/303.00R
 
Le Febure Patents

4142388 Tumbler wheels for combination locks, Peter J. Phillips, Mar 6, 1979, 70/316, 70/319 - Combo change key
4197726 Combination locks, Tim M. Uyeda, La Gard, Inc., Apr 15, 1980, 70/332, 70/333.00A, 359/440 - "Dust Guard" - fingerprints not on dial

Sargent & Greenleaf

Patent dates engraved in center of 1870s dial:
Sep 18 1860
30092 Permutation Lock, George Rosner, Sep 18, 1860, - provides for "key change" rather than removing the wheels. (maybe one wheel changed at a time?)
Jan 9 1866
51973 Permutation Lock, James Sargent & H.W. Covert, - includes a change key where the cross section shape of the key matches the keyhole.

57574 [RE4696]  Permutation Lock, James Sargent, Aug 28, 1866, 70/329; 70/303A [70/322] - List of Patent Trials
 
4462230 Changeable safe deposit lock with slidable clamped fences, Walter R. EvansSargent & Greenleaf, Inc., Jul 31, 1984 -              5502990 says: "There is a danger with this solution that the code will not be fixed satisfactorily if the screw is not tightened correctly.  Another drawback with this lock is that it is not compact enough and consequently it is possible to reach the lock mechanism and "feel" the mechanism with a steel wire or the like inserted into the lock housing."
 

Aug 28 1866
57508 Lock, E.R. Hopkins, - push/pull dial to throw bolt
July 14 1857
17804 Permutation Lock, L.F. Munger - pins on tumblers drive adjacent tumbler
78310 Permutation Lock, D.K. Miller, May 26, 1868,
July 16 1871
116737 Improved Permutation Lock, D.K. Miller, July 4, 1871 - (28 May 1868?) - dial pushed in after combination dialed to activate bolt.

47575 Lock, James Sargent & H.W. Covert, May 2, 1865 - keeps the dog from contacting the tumbler rims.  

D251233
Combined dial ring and removable center bearing assembly for combination locks and the like, James C. Miller, Sargent & Greenleaf, Inc., Mar 6, 1979, - design for the S&G  bushing.

1484692 Lock, Weber Eugene R, Sargent & Greenleaf, Feb 26, 1924, 70/303.00R, 70/317, 70/323, 70/322 - Looks like a Group 2 body, position (gravity) independent but only one notch on cam.  To prevent opening by driving spindle i.e. "punching" the mounting holes have thin walls so the whole lock body will move rather than the back cover.  Also how a changeable combination can be done.

Pearl Harbor (Wiki)

2575674 Permutation lock, Harry C Miller, Filed: Mar 26, 1949, Pub: Nov 20, 1951, 70/284, 70/323, 70/303.00A, 70/333.00R

 "The primary object of the present invention is to provider a combination lock in which a manipulation of the dial will not give any indication of the position of the gates in any of the tumblers."  Magic Module size.

Done in response to the problem of 7 Dec 1941 when the military could NOT open safes that had time locks.
see above photo
Sargent & Greenleaf 2575674
                          Permutation lock


2807954 Combination lock, Miller Harry C, Filed: Jul 6, 1954, Pub: Oct 1, 1957, 70/333.00R, 70/303.00R, 70/323
                Improvement on 2575954 in that the prior lock was susceptible to wear out of the mechanism allowing
manipulation.
2925726 Combination lock, Miller Harry C, Filed: Oct 3, 1951, Pub: Feb 23, 1960,  - nose & notch to keep fence from riding on wheels. - fix after Pearl Harbor.
4163376 Tumbler wheel combination locks with torque adjuster means, Benson L. Miller, Steven Helesfai, Sargent & Greenleaf, Inc., Aug 7, 1979, 70/303.00A, 70/323
                "An object of the present invention, therefore, is the provision of a novel combination lock construction of the tumbler wheel type, wherein means are provided for setting and varying the wheel tension force or torque characteristics of the lock." - R6700, 6730 and many other models.
3968667
Combination lock construction - 8500 series
4359883 Time delay combination lock, Charles G. Bechtiger, James C. Miller, Sargent & Greenleaf, Inc., Nov 23, 1982  
4512167 Variable position quick mount combination lock, Joseph M. Remenicky, Sargent & Greenleaf, Inc., Apr 23, 1985 - provides for  RH, LH, VU and VD lock body positions.
5473919 Manipulation resistant combination lock with magnets, Roy T. Abner, Brian D. Costley, Dec 12, 1995 - uses magnets to prevent finding the notch contact points, i.e. anti manipulation - ? model number?      
 
S&G 8088 padlock

2573189 Guard for resetting mechanisms of combination locks, Otto H Eiffert, Jr Howard S Thomas, Oct 30, 1951 -
2625032
Combination lock with tumbler upsetting mechanism, Otto H Eiffert, Jr Howard S Thomas, Jan 13, 1953,
70/23, 70/303.00R, 70/314, 70/133  - 8088
2673457
Exposed shackle combination padlock, Miller Harry CMar 30, 1954, 70/25, 70/333.00R, 70/303.00R, 70/303.00A  - 8088
2775112 Combination resetting guard for exposed shackle padlock, Taylor James L, Dec 25, 1956 - to prevent access to the key change hole - no a product
2780087 Combination resetting guard for combination padlocks, Miller Harry C, (not S&G), Feb 5, 1957 - to prevent access to the key change hole - no a product
2814940 Exposed shackle combination padlock, Miller Harry C, Dec 3, 1957 - to prevent drilling dial and replacing it, an upgrade to the 8088, not a product
2852928 Combination lock actuating mechanism, Miller Harry C, (not S&G), Sep 23, 1958 - 

S&G 8077 Padlock
3533253 Changeable combination padlock, Helesfai Steven, Miller Harry C, Paul George D, Oct 13, 1970, - 8077
 "...
improve the security of the padlock against unauthorized manipulation and against unauthorized access to the combination changing mechanism of the padlock. " . . . "For example, when the padlock is of the type having a combination change key opening in the rear cover of the lock casing through which the change key is inserted to change the combination, this opening needs to be especially protected to prevent possible observation of the tumbler wheels, or at least the rearmost tumbler wheel, by unauthorized persons and to protect against insertion of small pieces of material, such as shim stock, through the change key opening to detect the lock combination or manipulate the internal lock mechanism." . . . "When the dials of such exposed shackle combination padlocks are located externally of the padlock casing, persons seeking unauthorized operation of the lock can readily drill through the exposed dial and casing to inspect the interior of the padlock and determine the combination, and then replace the damaged dial With a new matching dial to disguise the fact that the lock has been tampered with."
YouTube:
sg 8088.mp4 - shim change key hole ;
 
Diebold
  106472  Permutation lock, Charles Diebold & Jacob Obernesser, Aug 16, 1870,
1544893  (Pick Proof key type) Lock, Diebold Charles J, Jul 7, 1925, 70/134, 70/355,
2029272  Delayed control time lock, Miller William C, Jan 28, 1936, 70/268 - has the look and feel of a Group 2 lock body
2656705 Combination lock, Behrens Herbert C, Diebold Inc, FIled: Dec 2, 1949, Pub: Oct 27, 1953, 70/133, 70/303.00A -
                Has the look and feel of a UL 768 Group 2 lock. Mentions 30 minutes to manipulate a lock open.
                This can be prevented by adding a tounge at the back of the bolt that engages notches in the tumblers.
                Calls:
                1956304 Combination Lock,
Abbott Albert L, Miller Charles H, Diebold Safe & Lock Co, Apr 24, 1934, 70/317 - uses change key - Group 2 form factor
 
Mosler Safe Co. (Mosler Lock Co.)

Sticker:  Key Change protected by one or more of these patents:
3038325
Tamper proof combination lock, Maynard Robert W, Mosler Safe Co, Jun 12, 1962 - prevent lockout after mistaken combo change
3073145
Manipulation resistant combination lock, Potzick Anthony J, Mosler Lock Company, Jan 15, 1963, fast moving fence to defeat sound & feel attacks  
3106083
Tamper proof combination lock, Robert W Maynard, Mosler Safe Co, Oct 8, 1963 - mitigate sound & feel attacks   
3111022
Tamper proof lock, Robert W Maynard, Mosler Safe Co, Nov 19, 1963 - cover removed or heat causes relock 
3702551 Time delay combination locks, Blizard Horace A, Mosler Safe Co, Nov 14, 1972 - adds a time delay after combo correctly dialed Delayed Action Time Lock - winding axis coaxial with spindle axis saving gearing.

 
682221  Safe, Moses Mosler, Sep 10, 1901,

2775115 Manipulation-resistant combination lock, Dec 25, 1956

788325 Circular-door safe, Moses Mosler, Apr 25, 1905, - door taper fit
971344 Safe or Vault, Carl Bartels, Sep 27, 1910, drum shaped vault with circular door
2609679 Safe lock, Bauer George J, Bremer Frederick J, Mosler Safe Co, Sep 9, 1952, 70/1.5, 70/379.00R, 70/422, 70/355 -


283136 Method of bending angle-iron, Moses Mosler, Aug. 14, 1883, - a way to lower cost of construction - List of Patent Trials

Patent numbers on a Mosler 302 (see above) group 1R combo lock (appears to have plastic rims on wheels with cast numbers, no change key:
3373583 Combination lock with normally masked driver gate - adds nose and notch to keep fence from contacting tunblers
3702551 Time delay combination locks
3772904 Lock with changeable guard and locking keys - A two key lever tumbler lock with at least two sets of tumblers
3386275 Key changeable tumbler construction for combination locks
3727439 Modular key lock having lever tumblers with bendable portions
4238942 Direct dial combination lock with driver-cammed reciprocating tumblers and scrambled combs, Joseph J. Parrock, Sr., Mosler Safe Co, 1980-12-16, -
Sticker on Mosler TL-30 safe 39" x 32" x 39" with half dozen combination lock compartments:
2735541 Device for Storing Paper Money and Coins, Arthur R. Mosler, Feb 21, 1956
2770516 Depositing machines, Mestre Luis, Mosler Safe Co, Nov 13, 1956, 
2775114 Combination lock, Lee Cora A, Filed: Jan 3, 1949, Pub: Dec 25, 1956, - manipulation proof
2775115 Manipulation-resistant combination lock, Bremer Frederick JMosler Safe Co, Dec 25, 1956
2775947 Repository or safe, Arthur R Mosler, Mosler Safe Co, Jan 1, 1957 - key lock compartments for each salesperson
2796308 Power driven multiple revolving card files, Knittel Emil E, Jun 18, 1957
2858691 Key changed tumbler clamp, Hoffman Ray L, Mosler Lock Company, Nov 4, 1958  - square drive change key
2881612 Combination lock construction, Bremer Frederick J, Norris Smith Charles, Apr 14, 1959
2888115 Combined clutch and brake, Knittel Emil E, May 26, 1959 - for motorized file cabinet
2985726 Selector switch for rotary files, Handel Siegfried K, Mosler Safe Co, May 23, 1961
3038325 Tamper proof combination lock, Maynard Robert W, Mosler Safe Co, Jun 12, 1962
3015342 Blast closure, Charles D Price, Jan 2, 1962 - closes air duct if outside explosion
3059984 Control circuit for motor driven file, Handel Siegfried K, Mosler Safe Co, Oct 23, 1962
3073145 Manipulation resistant combination lock, Potzick Anthony J, Mosler Lock Company, Jan 15, 1963
3076329 Time lock, Maynard Robert W, Mosler Safe Co, Feb 5, 1963 - time delaysa
3106083 Tamper proof combination lock, Robert W Maynard, Mosler Safe Co, Oct 8, 1963
3111022 Tamper proof lock, Robert W Maynard, Mosler Safe Co, Nov 19, 1963
3119394 Power driven rotating card files, Knittel Emil E, Mosler Safe Co, Jan 28, 1964
3120117 Tamper proof combination lock, Robert W Maynard, Mosler Safe Co, Feb 4, 1964
3128728 Heat resistant money safe door, Russell F Houston, Apr 14, 1964 - to defeat torch cutting by using copper
3139047 Safe door construction, Robert W Maynard, Mosler Safe Co, Jun 30, 1964 - circular tapered door for money safe
3254219 Nuclear blast detector and alarm system, Finlay Joseph M, Price Charles D, Mosler Safe Co, May 31, 1966 - uses vacuum tube in sensor and indoor transistorized circuit to detect double peak
3296952 Blast closure, Harry J Lingal, Mosler Safe Co, Jan 10, 1967 - shock wave adtuated
3386275
Key changeable tumbler construction for combination locks, Potzick Anthony J, Mosler Safe Co, Jun 4, 1968
3371627 Modular interior storage safe, Leland W Belew, Mosler Safe Co, Mar 5, 1968 - for magnetic media
3373583 Combination lock with normally masked driver gate, Parrock Joseph J, Mosler Lock Company, Mar 19, 1968 - an additional number is dialed after the combination to unmask the gate.
3383887 Combination lock, Joseph V Baum, Jeremy M Harris, Henry E Hull, Mosler Safe CoMay 21, 1968 - push button sequence
3418951 Security file, Leland W BelewDec 31, 1968 -
3420155 Delay latch for blast valves, Charles E Slater, Mosler Safe Co, Jan 7, 1969
3421461 Safe, Albert R St Clair, Robert W Maynard, Jan 14, 1969 - auto closing doors in event of fire
3426707 Security file, Heyl Leo W, Maynard Robert W, Mosler Safe Co, Feb 11, 1969 - Class 5
3481166 Lock timer, Lingal Harry J, Mosler Safe Co, Dec 2, 1969 - add-on pneumatic time delay
3518856 Combination lock with cam follower positioned,cumulatively arrested tumbler elements, Potzick Anthony J, Mosler Safe Co, Jul 7, 1970 -  looks complicated (expensive)
3650226 Document destruct file, John P Conroy, Kendall H Grimes, Robert W Maynard, Mosler Safe Co, Mar 21, 1972 - so that documents can be destroyed to prevent enemy capture
3702551 Time delay combination locks, Blizard Horace AMosler Safe CoNov 14, 1972 - piggy back single axis add-on to a group 2 lock
Winding occurs after the first combo number is set and the dial is turned CW for the second number but only for part of a turn then the dial is free turning as before.
                References:
                2029272
Delayed control time lock, Miller William C, Diebold Safe & Lock Co, Jan 28, 1936 - single escapement
               
2036767 Delayed control time lock, Hawkins Paul M, Miller William C, Diebold Safe & Lock Co, Apr 7, 1936 - dual escapement
                2097035
Dual control time-lock, Earl Boughton, Miller William C, Dicbold Safe & Lock Co (sic), Oct 26, 1937 -  dual escapement

Yale (Wiki)
Known for pin tumbler locks, post office box parts
, safes and vaults and their combination or time locks.  But also patented related items such as: 402878, 496799, 499622, 512071 compound chain hoist (handy for safes, vaults and their doors, key making related metal working machines, Skid Wiki: (pallet) 1944845.

10584 Bank-Lock, Linus Yale, Feb 28, 1854 70/419; 70/393; 70/491-
 
RE1470 Lock, Linus Yale, Apr 28, 1863, 70/305 - Combination with crank List of Patent Trials

111587 Permutation Lock, H.R. Towne, Feb 7, 1871, - combination

668049 Combination-lock, Paul Nash, Yale & Towne Mfg Co, Feb 12, 1901, - pull dial to change combination
672911
Combination-lock, Schuyler Merritt, Yale & Towne Mfg Co, Apr 30, 1901 - tumblers on cover of cylindrical housing
685289 Lock,
Frank W Mix, Yale & Towne Mfg Co, Oct 29, 1901 - warded key @ bottom center type padlock   
805103 Tumbler for combination-locks, Warren H Taylor, Yale & Towne Mfg Co, Nov 21, 1905, - improvement on 233950 Permutation Lock,  improvement on 153588, Combination Locks, W.K. Marvin, Jule 28, 1874, -
840269
Safe-bolt mechanism and lock, Warren H Taylor, Jan 1, 1907 - not Group 2  - spindle centerline outside lock body outline so punching spindle has no effect.
876028
Spindle for dial-locks, Warren H Taylor, Yale & Towne Mfg Co, Jan 7, 1908 - weak points added to prevent "punching" - does not look like a workable idea   
907915 Changeable combination-lock, Warren H Taylor, Yale & Towne Mfg Co, Dec 29, 1908, - vault lock with spindle center line outside lock box
985609
Method of making tumblers for combination-locks, Rollin C Lewis, Yale & Towne Mfg Co, Feb 28, 1911 - drive pins not separate parts. looks like movable flys
1092874 Combination-lock, Warren H Taylor, Yale & Towne Mfg Co, Apr 14, 1914, - change key and boxed lock, modern look
1166232
Releasing-slide for combination-locks, Rollin C Lewis, Yale & Towne Mfg Co, Dec 28, 1915 - not group 2 -
1283255 Time-lock movement, Charles A Miller, Yale & Towne Mfg Co, Oct 29, 1918 - simplify adjustment - single escapement
1296538 Lock, R.C. Lewis, Mar 4, 1919, -  about lock body cover - looks like Group 2 - wheel pack on cover - re-locking?
1395845 Dial-lock, Lewis Rollin C, Yale & Towne Mfg Co, Nov 1, 1921 - re-lock against "Punching"

1398642 Dial-lock, Lewis Rollin C, Yale & Towne Mfg Co, Nov 29, 1921 -
Note anti "Punching" cone on spindle near dial ring.
Has the look and feel of the Group 2 lock case, but non standard tube.
Note nearby patents by R.C. Lewis.
See Yale lock on stand above

patent
                        1398642 Dial-lock, Lewis Rollin C, Yale &
                        Towne Mfg Co, Nov 29, 1921 -


1403793 Dial Lock,
Rollin C Lewis, Yale & Towne Mfg Co, Jan 17, 1922 - re-locker
1583402 Combination dial lock, Lewis Rollin C, Yale & Towne Mfg Co, May 4, 1926 - numbers on tumblers 2-pronged change key, but not Group-2 outline (cylindrical case)
194274 B
olting-mechanism for safe and vault doors, H.R. Towne, The Yale lock Manufacturing Company, Aug 14, 1877 - provides for two independent locks so if one fails the other can open the door. 
2043205 Lock, Frank E Thompson, Yale & Towne Mfg Co, Jun 2, 1936 - mushroom pins for pin-tumbler lock  
206147 Safe and Vault Fastening, E. Stockwell, July 16, 1878, - round door cogged and dogged with only time lock.  
232086 Dials for Locks, E. Stockwell, W.H. Taylor, Sep 7, 1880, - instead of casting the whole dial, sheet metal is combined with a cast knob.
240783 Dial for Permutation Lock, E. Stockwell, Apr 26, 1881, 70/445; 16/DIG.30; 403/325; 403/9; 70/210; 74/553
2672042 Combination lock, George Willis D, Yale & Towne Mfg Co, Mar 16, 1954, - manipulation proof
Calls:
1092843 Combination Lock, R.C. Lewis, Apr 14, 1914, - has key on back side to lock lid to body (seems like a poor idea)
1484692  see S&G 1484692 above
408550 Rod Handle for Locks, W.H. Taylor, Aug 6 1889
408552 Rod Handle for Locks, Henry R. Towne, Aug 6, 1889
672911 Combination-lock, Schuyler Merritt, Yale & Towne Mfg Co, Apr 30, 1901 - re-locker (he called it supplementary dogging device.
713714 Safety concussion device for locking appliances, Warren H Taylor, Yale & Towne Mfg Co, Nov 18, 1902 - explosives or sledge hammer hits cause re-locking
1077077 Electric protective device for safe and vault doors, Hermann Huhn, Henry R Huhn, Yale & Towne Mfg Co, Oct 28, 1913 - prevent alarm from sounding just after time lock has been set but before door closed.
1904383 Safe deposit lock, Mosely William P, Yale & Towne Mfg Co, Apr 18, 1933 -
2431894 Lock,
Spain, Roy C, Yale & Towne Mfg Co, Dec 2, 1947, - high security key lock

York
1693731 Lock, Frederick Sioberg Charles, York Safe And Lock Co, Dec 4, 1928 - safe deposit lock
                 5502990 says: "This lock mechanism is also comparatively complicated and bulky, i.e. it suffers generally the same drawbacks as those encountered with the afore described lock construction of Evans."

Lever (Wiki)

See Ref 17: Bullseye -
Lever locks have been around since the late 1700s and work with a bitted key (Wiki).  UK door locks use these because of insurance rules.  These are also used in safe deposit boxes (Wiki) and money safes where the front door is a combination lock and the lever lock is in the back.

It may be that sheet metal stamping was very inexpensive way to make high volume parts when compared with a lathe turning parts.  This would make lever locks much less costly than pin tumbler locks until chucker lathes or later Swiss Screw Machines (Wiki) were commonplace.  Note early flashlights used a lot of sheet metal parts that were not only stamped but also bent into complex shapes automatically.

YouTube: Open lock Mauer 74046 - to see how a level lock works,  Вскрытие Сейфа -  picking tool for lever locks, G & C 7 Lever Safe Lock - assembly & picking,
2 in 1 Pick Clicker - picking tool for lever locks (with videos)

8071 Lock and Key, L. Yale Jr., May 8, 1851, 70/354; 70/414; 70/452; 70/453 -  not clear how it works, but there appear to be four lever wafers.

10660
March 21, 1854,
70/421; 188/193; 70/416; 70/DIG.27 - "Locks are ordinarily picked either
first by pressing back the bolt or its stump against the tumblers and then moving the tumbler up and down till the absence of any resistance indicates to the fine touch the position of the recess made to receive the stump; or
second, by drilling into the side of the lock from the front of the door and then by the use of proper instruments bringing the recesses of the tumblers into a line so as to shoot back the bolt; or
third, by filing the bolt so that when unlocked the key will turn and spring the tumblers without entirely springing the bolt; or
forth, by introducing powder sufficient to blow up the lock and release its fastenings.

13968 Lock, T. Bowles, Dec 18, 1855, 70/139; 37/184; 70/387; 70/423 - push key lever lock "The first of these defects i sthe inability to get at the lock without breaking out the plaster or composition in which the lock is usually embedded within the door; a second is in the position of the tumblers or sectors.  These are placed so near to the front edge of the lock that they are not fully protected from fire, and as the key acts directly upon them in operating, they are in a situation to be easily tampered with for packing (picking?). Another defect is the ease with which when unlocked an impression or pattern for the constructing of a key can be taken, there being at that particular time no safeguard whatever.  If is only to thrust in a row of short wires until their ends strike against the tumblers and drawn them all out so as to preserve those positions, when the exact form for the edge of the key will be obtained."

172899 Lock for Drawers &c., W.H. Taylor, (not assigned), Feb 1, 1876, 70/86; 70/DIG.77 - flat key notches on both sides
197683 Drawer-Lock, W.H. Taylor, Yale Lock Mfg Co., Nov 27, 1877, 70/86; 70/134; 70/355; 70/380; 70/447; 70/453 -"... improved construction of the talon for throwing the lock bolt, and of the nosing or key-barrel."

197910 Drawer Lock,
Warren H. Taylor, The yale Lock Manumcturing Company (sic),Dec 4, 1877 -

410610 Lock, M. Riedinger, Sept 10, 1889, -
481736 Lock, J. Roche,
The Eagle lock Company, Aug 30, 1892, 70/339 safe deposit box, single keyhole, guard and tenant keys

690537 Changeable-combination key-lock,
Warren H Taylor, Jan 7, 1902 - lever type
635783 Lock, William B Kelsey, Yale & Towne Mfg Co, Oct 31, 1899, 70/355; 70/134; 70/453 - 4-lever cabinet lock
90537
Changeable-combination key-lock, Warren H Taylor, Yale & Towne Mfg Co, Jan 7, 1902 -
993908 Safe-deposit lock, Warren H Taylor, Yale & Towne Mfg Co, May 30, 1911 - single keyhole, first custodian partially unlocks then the box renter uses his key
246605 Lock, Frederick Egge, Smith & Egge Mfg Co., Sep 6, 1881, 70/355; 70/405; 70/453   
1049648 Lock for safety-deposit boxes, Edgar M Benham, Bankers Dust Proof Time Lock Company, Jan 7, 1913, 70/385 - bank president's key in guardian key slot to re-key
1271632 Lock, Henry G Voight, Sargent & Co, Jul 9, 1918, 70/134, 70/337, 70/340
1417148 Lock,
Diesel William F, Price William R, Sargent & Greenleaf, May 23, 1922, - single key
1431381 Adjustable lock, William F Diesel, Eugene R Weber, Sargent & Greenleaf, Oct 10, 1922, 70/385 -
1447865 Lock, Frank Kihm, Albert M Hoffheimer, Filed: Sep 13, 1920, Pub: Mar 6, 1923, 70/385 - safe deposit - rekey by changing tumblers
1561207 Changeable-combination key lock, Benham Edgar M, Mosler Lock Company, Nov 10, 1925, 70/385, 70/339  - Tenant, Guard & Change keys
1522573 Changeable combination key lock, Benham Edgar M, Mosler Lock Company, Jan 13, 1925, 70/385, 70/339 -   Safe Deposit Lock 192847
1534495 Interchangeable combination key lock, Benham Edgar M, Mosler Lock Company, Filed: Apr 26, 1922, Pub: Apr 21, 1925, 70/385, 70/339 -
1374310 Changeable combination key lock, Willey Marvel Edward, (no company), Apr 12, 1921, 70/385 - see 1543447 (he sold to or worked for Mosler)
1543447 Changeable combination key lock, Willey Marvel Edward, Mosler Lock Company, Filed: Jan 5, 1922, Pub: Jun 23, 1925, 70/385, 70/339 - safe deposit - special key for changing renter key
            Calls: 1166380 Key-lock,
Dec 28, 1915
                       1166381 Key-lock,
Dec 28, 1915
                       1145870
Changeable-combination key-lock, Jul 6, 1915                    

1901229 Multiple key lock, Diesel William F, Sargent & Greenleaf, filed: May 18, 1929, Pub: Mar 14, 1933, 70/385, 70/339, - Safe Deposit Lock - similar to the 4400 series, but not the same
3983728 Double changeable key lock for safe deposit boxes and the like, Peter J. Phillips, Sargent & Greenleaf, Inc., Oct 5, 1976 -
1573741 Lock, Earl Parent William, Yale & Towne Mfg Co, Filed: May 25, 1922, Pub: Feb 16, 1926, 70/385 - lockers allows re-keying w/o removing lock
1826595 Interchangeable key lock, Benham Edgar M, Mosler Lock Company, Oct 6, 1931 -
3727439  Modular key lock having lever tumblers with bendable portions (see above), Parrock J, Mosler Safe Co, Apr 17, 1973 - M5700
3772904 Lock with changeable guard and locking keys, Parrock J, Mosler Safe Co, Nov 20, 1973, 70/339, 70/355, 70/383 -
3837196 Key changing lock for safe deposit boxes, Gartner K, Higgins E, Van Ryne R, Sep 24, 1974, 70/339, 70/383, 70/355 - safe deposit box
3884058 Key-actuated locks, Reynolds Ronald, Terry Peter Alfred, May 20, 1975, - difficult to drill or pick  
3983728 Double changeable key lock for safe deposit boxes and the like, Peter J. Phillips,


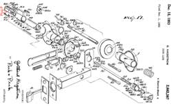
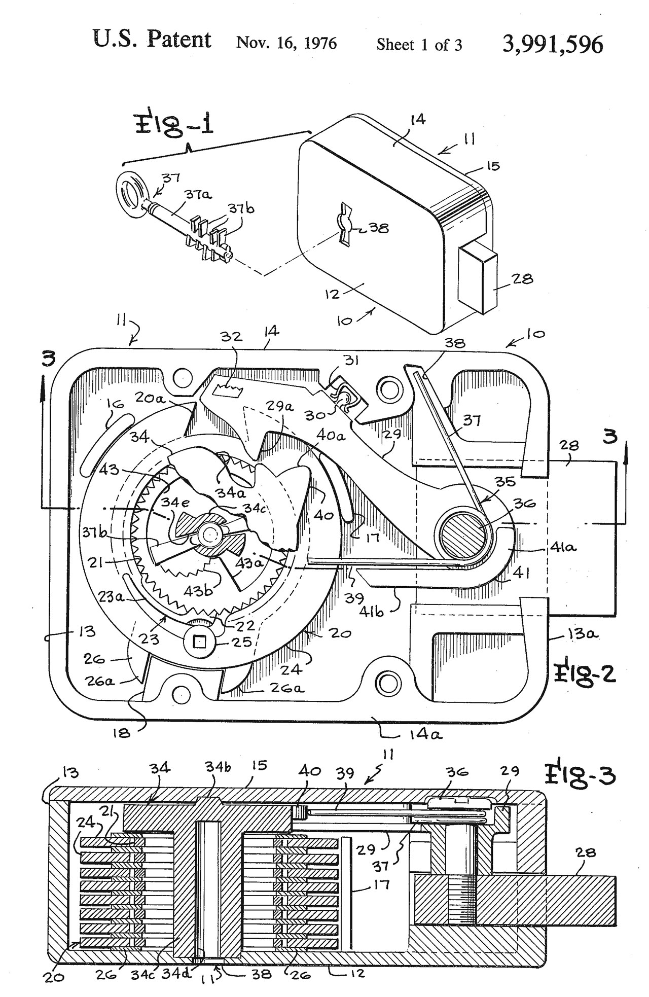
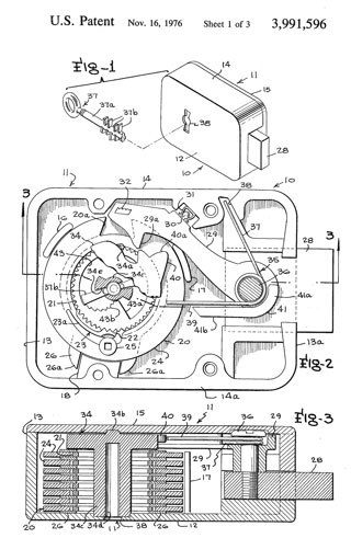
3991596
Tumbler wheel, changeable combination key lock construction, Klaus W. Gartner, Sargent & Greenleaf, Inc., Nov 16, 1976 -
had problem with jamming, so
4375159 solves that. ** don't understand it** 
patent
                      3991596

4375159 Changeable combination tumbler wheel type key lock, Charles G. Bechtiger, Jacques Peyronnet, Sargent & Greenleaf, Inc., Mar 1, 1983, 
Looks on the outside like the 6880 lever lock and uses a very similar key, ** don't understand it**



4290287
Double changeable key lock for safe deposit boxes and the like, James P. Peppard, Sargent & Greenleaf, Inc., Sep 22, 1981      
4516417 Changeable keylock having tumblers with shiftable pivot seats, Joseph J. Parrock, American Standard Inc., May 14, 1985 - Safe Deposit Box
5502990 says: 4836000 Lever tumbler lock, Jorma HirviAb Fas Lasfabrik Jun 6, 1989  - references 246605 above
5072604 Closure system consisting of a lock and a plurality of keys, Armin EisermannSchulte-Schlagbaum AktiengesellschaftDec 17, 1991 - key looks like an "X" end on. 
5502990 Recodable lever tumbler lock for use in high security safes, Jorma Hirvi, Sargent & Greenleaf, Apr 2, 1996, 8600 Series of lever locks 
6519989
Lever lock unit, Jorma Hirvi, Ab Fas Lasfabrik, Feb 18, 2003, 70/492, 70/495, 70/409, 70/419 - European door type
6868706 3-action lock barrel, Bor-Ching Lin, Mar 22, 2005, 70/492, 70/352, 70/392, 70/377  - disk tumbler - not lever

Photos

The S&G/FAS 6880 has a number of features saying "do not open me".  S&G web page for lever key operated locks and Safe Deposit Locks  
I expect this lock is as secure if not more secure than a Group 2 combination lock.  But you have the problem of what to do with the huge key when it's not being used.
It can hardly be put on your key chain.
S&G's Magic Module footprint like their group 1 and group 2 locks.

This is an improvement on the 6804 and 4500 Safe Deposit Box locks which used an Alan screw as part of the re-keying operation and if not properly tightened might result in a lock-out.
S&G 6880 Safe Key Lock
in same package as the above Group 1 & 2 locks.
see 5502990
S&G
                      6880 Safe Key Lock
Bolt is tapped with screws installed to connect to door bolt work.
S&G
                      6880 Safe Key Lock

Yale & Towne 8-Lever Safe Deposit Box Lock

This lock seems much too big and heavy to be for a safe deposit box.  But that's what the patent says it's for.  Two keys are required to open it.  First the guard key is used to unlock the tenant side.  Then the tenant key is used to open the bolt.  There are 4 levers on each side.  The flat keys might be in the 0.060" thick range.  The guard key might be 0.25" wide and the tenant key might be 0.350" wide.
None of the modern safe deposit box keys will fit either keyway, either they are too thick or too wide.  The guard key may have been a weakness in that it's narrower than any key I know about.

I found the patent before opening the lock but discovered the patent date was hidden when the bolt is in the locked position.  Most likely done on purpose to conceal patent unless you have keys to open lock.

This particular lock may have been a salesman's sample since both the tenant and guard wafers are all at the same depth.  Again I don't see how this is a viable safe deposit lock since it's much to costly to build compared to other safe deposit box locks.  But it may be suitable for a safe or vault door, like the above S&G/FAS 6880.  I located this lock just below the S&G because they both have the same look and feel.

In operation the guard would use his narrow key to set the lock then remove the key.  Next the tenant would insert his key and open the lock.  When the tenant locks the lock it resets the guard side.  A possible problem is that a lazy guard might just unlock all the locks in the vault so that the tenant could quickly access their box.  The problem being that would eliminate the function of the guard and is probably why this lock was not used in any great numbers.

One idea is that this lock was designed for a very high security application where two people needed to be present in order to open the lock, not the common guard and tenant arrangement.

Fig 1 Yale & Towne logo
Yale
                      8-Lever Safe Lock
Fig 2
Yale
                      8-Lever Safe Lock
406487 Lock, July 9, 1899
406487
                      Lock, Warren H. Taylor, Yale & Towne Mfg
Fig 3 Note date on bolt that was hidden when bolt was in locked position July 9, 1899
I saw this after finding and posting the patent.
Yale
                      8-Lever Safe Lock
Fig 4 tenant levers are all the same depth.
Yale
                      8-Lever Safe Lock
Fig 5
Yale
                      8-Lever Safe Lock
Fig 6 Holes allow seeing status of tenant and guard locks.
Yale
                      8-Lever Safe Lock
Fig 7 Size Comparison
Safe
                      Deposit Box Locks size comparison

406487 Lock, Warren H. Taylor, THE YALE a TOWNE MANUFACTURING (sic), Jul 9, 1889, 70/339 - See Fig 1 above
690537 Changeable-combination key-lock, Warren H Taylor, Jan 7, 1902 - lever type very similar to 406487 (same inventor)
993908 Safe-deposit lock, Warren H Taylor, Yale & Towne Mfg Co, May 30, 1911 - single keyhole, first custodian partially unlocks then the box renter uses his key

1374310 Changeable-combination key-lock, Willey Marvel Edward, Apr 12, 1921,70/385 - has a very similar dual key slot & identical top and bottom views - tenant side easily rekeyed
references:
1166380 Key-lock, Edward Willey Marvel, Dec 28, 1915, 70/339, 70/340, 70/385 -
1166381 Key-lock, Edward Willey Marvel, Dec 28, 1915, 70/339 -
1145870 Changeable-combination key-lock, Edward Willey Marvel, Jul 6, 1915, 70/385, 70/353, 70/339 -

Yale 10-Lever Safe Deposit Box Lock

This lock is similar to the one above but there are notable differences. 

There is provision for 5 tenant and 5 guard wafers, even though only 2 guard wafers are installed in this lock. 

There are 2 key noses instead of the single nose.  Modern safe deposit box locks use two noses so that it's easy for the guard and tenant to both turn their keys.  This is needed because the guard key needs to be in the unlock position while the tenant turns their key to unlock the lock.

The guard key is a standard 0.060" thick by 0.240" wide flat key.  But the tenant key is 0.080" thick by 0.300" wide has longitudinal grooves (wards).  This differs from modern safe deposit keys in that they are both flat keys.  My guess is that both this lock and the one above were used inside jewelry store safes (vaults) to secure deposit boxes holding move value than the common bank safe deposit boxes and that makes these two locks and the S&G key operated lock all in a different class of lock than the bank vault type safe deposit locks.

Fig 1
Yale
                      10-Lever Safe Deposit Box Lock
Fig 2
Yale
                      10-Lever Safe Deposit Box Lock
Fig 3
Yale
                      10-Lever Safe Deposit Box Lock
Fig 4 casting marked: P8900, RH
Yale
                      10-Lever Safe Deposit Box Lock

Guardian 03-877

This lock came on a door made from solid steel1/2" x 5" x 3".  Inside the cast box is the number 03-887.  There are 5 spring loaded wafers on the tenant side and 2 on the guard side. The tenant nose if 0.840" dia and the guard nose is 0.685" dia.  The tenant key is 0.045" thk x 0.373" wide.  The ILCO 1221L  guard key is 0.050" thk x 0.283" wide.

The front plate on the lock (Fig 5) is marked 03-899 and inside the cast box (Fig 6) is marked 03-877.

Fig 1
Guardian 03-877 Safe Deposit Box Lever Lock
Fig 2
Guardian 03-877 Safe Deposit Box Lever Lock
Fig 3
Guardian 03-877 Safe Deposit Box Lever Lock
Fig 4
Guardian 03-877 Safe Deposit Box Lever Lock
Fig 5
Guardian 03-877 Safe Deposit Box Lever Lock
Fig 6 casting marked 03-8
Guardian 03-877 Safe Deposit Box Lever Lock

S&G 4440 Safe Deposit Box Lock

This is a common lever lock where there are two keys required to open.  The tenant or renter key and the guard key (held by the bank).
These come in Right Hand and Left Hand versions depending on which way the safe deposit box door is hinged.
The tenant key is wider (8 mm) than the guard (7.1mm) key so it's clear here each key goes.
There are 6 levers on the tenant lock but only 5 levers on the guard lock.  each level is stamped with a bit number.
Key is 0.07" thick.  The tenant key mechanism has a cam at the bottom of the lever pack that's uses to retract the bolt.  The guard key, when turned, allows the tenant key to open the lock.

The 4400 series are come in right and left handed versions, but the 4500 series can be installed either way so is not handed. (S&G web page)
The 4500 series can be re-keyed without disassemble, but the 4400 series requires a lever pack change for keying. (S&G web page)

The lock barrels are slightly over 1/2" proud of the lock body so designed for a door thickness of 1/2".
The diameter of the barrel is 0.672" (17.07mm) so the hole in the door might be 11/16" (17.5mm)?

It may be the case that the guard and tenant tumblers (wafers) are the same.  The Mosler M5700 uses different tumblers for the tenant and guard functions.

Model
Comment
4400
since 1922
4442
matches Diebold 175
4443
matches Mosler 5700
4444
for B & C rate safe doors
pick & pull resistant
long throw bolt

Key Marked Sargent & Greenleaf, D 18207  (maybe bitting code (Wiki)?) 4319 (probably box number).

1431381 Adjustable lock, William F Diesel, Eugene R Weber, Sargent & Greenleaf, Oct 10, 1922, 70/385 -

Fig 1 Front view, note gates are all aligned in hole to the right,
but not at the left.
S&G
                      4440 Safe Deposit Box Lock
Fig 2  Back
S&G
                      4440 Safe Deposit Box Lock
Fig 3 Inside with tenant key,
S&G
                      4440 Safe Deposit Box Lock
Fig 4 Tenant key aligned levers, note false notches
S&G
                      4440 Safe Deposit Box Lock
Fig 5 Lock open,  Note false notches on tenant side bar,
but not on guard side bar.  A 2 stump design.
S&G
                      4440 Safe Deposit Box Lock
Tenant levers top to bottom: 2 0 1 4 4 7
Guard  levers top to bottom: 2 2 4 6 4
I think that both the renter and guard locks support up to 7 levers.
Lever Safe Deposit Locks (S&G 4400 and Mosler M5700)
Lever
                      Safe Deposit Locks (S&G 4400 and Mosler
                      M5700)

S&G 4100 & Other PO Box Locks

These PO Box locks have a similar look and feel and may or may not all be made by S&G.

Fig 1 S&G Lever Lock + Cutler Mail Chute Co., Rochester, NY
S&G
                      4100 & Other PO Box Locks
Fig 2 S&G Lever Lock + Cutler Mail Chute Co., Rochester, NY
S&G
                      4100 & Other PO Box Locks

Fig 3 S&G 4101 pin tumbler lock
S&G
                      4100 & Other PO Box Locks
Fig 4 S&G 4101 pin tumbler lock
S&G
                      4100 & Other PO Box Locks

Fig 8 S&G 4110 Series Cabinet Lock
               see patent 1431381 above
S&G
                      4110 Series Cabinet Lock
Fig 9 S&G 4110

S&G
                      4110 Series Cabinet Lock
Fig 10 The 7 wafers are all the same, the fence is adjustable.
S&G
                      4110 Series Cabinet Lock
Fig 11 S&G Locker Combination Lock
This appears to be almost the same mechanism as the PO Box lock
in Fig 7 below, except this version has 3 wheels.
S&G Locker Combination Lock
Fig 12 S&G Locker Combination Lock
The hole in the lower left and the hole in Fig 6 below
are both over the fence and so can be used to set the wheels
to the open position, but it's not clear how to determine the combination.
S&G Locker Combination Lock
Fig 13 S&G Locker Combination Lock
3 wheels
S&G Locker Combination Lock
Fig 5 2-wheel Combination PO Box lock
If you know maker let me know.
S&G
                      4100 & Other PO Box Locks
Fig 6 2-wheel Combination PO Box lock
Does not open with printed combo.
S&G
                      4100 & Other PO Box Locks
Fig 7 Combination PO Box lock
2 wheels
S&G
                      4100 & Other PO Box Locks



Post Office Box Doors Historical

Alvin

1353064 Combination-lock for letter-boxes, Adolph Olevin, Alvin Electrical Products Comp, Sep 14, 1920, 70/286 -

Barney

471262 Combination-lock, George L. Barney, Mar 22, 1892, 70/304 - 2-dial vertical, easy to use M to X & A to L
564268 Keyless Lock, G.L. Barney, July 21, 1896, 70/304 - 2-dial vertical, easy to use M to X & A to L
591045 Keyless lock, J.S. Kittle, G.L. Barney & J.L. Glough, Oct 5, 1897, 70/304 70/314 - 2-dial side-by-side, M to X & A to L

Art Novelty Co.

365177 Combination-lock, Benjamin Fey, Jun 21, 1887, 70/304 - 2- dial side-by-side M to X & A to L
380028 Combination-lock, Benjamin Fey, Art Novelty Co., Mar 27, 1888, 70/304 - 2- dial side-by-side

Am. P.O. Equip. Co.

Dec. 31, 1901  (664,827 - 690,384)
691273 Keyless Lock, Charles F. Keller, Chicago, Jan 14, 1902, 70/314 -
729945 Lock-box Front, George L Lavery, American Post Office Equipment Company, Jun 2, 1903 -

Eagle Lock Co.

Jan. 1, 1895 (531,619 - 522,501)
531656 Combination-pad lock, Joseph E. Spencer, Jan 1, 1895 - close but not for post office box
531676 Permutation-pad lock, J.J. Deal, Jan 1, 1895 - close but not for post office box
531902 Permutation-lock - not PO Box lock

Jan. 26, 1892  (446,315 - 488,975)
465315 Permutation-padlock, Epheaim R. Benefiel, Dec 15, 1891 - close but not PO Box
555336 Permutation Lock, James Roche, The Eagle lock Company, Feb 25, 1896, 70/304; 70/314 -
854427 Permutation-lock, James J Murphy, Eagle Lock Co, May 21, 1907, 70/314 - single dial A to S
988649 Permutation post-office lock, James J Murphy, Eagle Lock Co, Apr 4, 1911, 70/314 - single dial combination,

1025538 Permutation-lock, James Roche, Eagle Lock Co, May 7, 1912, -easy to change combination

Lewis C. Thompson, Indianapolis, Indiana

602114 Combination Lock, Lewis C. Thompson, Apr 12, 1898, 70/304 -

Keyless Lock Co. (Morris Lock Company, L.B. Williams Lock Co.;  Mills Kkeyless Lock Co.)

In addition to making post office box doors they also made safe coin banks (Safe Bank Collector)

2 Dial Vertical

Based on patent 551151 Dec 10, 1895.

The construction is all sheet metal, unlike the other doors that are cast.
This design uses one number per dial and is much simpler in operation than the single dial multiple number combination lock.  Note that each wheel has false gates for every dial position to defeat manipulation.

551151 Lock, Dec 10, 1895
551151
                        Lock, George L. Barney, (no company), Dec 10,
                        1895, -
Fig 1
Keyless Lock Co. (Morris Lock Company, L.B.
                        Williams Lock Co.)
Fig 2
Keyless Lock Co. (Morris Lock Company, L.B.
                        Williams Lock Co.)
Fig 7
Keyless Lock Co. (Morris Lock Company, L.B.
                        Williams Lock Co.)

349168 Combination Lock, J.H. & T. D. Morris, Sep. 14, 1886, 70/304 70/323 - 2-dial vertical
386554 Latch, J.H. & T. D. Morris, Jul 24, 1888, 292/128 70/304 - so postmaster can open door for tenant who forgot combination
351995 Permutation Lock, J.H. & T. D. Morris,  Nov. 2, 1886, 70/304 - 2-dial vertical
368543 Permutation-lock, J.H. & T. D. Morris, Aug 16, 1887, 70/304 70/328  - 2-dial vertical both A to L
380266 Lock Strike, J.H. & T. D. Morris, Mar 27, 1888, 292/341.15 292/341.18 70/304 - 2- dial side-by-side - push dial to open bolt
551151 Lock, George L. Barney, (no company), Dec 10, 1895, -

Single Dial 3 Number

This is a three number single dial combination lock, very similar to what's used on safes and vaults.  Note in Fig 8 that the fence does not have a straight face, but instead the center part sticks out so that it will always contact the center wheel when the dial has been spun.  Also note that the fence is hinged so that the position of the fence when the dial is spun is different than the position when opening.  This also means that once the bolt closes the fence comes out of the gates and rides on the center wheel.  It may be that the shape of the fence has the same effect as adding false gates?

See Ref 12 for a way to figure out the combination by manipulation.

3-1/2 x 5"

832417
832417 Keyless Lock, Clarence S Rice,
                                                          Keyless Lock
                                                          Co., Oct 2,
                                                          1906, 70/322;
                                                          70/314; 70/315
                                                          - 1-knob PO
                                                          Box
Fig 3
Keyless Lock Co. (Morris Lock Company, L.B.
                        Williams Lock Co.)
Fig 4
Keyless Lock Co. (Morris Lock Company, L.B.
                        Williams Lock Co.)
Fig 5
Keyless Lock Co. (Morris Lock Company, L.B.
                        Williams Lock Co.)

Fig 6
Keyless Lock Co. (Morris Lock Company, L.B.
                        Williams Lock Co.)
Fig 8
Keyless Lock Co. (Morris Lock Company, L.B.
                        Williams Lock Co.)

5-1/2 x 6" Pot Metal Cover
The lock body was made of pot metal and had many cracks.  The center post that supports the wheels was broken.  I was hopping to discover the purpose of the lever, but it's difficult now.  One of the wheels is frozen onto the center post, that should not happen. 
These cast lock body locks should be avoided since the have problems with cracking, breaking and freezing.  The stamped brass lock versions are far superior.

To Open Door when Combination is not known
Turn dial CCW at least 3 turns stopping when the notch on rear wheel shows in hole.  Record first combination number on dial.
Turn dial slowly CW until notch on front wheel is in hole.  Record second combination number of dial.
You can use a small screw driver to wiggle both wheels so both notches are centered in hole.

Change Combination
 Open door.  Raise lever as far as it will go.  Pull dial knob out and turn to random position, and release. Return lever to closed position.

It may be that the bolt opening knob should be in the engaged position when the dial is pulled out, but I haven't worked out if it's possible to set the two combination numbers to predetermined values.  Let me know how.

To determine the combination spin the dial CCW for a few turns then keep turning slowly and watch for the notch on the rear wheel to appear in the cutout near where the fence needs to move.  Once the rear wheel notch is at the proper position.  Note the dial position for the first number.  Then turn the dial CW and watch for the notch on the front wheel to be in the proper potions and record the dial number.

Note that there are twice as many positions as there are numbers.  For example possible positions are: 1, 1-2, 2, 2-3 &Etc.  where 1-2 means half way between  1 and 2.

832417 Keyless Lock
832417 Keyless
                        Lock, Clarence S Rice, Keyless Lock Co., Oct 2,
                        1906,


Fig 1
Keyless Lock Co. (Morris Lock Company,
                          L.B. Williams Lock Co.)
Fig 2 Notice lever above lock can not be lifted
when door is in locked position.
Keyless Lock Co. (Morris Lock Company,
                          L.B. Williams Lock Co.)


Fig 3
Keyless Lock Co. (Morris Lock Company,
                          L.B. Williams Lock Co.)


408795 Combination-lock,  J.D. Craig, The Keyless Lock company, Aug 13, 1889, - designed to be open by feel, e.g. in the dark.
414985 Permutation Lock, J.H. & T. D. Morris, Nov 12, 1889, 70/304 70/323 -
491158
Combination-lock,  J.D. Craig, The Keyless Lock company, Feb 7, 1893, - improvement on 408795
437658 Combination Lock, J.H. & T. D. Morris, MaggieG. & Henrieta Morris, Sep 30, 1890, 70/304- so postmaster can open door for tenant who forgot combination - concentric dials
698781 Permutation-lock, Joseph Arner, Calvin E Arner, Keyless Lock Company, Apr 29, 1902, - Has lever (22) but no description of its function.
832417 Keyless Lock, Clarence S Rice, Keyless Lock Co., Oct 2, 1906, 70/322; 70/314; 70/315 - 1-knob PO Box - not exactly the same as this lock but very close.

"Another feature of the invention consists of means whereby the bolt is prevented by the tumblers from being operated. Said means is in the form of a dog, which is actuated by the means which throws the bolt,‘and its operation is interfered with by the tumblers, so that the bolt-throwing means cannot be operated unless the tumblers are so set as to permit the action of the dog." 
Knob (20)
Dial (40)
Result
CW
CW
dial spins because dog (22) if clear of wheels
CW
CCW
"
CCW
CW
Dial locks up as dog (22) presses on wheels
CCW
CCW
Dial locks up as dog (22) catches gate on center wheel
894520  Permutation-Lock, Mortimer B. Mills, Mills Keyless Lock & Novelty Mfg Co, Jul 28, 1908, 70/303R; 70/28; 70/445; 70/70; 70/82; 70/DIG.21 -

2 Dial Side-by-Side

452887 Combination Lock, T.D. Morris, May 26, 1891, 70/312 70/304 70/323- 2 side-by-side drum dials - easy to change combination
597080 Keyless Lock, W.B. Holton, The keyless Lock Company., Jan 11, 1898, - 2 side-by-side dials - auto locking when closed.
            RE11679 Keyless Lock, W.B. Holton, The keyless Lock Company., Jul 19, 1898, - reissued

602114 Combination Lock,
Lewis C. Thompson, (no company), Apr 12, 1898, 70/304 - 2-knob side-by-side
601975 Permutation-lock, J.H. Morris, Apr 5, 1898, 70/304 70/133 - 2- dial side-by-side, easy to change combination
632735 Permutation-lock, J.H. Morris, Sep 12, 1899, 70/304 - 2-dials side-by-side, A to L & M to X,  improvement on 601975 where closing door locks the lock.
660018 Permutation-lock, Joseph Holt Livingstone, (no company), Oct 16, 1900, 70/314 70/304 - very similar to the above (probably not Keyless lock co) - 2-dial side-by-side N to W & A TO H

Miller Lock Co.

491053 Latch, Milton Jackson, The miller Lock Company, Jan 31, 1893, 70/156 - so door can be closed without slamming (breaking glass)

W.J. Neidl,

697651 Combination-lock, William J Neidl, Apr 15, 1902, 70/292 70/304 - 2-dials side-by-side, big 0 to 30, small 0 - 30 - large square beveled glass, bolt at top of door

Corbin

These are what the building trade would call a "pre-hung door", that's to say it's a door, with attached hinges and a frame.

Fig 1  5" overall height
3.656" overall wide.
fits into box 4-3/4" x 3-1/2"
Corbin
                      Post Office Box Door
Fig 2
Corbin
                      Post Office Box Door
Fig 3 There is a label holder, but it's empty,
the number 183 is a stencil on the front.
Corbin
                      Post Office Box Door
Fig 4 Showing the mechanism w/cover removed.
Corbin
                      Post Office Box Door
693114  Feb 11, 1902
Corbin Post Office Box Door patent 693114
738739  Sep 8, 1903
Corbin Post Office Box Door patent
                                738739


693114 Keyless Lock, Albert F Corbin, Corbin Cabinet Lock Company, Feb 11, 1902, 70/306 - 2-dial side-by-side, A to H & I to P
738739 Lock, Harry P Townsend, Corbin Cabinet Lock Company, Sep 8, 1903, 70/304 70/306 70/314  - 2-dial side-by-side,

Yale

31278 Post-office Drawer Lock, Linus Yale Jr., Jan 29, 1861, 70/86; 70/403; 70/452; 70/493 -  pin tumbler
467564 Latch Bolt, W.H. Taylor, Yale & Towne Mfg. Co., Jan 26, 1892,
70/156; 217/58; 292/2; 292/DIG.62 - Post Office Box

Fig 1: Code on key: 42242 which corresponds to the cut depths.
Fig 2: Lock code: 17638, Maybe can be translated to key code. PATENTED, JAN 26 1892, {Yale & Towne}

patent 467564
467564
                        Latch Bolt, W.H. Taylor, Yale & Towne Mfg.
                        Co., Jan 26, 1892, 70/156; 217/58; 292/2;
                        292/DIG.62 - Post Office Box
Fig 1
Yale pin
                      tumbler lock on Post OFfice Box
Fig 2 This may be the CompX C9500 - USPS 308?
Yale pin
                      tumbler lock on Post OFfice Box

Jan 26, 1892 utility patent related to PO Box door
Jan 1, 1895 Design patent related to PO Box door
403705 Lock, W..H.. Taylor, Yale & Towne Lock Mfg Co., May 21, 1889, - PO Box door - key and lever 
   
RE11152 Lock, W..H.. Taylor, Yale & Towne Lock Mfg Co., Mar 17, 1891, - PO Box door -
RE8783 Post Office Box, Yale, 1879 - swooping key pin tumbler, 312/321.5
RE9666 Lock for PO Boxes, Yale, 1881 - pin tumbler
284988 Post Office Lock Box, W. H. Taylor, Yale & Towne Lock Mfg Co., Sep 11, 1883, - key - attachment of glass to frame
303555 Post-office lock-box, Yale, 1884 - swooping key pin tumbler, 312/117; 232/24; 312/265.6; 312/287; 312/326
370166 Combined Glass Holder and Number Plate for Doors, W.H. Taylor, Sep 20, 1887, -

403705 Lock, W.H. Taylor, THE YALE a TOWNE MANUFACTURING COMPANY, May 21, 1889, - PO box - key used to change combination lock
403706
Lock, W.H. Taylor, THE YALE a TOWNE MANUFACTURING COMPANY, May 21, 1889, - PO box - key used to change combination lock
405131 Lock, W.H. Taylor, THE YALE a TOWNE MANUFACTURING COMPANY, Jun 11, 1889, - PO box - key used to change combination lock
408053 Pigeon Hole, W.H. Taylor, THE YALE a TOWNE MANUFACTURING COMPANY, Jul 30, 1889, -

486777 Post Office Lock Drawer, J.W. Harriott, Yale & Towne Mfg Co., Nov. 22, 1892, -  metal drawer eliminates problems with wood drawers (not PO Box)

D11428 Doors of post-office lock-boxes, Henry R. Towne, Yale Lock Mfg Co., Sep 23, 1879, D99/33
D11428 Doors of
                      post-office lock-boxes, Henry R. Towne, Yale Lock
                      Mfg Co., Sep 23, 1879


600900 Combination Lock, W.H. Taylor, Yale & Towne Mfg. Co., Mar 22, 1898 -
666038 Post-office depository, W.H. Taylor, Yale & Towne Mfg Co, Jan 15, 1901 -
681838 Combination-lock, Warren H Taylor, Yale & Towne Mfg Co, Sep 3, 1901, -

1665990 Combination lock, Frank Soley, Yale & Towne Mfg Co, Apr 10, 1928, 70/133, 70/445, 70/329 - sheet metal square box - dial pulls out

PO Box Dial to Key Conversion

This door started out as a single knob 3-number combination lock like the Keyless Single Dial 3 Number combination door above (note the letters surrounding the key way) and was later retrofitted with a key lock.
3293892 Lock adapter, Falk Myron PIndependent Lock Co, Dec 27, 1966, 70/493, 70/461, 70/391, 70/358, 70/370, 70/464, 70/372, 70/451 -for modernizing mortise locks so this is a specialized version of that. Referenced b 48 patents.


My guess is that the motivation for this conversion was the poor quality of the zinc (pot metal?) die cast lock cover on the early single dial 3-number combination locks.  Note it has the same look and feel from the front.

Fig 1
on key: 20374,  Independent Lock Co., Fitchburg, Mass. U.S.A., (now called Kaba-ILCO)
P.O. Dept., Do not Dup.
PO Box
                      Lock Combination Dial to Key Conversion
Fig 2
on door casting: "Ord Mfg Co.1967"
on lock: "20374"
PO Box
                      Lock Combination Dial to Key Conversion
Fig 3
Yale 1892 KeySingle dial 3-No.,  ILCO Conversion
PO Box
                      Lock Combination Dial to Key Conversion
Fig 4
Keyless Lock Co. (Morris Lock Company, L.B.
                        Williams Lock Co.)
Fig 5 pot metal cover causes lock failure
Keyless Lock Co. (Morris Lock Company, L.B.
                        Williams Lock Co.)

USPS Cluster Box Units

In 2021 mail was stolen from my rural mail box and so we opted to get a set of four USPS Cluster Box Units. 
For me the key difference is shipping boxes that would easily my large rural mail box but now fit neither the outgoing mail slot nor the small space of my assigned mail box.
I can ship a small priority box or small packages by putting them in my incoming mail box and the mailman just accepts them. 
For boxes that are too large to fit the incoming box I just request Schedule a Pickup.  As part of that you get a confirmation number.  I write that confirmation number on a 3x5 card and trap it between the mail box door and jamb so the mailman sees it today instead of the scheduled time tomorrow.

An alternative method of mailing packages that are too large to fit into my mail box is to place the package in one of the Parcel Storage lockers that has a user key locked into it and a note in my mail box telling the mailman which Parcel Locker has the outgoing package.  This works.  The only down side is that anyone who opened the Parcel Locker (it is not locked) could take the package.  But the chances of that happening are, in my opinion, extremely low.

In Fig 2 below the open door has starting at the top:
4 ea incoming mail boxes,
1ea. outgoing mail slot and the overall door opening lock
4 ea incoming mail boxes,
A Parcel Storage locker.

Outgoing Mail Slot

So far I have not used this because of "staffing issues" on some days there's no mail service.  So I put my outgoing mail into my mail box.  Later in the day when I expect to collect my new mail if my outgoing items are still in the box I remove them and drive them to the post office so this will go first thing the next day.

The postman has a key that opens both large doors and it's associated with this incoming mail slot. 

Major Problem

There is no provision for outgoing small or medium sized packages, like could be mailed by raising the red flag on a standard residential mail box.

Solution

Install a curb side USPS mail box adjacent to the Cluster Box Unit.

Mail Boxes

Although these could be different sizes it appears that all the CBU pedestals that have mail boxes use the same "A" size 12" wide x 3" high x 15" deep.  They are fitted with a Compx USPS-L-1172C National Mailbox Lock C9100 Lock and the USPS delivers 3 keys when the box is assigned.  They do not keep any keys, but you are allowed to have copies made.  It's not clear if you're allowed to replace the lock which would be easy to do.

Parcel Boxes

If I receive a package that's too big to fit into my small mail box it will be placed into one of these parcel boxes and the key to it will be placed in my mail box.  When that key is used to open the parcel box the key is captured.  The mailman has a special key that fits an adjacent lock which allows him to remove the key.  There seem to be two options on re-locking the door.  On my CBU parcel boxes the door stays unlocked with the key captured.  You can open the door if it was to be blown shut by the wind.  But inside the USPS office once a parcel box door shuts it locks and since the key is captured you would need to stand in line to get someone to re-open the box.

Fig 1 4 CBUs on concrete pad
USPS Cluster
                      Box Units
Fig 2 Delivery Doors Open (CW locks)
USPS Cluster Box
                      Units
Fig 3 Compx USPS-L-1172C National Mailbox Lock C9100 Lock
The key is mirrored from my CBU key,
but this lock could replace the one in the CBU.
Compx
                      USPS-L-1172C National Mailbox Lock C9100 Lock
Fig 4 CompX National USPS Parcel box lock

8973812 Cluster
                      box mail delivery unit having security features,
                      USPS, 2015-03-10
8973812 Cluster box mail delivery unit having security features, USPS, 2015-03-10, -
20200325709 Key capture lock, USPS,
                      2020-10-15
20200325709 Key capture lock, USPS, 2020-10-15, -

The locks have the feel of a Key-In-Knob, but the housing is specialized.  See PO Boxes above.

Note pawl (212) has point (218) that engages teeth on wheel (208) allowing it to only turn in one direction.

CompX National Catalog (compxnational_sept2020.pdf) -
page 9 covers the locks for USPS CBUs:  The C9100 (CW) and C9200 (CCW) meet USPS-STD-4C for CBU mail boxes. 
Uses the D4300 (CW) or D4301 (CCW) 5 pin tumbler key blanks shown on page 25.
page 22 covers the C7120 Heavy-duty cam for the C9100/C9200.

Keys Difficult to Install and Remove

On the USPS cluster box units and on the C9100 & C9200 new in the bag locks (each with the clip and 3 keys) the keys are very difficult to install and remove.

It turns out that when working a lock without the cam the pins may not align.  This can be tested by holding the lock body at about a 45 degree angle pressed on the edge of a table while pressing toward the bottom of the lock at the back and with the key, then working the lock.  I think this means there a lot of slop inside the mechanism.



CBS: USPS replacing universal keys to deter letter carrier robberies - Currently there are a very small number of "Arrow Keys" for all US blue collection boxes and CBU mailboxes and some have been stolen and duplicated many times.  But this article says the USPS in only deploying 12,000 Blue collection boxes with digital locks. 
https://www.cbsnews.com/colorado/#search-form: "USPS key"
2021 Aug 31: USPSOIG - Audit Reports: Arrow Key Management -  Not mentioned here, but is in the CBS reports, mailmen being held up at gunpoint to get the "arrow key".

Yale PO Box Lock

I was looking for a Parcel box lock but am not sure that's what this is.

When locked (Figures 1, 2, 3, 4) the key can be inserted or removed.  But when locked (Fig 5) the key is captured.  In the Key capture lock patent (above) pawl (212) only allows the key to turn in one direction.  That key has the same key retaining mechanism as this one.  So a second key is needed to release the pawl and free the first key.  Probably the "arrow key".

Both the lock and key are made by Yale and they are both stamped "79098".  The key blank is identical to the current key for a USPS Post Office Box in the Post Office.  But the new key is made by CompX National and is marked "U.S.P.S. Do Not Duplicate" as well as having a five digit number stamped into it.  The Yale key is also stamped "U.S.P.S. Do Not Duplicate.

It's the nature of a pin tumbler lock that once the pin shear lines match the cylinder and the cylinder is turned the pins above the key are trapped and can not move up or down so the key is trapped.

The layout of this lock matches that used in PO Boxes. The Yale pin tumbler PO Box locks have a protrusion near the face that slides the bolt.  But this lock does not have that protrusion, so uses the sheet metal part to both limit the motion to 90 degrees and to activate the bolt.  I'd guess in some USPS application since this appears to be a standard lock unit with two mounting holes.

It may be that the Commercial locks have the same form, fit and function, but the key warding is different than USPS locks?

Commercial
USPS
Rotation
C9100
910B?
CW
C9200

CCW
C9300
603B

C9400
306D

C9500
308

C9300 with mirrored keyway, so is a USPS 603B?

When locked turn CCW to open.

Fig 1
Yale PO Box
                      Lock
Fig 2
Yale PO Box
                      Lock
Fig 3
Yale PO Box
                      Lock
Fig 4
Yale PO Box
                      Lock
Fig 5
Yale PO Box
                      Lock


Diebold 17590 Safe Deposit Box Lock

I placed this lock just below the S&G 4110, above because this also is a lock that can be re-keyed by a user to match a given key.  This would greatly lower the cost of changing locks when a safe deposit box changes hands.  It seems to work the same way as the S&G 4100 so may be made under license from S&G?

This lock has 7 levers and the wafers seem to be made from spring steel instead of of a brass alloy like in the S&G 4100 above.

Note this lock case can be assembled as either a single key or a dual key lock.
YouTube LPL: [1584] Diebold 175-70 Safe Deposit Lock, 4:08 -

Fig 1
Diebold 17590 7-lever safe deposit or cabinet
                      lock
Fig 2
Diebold 17590 7-lever safe deposit or cabinet
                      lock
Fig 3
Diebold 17590 7-lever safe deposit or cabinet
                      lock

Diebold 17570-B Safe Deposit Box Lock

This is the same mechanism as the 17590 above except it's fitted with two keys.  Fig 3 above shows the levers that are also used in this lock.
The mounting hole in the lower left of Fig 1 (upper left in Fig 2) takes a shorter machine screw than the other two holes because when the bolt is extended it also covers the machine screw head.  This would prevent installing the lock unless you have keys to open it.

Dibold change tool 509 (aka 175-50) is a "T" handle hex wrench with a hole in the end (maybe some stuff in the hole).  Used on the back to un-clamp and re-clamp the levers to match a key.

Fig 1 Note lower left hole.
Diebold
                      17570-B Safe Deposit Box Lock
Fig 2
Diebold
                      17570-B Safe Deposit Box Lock
Fig 3
Diebold
                      17570-B Safe Deposit Box Lock

3978700 Safe deposit lock construction with changeable tumbler mechanism, Dwight W. Glass, Keystone Consolidated, 1976-09-07, -
4516417 Changeable keylock having tumblers with shiftable pivot seats, Joseph J. Parrock, American Standard, 1985-05-14, -
4526022 Keylock with resettable, bendable lever tumblers, Keylock with resettable, bendable lever tumblers, Joseph J. Parrock, American Standard, 1985-07-02, -

Eagle Lock Co. 4-Lever Cabinet Lock

This 4-lever cabinet lock has an expanding bolt.  These were used on pianos and roll top desks.

This may be called a Piano Lock
295270 Piano Lock,  Feank W. Mix, The cobbin Cabinet Lock Company, Mar 18, 1884, 70/79; 70/131 - List of Patent Trials
316411 [RE10361] Case for locks, H.L. Spiegal, Frank W. Mix, Apr 21, 1885, 70/448 - router instead of hand work to fit cabinet lock - List of Patent Trials
537700 Frank W. Mix, THE YALE a TOWNE MANUFACTURING COMPANY, Apr 16, 1895, 70/81; 70/79 - cabinet
551684 Lock, F.W. Mix, THE YALE a TOWNE MANUFACTURING COMPANY, Dec 17, 1895 - cabinet

Fig 1
Eagle
                      Lock Co. 4-Lever Cabinet Lock
Fig 2 4 levers
Eagle
                      Lock Co. 4-Lever Cabinet Lock
Fig 3 expanding bolt
Eagle
                      Lock Co. 4-Lever Cabinet Lock

524643 Lock, Frank W. Mix, THE YALE a TOWNE MANUFACTURING COMPANY,Aug. 14, 1894 -
551684 Lock, Frank W. Mix, THE YALE a TOWNE MANUFACTURING COMPANY, Dec 17, 1895, 70/370; 292/304; 70/451; 70/452 - includes the claws on the bolt.
197910 Drawer Lock, W.H. Taylor, The yale Lock Manumcturing Company, Dec 4, 1877, - not this lock but a lever type drawer lock.
RE8379 Lock, W.H. Taylor, The yale Lock Manumcturing Company, Aug 20, 1878, -

Eagle Lock Co. Patents

243872 Lock, W.D. Doremus, The Eagle Look Company, Jul 5, 1881, 70/134; 70/145; 70/157; 70/453; 70/DIG.27 - 4-lever, drawers, cupboards &Etc.
476559 Lock, James Roche, The Eagle lock Company, Jun 7, 1892, 70/79 - cabinet lock with claws on bolt
543316 Desk Lock,
James Roche, The Eagle lock Company, Jul 23, 1895, 70/79 - cabinet lock with claws on bolt
688052 Desk-Lock, Howard D Allen, Eagle Lock Co, Dec 3, 1901, 70/453 - easy to install with removable key guide
713244
& 713245 Detachable-cylinder desk-lock, James Roche, Eagle Lock Co, Nov 11, 1902, - 70/370; 70/451; 70/453; 70/79 - easy to install


965409 Flat-key Lock,
James Roche, Jul 26, 1910 - better location (control) of key in lock
666697 Multiple-key lock, James Roche, Eagle Lock Company, Jan 29, 1901, 70/384 - sate-deposit - easy to change keys w/o removing
944685 Lock,  James J Murphy, Eagle Lock Co, Dec 28, 1909, - Prevents "kicking" aka "carding a lock" (YouTube)  (pushing bolt open even though it's fully extended).
1006777 Master-key drawer-lock, James J Murphy, Oct 24, 1911 -

Mosler M5700 Safe Deposit Box Lock

The movement feels like metal to metal friction whereas the S&G 4400 has a smooth feel.
Another difference is that on the S&G lock the tenant key can be inserted either before or after the guard key, but in the M5700 the tenant key will not seat until the guard key is turned.

Fig 1 This is called a single stump design.
Mosler
                      M5700 Safe Deposit Box Lock
Fig 2 Note "3" to the top tenant tumbler (not bendable).
Mosler
                      M5700 Safe Deposit Box Lock



3727439  Modular key lock having lever tumblers with bendable portions (see above), Parrock J, Mosler Safe Co, Apr 17, 1973 - has the look and fell of the M5700, but uses bendable tumblers so maybe not for the M5700. 


S&G 4500 Safe Deposit Box Lock & Door

The door measures about 11" wide x 3" high.  It's fitted with a S&G 4500 Safe Deposit Box Lock.  This is the type that can be easily rekeyed.  It came with two tenant keys and no guard key.  But the guard key from another S&G Safe Deposit Box Lock should be able to work after the re-keying process.
The door is 1/2" thick, but not solid metal, but rather is made of two stainless steel sheet metal parts that are about 0.055" thick (17 guage?).  They form a box.
4462230 Changeable safe deposit lock with slidable clamped fences, Walter R. EvansSargent & Greenleaf, Inc., Jul 31, 1984 -  Fatal Flaw
This patent has a fatal flaw in that if the change screw is not tightened correctly a lock out WILL occur.  This is why the S&G 4500 shown below has been modified by removing the change mechanism and replacing it with conventional wafers.
5502990 says: "There is a danger with this (S&G 4500) solution that the code will not be fixed satisfactorily if the screw is not tightened correctly.  Another drawback with this lock is that it is not compact enough and consequently it is possible to reach the lock mechanism and "feel" the mechanism with a steel wire or the like inserted into the lock housing." - This may explain why the S&G 4500 has had the mechanism replaced with a conventional lever lock, i.e. the changeable feature has been defeated.

The 4527 is a single key version of the 4500.

Fig 1
&G
                      4500 Safe Deposit Box Lock & Door
Fig 2
&G
                      4500 Safe Deposit Box Lock & Door
Fig 3
&G
                      4500 Safe Deposit Box Lock & Door
Fig 4 Although the back of the lock is marked S&G 4500
it's clear that inside it's just a common 4400 series lock.
What's going on? let me know
The bolt may be from some other lock?
&G
                      4500 Safe Deposit Box Lock & Door
Fig 5 After the 2 screws holding the hinge are removed
the three sheet metal parts can be separated.
&G
                      4500 Safe Deposit Box Lock & Door
Fig 6 The key change screws are missing.
&G
                      4500 Safe Deposit Box Lock & Door

S&G 120 Internal Safe Door Assembly

This assembly consists of the door jam, door and lever lock.  It's inside a Herman Safe Co. safe.
If you click on the image and click again you can see the key marked Sargent and Greenleaf
and 120 on the back of the lever lock.  Note key construction is the same as the safe deposit keys above.
The lock has the look and feel of the S&G 4100 cabinet lock (S&G web page), but they may no longer offer the door assembly.

Herman
                Safe Co. SF

Hall 1863

What Is This MYSTERIOUS Doll's Tool And This Odd Brass Gauge Of Some Kind That Says Patented 1863?, 8:36 -
37290 Improvement in locks, William Hall, 1863-01-06, -
RE212 (5686) Powder-proof look, William Hall, 1852-03-30 - uses a similar key to prevent powder from getting inside the lock

Dead Bolt Locks

These are different from safe/vault locks in that there is provision to allow someone inside to get out.  That's to say the lock can not be used to hold prisoners.  A common application is a SCIF room (Wiki).
 paragraph 3.3.3 ...GSA-approved combination lock..."
5.0 Glossary "Dead Bolt:A lock bolt with no spring action.Activated by a key or turn knob and cannot be moved by end pressure."
6.1 "When a rigid side shelter or portable van is used for SCI operations, it shall be equipped with either a combination lock that meets all requirements of Federal Specification FF-L-2740 or other CSA-approved lock.The combination to the lock or keys shall be controlled by the SSO at the security level for which the T-SCIF is accredited.The shelter or van shall be secured at all times when not activated as a SCIF."

The 8410 and 8415 have brass wheels (Group 1) and the 8430 and 8435 have plastic wheels (Group 1R).

Part Number Material Description
8415-107 8400 Group 1 Deadbolt, aluminum/brass wheels (strike not included)
8435-106 8400 Group 1R Deadbolt, acetal resin & brass wheels (strikes not included)
8555-105 8500 Group 1 Deadbolt, aluminum/brass wheels (strikes not included)
8565-105 8500 Group 1R Deadbolt, acetal resin & brass wheels (strikes not included)
8497-001
No. 1 Insiwng Door Strike
8497-002
No. 2 Outswing Door Strike
8497-003 No. 3 Inswing Door Strike
8497-004 No. 9 Double Door, Outswing Strike

STRIKE PLATE STRIKE PLATE PICTURE STRIKE PLATE DIAGRAM
8497-001

Strike Plate #1

For in-swing door, inside frame mount
S&G Strike No. 1
S&G Strike No. 1
                    drawing
8497-002

Strike Plate #2

For out-swing door
S&G Strike No. 2 S&G Strike No. 2
                    drawing
8497-003

Strike Plate #3

For in-swing door, flush mount
or in-swing double doors
S&G Strike No. 3 S&G Strike No. 3
                    drawing
8497-004

Strike Plate #9

For out-swing double doors
S&G Strike No. 9 S&G Strike No. 9
                    drawing

S&G 8470 Family Dead Bolt Lock

S&G Extension 50 (S&G web page)
New In Box (NIB) marked:

Top
8470 Deadbolt
(SM 50)
With Combination Lock
ront
Locks
Strikes
Options
[x] 8415 [ ] 1
[ ] Dust Cover
[ ] 8435 [ ] 2
[x] Hard Plate
[ ] 8555 [ ] 3

[ ] 8556 [ ] 9


Side

Part Number
8415-107
Quantity 1
Documents

Installation Instructions
Model 8470 MP Adjusta-loc
(applies to the combined deadbolt and lock)

Operating & Changing Instructions for:
T8410 & T8415 Manipulation-proof Combination Locks
T8430 & T 8435 X-Ray & Manipulation-proof Combination Locks
(applies only to the Group 2 lock)

ote that the deadbolt part is a base plate with the bolt assemble and a standard Group 2 lock body is mounted on the base plate.
There are two door bolts, the main bolt (that has a couple of tapped holes on the end) and a smaller locking bolt.  The locking bolt needs to be pressed in to enable the main bolt to extend.

The door bolt can be opened any time from the inside by using the "TRUN"knob.  When working with the lock without a proper strike it is necessary to press in the small bolt in order it release the door bolt.
When the lock has been opened using the combination (Fig 6) then the "LOCK" slider can be moved to the center holding the lock in the open position.

Fig 1 New In Box
Sargent
                      and Greenleaf 8415 Deadblot Manipulation Proof
                      Dead Bolt Lock
Fig 2 Contents of this box Lock Side showing opening knob
and hard plate & Accessory kit.
Sargent
                      and Greenleaf 8415 Deadblot Manipulation Proof
                      Dead Bolt Lock
Fig 3 Packing inside box with custom cardboard stuffer.
Sargent
                      and Greenleaf 8415 Deadblot Manipulation Proof
                      Dead Bolt Lock
Fig 4 Dial Side
Sargent
                      and Greenleaf 8415 Deadblot Manipulation Proof
                      Dead Bolt Lock
Fig 5 Rear cover removed
The "Lock" slide on the cover interfers with the large screw
on the lock bolt.
Sargent
                      and Greenleaf 8415 Deadblot Manipulation Proof
                      Dead Bolt Lock
Fig 6 After opening using combination
Sargent
                      and Greenleaf 8415 Deadblot Manipulation Proof
                      Dead Bolt Lock

Combination Lock Stands

These are intended for displaying a UL 768 Group 2 combination lock or for use for manipulation practice.

On eBay there was a "Sargent & Greenleaf Inc S&G 6720 Group 2 Combination Lock sales sample display" where a wooden box was fabricated with the correct thickness to space the dial from the mechanism.  It seems wide enough to stand up by itself.

Factory Stands

See Yale on Stand above.

See S&G 8400 above

Commercial Stands

MBA
Made of plastic and comes in different colors.
The four large insert threaded holes are for mounting the lock body.
The two small insert threaded holes are for mounting the dial ring.
The two small plastic threaded holes are for mounting a dial ring.
From the front face to the back of the lock mounting bosses is 0.49". Note this is essentially the same as the plywood used for the Field Expedient Lock Stand (below).

MBA MB15-B1  Front
MBA
                        MB15-B1 Group 2 Combination Lock Stand
Back
MBA
                        MB15-B1 Group 2 Combination Lock Stand

Field Expedient Lock Stand

I want to figure out the combination on the Diebold 177-23 and so need a way to hold the dial ring in a fixed position relative to the body so used the first loose piece of wood I could find.  Nominal 1/2" plywood, but measures 0.485" (12.3mm).  Close enough to the door thickness for the Diebold 177-23.  As received was setup for RH orientation so that's the way I mounted it.

Drilled holes for:
Spindle: used a 9/16" wood drill and needed to use it a second time since I got the location of the lock body off a little.
Short body 1/4-20 mounting screws:  Used a 0.218" ( 7/32", 5.55mm) drill bit so that the short 1/4-40 mounting screws went in as self tapping.  (Note: when reinstalling these first turn CCW until you feel the screw drop, then go CW.  That way you will not strip the wood threads)
Dial Ring: Used 10-5/8 wood screws, no drilled hole, just tapped and screwed in.

This lock seems to have no built-in re-locker like the La Guard and LeFebure locks and appears to have 6 tumblers, so a good candidate for having some fun. Turns out 0nly a three number lock (Group 2).
Using a pencil mark as rear index the combination is 7-57-27.  Note that this lock uses flys so the first number is the same if you dial CW first or CCS first.  The pencil mark was placed so that it would be easy to see the gate notch approaching from either direction.
The pencil mark has the gate at 82 and when the fence drops it's at 44 the difference is 38, so that's the number to subtract.

First guess:
7 - 38 = -31 (+100=) 69
57 - 38 = 19
28 - 38 = -10 (+100=) 90
After trying a small number of numbers -1 or +2 and -2 and +2 from that found  Left 4turns to 70 - 17 - 90 that opens the lock when starting to the left.  (69 - 17 - 90 does not work)
But when starting to the right it's 68 -17 - 90 (69 - 17 - 90 does not work).
So maybe there's a problem with the fly on wheel #1?
I wonder if the positioning of the index ring would cause the asymmetry? maybe, but it's not important.

The group 2 locks open by setting the wheels in the proper position by either knowing the combination or by manipulation then turning the dial clockwise to retract the bolt.  This mean that to enter the combination you always must turn the dial counter clockwise at least 4 turns to pickup all the wheels. That would not be the case if an external handle was used to retract the bolt.  So it seems that having "flys" on a group 2 lock only serves to have something that can go wrong without any benefit.  Let me know if you see a benefit in "flys" on these locks. 

PS I've changed the combination to left 4 turns then stopping on 20, right stopping on the third appearance of 30, left stopping on the second appearance of 40, right to retract the bolt.

better to mount body a little lower and to the left.
Field
                        Expedient Lock Stand
The index mark may be off one or two, hard to say.
Field
                        Expedient Lock Stand

Prototype Display/Practice Combination Lock Stand

In process Dec 2016.  Considering different designs:
1. an "L" shape stand where the face is 90 degrees from the base so that an auto-dialer can be used or so that two stands can be used for long dial spindles.
2. a flat plate, very much like the S&G MP stand where the support legs unplug, i.e. paper doll cutout, so that it can ship in a smaller volume.
3. a combination of the above two where the base of the "L" is short with the "feet" from (2).

Aluminum "L" stand

Fig 1
Aluminum
                        "L" Group 2 Combination Lock Stand
Fig 2
Aluminum
                        "L" Group 2 Combination Lock Stand
Fig 3
Aluminum
                        "L" Group 2 Combination Lock Stand
Fig 4
Aluminum
                        "L" Group 2 Combination Lock Stand


Mechanical Combo Lock Manipulators

The Safe Manipulator TSM has nice on screen display of the position of each wheel.  smart dialer - YouTube: TSM - The Ultimate in Combination Recovery & Cracking Safes
QX3 Auto Dialer - tries all numbers (at Q Tactical)
ITL-2000II - tries all numbers - 30 hours
YouTube: Lock Picking Lawyer:
[1001] The ITL Robotic Safe Cracker! (ITL-2000) -
2021 Aug 6 - [1337] My New & Improved Robotic Safe-Cracker… ,[Auto Dialer QX3 Combi]
DEFCON 13: A Safecracking Double Feature: Dial 'B' For BackDialing and Spike the Wonder Safe 
John Kent
- Locks Menu - Thoughts on the S & G combination dial -
YouTube:
lagard 3 wheel combination manipulation - shaft encoder & laptop, but manual dial rotation - tell me more about what's on the computer screen.
YouTube:
Warning Day Lock is Dangerous...La Guard 3330 Safe Lock - Feynman method or NASCAR method of reading combination from open or day-lock.
Note the MBA EX Amp is on eBay as "The Ear Listens" or "
ear listen through wall device Spy bug Eavesdropping Wall microphone voice bug" for under $10.  The sound probe is spring loaded so some way is needed to hold it down, I used blue tape.
Book: The Art of Manipulation, by Clyde Lentz, Bill Kenton, 1955, 35 pages.

YouTube: Combo Breaker - motorized combo lock cracking device - for Master combination locks - Details -

YouTube:
byte sized engineering : 
Locraker - Automatic combination lock cracker -



20050261804 Mechanical lock manipulation device and method, John Doty, Gerald Dawson, Carl Cole, KABA-MAS, 2005-11-24, - has different methods for different brands and models.
10669742
                      Method for opening a combination padlock, Andrew
                      O. Williams, Lockheed, Priority: 1990-03-09
10669742
                      Method for opening a combination padlock, Andrew
                      O. Williams, Lockheed, Priority: 1990-03-09 10669742 Method for opening a combination padlock, Andrew O. Williams, Lockheed, Priority: 1990-03-09, SECRET or 20 Years, Pub: 2020-06-02,  - for S&G 8088, 8077AB

Fig 6, 7 & 8: dial indicator on shackle, lock on bench
Fig 9, 10 & 11: dial indicator on lock body, lock on file cabinet

4056956
Tool for determining safe lock component positions, Charles David Gilliam, New York School Of Locksmithing, Inc., Nov 8, 1977 -  maybe only for locks prior to W.W.II?

4803860 Manipulation assistance device and method, Randall L. Moore, Feb 14, 1989 - based on contact points on post W.W.II locks. " Sight is replaced by an optical scanner and target. Hearing and touch are replaced by a microphone and amplifier with a peak detector."  Manual rotation of dial.  A lever arm with a bar code scale used to measure very small angles.
Calls:
2974517 - Jacobs teaches a motorized clamp which vibrates the members of a combination until they adjust themselves into an unlocked position.
4056956 - Gilliam teaches a torque wrench type device which imparts a torque to the handle of a safe in order to determine the location of a gate relative to the tailpiece of the lock as its dial is rotated.
3694637 Method and apparatus for detecting tool wear - audio spectral analysis of the sounds made by the tool
4433563 - Wilson teaches a computer controlled motor which is driven through a series of combinations until the correct combination is stumbled upon.
2974517 Combination lock opener, Isaac Jacobs, Mar 14, 1961, 70/442 - vibration to get random motion of the tumblers

4905490 Lock combination decoder, Glenn E. Wilson, Mar 6, 1990, 70/442; 70/313; 70/446; 700/1; 700/90 - claim: less than one hour. Uses position, velocity and sound feedback.

Citations
US2974517
  Apr 21, 1958 Mar 14, 1961 Isaac Jacobs Combination lock opener
US4056956
  Jul 13, 1976 Nov 8, 1977 New York School Of Locksmithing, Inc. Tool for determining safe lock component positions
US4319223
  Jul 1, 1965 Mar 9, 1982 The Bendix Corporation Full code means for electromechanical decoder
US4377847
  Feb 17, 1981 Mar 22, 1983 Gould Inc. Microprocessor controlled micro-stepping chart drive
US4433563
  Apr 7, 1982 Feb 28, 1984 Wilson Glenn E Lock decoder - uP based
US4769583
  May 1, 1987 Sep 6, 1988 General Motors Corporation Motion control system with minimum time path generation
US4777603
  Mar 8, 1985 Oct 11, 1988 Cybermation, Inc. Controller for multiple-axis machine
US4803860
  Jul 24, 1987 Feb 14, 1989 Moore Randall L Manipulation assistance device and method

Referenced by:

US5184491
  Jul 19, 1990 Feb 9, 1993 Theodor Kromer Gmbh & Co. Kg Spezialfabrik Fur Sicherheitsschlosser Combination lock with motor-driven tumblers
US5477608
  Nov 9, 1993 Dec 26, 1995 Bernhard Schafer Werkseug-Und Sondermaschinenbau Gmbh Apparatus for connecting a wire to a contact element
US5678436
  Nov 28, 1995 Oct 21, 1997 Alexander; Curtis Earl Remote control door lock system
US7267018
  Jul 6, 2005 Sep 11, 2007 Kabushiki Kaisha Honda Lock Steering lock system inspection device
US7694542
  ul 21, 2005 Apr 13, 2010 Stanton Concepts Inc. Tool operated combination lock
US7712342
  Oct 21, 2005 May 11, 2010 Stanton Concepts Inc. Tool operated combination lock
US20050261804
  May 21, 2004 Nov 24, 2005 John Doty Mechanical lock manipulation device and method
US20060016230
  Jul 21, 2005 Jan 26, 2006 Stanton Concepts Inc. Tool operated combination lock
US20060021402
  Jul 6, 2005 Feb 2, 2006 Kabushiki Kaisha Honda Lock Steering lock system inspection device
US20060096343
  Oct 21, 2005 May 11, 2006 Stanton Concepts Inc. Tool operated combination lock
US20080209959
  Mar 3, 2008 Sep 4, 2008 Natalee Russo-Amati Key Actuation Mechanism
US20090280862
  May 29, 2009 Nov 12, 2009 Stanton Concepts Inc. Tool Operated Combination Lock
US20100194526
  Mar 22, 2010 Aug 5, 2010 Stanton Concepts Inc. Tool Operated Combination Lock
US20100194527
  Mar 22, 2010 Aug 5, 2010 Stanton Concepts Inc. Tool Operated Combination Lock
US20140245798
  Mar 4, 2013 Sep 4, 2014 Christopher V. Beckman Add-Lock
CN103912159A
  Apr 25, 2014 Jul 9, 2014 广州市亚太天能信息技术有限公司 Back locking method of door lock
EP2025840A1
  Jul 31, 2007 Feb 18, 2009 Franck Haddadi Device designed to allow opening without destroying the lock

20050261804 - a couple of methods for half a dozen lock models - Loc Tech Tools Inc, SoftDrill - Inject Transducer & Response Transducer
Citations

US4319223
  Jul 1, 1965 Mar 9, 1982 The Bendix Corporation Full code means for electromechanical decoder
US4433563
  Apr 7, 1982 Feb 28, 1984 Wilson Glenn E Lock decoder
US4494805
  Nov 29, 1982 Jan 22, 1985 Glen E. Beymer Equipment locker
US4803860
  Jul 24, 1987 Feb 14, 1989 Moore Randall L Manipulation assistance device and method
US4905490
  Aug 25, 1988 Mar 6, 1990 Wilson Glenn E Lock combination decoder
US5184491
  Jul 19, 1990 Feb 9, 1993 Theodor Kromer Gmbh & Co. Kg Spezialfabrik Fur Sicherheitsschlosser Combination lock with motor-driven tumblers
US5873276
  Aug 28, 1996 Feb 23, 1999 Mas-Hamilton Group Keypad entry electronic combination lock with self-generated combination
US20040211233
  Apr 28, 2003 Oct 28, 2004 Lockmasters, Inc. Mechanical combination lock

Referenced by:

US7267018
  Jul 6, 2005 Sep 11, 2007 Kabushiki Kaisha Honda Lock Steering lock system inspection device
US7484777
  Jun 30, 2006 Feb 3, 2009 Sargent Manufacturing Company Electronic push retraction exit device
US7883123   Jan 28, 2009 Feb 8, 2011 Sargent Manufacturing Company Electronic push retraction exit device
US8495836   Aug 27, 2009 Jul 30, 2013 Sargent Manufacturing Company Door hardware drive mechanism with sensor
US20060021402
  Jul 6, 2005 Feb 2, 2006 Kabushiki Kaisha Honda Lock Steering lock system inspection device
US20080012350
  Jun 30, 2006 Jan 17, 2008 Condo Mark A Electronic push retraction exit device
US20090127869
  Jan 28, 2009 May 21, 2009 Sargent Manufacturing Company Electronic push retraction exit device
US20110047874
  Aug 27, 2009 Mar 3, 2011 Sargent Manufacturing Company Door hardware drive mechanism with sensor
WO2008010876A3
  Jun 5, 2007 Mar 13, 2008 Sargent Mfg Co Electronic push retraction exit device
WO2013124628A1
  Feb 15, 2013 Aug 29, 2013 Nedwell Jeremy Method, apparatus and transducer for use in determining the cut of a mechanical lock
WO2013124629A1
  Feb 15, 2013 Aug 29, 2013 Nedwell Jeremy Method, apparatus and transducer for use in determining the cut of a mechanical lock

Drilling


4261093 Tool and method for gaining legitimate entry into a locked enclosure, Robert G. Steffen, David L. Gregory, Dyna-Bolt Corp, 1981-04-14, - safe deposit boxes

4307983 Apparatus for gaining access to enclosures secured by cylinder locks with minimum damage to internal lock elements, LeVone A. Blough, David L. Gregory, Dyna Bolt Corp, 1981-12-29, - for drilling post office boxes

4339863 Lock opening tool, Andrew Block, 1982-07-20, - drilling mortice cylinder

4447176 Template for mortice cylinder lock removal, LeVone A. Blough, David L. Gregory, 1984-05-08, -

4714386 Locksmiths' method and apparatus for combination safes, Peter J. Phillips, Lockmasters Inc, 1987-12-22, - for mechanical safes

4865493 Apparatus and method for opening combination safes, J. Clayton Miller, Lockmasters Inc, 1989-09-12, - for mechanical safes

5454245 Apparatus and method for removing side-bar automotive ignition locks without damage, Frank Markisello, 1995-10-03, - many cites & cited by drilling patents

5713225 Apparatus and method for opening a padlock, Floyd Bert Smith, 1998-02-03, -

Electronic Combination

Fed Spec FF-L-2740A Combination Locks - 15 page spec

It applies to combination locks used on filing cabinets such as Fed Spec: AA-F-358
It references UL 768 combination lock standard, group 1R
If the combo is lost it's possible to, with box open, enter a new combo, but not to recover the old combo.
Not possible to allow for dialing one number like on a mechanical dial where it's turned a little from the final number and left there making it very easy to re-enter.
Spindle length between 0.5 and 3.5" long

Kaba Mas X-07

The Kaba Mas is a very interesting lock and may be the highest security lock mechanism.  But the overall security of what it protects would also depend on it's installation and combination control procedures.  See Ref 8.

There is a stepper motor attached to the dial.  When the lock has been sitting for some time the internal super capacitor is discharged and the lock powered down.  There are no internal batteries.

When you spin the dial the stepper motor works as a generator and charges up the super capacitor powering up the lock.  Then you dial in the combination, but without the "counting turns" hassle used on a mechanical combination lock.  For example you turn left to 11, then right to 22 then left to 33 then right to retract the bolt.

Label:
UL Listed, High Security Electronic Lock
Type 1F 4R95 s/n D-xxxxxx
FF-L-2740A
Model X-07 - U.S. Pat 5,061,923 and other U.S./Foreign Patents
Mas-Hamilton Group
Lixington, KY U.S.A.

Patents
5061923  Computerized combination lock, James C. Miller, Michael P. Harvey, C & M Technology, Inc., Filed: Sep 29, 1988, Pub: Oct 29, 1991, 340/5.31, 341/35, 340/5.73, 340/5.55, 340/5.32, 70/278.4 - 3 Figures: Lock on top file drawer, top view of dial, block dia w/stepper motor/generator.  does not have the high security flow diagrams of

5517184 Electronic combination lock with high security features, J. Clayton Miller, Gerald L. Dawson, Daniel L. Thompson, Michael P. Harvey, C and M Tech, 1996-05-14, -

6911897 Electronic combination lock with high security features, J. Clayton Miller, Michael P. Harvey, C&M Technology, Inc., Filed: Sep 29, 1988, Pub: Jun 28, 2005 (almost a 20 year delay) - uses a stepper motor as a generator so no batteries are needed. - 22 patents reference this one.  This and the above probably are the XO-7. 20 Figures - 93 patents reference this one.

Documents
Installation Instructions for the X-07/CEX-07 High Security Electronic Lock Type 1F, Doc. No. 001.123 Rev. D 11/98
Operating Instructions for the X-07CEX-07 High Security Electronic Lock (Type
1F), Doc No. 000.111 Rev. D  11/98
X-07 Troubleshooting Guide, Doc. No. 041.018 Rev. B 01/98

Photos

Fig 1  Box as received
Kaba Mas
                        X-07 High Security Combination Lock
Fig 2 Factory foam packing
Kaba Mas
                        X-07 High Security Combination Lock
Fig 3 Dial assembly and lock assembly
Kaba Mas
                        X-07 High Security Combination Lock
Fig 4  The polyimide flex circuit cable (Wiki)  has a 4 terminal end
and also a 5 terminal end.  They go in sockets with the matching
number of contacts in the rubber block (which just pulls out of the
metal clip and splits open).
Kaba Mas
                        X-07 High Security Combination Lock
Fig 5  Shown with the bolt pointing up since it apparently does
not have a return spring.  A motor pushes the bolt out.
Kaba Mas
                        X-07 High Security Combination Lock
Fig 6 Change Key
This is just a "U" shaped gold plated 0.98mm dia. wire.
3.25mm c-c?
Kaba
                        Mas 107061 Change Key

YouTube: if the generator died, you could destroy the knob and remove the two screws that hold the front cover on. Then, you could reattach a functioning generator and spin the hub to get the lock open. I have seen this done once."How Safecrackers Can Unlock an ATM in Minutes—Without Leaving a Trace, Aug 9, 2019 - Only for Kaba Mas Cencon & Auditcon locks.

Padlocks

20 May 2017 Group of Padlocks
20 May 2017
                      Group of Padlocks
Yale 633 & No. 25 key
Yale No. 39 RR
Yale 805F (my 2nd)
Keline CMSTP&P RR w/key
Fraim DL&W RR w/key
Valiant w/key
Grobin (fake Corbin)

YouTube: LockPickingLawyer: [471] The Top Ten Biggest and Baddest Padlocks -

No.
Wt
Mfg
Model
Core
LPL
1
4# - 14oz
Squire
SS80CS
Mauer
NW4
[371]
2
4# - 12oz
Hi-Shear
LK1200
Medeco
3
4# - 5oz
Mul-T-Lock E18H
Mul-T-Lock
Interactive
[329]
4
4# - ?
Mul-T-Lock
C16
Mul-T-Lock
Interactive
-or-
MT5+
[235]
5
3# - 8oz
Kasp
19070X
Euro
------
Mul-T-Lock
MT5+
[200]
6
3# - 7oz
ASSA
Ruko 4-5
ASSA
Twin Max

7
3# - 7oz
S&G
831
Medeco

8
2# - 14oz
Rotalok

Kaba
20
-------
Ikon
R10
(MT5+)
[250]
[860]
9
2# - 13oz
Abloy
362


10
2#
ABUS
37RK/80

[548]

It turns out that to get high security using a padlock the hasp also needs to be high security.  That's to say if you install a high security padlock on your existing hasp the security will be severely compromised.
There are a number of high security hasp patents to cover this. 

Patents

869475 Padlock, Arthur F Bardwell, Yale and Towne, 1907-10-29, - Bardwell invented a key duplicating machine, see: 866418.
893316 Padlock, Charles A Erichson, Yale and Towne, 1908-07-14, -

Characteristics

This is an idea of how to classify locks by using their characteristics.

Body Shape: Rectangular, Circle, Heart, &Etc.
Body Size: width in mm.
Weight:
Shackle: diameter is mm
Key Operation: (not mentioned = key turns), Push Key (non turning, See Yale Push Key), Lever Push Key (non turning, see Lever Pancake Locks).
Shackle Motion: (not mentioned = Spring Up then manual rotate, Rotate (see: USPS Counter Padlock), Push Up then Rotate (see Yale Push Key)
Locking Mechanism: Key, Combination, Puzzle
Key Location: Front center, Front bottom, Bottom Center, Bottom Left, Bottom Right (shackle pivot on right), 5:00 O'clock, 6:00 O'clock, 3:00 O'clock.
Key Type: flat, warded, push, barrel or pipe, solid, &Etc.

Master 1500iD

This lock gets good reviews in that it's more secure than the classical Master locker combination lock and it's much easier to use, so good value.

Fig 1
This is a mechanical lock that works by pushing the knob Up, Right, Down or Left in a sequence.

Master
                      1500iD

6718803 Combination lock, Yehonatan Knoll, Knollan Ltd., Apr 13, 2004 -
So far it has not opened.  Maybe there is a backup combination?

What are the numbers at the left counting down from 10 with 5 magnified? security level, but not of much meaning
Fig 2  Does not open.
I thought someone might have opened the lock and changed it's combination, but the seal on the back of the lock looks intact, so the problem is at the factory.
Master
                      1500iD
It appears that there's no way to try out a new combination after it's been set, like on a safe where you can test it with the door open.  Here you are committed to the change and there's no way to confirm it was done correctly.  This applies when the factory sets the combination used to ship the lock.

Idea:  Early safes may have had a problem with vibration causing the disks to rotate so the notch was up, and if the bar was at the 12:00 o'clock position the safe could just be opened.  Applying some tension to the wheel pack solved that.
In this case maybe the vibration associated with shipping causes scrambling of the set combination?
Fig 3  Received a pair of replacement mechanical locks.
Master
                      1500iD
Fig 4
Master
                      1500iD
Fig 5  After pressing the shackle down a couple of times (to zero the lock)
then Left, Down, Down, Left and pulling up the lock opened the first time.
Master
                      1500iD


Master 1500eXD Padlock

This is an electronic version of the 1500iD (above) padlock. It has the Speed Dial action.

Battery Failure:
1. If the CR2032 coin battery fails while the 1500eXD is locked then . . .
2. Open the battery drawer a little way and insert just the edge of a CR2013 battery (+ up) to jump start the lock.

1. If the it's been 4 or 5 years and you want to replace the CR2032 battery then....
2. Unlock the 1500eXD and open the shackle, then pull the battery drawer all the way out

Fig 1
Master
                      1500eXD Padlock
Fig 2
Master
                      1500eXD Padlock
Fig 3 Note battery drawer at bottom.
Master
                      1500eXD Padlock

Fig 4 Battery drawer open
to change batt.  Note: slot
below battery for jump start.

Master
                      1500eXD Padlock
Fig 5
PROBLEM
Can not close battery drawer!
This is as far closed as it will go.
Master
                      1500eXD Padlock

Patents shown on back (Fig 2):
7708340 Padlock display package
7516843 Padlock display package
7743917 Padlock display package
8453481  Padlock, Glenn P. Meekma, Master Lock Company Llc, filed: Jul 15, 2010, Pub: Jun 4, 2013 - electronic version of 1500iD
D685252 Lock - design only
D685250 Lock - design only
D673836 Lock - design only
D688546 Lock - design only

Master Lock (Wiki)
1490987 Lock Casing, Soref Harry E, Apr 22, 1924, 70/52, 70/38.00C -laminated metal case
The military uses a high security padlock to keep the SINCGARS radios from being stolen from HMMWVs.

S&G Environmental Padlock (0881)

This lock is designed to survive outdoors in harsh environments.  The lock mechanism is not a pin tumbler, but rather an Abloy disk tumbler (Wiki) type.
Bosnia Bill says there are only 3 active tumblers, the key that came with this lock has 6 cuts.

Fig 1
S&G Environmental Padlock
Fig 2
S&G Environmental Padlock
Fig 3
S&G Environmental Padlock

4359886 Key
                      lock cylinder for possibly contaminated
                      environments,Walter R. Evans, Gary R. Murphree,
                      Shelly M. Osborne, S&G, 1982-11-23
4359886 Key lock cylinder for possibly contaminated environments,Walter R. Evans, Gary R. Murphree, Shelly M. Osborne, S&G, 1982-11-23 -

Related, not sure where 4651546 is used.
4651546 High security rotary disc, pin tumbler type cylinder lock, Walter R. Evans, S&G, 1987-03-24, -  rotary disc tumbler and pin tumbler type
Let me know which lock this key fits.

YouTube: bosnianbill:

(62) How to Pick Sargent & Greenleaf Model 0881 Environmental Padlock - details on the 17 possible key cuts (the rest were eliminated because they would allow removing the key when unlocked).
 (120) How to Make a Key for the Sargent & Greenleaf Environmental Padlock Model 0881 -
Lock Picking Lawyer:


Sargent and Greenleaf web page
4359886 Key lock cylinder for possibly contaminated environments, Walter R. Evans, Gary R. Murphree, Shelly M. Osborne, Sargent & Greenleaf, Inc., Nov 23, 1982 -
4651546 High security rotary disc, pin tumbler type cylinder lock, Walter R. Evans, Sargent & Greenleaf, Inc., Mar 24, 1987 -  

S&G High Security Padlocks

826

Similar to the 831 below, except instead of the key core cover being a drawer on the side of the padlock, it's on the top of the lock under the side of the shackle that opens.

831

This is an S&G 831B-X01-USA high security padlock. The lock is made by Meedeco (Wiki).

Fig 1
S&G
                      831B-X01-USA high security padlock
NSN: 5340-01-188-1560
831B-X01-USA
High Security Padlock
Quantity   1 Each
DLA500-87-D-0172 ($3.2 million S&G contract)
C                             10/88
Fig 2
Patent 3713309
S&G
                      831B-X01-USA high security padlock
Fig 3
Sargent & Greenleaf Inc.
Licensed Under  US Patent 3638460
1986
Ingersoll, US
831B-M-1
1988

S&G
                      831B-X01-USA high security padlock
Fig 4
S&G
                      831B-X01-USA high security padlock
Fig 5 The control key allows removing the lock body slide.
S&G
                      831B-X01-USA high security padlock


3713309 Key operable padlock with slidable seal for plug, Miller H, Sargent & Greenleaf, Filed: Nov 4, 1971,Pub: Jan 30, 1973 , 70/38A; 70/369; 70/52; 70/417-
3638460 Locking bars, Berry Daniel Victor, Knott Stanley Gerald Thomas, Ingersoll Locks Ltd, Filed: Jan 3, 1969, Pub: Feb 1, 1972, 70/52; 70/39 - (Ingersoll Locks, UK)

833

3572064 Padlocks, Daniel Victor Berry, Stanley Gerald Thomas Knott, Ingersoll Locks, 1971-03-23, 70/52; 292/281 - padlock plus shackle
3638460  see above
4776187 Changeable key cylinder exposed shackle padlock, Walter R. Evans, Gregory C. Lainhart, S&G, 1988-10-1, 70/38A; 70/369; 70/52 - European door type core?
4763496 see below

YouTube: Lock Picking Lawyer: [687] U.S. Military “Miracle Lock” with Ingersoll 10-Lever Core Picked and Gutted, 9:10 - 

951

This padlock has the "Z" shaped removable top.  Has embedded ceramic rods to slow down drilling and grinding

YouTube: Adrian Weber: Sargent & Greenleaf 951 Military Padlock - Sargent & Greenleaf 951 Military Padlock Core -
Table compiled from LockPicking101
Model
NSN
Keyway
Customer
951
5340-01-510-2351 D4
Navy & USMC
951
5340-01-217-5068 D4
US Military outside US
951
5340-01-449-4346 R1
Federal agencies & DOD
951C
5340-01-585-7691 S1
Civilian - non restricted

3710603
Key operable padlock with rotatable seal for plug
4102162 Padlock having guided wedges for resisting destructive wedge attack
4107965 Padlock having knuckle type anti-wedge-attack structure
4241594 Slide cover type changeable key plug padlock  
4763496 High security changeable key cylinder type shackle padlock - to be used with hasp 3572064, 3759557, 36384603744280, Locking bars for high security padlocks

American Lock

This is a low security padlock (DLA).
I think this is mismarked, it should be NSN:  5340-01-588-1596 (solid body).  NSN: 5340-00-292-0904 is for a laminated body padlock.  The equivalent commercial nomenclature is American Lock No. ASL40 N MK W27 B SBC USS 15-10-5).
This NSN shows up on Google with a Master Lock laminated type lock.
The Specification: A-A-59486A lists two dash numbers and -1 has a shackle to body dimension of 0.688 to 1.188" and this lock is about 0.725" so might be the -1 version.
These padlocks can have master and grand master keying.



Fig 1 American Lock M112C Padlock
NSN: 5340-00-292-0904
Date: 05/2006
American Lock
                      M112C Padlock NSN: 5340-00-292-0904
Fig 2 "SET,  U.S., M112C"
American Lock
                      M112C Padlock NSN: 5340-00-292-0904
Fig 3 American LockTM
American Lock
                      M112C Padlock NSN: 5340-00-292-0904

Fig 4 Series 5200 Padlock
American Lock
                      Series 5200 Padlock
Fig 5 5200 padlock used with this bracket
to secure RT-1439 SINCGARS radio.
RT-1439 SINCGARS
                      Radio lock bracket
Fig 6 Showing lock in use.
Lock
                      Installed

Seal Lock

The idea is to have a seal that's damaged when the key is inserted.  That way you can see the seal is broken.  Note that the USPS went from using Counter Padocks to just seals (i.e. no locking) to maintain the tracking of registered mail.
LockPickingLawyer: [1258] Sometimes I Forget How Good Bike Locks Have Become - 0:34: Slaymaker US B.I.R. Seal Lock, Bureau of Internal Revenue.

Slaymaker Bureau of Industrial Alcohol (B.I.A.) Seal Padlock

Slaymaker has a padlock marked U.S. B.I.A. Bureau of Industrial Alcohol (that was at the time of the Civil War) that is a seal type padlock.
Have sent the padlock to Economy Lock & Key in Santa Rosa, CA to have a key fitted (2021 Dec 22).  This is holiday season, but it may take awhile.

laymaker Bureau of Industrial Alcohol
                      (B.I.A.) Seal Padlock
On order.  Looking on info to make a key.
Photo from RestraintsBlog - US IRS -

Has the look and feel of a Yale RR 039 is same as the Keline.

Fig 1 It looks like a mouse made a nest inside the lock.
But that's not possible.  It's really chads from the broken seals.
Slaymaker
                      Bureau of Industrial Alcohol (B.I.A.) Seal
                      Padlock
Fig 2
Post dia: 0.216"
Surrounding hole dia: 0.364"

Slaymaker
                      Bureau of Industrial Alcohol (B.I.A.) Seal
                      Padlock
Fig 3 photo from WorthPoint
Note the pre-cut hole for the tang at the top.
The cover has been closed and then the key used to open it.  I expect the seal has a sticky back like on a postage stamp.  That would explain it surviving the close-open cycle.

I tried using a 1c postage stamp and it deformed like shown below.
Slaymaker
                      Bureau of Industrial Alcohol (B.I.A.) Seal
                      Padlock
Fig 4 Noe pocket for stamp.
min ID of key: 0.226"
Slaymaker
                      Bureau of Industrial Alcohol (B.I.A.) Seal
                      Padlock
Fig 5  this was made to fit into the pocket.
The slot for the tang is not symmetrical.
Slaymaker
                      Bureau of Industrial Alcohol (B.I.A.) Seal
                      Padlock
Fig 6 Three tries
1. Wide mangled
2. Inside pocket still on cover
3. 1c stamp deformed by pocket
Slaymaker
                      Bureau of Industrial Alcohol (B.I.A.) Seal
                      Padlock

The Making of B.I.A. Key
email from locksmith at Economy Lock & Key:
"Good afternoon Brooke and happy new year! I wanted to let you know that I received your padlock last week and began working on it. I unfortunately do not have any blanks for this style of padlock nor are any remanufactured for these. I however found a bit of information online in regards to the style of blank and operating instructions. I love a good puzzle and this padlock is too cool to not attempt to find a way to manufacture a key blank. I found a piece of brass stock from a pull bar that had plenty of meat for me to start with and began to work the material down into a workable blank. This project quickly became well over the $100 mark but I just wanted to see if it was possible to manufacture my own blank. I am happy to report that I finished your key New Year’s Eve and am happy with how it came out. I wanted to put this in writing for you and send you some pictures of the process. I hope you enjoy the key as much as I enjoyed making it!
Thanks for the fun project!"
Fig 10
Slaymaker
                    Bureau of Industrial Alcohol (B.I.A.) Seal Padlock
Fig 11
Slaymaker
                    Bureau of Industrial Alcohol (B.I.A.) Seal Padlock
Fig 12
Slaymaker
                    Bureau of Industrial Alcohol (B.I.A.) Seal Padlock
Fig 13
Slaymaker
                    Bureau of Industrial Alcohol (B.I.A.) Seal Padlock
Fig 14
Slaymaker
                    Bureau of Industrial Alcohol (B.I.A.) Seal Padlock
Fig 15
Slaymaker
                    Bureau of Industrial Alcohol (B.I.A.) Seal Padlock
Fig 16
Slaymaker
                    Bureau of Industrial Alcohol (B.I.A.) Seal Padlock



Seal Lock Patents
Class 70 Locks
/46: Padlocks - key-controlled -  rigid shackle - pivoted - swinging detent - Free end only engaged
/50: Portable - Padlocks - with seal
/408: Key - Operating elements - Keys - Bow or Head
/423: Key - Tampering prevention or attack defeating - keyhole guards


27524 Sealing-lock for railway-cars, James Clark, 1860-03-20, 292/282 - lead disk clamped on twisted wires. -

35868 Seal-locks for mail-bags, Jean R. Boubilla, 1862-07-15, 292/307R -
44757 Seal Lock, James E. Thompson,
                      1864-10-18
44757 Seal Lock, James E. Thompson, 1864-10-18, 70/50 70/423-

51434 Seal-lock, H.W. Dopp, 1865-12-12, 292/328 - RR car

57539 Seal-lock, Ward McLean, 1866-08-28, 70/50; 70/46 - padlock, paper seal must be broken to access keyhole.

81203 Seal-lock, O.S. Pease, 1868-08-18, 70/50 - hand tool to set eyelet instead of locking mechanism

81204 Seal-lock, O.S. Pease, 1868-08-18, 70/50; 70/423 - padlock, with keyhole cover bar extended to that it can be sealed with an eyelet

93371 Seal-lock, Thomson & Tillinghast, 1869-08-03, 292/328; 411/937.1 - for boxcars, multiple seals for each station.

95204 Seal-lock, John Dewe, 1869-09-28, 292/327; 70/65 - pin in belt
97127 Padlock, Thomas Slaight, 1869-11-23, -
                      lever padlock, not seal, This is the Slaymaker
                      Bureau of Industrial Alcohol padlock.
97127 Padlock, Thomas Slaight, 1869-11-23, 70/46 - lever padlock, not seal, This is the Slaymaker Bureau of Industrial Alcohol padlock.

98917 Seal Lock, FranklinW. Brooks, 1870-01-18, 70/50; 70/43; 70/46; 70/53; 70/423; 292/329 - strap between shackle and body of padlock.
99831 Seal Lock, Franklin W. Brooks,
                      1870-02-15
99831 Seal Lock, Franklin W. Brooks, 1870-02-15, 70/50 70/423 -
109718 Seal
                      Lock, Joseph Corbett, Franklin W. Brooks, American
                      Seal Lock Co, 1870-11-29
109718 Seal Lock, Joseph Corbett, Franklin W. Brooks, American Seal Lock Co, 1870-11-29, 70/50 70/423 -
141519
                      Seal-Locks,Thomas Slaight, 1878-08-05, - This is
                      the Slaymaker Bureau of Industrial Alcohol
                      padlock.
141519 Seal-Locks,Thomas Slaight, 1878-08-05, 70/50; 70/46; 70/408 - This is the Slaymaker Bureau of Industrial Alcohol padlock.
151748
                      Seal-Locks, Franklin W. Brooks, 1874-06-09
151748 Seal-Locks, Franklin W. Brooks, 1874-06-09, 70/50 70/46 70/408-
272769 Seal
                      Lock, John C. Rae, 1883-02-20
272769 Seal Lock, John C. Rae, 1883-02-20, 70/50; 70/43 -

Clarke Combination Seal Lock Co. Baltimore, M.D.

Saw this at Restraints Blog - and since it has my family name correctly spelled and patent dates I can't resist finding the patents.
Note that Henry Clarke, the inventor of this seal padlock, is also the inventor of the postal Counter Padlock.

Clarke Combination Seal Lock Co
Clarke Combination Seal Lock Co Photo from eBay seller ezmoneyauctions.

The first application of the Clarke combination lock was on an umbrella (109386).

09386 Umbrella
                      (Lock), Henry Clarke, 1870-11-22
109386 Umbrella (Lock), Henry Clarke, 1870-11-22, 70/59; 70/298 - "...the umbrella may be conveniently locked when closed, so that no one, except the owner or some one knowing the combination, can unlock and open the um brella..."

135523  Combination Locks, Henry Clarke, 1873-02-04, 70/298 -tumblers (d) are similar in all the Clarke combination lock patents.
164522
                      Combination Seal-Lock, Henry Clarke, 1875-06-15
164522 Combination Seal-Lock, Henry Clarke, 1875-06-15, 70/440 -

The seal is broken when the tumblers are elevated prior to entering the combination.

Improvements to 135523 which was Reissued (RE5497).

RE5497 Combination Locks, Henry Clarke, 1873-06-22, 70/298 - was 135523

RE6959 Combination-Lock, Henry Clarke, (H. Clarke) The Clarke Lock Co, 1876-02-29, 70/298 - was 109386
Fig 1: Front
Fig 2: Vertical section at centerline of drum (x-x).
Fig 3: Horizontal section at bottom of drum (y-y).
Fig 4: tumbler (slide) details.
Fig 5: Horizontal section of drum center at z-z Fig 2.
Fig 6: modified version of lock

Counter Padlock

These were used by the USPS on bags of registered mail.  The lock has a serial number and Veeder Root counter.  The shackle rotates in only one direction and so each rotation advanced the counter by one. These are really tamper seals so that the person receiving the locked bag knows it has not been opened.  By signing the log the person accpeting the locked bag acknowledges that the counter shows the same count as the prior person signed for.  Note while these locks are easy to pick, that causes the counter to increment to the next number, hence you know the lock was opened.  Note that when the lock reaches 9999 it jams.  That prevents someone opening the lock to bring the number back to the starting number.

These were used with "registered mail pouches" for example see https://www.riverjunction.com/4935 - a belt is threaded through loops the close the opening.  It can be easily be defeated by cutting the bag or belt, but that would be obvious to the next person to receive the bag pointing the finger and the prior person on the list of signatures.

The guys at my local post office called these "rotary locks" and said they quit using them around 2001.  They now use seals (Wiki).

YouTube: LockPickingLawyer: [285] Two Registered Mail "Counter" Padlocks Picked and Gutted - two designs, both are 3 pin tumbler types.
(1034) Antique Registered Mail Lock (Thanks LPL!) -

This is a "D" series Registered U.S. Mail lock that was used in the 1930s during the FDR process of reclaiming gold coins and bullion so they had a different key than the key used for ordinary registered mail.  After the gold was reclaimed these locks were opened and rekeyed (see the etched "R" added in front of the stamped "D" in Fig 2 below.  The RD locks used the standard registered mail key. (See Antique Padlocks for reference)

Fig 1 Counter at 0165
USPO USPS
                      Counter Padlock
Fig 2
USPO USPS
                      Counter Padlock
Fig 3 Key must be < 0.058 thick and <0.382 wide <1.78 long
The S&G Safe Deposit Box lock key is 0.068, too thick to fit.
USPO USPS
                      Counter Padlock
Fig 4 The key for a Mosler Safe Deposit Box is a good fit.
0.057 thk x 0.375 wide x about 1" long.
USPO USPS
                      Counter Padlock
Fig 5 Single Pin Picked
Note that in use picking and opening
will cause the counter to increment
so the tamper seal aspect works.
1/4 turn from locked.
Now counter is 0166.

USPO USPS
                      Counter Padlock

Fig 11 "R" series lock
USPO USPS
                      Counter Padlock
Fig 12 This key sort of works in the above lock.
Maybe removing all the burrs would help?
USPO USPS
                      Counter Padlock


This may be the key patent
220124
                      Lock, H. Clarke, Sep 30, 1879, disk counting
                      wheels

220124
                      Lock, H. Clarke, Sep 30, 1879, disk counting
                      wheels
Two patents were granted on the same day with consecutive numbers 536195 and 536196.

The 536196 has a look and feel of this lock.

536196
                      Indicator-lock, Joseph M. Edgar, Smith & Egge
                      Mfg. Co., Mar 26, 1895, 70/437 70/403 70/455 70/50
                      -


171250 Mail-Bag, P.S. Thomson, Dec 21, 1875, - List of Patent Trials

Looking for patent for the above Registered U.S. Mail padlock.  The patents below cover the register lock idea.
13753 Indicator Lock, Nov 6, 1855, D.W.G. Humphrey, - how many times a PO box has been opened.
398157 Mail-bag lock, T.W. Ivory, 1889-02-19
879747 Permutation Padlock, Henry F Crim, William C Loy, 1908-02-18 - eBay marked: Rochester Safety Lock Co. Rochester, Indiana, E4614, 3 disks
220124 Lock, H. Clarke, Sep 30, 1879, disk counting wheels & some pick resistance
415187 Padlock, William F. Beasley, Nov 19, 1889, - the prior register padlock shackle could be bent to open it and then replaced. holes and/or notches allow it to break.
415358 Incicator Lock, P. Egge, Beasley Supply Co., Nob 19, 1889, - counter locks up after showing max count.
428710 Indicator Lock, J.C. Barr, May 27, 1890,
70/436 235/106 235/117R 70/13 70/95  -3 digit counter
452433 Registering lock,  William F. Beasley, May 19, 1891, - shackle is cast brass over steel core so it will break instead of bending + ratchet for one way shackle rotation
536195 Indicator-lock, Joseph M. Edgar, Smith & Egge Mfg. Co., Mar 26, 1895, 70/437 - band type counter
536196 Indicator-lock, Joseph M. Edgar, Smith & Egge Mfg. Co., Mar 26, 1895, 70/437 70/403 70/455 70/50 - Quill key, not flat key606741 Indicator Lock, W. Scharnweber, July 5, 1898, 70/432; 235/106 - w/digital counter
80637 Indicator Lock, T. Lalor, Aug 4, 1868 - RE10440 Indicator Padlock, Andrew Jackson, Jan 29, 1884 -
123558 Improvement in indicator-padlocks, H. William Dopp, Feb 13, 1872, 
124270  Improvement in indicator-padlocks, Feedeeick J. Hoyt, Mar 5, 1872, 70/435 235/125 346/48  - 
8881558 Combination and key operated locks with indicators, Michael O. Misner, Jian-Bing Lu, Xiuxing Lai, Nov 11, 2014 - long list of citations -
The earliest indicator padlocks had a provision for a train car destination city, but not the indicator function of the post office:
540006 Padlock, Slaymaker, May 28, 1895 - swing open type
686882 Padlock, Waldo R Ballou, Yale & Towne Mfg Co, Jan 7, 1901 - Flat key bottom center or on centerline of schakle pivit

--------- placeholder patents for different lock ----
1243 Padlock, Joseph Nock, July 16, 1839 - resist false key or by hammer blow. 
33920 Padlock, E.M. & J.E. Mix, Dec 10, 1861, - hinge open, almost round body, center front keyway level lock - can turn key in either direction, false key will make full turn and not damage lock - "U.S. Internal Revenue" padlock "Townsend Man'fg Co. Buffalo NY Patd Dec.10.61 July.27.69
98513 Indicator Lock,
E.M. & J.E. Mix, Jan 4, 1870 (07/27/1869), - each tine the shackle opens the counter advances

Lever Pancake Padlock

I've seen these on eBay with names like: Yale, Harvard, Excelsior, Champion, Elm City, Giant, Hudson, U-G.H. Co.,  ....  They all seem to be the same design.  Below the name is either "4 Lever" or "6 Lever".  Instead of turning the key, it is pushed and the bitting is on the end and moves the levers.  Frank Soley designed many lever padlocks, most have the keyhole mounted front and center with a hinged hasp. After Miller Lock Co. he went to work for Yale & Towne.

Catalog No. 28 (1922) says there are unlimited "key changes" for the Champion 6-lever lock. 6^6 = 46,656 possible keys, so close to unlimited.  But for the Empier 6-lever there are only 12 key changes.

Note that the key has no stop, that's to say that is is just pushed into the lock until it opens.  This means that not all possible key cut depths have meaning.  For example a key with all six depths of 1 is the same as a key with all 6 depths of 2.  This greatly reduced the possible number of keys from 6^6 = 46,656 to a much smaller number.  Here is a table of that effect for a 2-lever lock:
It shows that the 36 "possible" keys are really only 11 keys.  There is a further reduction for those keys that can be reversed.  In the case of a 2-lever lock Key#2 = Key#7, Key#3 = 13, &Etc.  This effect also applies so some of the 6-lever "possible keys".
Key# Pos 1 Pos 2 Delta1 Delta2 Unique
1 1 1 0 0 1
2 1 2 0 1 1
3 1 3 0 2 1
4 1 4 0 3 1
5 1 5 0 4 1
6 1 6 0 5 1
7 2 1 1 0 1
8 2 2 0 0  
9 2 3 0 1  
10 2 4 0 2  
11 2 5 0 3  
12 2 6 0 4  
13 3 1 2 0 1
14 3 2 1 0  
15 3 3 0 0  
16 3 4 0 1  
17 3 5 0 2  
18 3 6 0 3  
19 4 1 3 0 1
20 4 2 2 0  
21 4 3 1 0  
22 4 4 0 0  
23 4 5 0 1  
24 4 6 0 2  
25 5 1 4 0 1
26 5 2 3 0  
27 5 3 2 0  
28 5 4 1 0  
29 5 5 0 0  
30 5 6 0 1  
31 6 1 5 0 1
32 6 2 4 0  
33 6 3 3 0  
34 6 4 2 0  
35 6 5 1 0  
36 6 6 0 0  
          11


Patent 695347
Pancake
                      Lever Padlock Patent 695347
Fig 1 Champion 6-Lever, should be easy to take apart
copper wire is 0.080" ie. 12 AWG

Lever
                      Pancake Padlock Champion 6-Lever
    

.
105710 Padlock, Daniel E. Miller (sic), Jul 26, 1870, 70/38C 70/405 - bent key inserts on front face, lever lock - bent key (not flat)
143831 Seal Locks, &c.,
Daniel K. Miller, Oct 28, 1873, 70/50; 70/38C; 70/39 - mentions patent published Jul 26, 1870 - "Seal" because a paper seal on the moving bolt is destroyed when the lock is opened.  To that end it's possible to remove the bolt from the lock body.
143990 Pad-Locks, &c.,
Daniel K. Miller, Oct 21, 1873, 70/38C; 70/387 - key enters at 3'oclock, not 5'oclock like is common. double bitted key (2 sets of levers).
695347 Padlock, Frank Soley, Miller Lock Company, Mar 11, 1902, 70/38C; 70/387 -
1384682 Padlock, Frank Soley, Miller Lock Company, Jul 12, 1921, 70/38.00C, 70/387, 70/52 - a newer version where the push key is at the bottom center.  The key goes through a tunnel to align it prior to coming in contact with the levers, better key control.  Much stronger cast steel body and cover plates to resist hammering.

146856 Pad-Locks,
Herrmann Ahrenb, Romer & Co., Jan 27, 1874, - key at 6 O'clock.
158111 Pad-Locks &c., Daniel K. Miller, Dec 22, 1874, - rectangular, key off center at bottom
228656 Padlock, Joseph Loch, Jun 8, 1880, - rectangular, key at center of bottom
232070 Indicator Lock, H.L. Russell, Sept. 7, 1880, - indicatgor window w/single digit counter, key at 5 O'clock
414261 Permutation Lock, E.C. Smith, Nov 5, 1889, - feel similar to post office counter lock above, but w/0 counter, flat key

588196 Cylinder Lock, W.H. Taylor, Yale & Towne Mfg Co., Aug 17, 1897, - push key in cylinder lock

536844 Padlock, William F. Troast, Slaymaker-Barry Co. Lancaster, PA, April 2, 1895, - Push key pancake
578791 Padlock, W.F. Troast & J.B. Amwake, Slaymaker-Barry Co., Mar 16, 1897, - turning front flat key

206517 Padlock, H. Ahrend, Romer & Co., July 30, 1878, 70/46; 70/387 - hinge open, flat push key with gaps which stop at posts, so a warded type. The bevel on the "k" finger of the key pushes open the bolt.  (not very secure, but cheap to make)

Smith & Egge Mfg. Co.

In addition to locks of various kinds they also made tools and machinery, like real & toy sewing machines, button hole makers, and machines to make sheet metal chain.

86377 Padlock, F. Egge, Smith & Egge Mfg. Co., Feb 2, 1869, 70/48 - Round sheet metal body, shackle rotates closing a slot, barrel key reverse comma, levers "Diskus" type
229332 Padlock, C. Pease, Jun 29, 1880, 70/40 - "Diskus" type, only 11 years after 86377, but also intended as a general purpose type lock, simple flat push key

 RE3880 Padlock, F. Egge, Smith & Egge Mfg. Co., Mar 15, 1870, 70/48- Round sheet metal body, shackle rotates closing a slot, barrel key reverse comma, levers
99115 Padlock, F.W. Smith, Smith & Egge Mfg. Co.,Jan 25, 1870, 70/48 - Round sheet metal body, shackle rotates closing a slot, barrel key,  levers
99116 Padlock, F.W. Smith, Smith & Egge Mfg. Co.,Jan 25, 1870, 70/48; 70/404 - Round sheet metal body, shackle rotates closing a slot, barrel key, levers

190297 Locks for Drawers, &c., F Egge & F.W. Smith, 
Smith & Egge Mfg. Co., May 1, 1877, 292/140 - square key?

194848 Padlock, F.W. Smith & F. Egge, Smith & Egge Mfg. Co.,  Sept 4, 1877, 70/47; 70/387; 70/45 - hinge open, bottom flat "hald moon" push key "Street Letter Box" "United States xx"
207407 Padlock, F Egge, Smith & Egge Mfg. Co., Aug 27, 1878,
70/45; 70/387 - hinge open, flat push key into bottom, almost circular body,
212059 Lock, F.W. Smith & F. Egge, Smith & Egge Mfg. Co.,Feb 4, 1879, 70/83 - Mortise lock

230866 Piano Lock,
Frederick Egge, SMITH a EGGE MANUFACTURING COMPANY, Aug 10, 1880, 70/83; 70/463 - triangle key
246605 Lock, F. Egge, Smith & Egge Mfg. Co.,Sept 6, 1881, 70/355; 70/405; 70/453 - lever lock with key acting inside round hole in wafers, flat double sided key


278229 Padlock, F. Egge, Smith & Egge Mfg. Co., May 22, 1883, 70/38C; 70/53 -  double square stock loop shackle, one on top and one on the bottom, lever type
417008 Lock, F. Egge, Smith & Egge Mfg. Co., Dec 10, 1889, 70/355; 70/402; 70/407 - drawer rotating disk wafer lock
427843 Padlock, F. Egge,
Smith & Egge Mfg. Co., May 13, 1890, 70/46; 70/404 - Hinge open, front barrel key, guardeed lever tumblers
490428 Padlock, F. Egge,
Smith & Egge Mfg. Co., Jan 24, 1893, 70/38C; 70/53 - double round stock loop shackle, one on top and one on the bottom, lever type
536195 Indicator-lock, J.M. Edgar, Smith & Egge Mfg. Co., Mar 26, 1895, 70/437 -  See 536195 & 536196 Indicator locks above 



RE9685 Lock for Drawers, F. Egge & F.W. Smith,
Smith & Egge Mfg. Co.,Apr 26, 1881, 70/86; 70/83 - sewing machine/drawer lock (square key?)
 
Antique Locks: "Picking The Push Key Padlock (Pancake)" - by measuring the depth of the gates.  Includes table of the 6 cut depths in 0.015" steps. ILCO T131 blank

Yale Padlocks

In their 1910 catgalog Yale talks about the levels of security of various lock types.
1. Cylinder locks (pin tumbler) - highest security (in 1910, but today there are many many people who know how to pick most of them)
2. Lever-tumbler locks ("secure lever") I think many in the UK know how to pick these, but not so many people in the US
3. Warded locks (fixed side or end wards) No security since any key can be filed to open all the locks that take that key.

Fig 1 Brass/Bronze Body - Center Key
Shackle hinges open - 52mm body width
2" Model: 854 4-lever, 144 key changes
Yale
                      Padlock NP126
Fig 2 Key has oval cross section.

Yale
                      Padlock NP126
Fig 3
Yale
                      Padlock NP126

Fig 11 Steel Body - Side Key aka: Push Key
Shackle pops up then rotates - 52mm body width
Model: 2" 805F 4-pin tumbler, 144 key changes
The Secret To Picking This 115-Year Old Yale Padlock -
Yale Steel
                      Body Padlock - Side Key
Fig 12 flat key .050 thk x 0.30 wide x ?long
This is a pin tumbler lock.
Yale Steel
                      Body Padlock - Side Key
Fig 13 Kroil sprayed into keyhole,
Racked while pulling on shackle.
Kroil applied to now at top left,
sit overnight.
Core size is 0.511".
Note core has moved up.
Yale Steel
                      Body Padlock - Side Key

686882 Padlock, Waldo R Ballou, Yale & Towne Mfg Co, Jan 7, 1901 -
686882
                      Padlock, Waldo R Ballou, Yale & Towne Mfg Co,
                      Nov 19, 1901, 70/38C; 70/33; 70/361; 70/372; 70/53
                      - 4-pin tumbler, both center and side key
                      versions.
Fig 14 Sheet metal bar retains shackle.
Remove to free shackle.
Yale Steel
                      Body Padlock - Side Key



Fig 21  2"  Model 805F 4-pin tumbler, 144 key changes
Key (0.036" thk) has same number as lock Y2691
Model 805F
                      padlock

Fig 22 Model 805F
Model 805F
                      padlock
Fig 30 Yale 805F
Yale 805F
                      Padlock

Yale 1-1/2" No. 633 "Liberty" with No. 25 key shown on pg 223 of the Yale 1910 catalog.  Note error in the end view of the No. 039 key, it should have hole.
5-Lever, 12 key changes, steel body & wrought brass caps.
Yale No. 633
                      "Liberty" Padlock with No. 25 key
Fig 2 keyway - locked - all levers near opening.
Yale
                      1-1/2" No. 633 "Liberty" padlock
                      with No. 25 key
Fig 3 keyway - open/un locked-
hard to photograph levers back where
key moved them, i.e, could be used to
impression a key.
Yale
                    1-1/2" No. 633 "Liberty" padlock with
                    No. 25 key


Fig 31   2" Model: 9425B 2-lever, 12 key changes
Hinged shackle
Lower front center (hollow) key
Maybe patent 1127213
Yale
                      Model: 9425B padlock
Fig 32 Model: 9425B
Key: 0.266" OD x 0.172" ID
ID is too small to fit lock below.
Yale
                      Model: 9425B padlock


Fig 1 Yale The 1910 catalog (pg 30) shows this as a 1625 with a matching blank key No. 1625
4-levers, 144 key changes

Yale 1625
                      Padlock
Fig 2 Yale Key No. 1625
Key barrel OD <= 0.300" (7.62mm) larger than all ILCO barrel key blanks.
Key center hole >= 0.178" (4.52mm)

Yale 1625
                      Padlock
Fig 3 Yale 1625
Yale 1625
                      Padlock

Yale 2-1/8" No. 1625 with & w/o chain stacked
w.chain: 1625-1/2
Yale 1625 Padlocks
                      with & without chain loop



Fig1 Yale 1625 Exploded
Notice on back of front cover around keyhole, wear marks from key bit.
Yale 1625
                      Exploded
Fig 2 1625 Exploded shackle tip broken off, so
will not stay closed.
Yale 1625
                      Exploded
Fig 3
Yale 1625
                      Exploded

Fig 4 Bolt right = shackle free
When the tip of the open shackle pushes down the the lever under the bolt it snaps into the locked position.
Yale 1625
                      Exploded
Fig 5 Bolt left = shackle locked
When the projection on the bolt just above the key pin is moved right the lever under the bolt snaps up and locks the bolt in the closed position.
Yale 1625
                      Exploded
Fig 6 3 tumblers + bottom tumbler with post.
With the wafer+post installed, as shown here, the operation is just like in Fig 4 & Fig 5 to the left. 
But as soon as a working lever is installed a key is needed to open the lock.    
The tumbler w/post needs to stay in the position shown.  If it is lifted in an attempt to pick the lock that will prevent the bolt from moving.
Yale 1625
                      Exploded

Fig 7 With one active tumbler/wafer installed and lifted slightly to clear post,
the bolt anc be moved to the right (retracted) opening the lock.


Yale 1625
                      Exploded
Fig 8 3-levers (active) * 4 cut depths = 12 key changes.

L is abut 0.314" & d3 about 0.187" based on scaling photo
Yale 1625
                      Exploded
Fig 9 with wafers installed No.1 lowest No. 3 on top.
An impression taken from an open lock is biased because the wafer springs are pushing them toward the key center of rotation, ,so a little should be added to the cut depth.
Yale 1625
                      Exploded


Fig 10 Stack of 4 tumblers showing fly relief cuts
0.185" OD tubing used in pivit hole to align wafers.
Tweezers used to clamp them together.
Nominal wafer thickness 0.051".
Thickness at fly cut about 0.038"
Wafer stack about 0.215" + Bolt about 0.175 = 0.390 total stack.
Inside of case height is about 0.400".

Yale 1625
                      Exploded



Yale 9425B 2" 3-Ward & 2-Lever, 12 Key Changes
No. 9425 Key.
Key barrel OD <= 0.278" (7mm)
x
Fig 2 Using K&S No. 320 Tube  Assortment to test size.
UPC: 614121003200
9425 tube 0.25" OD (could be larger) 0.280=too big
9425: tube ID 0.174" (slightly smaller OK)

1625: tube 0.250" OD (looks good)
1625: tube 0.190" ( (slightly smaller OK)
The two tubes are adjacent parts of a series that telescopes.

x
Fig 3 image of 9425 key? from eBay
Yale 9425?
                    Padlock Key

Fig 41 1-3/4" Yale Jr. "Hermetic" warded No. 324
6 key changes
Warded Pick opens
1-3/4"
                      Yale Jr. "Hermetic" warded 324 padlock
Fig 42 Two round plates, inner hardened steel and outer cover.  The No. 726 also does not have the notched free end on shackle.
1-3/4"
                      Yale Jr. "Hermetic" warded 324 padlock
partially based on patent 1577939
the "Hermetic" aspect, but not the
locking of the free end of the shackle.
1-3/4" Yale Jr. "Hermetic"
                      warded 324 patent 1577939


Yale 326  2-1/4", Warded, 3/8" shackle, 6 key changes
Key List No. 225.

Yale 326
                      Padlock



Fig 43 Working key made by impressioning
(triangle file is not ideal, but worked.)
key body: 0.058 thk x 0.267 wide
1-3/4"
                      Yale Jr. "Hermetic" warded 324 padlock
Fig 51 Yale 711PB small 1" padlock
"200 Key Changes"
Yale
                      711PB 1" padlock

Fig 52 Yale 711PB small 1" padlock
"200 Key Changes"
Yale
                      711PB 1" padlock

Fig 60 Yale No. 39-1/2 Railroad Padlock
Lever, Bolt & Spring Mechanism
2-1/2" Size
Bronze interior parts,
Key Changes: 12
No 39: no chain
No. 39-1/2 w/8" chain
Key from Keline RR padlock (below)
Yale
                      No. 39 Railroad Padlock withKeline Key



Yale Padlock Patents

18169 Padlock, Linus Yale Sr., Sep 8, 1857, 70/33; 70/352; 70/393; 70/403; 70/406 - pin tumbler based by using shear motion instead of rotation of plug.
192847 [D10843] Padlock, Warren H. Taylor, The yale Lock Manufacturing Company, Jul 10, 1877 - hinge open shackle, almost flat key w/bitting on both sides See Yale 854
USD10843 Design for Padlock, H.R. Towne & W.H. Taylor, The Yale Lock Manufacturing Company, Filed: Sep 24, 1878, Pub: Sept 24, 1878, - "YALE" in circle on front of cast body, flat key at bottom center, hinge open
172899 Lock for Drawer, Feb 1, 1876
192847 Padlock, W.H. Taylor, - hinge open, bottom flat key, cast body "US" in circle

197683 Drawer-Lock, W.H. Taylor, Yale Lock Mfg Co., Nov 27, 1877
D10843 Design for Padlocks, Sep 24, 1878
685289 Lock, Frank W Mix, Yale & Towne Mfg Co, Oct 29, 1901, 70/38A; 70/51 - 6-pin tumbler, center warded key, shackle pops up then turns like modern padlock
686882 Padlock, Waldo R Ballou, Yale & Towne Mfg Co, Nov 19, 1901, 70/38C; 70/33; 70/361; 70/372; 70/53 - 4-pin tumbler, both center and side key versions.
920692 Padlock, Henry R Towne, May 4, 1909, 70/52 - how to bend sheet metal to make lock case
1127213 Padlock, Charles A Erichson, Feb 2, 1915, 70/46; 70/421 - round body, front barrel key, hinge open (after 1910 catalog and Yale 1625 Exp) but has resemblance. "..in which oppositely disposed pivoted tumblers for cooperation with the shackle are employed and in which a guard lever is provided for normally preventing movement of the tumblers to release the shackle, except by the use of a proper key."

1278599 Lock, Thomas E Crouch, Sep 10, 1918, 70/38A; 70/375; 70/380 - 5-Pin tumbler, center key.  Improves on 685289 by fixing the hammer strike open problem.
1525815 Padlock, Alfred Lawrence, Yale & Towne Mfg Co, Feb 10, 1925, 70/38A; 70/375; 70/380 - 5-pin tumbler, bottom center warded key,  dead lock prevents rapping or jarring open
1577939 Padlock, Tunison Harold L, Yale & Towne Mfg Co, Mar 23, 1926, 70/38A; 70/52 - bulging ball type (aka: 324, 326) - bottom center warded key, steel body
1885983 Lock, Karl A Brauning, Yale & Towne Mfg Co, Nov 1, 1932, 70/346, 70/490, 70/DIG.740 - bottom offset flat key, waffer type, can not easily make skeleton key
2282983 Padlock cylinder retainer, Lach Joseph S, Yale & Towne Mfg Co, May 12, 1942, 70/52, 70/38.00A, 70/370 - bottom center warded key, shackle pops up then rotates,
YouTube: Bobby Keyz: (162) Key control when making a key for a Antique "Yale" push lock - "control" meaning mechanical, not locked key cabinets.

2525 Padlock for Mail-bags, &c., H.C. Jones, Apr 1, 1842,
70/43; 401/85; 401/86  - "comma" keyway, swinging keyhole cover - does no open with hammer concussion.
11149 Padlock, S. White, June 20, 1854,
70/43; 431/335; 431/337; 48/104; 70/46 - "I have discovered however that this (2525) lock can be opened without the key by simply intruding a pick to force and hold back the turning bolt while the case is struck to force back the sliding bolt by concussion."

Keline

Marked:  CMSTP&P RR
The key that came with this lock fits the Yale No. 39 Railroad lock.
Fig 1
Keline
                      CMSTP&P RR Padlock & Key
Fig 2 Key (same as Yale 039) end on
Keline
                      CMSTP&P RR Padlock & Key
Fig 3 Key (same as Yale 039) right side
Keline
                      CMSTP&P RR Padlock & Key
Fig 4 Key (same as Yale 039)  left side
Keline
                      CMSTP&P RR Padlock & Key

Railroad

Many of the already listed padlocks are for use on railroads, they are:

___, ___

171806 Pad-Lock, J.L. Hirsch, Jan 4, 1876,70/38B  - pop-up and rotate, front barrel key, lever type, 

Norwegian or Scandinavian Padlocks

Slaymaker

386510 Padlock, William F. Troast, Samuel R. Slaymaker, Lancaster, PA, Jul 24, 1888, 70/38A; 70/DIG.77 - removable shackle with multiple notches
418359 Padlock, William F. Troast, Samuel R. Slaymaker, Lancaster, PA, Dec 31, 1889, 70/38A; 70/DIG.74 - bottom center flat key, uses a spring in the form of a sheet metal clip to capture shackle with multiple notches.
467528 Padlock, William F. Troast, Samuel R. Slaymaker, Lancaster, PA, Jan 26, 1892, 70/38A; 70/408 - improvement on the above two patents.
1627259 Sliding-shackle lock, William F. Troast, Issachar P. Reese, May 3, 1927 - uses same flat key as above, used on spare tires and bicycles.
        Calls: 1223928
Lock, M.H. Benson, Channing Evans E, Mirza H Benson, Apr 24, 1917 - multiple notches removable shackle

Segal

Patent 1387187
Segal
                      Norwegian Padlock patent
Fig 1
Segal -
                      Norwegian Padlock

Fig 2
Segal -
                      Norwegian Padlock

Segal Patents

1387187 Padlock, Samuel Segal, Aug 9, 1921, 70/38.00A, 70/53 - Norwegian style
1439131 Padlock, Samuel Segal, Segal Metal Products Company, Dec 19, 1922, 70/38.00A, 70/39 -
1580574, Padlock, Samuel SegalSegal Metal Products Company, Apr 13, 1926, 70/38.00A, 70/369, 70/367 -

Miller Patents for Norwegian Padlock

Fig 1
Miller
                      Norwegian or Scandinavian 999 Padlock
Fig 2 "Pat & Trade Mark, Applied For"
Miller
                      Norwegian or Scandinavian 999 Padlock


464326 Padlock, Milton Jackson, (not assigned), Dec 1, 1891 70/38A - "999" - Antique Padlocks "999" internal construction
D20016 Design for a padlock, M. Jackson, July 15, 1890, D8/334 - does not have 999

Misc patents for Norweign Padlock

Romer & Co.
156113  Pad-Locks, Herrmann Ahrend, Romer & Co., Oct 20, 1874, 70/38A; 70/392 -
213300 Padlock, C.W.A. Romer, Romer & Co., Mar 18, 1879, 70/38A; 70/453 - "Jail-locks" the shackle is held to the case, i.e. not removable
147585 Pad-Locks, H. Ahred,
Romer & Co, Feb 17, 1874,  70/46 -
226949 Hand-Cuff, H. Ahrend, Romer & Co, 70/16

206327 Padlock, L. Hillebrand, Jul 23, 1878, 70/38A; 70/39 - uses 2 keys: Fig 12 looks like a warded pick and allows removal of the shackle and Fig 13 flat with notches on both sides retains the shackle.  "Padlocks with revolving tumblers engaging with the legs of the shackle thereof are commonly called “ Scandinavian, in some of which the shackle can be entirely removed, and on others it can be sufficiently drawn out to open the lock..."
348521 Padlock, L. Hillebrand, Aug 31, 1886, - "Scandinavian"
339956 Padlock, Clarence L. Wheeler, Apr 13, 1886, 70/38A; 70/328; 70/392 - rectangular keyway "Scandanavian Padlocks" key looks like disk tumbler but is not part of patent
304688 Padlock, H.P. Appleton, Norwich Lock Mfg. Co., Sep 9, 1884, 70/39 - "Scandinavian padlocks" where shackle can be completely removed,
Antique Padlocks - Scandinavian Star Lock Works - Cast key

Fraim
Norwegian style
116977
Norwegian or
                      Scandinavian Padlocks patent 116977 Improvement in
                      Padlocks, James H. McWilliams, July 11, 1871,
                      70/39
240586
Norwegian or
                      Scandinavian Padlocks patent 240586 E.T. Fraim,
                      (not assigned) April 26, 1881, 70/38A; 70/53 -
                      disk tumblers Norwegian or Scandinavian
RE10272
RE10272
                      Padlock, E. T. Fraim, 1/2 to M.W. Fraim, Jan 16,
                      1883, 70/38R; 70/52 - some drawing differences
                      from 240586 & different class numbers, disk
                      tumblers Norwegian or Scandinavian
Fig 1
Fraim
                      Norwegian style Padlock
Fig 2
Fraim
                      Norwegian style Padlock
Fig 3
Fraim
                      Norwegian style Padlock

122991 Improvement in Padlocks, Samuel W. Budd, Jan 23, 1872, -  "Jail Padlocks", (also 86641 Latch,  328875 Latch Lock)
116977 Improvement in Padlocks, James H. McWilliams, July 11, 1871, 70/39 -
240586 E.T. Fraim, (not assigned) April 26, 1881,
70/38A; 70/53 - disk tumblers Norwegian or Scandinavian
RE10272 Padlock, E. T. Fraim, 1/2 to M.W. Fraim,
Jan 16, 1883, 70/38R; 70/52 - some drawing differences from 240586 & different class numbers, disk tumblers Norwegian or Scandinavian

1706151 Locking Device, Fraim Samuel R, Mar 19, 1929, 70/259, 70/232, 70/178 -for Ford wire wheel spare tires, removable shackle. Calls: 1633172 Locking Device for the 1926 Ford

Fraim Padlocks

 532234 Padlock, Edward T. Fraim, Jan 8, 1895, -  simple low cost, pup up and rotate type shackle, front barrel key
 907026 Padlock, Samuel R Fraim, Dec 15, 1908, 70/45 - hinge open, front flat key (Antique Locks - Fraim Key Codes, ILCO E375 blank as pick tool, hard to pick)
582632 Padlock, Edward T. Fraim, May 18, 1897 - swing open, bottom flat key, warded
746945 Padlock, Edward T Fraim, Dec 15, 1903, - looks like purse, swing open, side keyhole, flat key
768741 Padlock, Edward T Fraim, Aug 30, 1904, - swing open, bottom keyhole, almost flat key
882192 Padlock, Samuel R Fraim, E T Fraim Lock Company, Mar 17, 1908, - swing open, front flat key, "Croesus"
1243151 Padlock, Samuel R Fraim, E T Fraim Lock Company, Oct 16, 1917, 70/38.00C - pop up and rotate shackle,  bottom flat key (looks like Yale 324
1380053 Padlock, Fraim Samuel R, E T Fraim Lock Company, May 31, 1921, 70/46 - swing open, front barrel key, similar to Yale 1625 Exp.
1538033 Padlock, Fraim Samuel R, May 19, 1925, 70/46 70/340- swing open, front flat key, 5-levers, large number of key changes & a master lever response to a master key.
1542442 Padlock, Fraim Samuel R, Jun 16, 1925, 70/39 - bottom entry almost flat key (slight "Z" shape in end view)  "...locks for the throttle and spark control for automobiles, rear spare tire carriers, for plain rims, and disc wheels in which a removable shackle is employed..."
1635711 Padlock,
Fraim Samuel R, Jul 12, 1927, 70/51, 70/39, 70/463, 70/260, 224/42.25, 70/54 - removable shackle to lock spare tire rim (see Fraim Norwegian locks)
1704184 Padlock, Fraim Samuel R, Mar 5, 1929, 70/45 - hinge open,  comma barrel key, swinging keyhole cover, locks both the heel and toe of the shackle,
1710355 Padlock, Fraim Samuel R, Apr 23, 1929, 70/45 - hinge open, barrel key, similar to Adlake RR padlock, with sheetmetal tail to attach chain
1942328 Padlock,
Fraim Samuel R, Jan 2, 1934, 70/38.00C, 70/52 - die cast body & internal sheet metal, pup up and rotate shackle, bottom heyway warded key
D101452 Combination Lock Design, Samuel B. Fraim, Oct 6, 1936, - poorly laid out dial marked 0 to 35, but major ticks in odd places.

Fig 1 Fraim railroad type lock
but not with comma shaped keyhole
like Keline or Yale No. 39
Fraim
                      DL&W RR railroad padlock w/key



Abloy

See Disc Tumbler above.

Chubb Padlock

I think this is a lever lock, although there do not seem to be any springs, so also maybe a disk type?
The key is retained when the lock is open.

Fig 1
Chubb
                      Padlock
Fig 2 when inserted the hole in the key is facing the front.  Needs to be turned about 2/3 of a circle to open.
Chubb
                      Padlock

Belfry

Belfry 2 lever patent 326346 padlockwith two keys marked patent 397147. (UK patents)

Fig 1
Belfry 2
                      lever patent 326346 padlockwith two keys marked
                      patent 397147
Fig 2
Belfry 2
                      lever patent 326346 padlockwith two keys marked
                      patent 397147

TSA & Luggage

The Transportation Security Administration (Wiki: TSA)  requires either no luggage locks or a TSA-approved luggage lock.

Fig 1 TSA & ordinary luggage locks
TSA &
                      ordinary luggage locks
Samsonite locks can be opened simply by pulling on the shackle while dialing.  The dials stop at the correct number.

The TSA003 lock does not open using the above dialing method.  But one of the Sourhord PXS-14 picks (see second from right see below) when raked and simultaneously turned CCW easily opens the lock.

Adlake

Adlake (a contraction of Adams & Westlake) made equipment used by railroad personnel, like flashlights.  Note that railroad padlocks are critical to maintaining the integrity of the railroad system.

866013 Padlock, James A Giese, Adams & Westlake Co, Sep 17, 1907, 70/42; 70/390 - ast construction, hinge open, front barrel key, swing away keyhole door, chain RR lock
1034998 Padlock, James A Giese, Adams & Westlake Co, Aug 6, 1912, 70/46 - front barrel key, front keyhole, some similarity to Yale 1625 Exp. ...increased number of key changes, no chain
1039119 Padlock, James A Giese, Adams & Westlake Co, Sep 24, 1912, 70/45 - sheet metal construction, hinge open, front barrel key, not keyhole door bottom tit with rivet holding front to back.
1335231 Padlock, Hamm William S, Adams & Westlake Co, Mar 30, 1920, 70/45 -   ...for use on railway switch stands ... more difficult to open by picking or concussion. hinge open, sort of "comma" key shape, front barrel key chain
2040482 Padlock, Hagerty Andrew T, Adlake Co, May 12, 1936, 70/45 - both the heel and nose of the shackle are locked.
2040482 Padlock
2040482
                        Padlock, Hagerty Andrew T, Adlake Co, May 12,
                        1936, 70/45
Fig 1
Adlake Railroad
                      Padlock
Fig 2
Adlake Railroad
                      Padlock
Fig 3  Lanc PA, USA
GM&O - ND
Adlake Railroad
                      Padlock
Fig 4    1965
Adlake Railroad
                      Padlock
Fig 5 Compared with Keline
Adlake Railroad
                      Padlock
Fig 6
Adlake Railroad
                      Padlock
Fig 7
Adlake Railroad
                      Padlock



Corbin

"Gorbin Cabinet Lock Co."
Fake newly made lock
Made to look like a Yale No. 39 RR
1-5/8" tall
"Gorbin
                      Cabinet Lock Co." Fake newly made lock
Fig 1 Corbin icon on keyhole cover
Corbin Padlock
Fig 2 Pat'd -date hard to read
804901
Made in USA
Corbin Padlock
Fig 10 Shackle has large "A"

Corbin Padlock
                      ET10
Fig 11 Shackle marked" ET10

Corbin Padlock
                      ET10

344669 Padlock, F.W. Mix, The corbin Cabinet Lock Company, Jun 29, 1886,70/38C  - pop up and rotate, bottom key

400316 Look, W.D. Doremus, The Corbin Cabinet Lock Company, Mar 26, 1889,  70/437; 70/46  - looks like an attempt to get the USPS counter lock order, but they lost.
402663 Padlock, W.D. Doremus, The Corbin Cabinet Lock Company, May 7, 1889, 70/46; 70/402; 70/407; 70/421 - hinge open, lock free end of shackle, bottom flat key, "...security against false keys and knavish manipulation"
451110 Padlock, Willard D. Doremus, The Corbin Cabinet Lock Company, Apr 28, 1891 - looks like a pancake lock, but is a hinge open, flat bottom push key
483383 Padlock, Edward A. Judd, The corbin Cabinet Lock Company, Sep 27, 1892, 70/46; 70/380 - hinge open, looks like a Yale pin tumbler cylinder with flat key at bottom right side
484895 Padlock, Edward A. Judd, The corbin Cabinet Lock Company, Oct 25, 1892, 70/49 - similar to pancake lock, except built-in chain instead of shackle, front flat key
499832 Padlock, Henry Horne, The corbin Cabinet Lock Company, Jun 20, 1893, 70/49 - looks like a terminal to be attached to a chain, no shackle, flat key
804901 Padlock,
Harry P Townsend, Charles E Johnson, Corbin Cabinet Lock Company, Nov 21, 1905, 70/46 - hinge open, front barrel key double bitted or single bitted key - difficult to pick, not comma keyhole,
834339 Padlock, Harry P Townsend, Corbin Cabinet Lock Company, Oct 30, 1906, - very cheap, barrel key pushes spring to open shackle.
881591 Padlock, Charles E Johnson, Cobin Cabinet Lock Company, Mar 10, 1908, 70/43; 70/386; 70/53 - pop up and rotate, pin tumblers, bottom warded key
RE12716 Padlock, Charles E Johnson, Cobin Cabinet Lock Company, Nov 5, 1907, 70/38R; 70/386 - Re-Issue of 881591
917810 Padlock, Elmer B Stone. Corbin Cabinet Lock Company, Apr 13, 1909, 70/43; 70/357; 70/367; 70/386 - pop up and rotate, pin tumblers, bottom warded key (see: 881591)
946710 Pin Tumbler Lock, Charles H Thomas, Corbin Cabinet Lock Company, Jan 18, 1910, 70/38C; 70/386; 70/419 - similar to the Yale 805, except uses long spool pins.
964331 Lock, Elmer B Stone, Corbin Cabinet Lock Company, Jul 12, 1910, 70/38C; 70/33; 70/386 - similar to the Yale 805, except uses ball bearings.
972865 Lock,
Charles E Johnson, Corbin Cabinet Lock Company, Oct 18, 1910, 70/46; 70/51; 70/52 - bottom center keyhole, long flat key w/notches on both sides, hinge/swinge open shackle, sheet metal body.
1018216 Lock, Elmer B Stone, Corbin Cabinet Lock Company, Feb 20, 1912, 70/38.00B - pop up and rotate, bottom warded key, to work in all outdoor environments

Valiant

May be made by Corbin, see above.

371824 Process of making keys and key blanks, G.B. Cowles, P. & F. Corbin, New Britain, Conn., Oct 18, 1887, 72/339; 76/110 -   
The lock mechanism feels like the Corbin patent 834339 above.

Fig 1 Open
Key engraved: Corbin, Pat D 87
Valiant Padlock
Fig 2 Closed
Ker stamped: P113
Key: Corbin, Pat'd 87
Valiant Padlock

Slaymaker

The keyway is shaped like a comma.  The key for this padlock and the Fraim railroad type lock each fit the other lock, but neither opens it.

Fig 1
Slaymaker
                      Railroad Padlock
Fig 2
Slaymaker
                      Railroad Padlock
Fig 3
Slaymaker
                      Railroad Padlock
470268 Padlock, William F. Troast, Samuel R. Slaymaker, Lancaster, PA, Mar 8, 1892, 70/46; 70/DIG.2 - uses the spring metal mechanism from the Norwegian lock in a hinge open padlock with sheet metal body.
476495 Padlock, Samuel R. Slaymaker, John F. Barry & WIlliam F. Troast, Jun 7, 1892, 70/52 - body made from Aluminum casting "Rustless"
513160 Padlock, W.F. Troast & S.R. Slaymaker, Slaymaker, Barry & Co., Jan 23, 1894, 70/43 - diecast body in two parts
536844 Padlock (See Lever Pancake padlock above)
834027 Padlock, Samuel R Slaymaker, (himself), Oct 23, 1906, 70/38C; 70/15; 70/46; 70/52 - "RFD" cast into body, rotary shackle opening, bottom center corrugated key similar to long flat key used on Slaymaker Norwegian padlocks, two piece die cast body
973538 Padlock,
George M Miller, Samuel R Slaymaker, Slaymaker Lock Mfg Corp, Oct 25, 1910, 70/46 (free end only engaged) - hinge or swing open (), flat front keyhole (but could use barrel key).  "...self-locking padlock, and more particularly to that class of padlock in which the shackle~locking mechanism is constructed with a positive action and not a resilient action depending upon springs. "  Maybe the basis of the Yale 1625 Exp.
540006 Padlock, Slaymaker, May 28, 1895 - swing open type
also see Lever Pancake locks above
1609817 Padlock, Hanton Henry H, Fraim-Slaymaker Hardwar Co Inc, Dec 7, 1926, 70/46 70/15 70/260 70/49- special shackle to clamp metal chain like used on lock bodies.  Swing open, front flat key.

O.M. Edwards Co.trade PAOWNY mark

Notice that the keyway is a mirror (reverse) comma shape, so the keys that fit other railroad padlocks will not even fit.  I'm guessing this is a way to make the lock more secure.  But it also means this padlock can not be used as a common lock in a railroad system.

Fig 1
O.M.
                      Edwards Co.trade PAOWNY mark Railroad Padlock


D45813 Padlock, J.F. Lemon, O.M. Edwards Co., Syracuse, N.Y., May 19, 1914, -
D47886 Padlock, J.F. Lemon, O.M. Edwards Co., Syracuse, N.Y.,
Sep 28, 1915, -
1246287 Padlock, J.F. Lemon, O.M. Edwards Co., Syracuse, N.Y.,Nov 13, 1917, - pop up and rotate shackle, front barrel key, classical skeleton keyway, lock both ends of shackle, stamped sheet metal body.

Miller

Fig 1
Miller
                      Padlock



1011872 Padlock, Frank SoleyMiller Lock Co, Dec 12, 1911, 70/46 70/340 - flat key, front keyhole, 5-lever, swing/hinge open shackle, some similarity to Yale 1625 Exp.
1060510 Padlock, Frank Soley, Miller Lock Co, Apr 29, 1913, 70/46 - (after Yale 1910 catalog & 1625 lock) bifurcated key, front keyhole
1130822 Lock, Arthur C Jackson, Miller Lock Company, Mar 9, 1915, 70/46 - swing open, front barrel key,  some resemblance to Yale 1625 Exp. but looks like sheet metal body.

Pye

21636 Padlock, T.L. Pye, Sep 28, 1858, 70/43 - Hinge shackle, front barrel key, "..shackle and spring bar.." [maybe can be opened with slight hammer blow]
RE1063, Padlock, T.L. Pye, Oct 16, 1860, 70/43; 70/351 -
Different from Pyle who made locomotive lights.

Mallory, Wheeler & Co. New Haven, Conn.

166838 Pad-lock, William H. Andrews, Mallory, Wheeler & Co. New Haven, Conn., Aug 17, 1875, 70/46; 70/387; 70/455  - has fake keyway on front, working keyhole on bottom, hinge open, flat push key

Eagle Lock Co

The Eagle Lock Co. made a number of locks used on Post Office Box doors and for cabinets.

They made a cylindrical body lock with a pup up and rotate shakle on the flat end and the keyhole on the opposite flat end.
Some were marked I.R.S. EAGLE, Pat. No. 3035433
3035433
Lock mechanism, Frank J Testa, Eagle Lock Corp, May 22, 1962, 70/495; 70/409; 70/419 -

1100391 Padlock
1100391
                        Padlock, James J Murphy, Eagle Lock Co, Jun 16,
                        1914, 70/45 - locks heel and nose of shackle and
                        has anti hammering, hinge open, front double
                        bitted barrel key 6 or 8 lever
Fig 1
Eagle, Six Lever
3 above keyway & 3 below
they are symmetrical.
Eagle Lock
                      Co Six Lever Padlock
Fig 2
Key: 63N11
Patent Jun 16, 1914
Two notches on free end of shackle,
one for each group of 3 levers.
Eagle Lock
                      Co Six Lever Padlock

37515 Padlock, J.C. Mix, Jan 27, 1863, 70/46 - hinge open, double bit barrel key,
928684 Padlock, James J Murphy, Eagle Lock Co, Jul 20, 1909, 70/43 - hinge open, bottom keyhole for cylinder pin tumbler lock
965409
Flat-key lock, James Roche, Eagle Lock Co, Jul 26, 1910, - cabinet lock, flat key lever type
983637 Padlock,
James J Murphy, Eagle Lock Co, Feb 7, 1911, 70/38R; 70/361 - flat push key in line with shackle (Yale 805F)
104572 Padlock, E.L. Gaylord, Jun 21, 1870, 70/46; 70/45- hinge open, double bitt barrel key
1100391 Padlock, James J Murphy, Eagle Lock Co, Jun 16, 1914, 70/45 - hinge open, front double bit barrel key,
223528 Padlock, F.W. Mix, (not assigned), Jan 13, 1880,
70/43; 70/DIG.36- hinge open, bottom flat pin tumbler key
264639 Padlock, T. Donahue,
The eagle Lock Company, Sep 19, 1882, 70/43; 70/DIG.36 - hinge open, bottom flat pin tumbler key
269646 Padlock, T. Donahue, The eagle Lock Company, Dec 26, 1882, 70/43; 70/387- hinge open, bottom flat push key 
520121 , 525562 Master Key Lock, J. Roche,
70/43; 70/392 - hinge open, front flat master keyed, sheet metal case,
534669 Padlock, J. Roche, The Eagle lock Company, Feb 26, 1895 70/46 - hinge open, flat front key, 3-lever,
555337 Padlock, James Roche, The Eagle lock Company, Feb 25, 1896, 70/47 - hinge open, front flat key, lock pivot side of shackle555728 Padlock, J. Murphy, Mar 3, 1896, 70/45 - hinge open, front barrel key, sheet metal body,
605740 Padlock, J. Murphy, June 14, 1898, 70/45 - hinge open, front flat key, round body,
723549 & 723550 Padlock, J. Roche, Eagle Lock Co, Mar 24, 1903, 70/46; 70/403; 70/453; 70/52 - hinge open, front solid skeleton key, square sheet metal body
723551 Case for padlocks, J. Roche, Eagle Lock Co, Mar 24, 1903, 70/448 - square sheet metal body
860333 Padlock, Philip C Ryan, Eagle Lock Co, Jul 16, 1907, 70/43; 70/340  - hinge open, heart shape body, front flat master key, levers
1100391 Padlock, James J Murphy, Eagle Lock Co, Jun 16, 1914, 70/45 - locks heel and nose of shackle and has anti hammering, hinge open, front double bitted barrel key 6 or 8 lever
1842559 Lock,
Murphy James J, Eagle Lock Co, Jan 26, 1932 - removable shackle, wafer lock front key

Wilson Bohannan (Factory Page)

No. 70
1-7/8" h x 1-1/2"w x 0.404"thk
Kethole ID: 0.219"
Post OD: 5/32"(0.12625")
Wilson
                      Bohannan No. 70 Padlock



27883 Padlock, Wilsin Bohannan, April 17, 1860, 70/43 - hinge open, front mirror comma barrel key, no keyhole cover, dual bolts.
46539 Padlock, Wilsin Bohannan, Feb 28, 1865, 70/46 - hinge open, front comma barrel key, easy to lock shackle & shackle stays open when open.
55047 Lock Strike, Wilsin Bohannan, May 29, 1866 - drawer lock protected from thin blade being used to move blot.
55048 Padlock, Wilsin Bohannan & Frank Johnson, May 29, 1866, 70/46; 70/351; 70/393; 70/491 - hinge open, front disk shaped key with pins whose length is the bitting.
67401 Padlock, W. Bohannan, (not assigned), Aug 6, 1867, 70/46 -  Hinge open, front flat key, front flat push key with modifications
--------------- the above patents listed in the 1869 catalog & name shown as: W. Bohannan & Co. ------------
112011 Seal Lock, Wilson Bohannan, (not assigned), Feb 21, 1871 (not Feb 18, 1871), 70/50; 70/423; 70/43 - Hinge open, front barrel key "V" or comma shape bit, seal holder over keyhole
112211 Keyless Lock, Wilson Bohannan, American Seal Lock Co., Feb 28, 1871 (not  Feb 25, 1871) - shackle is cut to open lock, shackle marked and lock body marked, use on mail bags.
205171 Padlock, W. Bohannan, (not assigned), Jun 25, 1878,  70/43; 70/390 - hinge open, front "comma" keyhole, swinging keyhole cover, - this looks like it's for the Yale No. 39 Claim: I am aware that a padlock has heretofore been contrived in such a manner that in the act of unlocking the shackle the key is caught until the shackle has been again locked by the bolt or bolts, and therefore I do not claim as my invention, broadly, the accomplishment of this result in a lock; but, 1. In a padlock, the tumbler E, having a ledge, h, a slot, e1, and a hook, e2, and the spring f, whereby the key of the lock is prevented from turning back after it has opened the lock, substantially as set forth.
208708 Latch, W. Bohannan, Oct 8, 1878, 70/150 - door latch & lock
318537 Padlock, W. Bohannan, May 26, 1885,70/42  - hinge open, front barrel key w/bent bit,
337044 Door Lock, W. Bohannan, (not assigned), March 2 1886 70/491-
---------------------------- the above dates in the 1886 Catalog,  name Wilson Bohannan ------------------
377983 Night Latch, W. Bohannan, Feb 14, 1888, 292/337; 292/346; 70/106 -
557952 Lock, W.T. Bohannan, Apr 7, 1896, 70/346 - long flat key notches on both side for warding - key guard
1451788 Lock, Morris Sheinman, Apr 17, 1923, - door lock
1456466 Reversible bolt Lock,  Nichols Sauerbrei William, Wilson Bohannan Inc, May 22, 1923, -
1855327 Padlock, A. Van Kleeck, Wilson Bohannan Company, Marion Ohio, Apr 26, 1932, 70/45 - hinge open, front barrel key, shackle heel & toe locked, has the look and feel of the sheet metal case Adlake. Unlocks by turning the key either CW or CCW. 

Tway:  Bohannan Lock page -
Antique Padlocks - Bohannan PadlocksBohannan Padlock Notes -

Abus (Wiki)

Fig 1 Abus 83/45 w/ 300 C Schlage keyway in LFIC
Abus 83/45
                      padlock




Abus 83 Series padlocks have a largel format interchangeable core (LFIC).  Commercial doors may use Large Format Interchangeable Cores (LFIC).
In addition there are Key In Knob (KIK) cores that are typically used in door knobs, but there are adapters that allow these to be installed in a LFIC lock.
5363678 Padlock with ball-locked shackle, Gerhard Meckbach, ABUS, 1994-11-15, - "Z-bar" enables a quick and easy change between key-retaining and non-key-retaining.
6425274 Rekeyable padlock with a lock cylinder having an enlarged viewing slot, Daniel A. Laitala, Grant T. Laitala, ABUS, 2002-07-30, - "pinning window"

"update : Trick: If you do not have an Easy Shackle Change Tool handy and need to change out a shackle, you can open the lock, install the Z-bar upside down (dot is not visible any more), insert the cylinder into the padlock and rotate the key to the open position. Hold under tension and you will be able to pull the shackle out. " From https://youtu.be/rA7MK-VDFBs comments

eBay: ABUS 83/45-300 Schlage C Keyway Rekeyable Brass Padlock
Deviant's Lock Advice - Part 02 - Re-Keying Padlocks,
American 3700 Series

Made in India

This was listed on eBay as: "Vintage Old Handmade unique round shape Iron 1 key padlock collectible".  Note "Handmade" is a code word for "new made in India", Vintage and old are marketing and not to be trusted.  Seller was M.K. Art Handicraft.  They gave me a prompt refund when they learned the lock was defective.

It arrived with the shackle open, which is suspicious just as are locks shown in eBay ads with the shackle always open or always closed.
First I worked the key and discovered that after turning in one direction until a click is heard the key must be turned in the opposite direction until a click is heard.  But after closing the shackle the lock would not open.  So I opened the lock to see what was wrong.  CCW to lock and CW to unlock.

The fix is to make the bit long enough so that it just fits between the front and back covers, i.e. about 20 mm, not the current 11mm.  A work around is to insert key and turn it a little then pull on key so it's touching the front cover then rotate.  This may or may not work depending on the size of your particular key.

Fig 1 Key made of sheet metal, cleaver.
Made in India
                      Padlock
Fig 2 The key is all the way in.  You can see that the bit is below the bolt it needs to move, so will not work.
Made in India
                      Padlock
Fig 3  I have pulled the key out so now it moves the bolt.
Made in India
                      Padlock
Fig 4 Key bit needs to be at least 2 mm longer.
Made in India
                      Padlock

Hanayama Puzzles (Wiki)

YouTube, Cast Puzzle demonstration

This Japanese company has been making cast metal puzzles for almost 90 years.

ISBN: 1-57561-748-X

ISBN: 1-57561-810-9

ISBN: 1-57561-935-0
ISBN: 1-57561-266-6
Flag (1) YouTube (Solved)
Dot (2)
Star (3) YouTube,
O'Gear (3)
by
Oskar van Deventer 
Padlock (5) (Solved)
News (6) (Solved)
Hanayama
                      Flag Puzzle

Hanayama Star Metal Puzzle (Jack
                              & Snake)
Hanayama Star Metal Puzzle (Jack
                              & Snake)
shown in critical position
between locked and free
Starting Position
Hole in tab inside box
Sharp corner at right front
Hanayama O'Gear Puzzle
after turning to right
Hanayama O'Gear Puzzle


Hanayama
                      Padlock Puzzle
Hanayama
                      News Puzzle
Hanayama
                      Flag Puzzle
Hanayama
                      Star Metal Puzzle (Jack & Snake)

Hanayama
                      News Puzzle
Spoiler if click on image.

Japanese Puzzle Box

These are also called Yosegi-zaiku (Wiki).
There are two parameters that describe the size and complexity.
Size is measured in units of "Sun". between 1 and 6 ( 3 cm to 21 cm).
Complexity in the number of steps to open, typically beween 4 and 66, but there's no limit.
The below box is 5 Sun and 10 Steps.


Sterling Gas Pump Lock

Saw this on Lock Picking Lawyer: [1512] Sterling “Gas Pump Lock” Picked, :04 - bypass attack, not really picking
1520975 Padlock, George H Sterling, 1924-12-30, -

Clarke Combination Lock Co. Baltimore, M.D.

Saw this at Restraints Blog - and since it has my family name correctly spelled and patent dates I can't resist finding the patents.
Feb 4, 1873: 135523  Combination Locks, Henry Clarke, 1873-02-04, 70/298 -
June 15, 1875: 164522 Combination Seal-Lock, Henry Clarke, 1875-06-15, -
Reissued Feb 29, 1876:  RE6959 Combination-Lock, Henry Clarke, 1876-02-29, -
Feb 8, 1876:

Door Locks

The way these work and how they are installed has changed over time.  The key driving factors may have been a combination of improving security, lowering the cost both in regards to the cost of the lock itself and the cost to install the lock.   Typically used on doors between the outside and inside of a building.  Doors that are all indoors typically do not have a key locking mechanism.

Rim (Surface Mount)

These are locks installed on the inside surface of the door.  The early versions were wood plate locks (pg31 Ref 3).

Bradford Lock Works

This lock was painted two times.  First white then brown.  Both times paint seeped inside and gummed up the works.  You can see the layers of paint on the knob in Fig 1.

108098 Latch, James Brady, Branford Lock Works, Oct 11, 1870, 70/365; 70/405; 70/409; 70/452 -
108099 Latch, James Brady, Branford Lock Works, Oct 11, 1870, 70/365; 70/405; 70/409; 70/452 -
200512 Extension Key, C.C. Coleman, Branford Lock Works, Feb 19, 1878, 70/396; 70/397 - 
223113 Latch, C.C. Coleman, Branford Lock Works,Decd 30, 1879, 292/335 -

The working key from eBay title: "
Five Chunky Banded Antique Mortise Lock Skeleton Keys"
shoulder to tip" 0.730"
diameter into round hole: 0.200" (hole dia: 0.218)
length of bit along key: 0.315 (slightly less than distance between covers).

Fig 1 Inside view. Painted Black.
 Lever on top is to lock/un-lock from inside w/o using key.
Branford
                        Lock Works Rim (surface) mount Door Lock
Fig 2
Branford
                        Lock Works Rim (surface) mount Door Lock
Fig 3 Inside: casting number 1455
Locked after disassembly & clean old paint.
There are two bits on the key that are needed.
One to push up the long lever and one to throw the bolt.
Branford
                        Lock Works Rim (surface) mount Door Lock
Fig 4  Opposite Side painted Brown.
Branford
                        Lock Works Rim (surface) mount Door Lock

Fig 5 Set of 5 keys from eBay,
but only one works.
Branford
                        Lock Works Rim (surface) mount Door Lock

Fig 4  One of them worked.
Branford
                        Lock Works Rim (surface) mount Door Lock

Corbin Rim Door Lock

This door lock is very similar to the Bradford Lock Works example above, although a little more complex.

Note that I got a bunch of keys including half a dozen with identical bitting all marked Corbin but with numbers like R23, R24, R25 &Etc.  That looks like a hotel used Corbin rim door locks on the guest rooms and issued each guest a key stamped with their room number.  But what they did not tell the guests was that their room key would open all the other rooms.  It's my recollection that a famous Hollywood starlet was in a hotel room when a man let himself in using a key he had kept from a prior stay and rapped the actress.  That was the trigger event that caused hotels to change to electronic keys so that they could change the keying after each guest checked out.  If you remember her name, let me know.

PS I have a couple more locks, one marked CORBIN and the other that looks identical but with no marking, and this same key works all of them.

Fig 1 a received
with a lot of animal byproducts inside
Corbin Rim
                        Door Lock
Fig 2 After cleaning.
Note warding next to keyhole
in lid, but not on many body.
Corbin Rim
                        Door Lock
Fig 3 Key marked: Corbin R25.
Corbin Rim
                        Door Lock

Yale 40 Door Lock

This is based on an early pin tumbler patent that was reissued.  See the Yale Door Latch below for a very similar mechanism.

3630 Door Lock, L. Yale, Sr., June 13, 1844, 70/134; 70/493 - 4 pins arranged at 90 deg to each other. First pin tumbler lock used for vault/safe door, not house.

48475 Lock, Linus Yale, Yale Lock Co., Jun 27, 1865, 70/493; 292/DIG.51; 70/378; 70/380; 70/DIG.42 - pin tumbler housed in a threaded cylinder. See: Pin Tumbler above - maybe THE KEY lock patent of all time.
            RE8158 (was: 48475) Lock, L. Yale, Yale Lock Mfg Co., Apr 2, 1878, - screw in mortise cylinder 5-pin tumbler, swooping curves on key
            Expires in 17 years, ie in 1882.  So Eagle Lock Co. started making pin tumbler locks then.
332459 Lock, W.H. Taylor, Yale & Towne Mfg Co., Dec 15, 1885 - Much newer than the two patent dates shown on this lock, but very similar in construction. A number of improvements. 

2020 July 4: Oliver pointed out that this patent is for a wafer lock, not a pin tumbler.  Maybe this lock uses patent 332459 (It has that look and feel) as an improvement but they did not make new casting molds so the old patent date is on the lock body?
Reference to "plate keys" patent 99013 see below.

patent 48475 June 27, 1865
Yale pin
                        tumbler patent 48475 June 27, 1865

Fig 1 Yale Lock Mfg Co,
Patented, June 27, 1865, Apr 27, 1878,
Stamford, C.T.
Yale 40
                        Door Lock
Fig 2 Small lever locks bolt in open position.
Yale 40
                        Door Lock
Fig 3  Note "40" cast into back of front plate.
Door thickness up to about 1-1/2".
Yale 40
                        Door Lock
Fig 4
Yale 40
                        Door Lock
patent 332459 Dec 15, 1885
332459 Lock,
                        W.H. Taylor, Yale & Towne Mfg Co., Dec 15,
                        1885

Yale Door Latch

"Latch" means that the bolt can be held in the open position or put in the locked position.  Note this door latch was patented 4 Oct 1904 about 50 years after the pin tumbler lock Apr 27, 1878, was invented by Yale, so the use of the simple key was done on purpose.
As received the latch function was not working because of some paint and rust.  Now works fine.

771542 Latch 4 Oct 1904
771542
                          Latch, James Robert Fletcher, Yale & Towne
                          Mfg Co, Oct 4, 1904,
Fig 1 Knob side
Knob: Yale  & Towne, Stamford Conn
Yale Door Latch
Fig 2 Key Side
[Y&T icon], Pat'd, Oct, 4-04
Key has been repaired.
Door thickness of about 7/8".
Yale Door Latch

Fig 3 Bolt locked.
Key: [Script R], 105, LST Qualit, Oder?
maybe key bow made from something with the engraving already on it?
Yale Door Latch
Fig 4 Bolt Latched.
Yale Door Latch
771542 Latch,  James Robert Fletcher, Yale & Towne Mfg Co, Oct 4, 1904, 292/169.16; 292/153; 70/156; 70/DIG.6-

Yale Door Latch 2

Fig 1
Yale
                        Door Latch



12932 Bank Lock, Linus Yale Sr., May 22, 1855, 70/129; 70/352; 70/427; 70/DIG.17 - First pin tumbler patent see 3630 above
22048 Lock, Linus Yale Jr., Nov 9, 1858, 70/337 - a way to have two locks where either will open the door.
28710 Lock, Linus Yale Jr., Jun 12, 1860, 70/352 - lever tumbler lock for safe door, with keyhole blocking pin
32331 Lock, , Linus Yale Jr.,May 14, 1861,  70/352 70/352 - very similar to 28710

208863 Lock, W.H. Taylor, The yale Lock Manufacturing Company, Oct 8, 1878, - Swoopy key for pin tumbler

263244 Plate Key for Locks, Warren H. Taylor, Yale Lock Mfg Co, Aug 22, 1882, 70/406; 70/407 - Ridge at right angles to flat key with ward ("L" shaped keyway). Done for key control, not security (The GM car key problem (Wiki)
31278 Post-Office Drawer Lock, Linus Yale Jr., Jan 29, 1861, 70/86; 70/403; 70/452; 70/493 - pin tumbler, key not cut with "V" notches but rather swooping curves.
48475 Lock, Linus Yale, Yale Lock Co., Jun 27, 1865, 70/493; 292/DIG.51; 70/378; 70/380; 70/DIG.42 - pin tumbler housed in a threaded cylinder. See: Yale 40 Door Lock below This is a Cylinder type lock. (Ref 3 pg 125)      
RE8158 (was: 48475) Lock, L. Yale, Yale Lock Mfg Co., Apr 2, 1878, 70/492; 70/134; 292/140; 70/380; 70/370 - screw in mortise cylinder 5-pin tumbler, swooping curves on key
582367 Lock, E.J. O'Keefe, (no company), May 11, 1897, 70/339; 70/408 - cylinder with 2 keyways.
405057 Lock, W.H. Taylor, Yale & Towne Mfg Co, June 11, 1889, 70/370; 70/422; 70/379R; 411/424; 29/DIG.33 - easy to install

Yale Door Latch 3

U.S. Pat. Aug, 28, 1917 & Feb. 26, 1918

1238215 Metallic cabinet, Albert O Terrell, 1917-08-28, 312/263 211/184 312/108 211/134 220/4.01 312/351 - rails for shelves
1238152 Barn-door lock, Walter Kelloniemi, 1917-08-28, 70/98; 14/41; 70/139; 292/26 -
1238514 Drawer-retracting mechanism, William E Hartbeck, 1917-08-28, 312/319.4 109/47 312/217 312/221 -
1238596 Permutation-lock, John H Teague, 1917-08-28, 70/310 70/324 70/DIG.22 70/DIG.30 70/303R -
1238617 Permutation-lock, Steve Zunac, 1917-08-28, 70/313 70/306 -
1257554 Lock, Henry G Voight, Sargent Mfg, 1918-02-26, 70/418 -
1257915 missing
Looking at all patents on 02/26/1918:
ISD/02/26/1918 @151

Mortise

The Mortise lock (Wiki) requires a pocket cut into the edge of a door. A labor intensive installation.

The Chubb "Detector" lever lock is a 200 year old mortise lock.

15031 Lock, L. Yale Jr., June 3, 1856, 70/392; 123/65VB; 123/71V - maybe first U.S. mortise lock patent, ".. includes swap or follower revolving around, either concentrically or eccentrically, the drill-pin or keyhole which erases or wipes out all impressions or marks made or left by the key upon the tumblers, so that it is impossible to read the key from the tumblers either by means of a mirror or a map." So really not a patent on the mortise, but on a way to make it harder to pick lever locks.

Russell and Erwin Mfg. Co.

396915 Lock Case, Charles M. Burgess, Russell and Erwin Mfg. Co., Jan 29, 1889, - Main body and lid parts fit together on larger sheet saving metal, Lugs on main part hold face plate.
396916 Latch Case, C.M. Burgess, Russell and Erwin Mfg. Co., Jan 29, 1889, - lid located on main body at 3 sides so only single screw needed to anchor.
404892 Latch Case, C.M. Burgess, Russell and Erwin Mfg. Co., Jun 11, 1889, - Holes for knob have edges formed to make more bearing surface (calls 396915 & 396916)
408688 Lock Case, C.M. Burgess, Russell and Erwin Mfg. Co., Aug 13, 1889, -

None of the set of 5 skeleton keys (one of which fitted the BLW lock) fit this lock.

428771
                        Reversible Latch, J.R. Forster, Russell &
                        Erwin Mfg Co., May 27, 1890, 292/245
428771 Reversible Latch, J.R. Forster, Russell & Erwin Mfg Co., May 27, 1890, 292/245 -
"My invention relates to improvements in reversible latches; and the objects of  my improvement are to make the stop and latch both reversible,  so that the stop may act on either part of the divided hub, and also to make a cheap anti-friction device for a reversible latch."



Fig 1 Russell&Erwin Mfg. Co.
New Britain, Conn. U.S.A.
Pat. Jan 29, 1889
June 11, 1889
Patent Aug, 13, 1889
Russell & Erwin Mfg Co., Mortise Lock
Fig 2 no markings on this side.
Note wards on sheet metal top & Bottom
Flat key with round tip w/shoulder
Russell & Erwin Mfg Co., Mortise Lock

408688 Lock
                        Case, C.M. Burgess, Russell and Erwin Mfg. Co.,
                        Aug 13, 1889, -



Fig 3  Inside: Unlocked
Russell & Erwin Mfg Co., Mortise Lock
Fig 4 Inside: Locked.
Only one lever with wear marks from key.
Notice wards per 40868
Russell & Erwin Mfg Co., Mortise Lock
Fig 5 Wards on sheet metal per 40868
Deformed knob hole per
404892
Russell & Erwin Mfg Co., Mortise Lock
Fig 6 Face Plate ref: 396915
Russell & Erwin Mfg Co., Mortise Lock

396915 Lock
                        Case, Charles M. Burgess, Russell and Erwin Mfg.
                        Co., Jan 29, 1889


89596 Door Key, Emery Parker, New Britain CT,  May 4, 1869, 70/405 - adds a cylindrical tip to flat key to make a bit key. (See: 408688)
234057 Key, Emery Parker, Nov 2, 1880
RE3720 Knob Attachment, Emery Parker, Nov 9, 1869 -
249789 Lock, Emery Parker, Nashua Lock Co. , Nov 22, 1881, 70/120; 70/150; 70/390 - two offset keyholes, one for each side work on different parts of the levers so key does not need to be symmetrical.  "My improvement relates to door-locks, and particularly to such as Iare intended to be used in hotels and similar buildings where it is desirable to have locks which cannot be opened from the outside when locked upon the inside of the room."
281294 Lock-case, Emery Parker, The Nashua Lock Company, Jul 17, 1883, 70/450 -

June 28, 1887 Sargent
334815 Reversible Latch, William E. Spaeks, SARGENT and Co, Jan 26, 1886, 292/245 - "...being spccially adapted for doors of hotels and other purposes, and in which each lock has a principal key peculiar to itself and not adapted to either of the other locks of the series, but in which a difterent key, called the “ master-key, may be applied to operate either of the locks of the series."
RE5885 Reversible Latchs, W.E. Sparks, May 26,1874, 292/173 -
390915 Lock, W.E. Sparks, The Sargent & Co.,Oct 9, 1888, 70/340 -
 464765 Cylinder Lock, W.E. Sparks, The Sargent & Co., Dec 8, 1891, 70/340; 70/375 -

164295 Lock Mortising-Machine, C.J. Hardee, Jun 8, 1875, 144/70; 408/224 - This looks like a very expensive machine, but it's probably required in liu of master craftsman skills.
2843167 Universal mortise and boring jig for door locks, Rushton Eugene R, Jul 15, 1958, 144/76; 144/27; 144/3.1; 33/197; 408/115R - smaller than 164295, but still expensive.

Unit Office or Key in Knob

Corbin Russwin Unit Lock

This was said to come from a school and that's consistent with the usage of these locks.  Typically used in commercial buildings like hotels &Etc.  This has an industrial feel, and can last even though it gets heavy usage.  Very unlike the thin tin cheap locks used on residential doors.

Fig 1
Corbin
                        Russwin Unit Lock
Fig 2
Corbin
                        Russwin Unit Lock
Fig 3
Corbin
                        Russwin Unit Lock
Fig 4
Corbin
                        Russwin Unit Lock

All parts of the lock were assembled at the Corbin factory.  To install a rectangular notch was cut in the edge of the door instead of the pocket required for a mortise lock, saving a lot of time.  Note that there are 7 patents all issued the same day with consecutive numbers, an indication that this is an important invention on many levels.  The different aspects or levels show up in different features and patent class numbers.  Byron Phelps was the mayor of Seattle, WA at the time he invented this lock which was made for Corbin.  Used at "Radio City" maybe around 1899 (Ref 3 pg 48).

626338 Lock, B. Phelps (then mayor of Seattle, WA), June 6, 1899, 70/149; 292/DIG.27 - "...a simple and compact form of lock adjustable to doors of various thicknesses and means whereby the lock mechanism may be adjusted at will, so as to be readily operated by either the knob upon the inside or the outside of the door or adjusted 'so as to be operated only by the knob upon the inside of the door, the knob upon the outside of the door being in the latter case freely revoluble Without effect upon the latch-bolt."
626339 Lock, B. Phelps, June 6, 1899,
70/467; 70/448 - "The objects of my invention are to provide a mechanism whereby a simple and effective lock is provided,which is compact in form, adjustable to various thicknesses of doors, and which may be locked and unlocked from either side of the door by a key passed through the knob."
626340 Lock, B. Phelps, June 6, 1899, 70/472; 292/340; 292/346; 70/468; 70/477 - "My invention relates to locks; and my object is to provide a lock which maybe inserted
in a notch in the stile of a door."
626341 Lock, B. Phelps, June 6, 1899, 70/474; 70/477 - "My invention relates to improvements in locks and locking-latch mechanism; and my object is to improve and simplify the construction of the same."
626342 Lock, B. Phelps, June 6, 1899, 292/348; 29/896.5 - "My invention relates to improvements in locks; and my object is to provide a knob which may be easily attached, yet not easily
removed from the outside, and to further improve the spindle and roll-back construction."
 

626343
Lock, B. Phelps, June 6, 1899, 70/153 - "My invention relates to looks; and my object is to improve the construction of the same."

626344 Lock, B. Phelps, June 6, 1899, 70/153; 292/DIG.24 - "... one of the principal objects embraced therein is to provide a lock which has two spindles, either of which may actuate the latch-bolt, said lock having means to prevent a second retraction of said bolt by one of said spindles operated by the rotation of that spindle."

---------------------------------------

From an eBay listing:

618486 LockG.C. Stanley, Jan. 31 1899, -

631431 Lock, Byron Phelps, Aug 22, 1899, -
631432 Lock, Byron Phelps, Aug 22, 1899, -
631433 Lock, Byron Phelps, Aug 22, 1899, - Unit Lock "U" casting
631434 Lock, Byron Phelps, Aug 22, 1899, - Unit Lock "U" casting
649706  Lock, Byron Phelps, May 15 1900, - Unit Lock "U" casting

Oct 30 1900

722619 Lock, Byron Phelps, Mar 10, 1903, - Unit Lock "U" casting
722620 Lock, Byron Phelps, Mar 10, 1903, - Unit Lock "U" casting
722621 Lock, Byron Phelps, Mar 10, 1903, - Unit Lock "U" casting
722622 Lock,
Byron Phelps, Mar 10, 1903, - Unit Lock "U" casting
722623 Lock, Byron Phelps, Mar 10 1903, -

785228 
Lock and latch, Byron Phelps, Mar 21 1905, - calls: app ser No. 236930 Dec 15, 1904, 722620
---------------------

834994 Lock, Byron Phelps, Nov 6, 1906, - Unit Lock "U" casting

1154142 Lock, E.L. Teich, American Hardware Corp, - this is the Unit Lock "U" casting type

Cylindrical

Mounted to the door by drilling two holes, one through the face of the door (for the knobs) and the other from the edge into the knob hole for the latch. (Ref 3 pg 132).  Note there is no "lock" this is just a knob for opening the door.

Patented Dec 31, 1833 by P. E.W.& J.A. Blake (before the Patent Office fire of 1836 (Wiki) -

158811 Locking
                        Latches, E. Skinner, Jan 19, 1875 292/169.14;
                        292/150; 70/449
158811 Locking Latches, E. Skinner, Jan 19, 1875 292/169.14; 292/150; 70/449 - an example of a cylindrical latch (note there is no "locking" function that can be opened from the outside. -

Tubular

The Tubular lock is similar to the Cylindrical, i.e. it takes only two holes drilled into door for installation, and adds a key locking function in the outer knob. (Ref 3 pg 136)

1579457
                        Doorlock, W.R. Schlage, 1926-04-06
1579457 Doorlock, W.R. Schlage, 1926-04-06, 292/164; 292/DIG.26; 292/359; 70/DIG.3; 292/169.18 -
1674841 Door
                        Lock, W.R. Schlage, Jun 26, 1928, 292/169.22;
                        292/169; 292/337; 292/DIG.52; 70/449; 70/DIG.3
                        - 1674841 Door Lock, W.R. Schlage, Jun 26, 1928, 292/169.22; 292/169; 292/337; 292/DIG.52; 70/449; 70/DIG.3 - Invented between W.W.I and W.W.II, so popular post W.W.II.
Schlage "A" series (Wiki: Schlage)
4756177 Lock
                        and key blade, Bo Widen, (Schlage), 1988-07-12
4756177 Lock and key blade, Bo Widen, (Schlage), 1988-07-12, 70/493; 70/358; 70/419; 70/378; 70/421 - Primus will fit standard Schlage "C" keyways.
YouTube: DeviantOllam: Deviant's Lock Advice - Part 01 - Locks I Often Recommend -
YouTube: Artichoke2000:
(08) ASSA Twin Combi picked and gutted with split screen of internal and external views, 12:58 - shows patent Fig 12
this patent also used for the ASSA Twin Combi which is more secure because of the serrations on the pins.

5715717
                        Cylinder lock and key combination including a
                        profiled key, Bo Widen, (Schlage),1998-02-10
5715717 Cylinder lock and key combination including a profiled key, Bo Widen, (Schlage),1998-02-10, 70/493; 70/406; 70/453; 70/420; 70/419; 70/409 -
Everest

See LFIC Everest

5809816
                        Cylinder lock and key combination including a
                        profiled key, Bo Widen, (Schlage), 1998-09-22
5809816 Cylinder lock and key combination including a profiled key, Bo Widen, (Schlage), 1998-09-22, -


7159424 Lock
                        and key system with extra code combinations, Bo
                        Widén, Winloc AG, (Schlage), 2007-01-09
7159424 Lock and key system with extra code combinations, Bo Widén, Winloc AG, (Schlage), 2007-01-09, 70/409; 70/495; 70/494 - Primus XP

2870621 Cylindrical lock set, Adolf Schoepe, Filed: Nov 20, 1953, Pub: Jan 27, 1959, 70/476; 292/169.17; 292/169.18; 292/169.22; 292/337; 70/451; 70/479 -  Kwikset was popular post W.W. II

Store Front

Adams Rite is a popular brand.  These accept standard cylinder lock assemblies.

3073143 Lock
                      hold-back latch, Charles L Eads, Adams Rite Mfg,
                      1963-01-15
3073143 Lock hold-back latch, Charles L Eads, Adams Rite Mfg, 1963-01-15, 70/151R; 70/DIG.6; 292/169.13; 292/169.14; 292/169.17 -
4848118 Lock
                      hold-back latch with anti-pick device, Jeffrey M.
                      Tesone, Adams Rite Mfg,1989-07-18
4848118 Lock hold-back latch with anti-pick device, Jeffrey M. Tesone, Adams Rite Mfg,1989-07-18, 70/419; 292/169.17; 292/169.13; 292/346 -
Fig 1 Prior Art shows how a shim will open the above lock.


RFID Lock

I first saw this on a Gun Broker ad where it was called the UltraLock.  The link was to Official Tactical Kit which has an affiliate program so Gun Broker earns a commission on the sale (3 reports at Web Scammer Jammer).  Official Tactical Kit has all the ear marks of a web scam described in the book Cyber Fraud: The Web of Lies: US Marine Risks Life in Prison To Expose a Cybercrime That Consumers Know Nothing About.  I'm 99% sure this is the identical lock as the one shown on the Official Tactical Kit web page because video of a man trying to pull it apart shows details on the RFID card side of the box that match this one, see Fig 4.

I didn't give my email to get their price, but instead found the lock on eBay for about $12 including postage, where it's called an RFID Lock.  There are two versions, one has the large diameter pin like shown in the Tactical Kit ad and the other has a thin sheet metal loop and a plastic case.

There is a cable with a connector for external power for when the battery fails.  But neither instructions about voltage (probably 6 V to match 4 each AAA batteries) or polarity nor a mating connector.  With a motor powered unit like this when the battery goes dead the motor will not turn so it can not be made to open on a dead battery.  There might be another design where a low battery would cause the motor to open and the beeper sound every now and then (the kind of thing comics have fun describing a beeping noise that you can not find).

Fig 1 Comes with mounting screws, 3 wallet RFID cards
and 1 button RFID card.
There is a switch at the bottom of the small hole that's used
to pair an RFID card with the lock.
RFID Lock
Fig 2 Shown in locked position.
Note there are 2 configurations possible for the lock
and strike. 
RFID Lock
Fig 3 RFID coil at left, motor & gear train at right.
RFID Lock
Fig 4 "CARD" should face the front where the RFID card
will be on the other side of a wood door.  It works fine
through a standard household 1-3/8" door.
The rectangular hole gives access to pads "G" & "T".
Ground and Test?
The nearby hole lets the beeper sound get out.
RFID Lock


Youtube: Invisible Hidden RFID CABINET LOCK (installation video) - In Mandarin for a similar but slightly different RFID lock

Coin Bathroom Stall

From a YouTube by LockPickingLawyer: [1113] The Lock Defeated By Feminism Before I Was Born - made by American Coin Lock Company but they don't seem to have any patents.
The patents for coin operated bathroom stall doors all seem to be by Frank J. Rowse. Other companies who make coin operated locks are:
Coin Controlled Lock Co -
Coin Time Lock Co - lockers
Universal Coin Lock Company - can change coin denomination - bathroom stall door?
American Coin Register Company - trolley car or buss  (see: San Francisco Cable Car Co. Bell)

1201632 Lock, Frank J Rowse, 1916-10-17, 70/156; 70/DIG.41; 70/432; 70/427; 70/447 -
1568769 Coin-controlled locking mechanism, Frank J Rowse, 1926-01-05, 194/295; 194/351 -
1568770 Coin-controlled locking mechanism, Frank J Rowse, 1926-01-05, 194/296; 194/351; 194/298 -
1611081 Coin-controlled lock mechanism, Frank J Rowse, 1926-12-14, 194/225; 194/298; 194/344; 194/351 -
1782768 Coin-operated vending machine, Frank J Rowse, 1930-11-25, 194/301; 194/351; 221/274 -
1981074 Coin controlled locking mechanism, Frank J Rowse, 1934-11-20, 194/295 -
2417056 Coin operated device, Norman E Bowen, 1947-03-11, 194/292; 194/344; 194/295 -

Dead Latch

Back in the 1950s the door between the garage and house did not have a dead latch.  So when locked from the inside it was possible to alternate between pulling on the door to trap the bolt and moving the bolt back using a sharp tool.  The more modern Travler's Hook (Southern Specialties), either the wire or sheet metal model type would be much better.

The fix for this problem is the dead latch.  A major problem is that these need to be properly installed.  If the small auxiliary bolt (26) is allowed to move with the main bolt then the dead latch function will not be effective.

Also see the Yale door latches above.

2136539 Night
                      Latch, Brinton Joseph Hill, 1938-11-15
2136539 Night Latch, Brinton Joseph Hill, 1938-11-15, 292/163 70/151R 292/169.14 70/DIG.42 292/169.13 -
RE21608 Night Latch, Brinton Joseph Hill, 1940-10-29, 292/163 70/DIG.6 292/169.14 292/169.13 -

Found while searching for prior art to patent 2403597.  This has a small auxiliary bolt (20) but the purpose is to hold the main bolt in
the retracted position so that you can open the door using one hand. Prior art Dead Bolts (Wiki) (Night Latches) required the use of both hands.
2230096 Door
                      latch, Henry G Voight, Sargent Mfg, 1941-01-28
2230096 Door latch, Henry G Voight, Sargent Mfg, 1941-01-28, 292/169.13 70/487 292/169.18 70/469 292/169.16 -

The small auxiliary bolt (48) locks the main bolt
2403597 Door
                      lock, Carl A Hillgren, 1946-07-09
2403597 Door lock, Carl A Hillgren, 1946-07-09, 292/169.13; 70/151R - auxiliary bolt (12)
2497750 Lock,
                      Jr George W Wardwell, Sargent Mfg, 1950-02-14, -
2497750 Lock, Jr George W Wardwell, Sargent Mfg, 1950-02-14, 292/169.13; 70/217; 292/DIG.37; 292/169.17; 70/476; 292/153 -

The small auxiliary bolt (35) locks the main bolt
2250727 Walter
                      R Schlage, Schlage Lock Co, 1941-07-29
2250727 Walter R Schlage, Schlage Lock Co, 1941-07-29, 292/169.13 70/DIG.3 292/169.22 70/151R -

small

2770480 Dead latch structure, Thomas B Linton, Kwikset, 1956-11-13, 292/169.13; 70/151R; 292/169.23 -

Picks & Locksmith Tools

Lishi

Here are a couple of reviews of the Lishi tool.  They are much more instructive than watching someone (LockPickingLawyer or BosnianBill) because you can see what they are doing.
YouTube: LockPickingLawyer: [1283] A Lock Picking Game Changer? -
     Covert Instruments-Lishi -
AM5, M1, SC4, SC1 & KW1
YouTube: BosnsiaBill: Review: Lishi SFIC Picks (WOW!) -
Lishi - 2-In-1 Tools - almost 3 dozen different models

Classic Tools

Southord PXS-14

Southord PXS-14
Quality stainless steel construction.
A general purpose kit for Single Pin Picking (SPP) mostly of pin tumbler locks, but also works for other types.

Picks fit into case as if in a bag.
Not as nice as my prior set (now hiding from me) where each pick has it's own compartment, so when opened you see them all in their place.

Here you need to dump and sort them every time.

Although there are 4 torque wrenches they are all the same size material.  Better if different sizes and types of wrenches.

Southord DSS-4

Southord DSS-4
Aimed at double sided wafer locks, like the Detex.

Double ended Jiggler

 (shown close to life size if 72 DPI display)

Double ended Jiggler
Aimed at single sided wafer locks.

GOSO 24 piece Set

GOSO
                      24 piece Set

Poorly made general purpose set that includes pin tumbler practice padlock.
BangGood Disk Tumbler 2-in-1 lever lock pick Tools
BangGood
                      Disk Tumbler 2-in-1 lever lock pick Tools
But this does not fit any of my lever locks.  Apparently tools for working lever locks need
to be made or purchased for the specific lock.
Lock Cylinder Plug .500 Dia Follower
Lock Cylinder Plug .500 Dia Follower
For making key for Yale Push Key Padlock
A plug follower and the below tweezers are needed if you want to disassemble and reassemble pin tumbler lock cylinders.
ILCO 6" Lock Pinning Tweezers 899-00-51
ILCO 6" Lock Pinning Tweezers
                        899-00-51
Note that if you try to pick up a cylindrical object, like a pin, with ordinary tweezers
it is likely that it will be shot out of the tweezers and lost.  These have a cylindrical notch
to hold the pin.
Warded Lock Pick Tools
Warded
                      Lock Pick Tools
Warded Lock Pick Tools

Containers

2023 Sep 09: NYT: How a Company That Makes Gun Safes Angered Gun Owners: Liberty Safe faced intense criticism this week after it acknowledged that it had voluntarily given the F.B.I. the access code to a safe in response to a search warrant (Insurection/1:23-mj-00212) for a property.
This sub head bothered me.  Why would the safe company have the combination?  After reading the story and surfing the Liberty Safe web page I have a couple of  ideas.  There are a number of options for the lock: Mechanical and electronic. 
1. They recommend a locksmith to change a mechanical lock but the safe owner can change the electronic combination locks.  It turns out there's different styles of electronic locks and some of them have "administrator codes" or "recovery codes" that would allow anyone to gain access. 
2. The other possibility is that the safe came with a mechanical lock and the factory knows it's combination.  This suggests that owners learn how to change the combination on mechanical combination locks.  It's pretty easy.
2025 Sep 11: Wired: We Broke Into A High-Security Electronic Safe In Seconds | Hacklab | WIRED, 13:04 - applies to Securam Prologic locks.  "would allow a digital safecracker to insert a tool into a hidden port in the lock and instantly obtain a safe’s unlock code";  "... can get into almost any Securam Prologic lock in the world.”
YouTube 1Securam ProLogic L02 - ResetHeist Demo, 0:56 - , all users deleted, set new code.
YouTube 2: James Rowley,  Securam ProLogic L02 - CodeSnatch Demo, 1:13 - remove battery and use "Locksmith jack" to insert digital device which displays "Supercode" which, after reinstalling battery opens safe.
Defcon Slides - Liberty Safe TopLit ($85 on eBay);
DeviantOllam: "Getting the Right Rotation: Safe Locks and Sushi Rolls" my talk at PancakesCon 2024, 58:21 - @19:53 Non-Manufacturer Backdoor: Differential Power analysis, @23:28 Dan's Little Black Box;
Defcon YouTube (not posted as of Sep 2025)
Many locks are used on some type of container, either as an add on or as part of the container.
The antique-Locks forum has a category: "Caskets, Coffers & Chests. 
"This appealing category is for single skin locking boxes and might include items like: Chests, Deed Boxes, Dispatch Boxes, Money Boxes, Toy Banks, etc., and made from a range of materials including, brass, cast iron, iron, steel, wood, plastic, porcelain, etc."

Types of Container

Safe (Wiki) Secure lockable box. 
126131 Improvement in Safes, William Coeliss, Apr 30, 1872 -
137061
Burglar Proof Safes, William Coeliss, Mar 25, 1873 -
271313 Burglar Proof Safe,
William Coeliss, Jan 30, 1883, -
Fire Safe (Wiki) Pretty much all of the safes sold in retail stores are only for protection from fire, not burglary (Wiki).  Note that the thing that protects paper contents from fire is a lining that contains water in some from so that when heated by fire the temperature is limited to about 212 deg F.  The problem with that is the moisture makes the humidity inside the box very high and that includes the lock itself.  This may be a problem for the lock.  Another problem is that over time the water evaporates and so a fire safe has a shelf life.  Do not depend on an antique fire safe to protect documents now.

If the safe is to serve both burglary and fire then either the outside or inside boxes needs to offer the burglary protection.  If Plaster of Paris (Wiki, Fire Protection) is used to fill the gap, then there needs to be a hole in the outside box to allow it to be poured inside (I would use the gap at the door for that purpose).

3117 Fire-proof Chests and Safes, D. Fitzgerald, June 1, 1843, 252/1; 106/680; 109/84 - 3" of Plaster of Paris (Wiki) between outer and inner walls. - List of Patent Trials
273585 Fire-proof safe, M. Mosler, Mar. 6, 1883, 109/80; 109/85 - filled from bottom - List of Patent Trials
281640 Fire-proof safe, M. Mosler, Jul 17, 1883, 109/79; 109/85 - less finishing of blacksmith work - List of Patent Trials
 
Burglary Safe (Wiki: TL-15 and up) these containers can be UL rated to withstand various attacks but not only do not have fire ratings they are a problem in a fire since they easily transmit heat to the interior.  The poorest location for a free standing burglary safe is in a basement where it will cook if the building burns.  An exception to this is when the safe is surrounded by concrete.  For example the money safes in grocery stores and safes that are located under a concrete floor.  There are two kinds of "floor safes": one type sits on the floor and the other type is in the floor.

Vault (Wiki) Unlike safes, vaults are an integral part of the building within which they are built, using armored walls and a tightly fashioned door closed with a complex lock.

File Cabinet (Wiki) Can be modified with a locking bar to accept a padlock, like the S&G 8088 or 8077.  I had a fireproof 4-drawer file cabinet and the papers in it were not wet, but slightly damp.

Piggy Bank (Wiki) Might be secure from very small children.  sometimes called a "still bank".

New Blue Dictionary Secret Book Hidden Safe Money Box Home Security Key Lock

Ebay about $10
I don't get why someone would use one of these.  The idea of security through obscurity (Wiki) was popular up to about 1851, but today is seen as not such a good idea.  Any burglar (Wiki) worth the name would know of commercial products designed to hide valuables, so this fake book or the electrical outlet, clock and other such concealment devices would be discovered.  If you want to use concealment, then come up with your own version.  One idea is to consider the first rule of camouflage (Wiki)  To hide something put it in surroundings that look just like it.  If something stands out it will be looked at.  The lock might and might not keep children from opening it, so maybe it's useful for parents to keep things they don't want their children getting.

If concealment is how this is supposed to work, then the lock is superfluous.  Once it has been found and if it contains valuables, then I've read somewhere it's name changes from a safe to a convenient way to carry the valuables.  In other words it will be carried to the location where it's pried open. When I was working at Aertech, a microwave semiconductor company, one Monday morning the safe that we used to hold all the gold wire was gone.  The burglars had wheeled it from the front of the building out the back door and taken it away.  It was later found out near the San Francisco bay opened and empty. 

This type of lock is called a "Cam lock" and they are used in many places to secure thin doors.
Fig 1
Book Safe
Fig 2
Book Safe
Fig 3
Book Safe

New Electronic black Safe Box Digital Security Keypad Lock Office Home Hotel VIP

eBay about $21  It's amazing that you get so much for so little. But security may not be one of the things you get.  I recently saw a version of this that added a time lock function where that control panel is on the inside of the door with a starting price of $281!  It was based on this exact unit.  Amazon sells the time lock unit for $215.

This safe has no provision for protection against fire.

The two included anchor bolts can be used either in the bottom and/or back wall to attach the safe to something that should make it more difficult to just walk away with it.

There are a plethora of YouTube videos with titles like "how to open digital safe" where the subject is a model that looks very much like this one.  Some of the ways are:

  • Wiggle the opening knob while banging your hand or a rubber hammer on the top
  • Banging on the top of the control panel with a can of beer, padlock, Bic lighter, potato, karate chop with the heel of your hand,
  • Bounce it on your bed or drop on table (Defcon)
  • Using a hammer and chissel cut off the control panel and the cam lock, use finger in cam lock hole to release locking bar.
  • Use tubular lock impressioning tool (different from tubular lock picking tool), you just press it, like the Bic pen attack.
  • use something that fluoresces under black light, like laundry soap, Vitamin A dissolved in vinegar, spinach, &Etc., to find the possible numbers from the keyboard.  To be done before the safe is opened.
  • If bolted down use hammer and pry bar to peel door open.
  • Use a strong (3" dia x 1+" thick) magnet at the upper left of the door.  You can hear a click as the solenoid pulls in.
  • Use Pendaflex file folder metal rod bent with 2 right angles like a slim-jim to press the red reset button
  • Drill the mechanical lock.
  • If the mechanical lock is of the wafer type, then jiggler keys may easily open it or a bobby pin inserted loop end first and then spread and used a jiggler, or the blade of scissors.

Circuit Description

The keypad is the only electronic part outside the container, unlike other digital safes where the control board is also outside the box, so this is a little better in that respect.  When the control board is outside the box then your can "spike" the solenoid with a battery.  The batteries, control board and solenoid are all inside the container.  But that causes a problem if the battery dies and so a mechanical lock is added as a bypass for the electrical lock and that adds a weakness.  This problem was solved by the Kaba MasX-07 and newer dial combination locks where spinning the dial generates the electricity needed for lock operation, so they should work after many decades of non use.

The control board is based on a Elan Microelectronics p/n: EM78P153 microcontroller. 8-pin DP U2 and an associated resistor are not populated on the control board. Not sure what added functionality it might add (let me know).

The 3 column x 4 row keyboard connects to the control board by means of a 7 conductor ribbon cable.
The reset button connects to the control board by means of the White and Yellow wires.
The 4 each series AA batteries (6 Volts) connect to the control board by means of the Red and Black wires.
The solenoid connects to the control board by means of the 2 Blue wires.

Some other safes locate the battery, control board and the keypad outside the container and so have 4 wires (2 keypad, 2 solenoid) going through the hole in the container.  This removes the requirement of a mechanical bypass lock since the batteries can be replaced while the container remains locked.  These safes can be opened by "spiking", i.e. connecting a battery directly to the solenoid wires.

A better arrangement would be to have the battery and keypad outside the container and the control board inside along with the reset switch.

The Kaba Mas X-07 combination high security electronic lock uses a motor rather than a solenoid to avoid the bumping problem and uses the dial as an electrical generator to avoid the use of batteries.

I've tried dropping and bumping this safe and so far it's not popped open.  It may be the best of all the new devices shown in this section on containers.  For most hobbyist lock pickers the tubular type bypass key would present a problem.  It may be possible to bend some sheet metal in such a way as to get to the reset button (Fig 4) which would allow access.


Fig 1 Tear at top left corner, metal parts rattling
New Electronic black Safe Box Digital
                      Security Keypad Lock Office Home Hotel VIP
Fig 2 Batteries and anchor bolts loose inside.
New Electronic black Safe Box Digital
                      Security Keypad Lock Office Home Hotel VIP
Fig 3
New Electronic black Safe Box Digital
                      Security Keypad Lock Office Home Hotel VIP
Fig 4
New Electronic black Safe Box Digital
                      Security Keypad Lock Office Home Hotel VIP
Fig 5
New Electronic black Safe Box Digital
                      Security Keypad Lock Office Home Hotel VIP




Kid Money Safe Small Combination Lock Box Bank Coin Cash Free Shipping Home New

eBay about $15

625203 Permutation Lock for Toy Safes, C. Rossignol, Paris, France, May 16, 1899, 70/304 - 2-dial side-by-side
144106 Toy Money-boxes, C.C.  Johnson, Oct 28, 1873,
    RE6734 Toy money-boxes,
Charles C. Johnsof, Horace Partridge, Nov 9, 1875, 446/12 -
159263 Toy Money-box, J. Hall, Feb 2, 1875, 446/12  - putting coin in dog's mouth causes head to turn dropping coin into box. - class 446/12 is Amusement Devices: Toys/Coin Dispensing Figure
183000 Toy Moneuy-box, J. Hall, Oct 10, 1876,
446/12 -

Fig 1 I had one of these when I was young, and opened it without knowing the combo.
Kid
                      Money Safe Small Combination Lock Box Bank Coin
                      Cash Free Shipping Home New
Fig 2 two disk combination lock.
Shown in open position.
Kid
                      Money Safe Small Combination Lock Box Bank Coin
                      Cash Free Shipping Home New
Fig 3 While combination is printed on bottom, it's easier and faster to just pull and turn knob until door slightly opens then turn in other direction.
Kid
                      Money Safe Small Combination Lock Box Bank Coin
                      Cash Free Shipping Home New

Portable Cash Lock Box Key Removable Storage Tray Office Home Security Cash Box

eBay about $15

Fig 1
Sentry Safe CB-10, Portable Cash Lock Box Key
                      Removable Storage Tray Office Home Security Cash
                      Box
Fig 2 Nice quality, but not at all secure.
Both a cheap lock and someone can take
the whole box and open it later.
Sentry Safe CB-10, Portable Cash Lock Box Key
                      Removable Storage Tray Office Home Security Cash
                      Box
Fig 3 It's questionable if the lock is strong enough to carry with the handle without it opening and spilling coins.
Sentry Safe CB-10, Portable Cash Lock Box Key
                      Removable Storage Tray Office Home Security Cash
                      Box

U.S. Pat Aug 28, 1917, Feb 26, 1918 trademark: [heart] K [heart]

U.S. Pat
                      Aug 28, 1917, Feb 26, 1918
U.S. Pat
                      Aug 28, 1917, Feb 26, 1918 U.S. Pat Aug
                      28, 1917, Feb 26, 1918 trademark: [heart] K
                      [heart]
U.S. Pat:
Aug 28, 1917,
Feb 26, 1918
trademark: [heart] K [heart]


 
1238186
                      Sheet-metal box, Isidor Paroly, Myer Kamenstein,
                      1917-08-28
1238186
                      Sheet-metal box, Isidor Paroly, Myer Kamenstein,
                      1917-08-28 1238186 Sheet-metal box, Isidor Paroly, Myer Kamenstein, 1917-08-28, 220/684 - about how it's folded
1257385
                      Sheet-metal box, Sheet-metal box, Isidor Paroly,
                      Myer Kamenstein, 1918-02-26
1257385
                      Sheet-metal box, Sheet-metal box, Isidor Paroly,
                      Myer Kamenstein, 1918-02-26 1257385 Sheet-metal box, Sheet-metal box, Isidor Paroly, Myer Kamenstein, 1918-02-26, 220/689 220/658 220/768 109/58 220/212.5 220/761 190/28 -


Kamenstein, Myer, New York and Brookly, N.Y. Ash garbage, and oil cans. No 130769: May 4 1920; v 274; p. 186

Other patents assigned to Myer Kamenstein are for sheet metal products or a wire handle making machine.

Steelmaster (MMF) Locking Steel Bond Box

Discovered this on the MMF web page while looking for replacement parts for a Downey-Johnson coin counting machine.  It appears to be a higher quality cash box for about the same price (eBay: $20).  It's smaller and has no internal divisions, but maybe a higher quality lock. (ordered 27 Apr 2017).

29 April 2017 - received the "Bond Box" and it's very poor quality.  The key did not work and it bent when trying to get it to turn.  The whole thing probably made out of soft iron, not steel.

Fig 1
Steelmaster
                      (MMF) Locking Steel Bond Box
Fig 2
Steelmaster
                      (MMF) Locking Steel Bond Box
Fig 3
Steelmaster
                      (MMF) Locking Steel Bond Box

Automatic Recording Safe Co Coin Bank

I've read that the idea was that a bank would order these from the maker and then give them away without the key.  The top plate was "branded" with the name of the bank.  They were registered when issued by serial No..  When returned to the bank the money (could hold paper money in addition to coins) would be deposited into a savings account and the empty bank returned to the customer for another refill.  Over time these ended up in customers hands without the key to open.  Some were drilled to get the coins out, like Bank #1 below, or were kept empty, like Bank #2 that only had a 1937 Nickel in it.  Other models of Automatic Recording Safe Co. coin banks are: "The Traveling Teller",  "The Branch Bank", "Baby's Bank" (plastic), The Fortune Founder.

This was long before the "Nixon Shock" of 1971 when pretty much everyone thought banks loaned out the money that depositors had put into the bank so the banks offered all kinds of incentives to get people to put money into savings accounts.  Today (2017) pretty much all bankers know that no deposits are required to make loans (Wiki: Fiat Money, fractional reserve banking).  But Modern Monetary Theory teaches that banks really make loans independent of any reserves they may have and in the next week or so borrow any reserve amount they need to be compliant from the Fed.  For more on this see MMT.

There is an eBay seller showing what appears to be a rent agreement ($2.50 for safe deposit box No. 80 for a year (1917 - 1918).  I think that agreement is for a safe deposit box in a vault, not a coin bank.

Also see Paper and Coin Money.

The first one of these I got (Bank #1: "The Home Teller")  had the lock drilled so that when you picked up it up the bottom part stayed on the table.  Bank #2 "The Wealthometer" has a working lock and there is a nickel coin trapped inside.
Bank #1 came with a top plate for "The Ticonic National Bank, Waterville, Maine, No. 2449".  Bank #2 has had the top plate removed.


The Home Teller
Bank #1
The Wealthometer
Bank #2
The Traveling Teller The Fortune Founder The Branch Bank
Length
3-1/3"
3-3/4"



Height
2"
2-1/3"



Pennies
$0.25
$0.29



Nickles
$1
$1.15



Dimes
$3.10
$3.50



Quarters
$5.50
$6.50



Halves
0
$10.50



total
$9.85
$21.94




Fig 1 Bank #1
Automatic Recording Safe Co Coin Bank
Fig 2 Bank #1
Automatic Recording Safe Co Coin Bank
Fig 3 Bank #1 The Home Teller
Automatic Recording Safe Co Coin Bank
Fig 6 Bank #1 Lock removed from base.
The lock is really part of the top.
Automatic Recording Safe Co Coin Bank
Fig 4 Bank #2 - note the locking plug here that's missing in Fig 1 above
Automatic Recording Safe Co Coin Bank
Fig 5 Bank #2 The Wealthometer
Automatic Recording Safe Co Coin Bank
Fig 8 Close up of lock
Automatic Recording Safe Co Coin Bank
Fig 7 Bank #1
Automatic Recording Safe Co Coin Bank
Fig 9 Bank #1 inside top showing lock body not there.
Automatic Recording Safe Co Coin Bank


Fig 10 Bank 2 Opened with hand made key.
Automatic Recording Safe Co Coin Bank

Patents

Class 232 is Deposit and Collection Receptacles, sub class 5 is savings boxes and 6 (a sub class of  5) is Frame fastenings, sub class 44 is Closures and Chutes

 758340 Savings-bank, Robert John Thompson, Apr 26, 1904, 232/5 - rectangular, sheet metal finger to keep from shaking coins out, Round in top view, cast base
793779 Savings-bank, Charles Fisher, ?, Jul 4, 1905, - round, sloped spring loaded pin to prevent extracting coins
990534  Savings-bank, Charles Fisher, Automatic Recording Safe Company, Apr 25, 1911, - round, sloped spring loaded pin to prevent extracting coins, more durable and holds more coins than 793779
1072709 Savings-bank, Charles Fisher, Automatic Recording Safe Co., Sep 9, 1913, 232/44 - Oval,improved tamper resistance by spring loaded slot blocker
1073847 Savings-bank, Charles Fisher, Automatic Recording Safe Company, Sep 23, 1913, - Oval, lower mfg cost, resilient stamped sheet metal slot guards
--------------
1159834 Savings-bank, Charles Fisher, Automatic Recording Safe Company, Nov 9, 1915, 232/6 - oval, lower mfg cost & improved operation
1150525 Savings-bank, Ivert Larsen, Automatic Recording Safe Company, Aug 17, 1915, 232/5 - round, improved lock and coin slot guards
1157303 Savings-bank, Charles Fisher, Automatic Recording Safe Company, Oct 19, 1915, 232/5 - oval, improved lock
1170525 Savings-bank, Charles Fisher, Automatic Recording Safe Company, Feb 8, 1916, 232/5, 206/.83 rectangular, coins sit at 45 deg 

Registering Bank Kingsbury Mfg. Co.

This is another example of a "Registering Bank", that's to say a coin bank that tells you how much money it contains.  Patent class 235 is Registers and subclass 100 is Registering Boxes.
Stamped on the bottom:
In case of accident to bank send insured to Kingsbury Mfg Co Keene, N.H.  Bank will be repaired and returned with check for contents less 25¢.
Opens only at $4.95 to $5.00.  So the key to unlock the access door is the value of the register.

1939353 Registering bank, Kingsbury Harry T, Kingsbury Mfg Company, Dec 12, 1933, 235/100 - bank unlocks after a certain value of coins has been deposited. - reciprocating movement
2022422 Registering Bank, H. T. Kingsbury, Kingsbary Mfg, Nov 26, 1935, 235/100 - circular movement - i.e. can not turn backwards to allow removing coin after it's counted - This is the version shown below.
2022422 Registering Bank
2022422
                        Registering Bank, H. T. Kingsbury, Kingsbary
                        Mfg, Nov 26, 1935, 235/100 - circular movement -
                        i.e. can not turn backwards to allow removing
                        coin after it's counted
Fig 1
Registering Bank Kingsbury Mfg. Co.
Fig 2
Registering Bank Kingsbury Mfg. Co.
Fig 3 Hand ink stamp "Pat. Appld. For
Registering Bank Kingsbury Mfg. Co.

Add-o-Bank

This is another example of a "Registering Bank", that's to say a coin bank that tells you how much money it contains.  Patent class 235 is Registers and subclass 100 is Registering Boxes.
The business model for this coin bank was the same as that for the Automatic Recording Safe Co Coin Banks above.  The coin banks were sold to savings banks and were "branded" with the name of the savings bank or retail store. 
In this case the "branding" was printed on the top: American Stainless Kitehen Co., Inc., Thermalloy, Pluramelt, 18-8, Stainless Steel
This appears to be a giveaway for a trade show.

On the bottom stamped into the metal door:
ADD-o-BANK
Place lever at extreme right
Insert coin and pull lever to extreme left.
Bank registers nickles, dimes  and quarters.

Stamped into the bottom plate:
Steel Products Corp. of California
San Francisco
U.S.A.
Ptd. March, 31-42
No. 2278908

2278008 Registering coin-savings bank, Greer Denver H, Mar 31, 1942, 235/100 - made by Steel Products Corp. S.F. Calif.
Fig 1
Add-o-Bank
Fig 2
Add-o-Bank
Fig 3
Add-o-Bank

Toy Bank

"Toy money-boxes" is a common patent title.

Henry C. Hart
                      Cast Iron Still Piggy Bank Detroit Michigan Pat.
                      APLD For
Henry C. Hart
                      Cast Iron Still Piggy Bank Detroit Michigan Pat.
                      APLD For Henry C. Hart Mfg. Co.
Detroit, Mich.
Pat. Apld. for.

D16146 Toy Bank, Henry C. Hart,
Antique Steel Bank Safe Lockbox Pat. 1895 with Handle and Key -Still Bank
Antique
                      Steel Bank Safe Lockbox Pat. 1895 with Handle and
                      Key -Still Bank
W.F. Burns Co.
Chicago
Patented Jan 15, 1895.

532505 Saings-Bank, L.J.W. Wall, Jan 15, 1895, 232/58; 232/66; 194/351 -

664990 Coin-receptacle, Owen Burns, W. F. Burns Co., 1901-01-01, 232/58 -

679216 Coin-receptacle, Charles O Burns, Emil A Strauss, C O BURNS Co, 1901-07-23, 232/58; 232/44 -

738251 Safety deposit-box, Emil A Strauss, 1903-09-08, 109/56 - removable door [has the look and feel of the S&G 4500]

845815 Lock for savings-banks, Otto Pfleger, W F BURNS Co, 1907-03-05, 70/63; 232/6; 70/387; 70/123 -

845908 Pocket-savings-bank, Edwin Vaughn, W F BURNS Co, 1907-03-05, 232/4R; 232/44 -

Safe Box

This is very similar to the key lockable box inside the Herman Safe.  It could also be installed into a house by screwing it on the bottom and sides to the house frame.
The door has a 2-lever lock.  In the right rear corner you can see a rusty square nail, so that may date it prior to1800 (Reference, Wiki), although square nails were used for another hundred years, so not at all definitive.

Outside Dimensions: 10-1/2" long x 6" wide x 5-1/2" high.  The metal only compartment is a hair more than 10" deep so will hold standard 8x10" paper. 

I have found some flat keys that are 0.05" thick and 0.237" wide that will fit the keyway, and partially extend the bolt, but not fully extend the bolt so that it can easily be pushed back to the open position.  The key should be 0.05" thick and more like 0.28"  wide to fully fit the keyway and then the throw would be enough to fully extend the bolt to the locked position.

How to cut keys for lever locks?  Let me know.  an answer is to use needle files, but that takes some skill.


Fig 1
Safe Box w/
                      2-lever lock
Fig 2
Safe Box w/
                      2-lever lock
Fig 3
Safe Box w/
                      2-lever lock
Fig 4
The topS&G "35"  key is the correct thickness & width (0.280") but is not properly cut.
The bottom key partially opens the lock.
Safe Box w/
                      2-lever lock
The key for the Herman safe internal door fits and turns, but has wrong bitting.
0.05" thick x 0.275" wide.  The lock body appears to be the same as in the Herman safe.
The S&G key for the Herman safe deposit box has half a dozen cuts, but this lock only has 2 levers.  Have not opened the Herman safe lock to count levers.
The ILCO 1322 (0.060") or 1322S (0.050") thk and 0.275" wide so may be the correct blank?

Hermann Safe Co.

Fig 1 Herman Safe Co. San Francisco, Direct Entry Fence
Herman Safe Co. SF
Fig 2 Inside
Herman Safe Co. SF

It looks like the pins that determine the combination
can be moved to different positions since there are
threaded holes in all 3 disks.
Fig 3 Close to patent 489447 below
Cap removed.
Screw can be seen  through notch.
Herman Safe Co. SF

Fig 4 Sargent and Greenleaf Lever Lock (See above)
Herman Safe Co. SF


489447 Permutation-lock, Jan 10, 1893, "...a novel construction whereby the driving pins or lugs of the tumblers can be set so as to change the combination and produce another given combination,.."
200070 Improvement in tumblers for permutation-locks, J. Loch, Feb 5, 1878 - Easy combination change
4233913 Safe Door, John C. Herrmann, Herrmann John C, Nov 18, 1980,  109/59.00T, 109/64, 70/1.5, 70/119 - round door with lugs spaced 120 deg, built-in combo lock - not for use with standard lock bodies.

Commercial Safes

BosnianBill on YouTube did a few episodes on commercial safes with various mixes of fire and burglary protection.  The ratings are from Europe (Wiki, ECB-S)

(apartment dwellers no need for fire) (1822) Choosing a Small Safe (Part 1) - MSafe Model PSB 350: 13"h x 18"w x 13"d, 64 lbs, 20 min fire, good (S-2) burglary protection ($388 in 2020, $599 in 2022)

(homeowners fire & burglary)  (1826) Choosing a Small Safe (Part 2) - MSafe model PFB-32:  13"h x 18"w x 18"d, 135 lbs, 1 hr fire, better (S-2+) burglary protection ($610 in 2020, $1139 in 2022)

(Commercial use)  (1830) Choosing a Small Safe (Part 3) - MSafe PFB1-32:  13"h x 18"w x 18"d, 168 lbs, 1 hr fire, great (Grade 1) burglary protection ($1499 in 2022)

Keys (Wiki)

In the book Workshop Receipts for Manufacturers and Scientific Amateurs, Vol III, 1917 (free on line) the chapter on Key-cutting says there are the following kinds of keys: Warded (see: Belfry lever padlock, lever (see: S&G 4400), Bramah (see Bramah) and Yale (see pin tumbler).  Along with instructions on making a key by copying an existing key or using the lock.

Impressioning

This is both a way of opening locks (when starting without a key) ,  (this paragraph might have also been placed under lock picking) and a way of making keys to fit a locked lock.  The basic idea is that when a key type lock is locked and the key is turned with some force the force that resists the turning of the key also makes marks on the key.  By filing down those marks a little at a time the key is shaped so as to remove all the restraining force and open the lock.

The Kryptonite bicycle lock used a tubular pin tumbler lock that was self impressioning, that's to say when the plastic tube of a Bic pen was forced into the lock the pins pushed back with just the correct force to deform the plastic so that it became a key.  This worked because the springs were all the same.

I made a key for a 1-3/4" Yale Jr. "Hermetic" warded No. 324 padlock by impressioning, see Fig 43 above.

YouTube: Lock Picking Lawyer: [644] TAG5 Industries Key Impressioning Light Box, 19:00 - TAG 5 Ind - Uses Jewelers Hand Vise and a design that's symmetrical.
lt-ih01 impressioning handle -
There's a difference between a binding lower pin mark and the "polishing" mark you see when the depth is correct.  This may change as other pin are determined.

Transponder Car Keys (Wiki) - Electronic ignition keys

Some of these may use RF-ID technology with an activation frequency of either 125 kHz or 133 kHz.  

The Mercedes ignition key uses a battery and IR for the ignition key funciton as well as door lock and unlock & panic button.
MB calls it Keyless-Go (Wiki: Remote Keyless System)
A mechanical door (ignition?) lock key is hidden inside in case the battery goes dead while the car is locked.
Mercedes Benz electronic key YouTube video
Demonstrating there is an IR functionality.
Using a photo diode to audio device.

There is also an RF link to the car since I can lock/unlock with key in my pocket or in house while car is in garage.


5836187 Tumberless automobile ignition lock, Strattec Security Corporation, Nov 17, 1998
6546768 
Ignition lock system for motor vehicles, Daimlerchrysler Ag, Apr 15, 2003 -
20070199812 Electronic Key, Daimlerchrysler Ag, Aug 30, 2007,
6460386 Electronic key structure, Nissan Motor Co., Ltd., Alpha Corporation, Oct 8, 2002 - a mechanical key is hidden inside the electronic key.

Electronic car door key fobs typically work using a rolling code (Wiki) RF transmitter often around 315 MHz and in these systems the ignition key is a conventional mechanical key.  This is very similar to the system used on garage doors (Wiki).

4881148 Remote control system for door locks, Wickes Manufacturing Company, Nov 14, 1989 - seems to be the grandady patent for key fob remote entry car door locks.
The GM  RemoteLink mobile app can be hacked: see Defcon 23: Text, UK newspaper article: Hack a garage and the car inside with a child's toy and a few chips - about using Mattel IM-Me

Smart Keys (Wiki)

These make use of RF signals and the key can be kept in your pocket.  As you approach a locked car the doors automatically unlock.  To start the engine you just press a push-button on the instrument panel.  When you walk away from the car it locks.  The only problem is when husband and wife both have keys and different personal seat & mirror settings.
Passive Keyless Entry and Start = PKES.  Passive means the user does not need to touch the key.

New York Times: Keeping Your Car Safe From Electronic Thieves - Boris Danev: papers - Relay Attacks on Passive Keyless Entry and Start Systems in Modern Cars.
Some of these PKES systems work using LF radio transmitting from the car to the key and UHF radio from the key back to the car.  So a LF RF power amplifier using a small loop near the car and a larger loop for transmitting could amplify the car's signal and allow a key hundreds of feet away to hear the query.  The range of the UHF reply from the key is easily hundreds of feet.  The counter measure is to store the smart key in a metal box (aluminum foil would work) when you are away from your car.

2021 - read an article where the thief uses a jammer to stop the smart key from locking a car as the owner is walking away.  For this to work the owner must not be aware of the lights blinking or the horn beeping to signal that the car locked.  Maybe at a busy airport where there's a lot of noise this might work. The lesson:  be sure you confirm the car locks (see lights blink or hear beep), before walking away.

Cutting Machines


866418 Machine
                      for duplicating keys, Arthur F Bardwell, Yale and
                      Towne, 1907-09-17
866418 Machine for duplicating keys, Arthur F Bardwell, Yale and Towne, 1907-09-17, -

The Yale & Towne key cutting machine in the photo below is different from this patent, but also similar.  The machine in the photo is better in that the cutting wheel is fixed in position rather that on the swing arm.  Instead of the keys being fixed like in the patent the keys in the photo are on the swing arm.
Machine for duplicating keys, Yale and Towne 1408166 Machine
                      for duplicating keys, Charles A Berry, Yale and
                      Towne, 1922-02-28
1408166 Machine for duplicating keys, Charles A Berry, Yale and Towne, 1922-02-28, - fir pin or lever tumbler locks.

Although there's about 15 years difference in patent dates the same draftsman drew both patents.  But in the first patent more effort was put into shading which is lacking in the later drawings.  For an example of high end drafting see the top illustration on my List of Manuals web page.

Note how "Fig" is rendered.  I believe this is sort of a trademark for patent draftsmen.


1995798 Key cutting machine, Curtis William H, Mar 26, 1935, 30/131, 30/229, 409/81 - hand operated like pliers


2626663 Key cutting machine, Howard AbramsCurtis Ind Inc, Jan 27, 1953, 30/131, 409/82, 30/229 - improvement to the above pliers type.


1089127 Duplicating-machine, August H Gussman, Gussman Key Cutting Machine Co, Mar 3, 1914, 409/81 - hand cranked bench top - cutting wheel


1156642 Key-cutting machine, Archibald E Sutliff, Sargent & Co, Oct 12, 1915, 409/82 - hand cranked bench top - cutting wheel

Photos & Classification

I've bought a few bags of keys from eBay and want to classify them so similar keys end up near each other.

Hollow Barrel Keys

The Yale padlocks have a nice look and feel, but there is not a source for the classic barrel keys needed to fit new keys.  So I'm considering making some.  To that end I've cleaned up page 233 of the Yale catalog.  There's a notation "Cuts Full Size" which means that drawings are actual size and so maybe they can be measured to get key dimensions.  But that needs to be confirmed by measuring actual keys.

Yale 1910 Catalog pg 223
Yale 1910
                    Catalog pg 233
There is an error in the illustration for the No. 39 Railroad key, it should be a hollow barrel key. See Yale 633 above for botth the problem with the No. 039 key end drawing and how close the "Cuts Full Size" matches the No. 25 push key.
Yale 1910 Cat Pg 229
Yale 1910
                    Cat pdf Pg 229
Cabinet Keys and Blanks
Wilson Bohannan Padlock 1930 Cat.
Wilson Bohannan
                      Padlock Key Blanks 1930 Catalog
Unlike the Yale key blank catalog page, the W.H. page does not have the images life size.

-A is the conventional "skeleton" key with a straight bit
-B is the "Comma" shaped bit
-C is the mirror or reverse "Comma" bit.
-D and higher are more convoluted bittings

The No. 70 lock (see Wilson Bohannan Padlocks above) has a post OD of 5/32" but is not listed on this catalog page.

Barrel Key Table

The dimensions shown are mostly from measuring the catalog page, not keys.

Key
Lock
Barrel
dia
cat
Hole
dia
cat
Hole
depth
Bit
ht
Bit
width
Bit
thick
B3
5300J
0.205
0.153




B4
573J,
0.220
0.17




B11
9467J
0.240
0.17




B13
5197, 5217
0.210
0.145




B14
5650Z
0.225
0.16




39
39
0.335
?




1625
1625
0.250
0.20




9425 9425
0.215
0.15




9475
9575, 9645
0.235
0.453




9455
9455
0.220
0.155




B22
5450
0.277
0.180




Flat Keys

Flat keys are use in lever locks and were used on the early pin tumbler locks, but that gave way to use use of warded keys for pin tumbler locks.
The most invariant parameter is the thickness.  So that will be the first sort.  Next will be the width that enters the keyhole.

The key that came after the Yale Flat key was the corrugated key which led to the modern warded pin tumbler key.

234002 Lock and Key, C.C. Dickerman, Nov 2, 1880, 70/407; 70/453 - changing flat key into warded key for better mechanical control and anti-picking. -  List of Patent Trials

Table of Flat Key Thicknesses

Thickness
mils
No. of
Keys


35
0
Warded Picks

40
4
Corbin
Yale Push Key padlock

45
4
Corbin


50
32
S&G
Miller
Eagle
Mosler
Merriam
N.L. Co.
USPS counter padlock

55
9
S&G
Yale
Sargent
Eagle

60
14
Yale 324 padlock
Argent
Corbin
Mosler Safe Deposit

65
4
F-S
Fraim
Y&T
Yale
Miller 3-22-9

70
7


75
3
Y&T
S&G Safe Dep Tennant

80
4
Cole 3095725 (Electrical Sw)
JCB
Pyeo
S&G Safe dep Guard & Cabinet
Flat Keys 0.080" thick

Pay Phone Coin Box

2105099 Method of manufacturing keys, Andrew L Schuyler, Western Electric Co, 1938-01-11, 72/340; 70/406; 76/110; 72/362 -
more patents by Andrew:
2114032 Lock parts and method of forming them, Andrew L Schuyler, Allan R Maclagan, Western Electric Co, 1938-04-12, 70/392; 16/DIG.42; 72/338 - tumblers for lever lock
2114033 Lock parts and method of forming them, Andrew L Schuyler, Allan R Maclagan, Western Electric Co, 1938-04-12, 70/447; 16/DIG.42; 292/2 -
2118948 Lock center and method of forming it, Andrew L Schuyler, Richard B Knoth, Allan R Maclagan,
Western Electric Co, 1938-05-31, 70/453; 72/379.2; 16/DIG.42; 29/896.42 - for coin box
2143425 Lock,
Andrew L Schuyler, Allan R Maclagan, Western Electric Co,1939-01-10, 70/81; 70/347 - telephone pay station coin box housings.
2207827 Lock, Andrew L Schuyler, Allan R Maclagan, Western Electric Co,1939-01-10,70/81; 70/168; 70/134 - telephone pay station coin box housings.

Barrel Keys

These have a "pipe" or barrel that is hollow.  These are different from the similar looking solid round keys for early warded locks that had solid rod shanks.
In Fig 1 below the center key on the left fits the lock that the antique funniture key opens, but it does not turn so needs to be notched and maybe the flag needs to be shorter.
After some filing the new key works.

Fig 1 Keys for Antique Furniture (Lot of 5) New
New Reproduction Barrel Keys on Left
Antique furniture key on right
New
                      Reproduction Barrel Keys on Left Antique furniture
                      key on right
 Top to Bottom
Barrel O.D.
Inches (mm)

0.214 (5.44)

0.193 (4.9)


0.213 (5.41)  0.2 (5)


0.208 @tip (5.28)


0.210 (5.33)
Fig 2 Furniture has 3 drawers and 2 doors.
Want a spare key hence the purchase of the
new repro keys at left.
Firnuture with Barrel Key



Solid Skeleton Keys

These are typically used on warded locks although there are some lever locks that use them.  Note that if they need to go through a door the shank needs to be long enough.
In the case of the below keys from a French Castle the keys are long enough for a door of 5-1/2 or 4-1/2".

French Castle Keys
French Castle
                      Keys
The top key looks functional.  Shaft dia just under 11 mm.
The bottom key has been welded and the bit has been crushed so it's not longer functional. Shaft dia just under 12mm
French Castle
                      Keys

Cutting Keys

There are bench key cutters which typically are powered by an electric motor.  Those come in AC versions for shops and DC versions for mobile vans.
There are also hand held key cutters that work like a nibbling tool.  The Pak-A-Punch may be one of the best known examples.
YouTube: DeviantOllam:
A Field Expedient Pak-A-Punch? - is based on the Lishi Key Cutter and adds some positioning guides.

349936 Key
                      cutting machine, Roy Clifton Spain, App:
                      1967-07-17, Pub: 1970-03-10
349936 Key cutting machine, Roy Clifton Spain, App: 1967-07-17, Pub: 1970-03-10, - "...can cut a variable angle bitted key."
RE27665 Key Cutting Machine, R.C. Spain, Assa Abloy, Filed: 1971-04-07, Pub: 1973-06-12

The pliers type key cutter has been around long before the 5387062 patent and for much more complex key.
5387062 Hand
                      held device for code cutting key blanks, Ricky L.
                      King, Robert F. Robinson, A-1 SECURITY Mfg.,
                      1995-02-07
5387062 Hand held device for code cutting key blanks, Ricky L. King, Robert F. Robinson, A-1 SECURITY Mfg., 1995-02-07, -

A-1 Security Manufacturing web page -

Locksmith Ledger: New Uses For An A-1 Pack-A-Punch, May 2011 -

Key Assemblies

In most locks that use a key, the keyway, pins, disks &Etc are part of the overall lock.  But that means to change the keying the whole lock needs to be worked.  A more economical way is to have a key assembly that can be removed from the lock as a unit.  This makes it not only easier to service the lock but also opens up the possibility of changing the type of key.

Key-In-Knob (KIK)

As the name implies this started out for door knobs but now is used in a number of applications.  Changing this KIK assembly requires disassembly of the lock unlike the SFIC and LFIC cores below which can be removed from the installed lock using the Control key.

Fig 1 Key-In-Knob
Key-In-Knob
Shown is a Schlage C (Wiki: Schlage Keyway Types)
Mul-T-Lock Junior
Mul-T-Lock
                      Junior

Mul-T-Lock (Wiki) - Mul-T_Lock KIK,
See Mul-T-Lock Patents below and Dimple locks above.

Part #:
008J-KIK/SDH-26-D
Cyl KIK Junior NCM 626 ft & lt 2 keys
Material #:
58301277
Mul-T-Lock   5/10.2020
Mul-T-Lock
                      Junior The keys appear symmetrical. 
You can install the key either side up and it works.
Note key has flat side toward pins. 
The Schlage C lock above has the narrow edge toward pins.
Bowley Rotasera KIK YouTube: The NEW Bowley Rotasera Disk Detainer Lock Teardown, 18:47, 2022 -

Key-In-Knob Patents


2293856 Door
                      lock, Walter R Schlage, Schlage Lock
                      Co,1942-08-25
2293856 Door lock, Walter R Schlage, Schlage Lock Co,1942-08-25, -
2662387 Door
                      lock, Hagstrom Gotthard, Safe Padlock &
                      Hardware Co, 1953-12-15
2662387 Door lock, Hagstrom Gotthard, Safe Padlock & Hardware Co, 1953-12-15, -

"Plug P" has the look and feel of a Ken-In-Knob core.
2803959
                      Cylinder lock, Ernest L Schlage, Schlage Lock Co,
                      1957-08-27
2803959 Cylinder lock, Ernest L Schlage, Schlage Lock Co, 1957-08-27, -

compatible with plug shown in 2293856 (Fig 17).

Can include warding in the form of clips, requiring notching the bottom of the key (61).

The tail cap (retainer 19) looks like the current type.



20220056731 Detainer disc locking system which forms a deviated picking path, Ryan Thomas Bowley, Bowley Lock Co, 2024-04-23, - combines warding & pin tumbler, almost if not pick proof


Small Format Interchangeable Core (SFIC)

When the control key is used the retaining lug can be retracted allowing the core to be removed from the lock.  See Fig 3 below.

YouTube: LockPickingLawyer: [1283] A Lock Picking Game Changer? - Covert Instruments-Lishi -
YouTube: BosnsiaBill: Review: Lishi SFIC Picks (WOW!) - He decodes a SFIC and by luck hits the Control bitting.

Fig 1 SFIC Back
Small Format
                      Interchangeable Core (SFIC)
Fig 2 SFIC Front, retaining lug operative.
Small Format
                      Interchangeable Core (SFIC)
The key cylinder is about 13.25 mm OD.

The pin cylinder is about 13.15mm OD.

The core that holds the pins is10.87mm (0.428") OD.
Fig 3 SFIC with retaining lug retracted
Small Format
                      Interchangeable Core (SFIC)
Fig 4 Control key to front
A number of pins are different, not just a single pin.
Small Format
                      Interchangeable Core (SFIC)

Large Format Interchangeable Core (LFIC)

When the control key is used the retaining lug can be retracted allowing the core to be removed from the lock.  See Fig 3 below.

Fig 1 Control lug shown in locked position
Large Format
                      Interchangeable Core (LFIC)
Fig 2 Control lug shown in locked position
Large Format
                      Interchangeable Core (LFIC)
The key cylinder is about15.6mm OD.

The pin cylinder is about 4.37mm OD.

The core that holds the pins is 0.504" (12.8mm) OD.
Fig 3 with retaining lug retracted
Large Format
                      Interchangeable Core (LFIC)
Fig 4 Control key to front
A number of pins are different, not just 1.
Large Format
                      Interchangeable Core (LFIC)


Fig 1 Abus 83/45 with Schlage 300 C keyway in LFIC.
The Z-bar was inside the lock body.
Abus 83/45
                      padlock
The key cylinder is about 15.93mm OD and the hole in the lock is about 16.25 mm ID.
The holding cylinder is about 13.75mm OD and the mating hole in the lock is about 14.00mm ID.

Fig 1 Schlage Everest LFIC Pat 5715717
The keys are not at the corner key machine, so very hard to duplicate.
(560) Schlage Everest (Normal) Picked (w/Opening Tips) -

Schlage
                      Everest LFIC

Fig 2 Both keys are uncut.
Patent 5715717
Schlage
                      Everest LFIC

Fig 1 Schlage Primus LFIC Control key installed
key control, anti drilling, sidebar
(403) Wilka Primus VX Picked -
[74] Three Schlage Everest Locks Picked: NOT "High Security" -

(picking 208) SCHLAGE PRIMUS with sidebar picked, gutted and explained, big thanks to 'Luckes Locks'

Schlage
                      Primus LFIC
Fig 2 Stamped on key "Do not duplicate, Pat. 5,809,816"
Schlage
                      Primus LFIC

YouTube: Schlage Primus VS. Schlage Everest Locks, 5:37 -

Rim Cylinder

Sargent Assa Abloy lists: Scandinavian oval & round, Round threaded, Euro profile and Oval profile versions of their Cylinder locks.
This is the common American Round threaded.  The threads may be 1-5/32 - 32 that are slightly over 1" long.

Fig 1 Front
Sargent
                      Assa Abloy Door Cylinder Lock
Fig 2 Back - The groove at top and sides
and the two threaded holes are standard.
There are optional tongues as show elsewhere
on this page for many lock types.
Sargent
                      Assa Abloy Door Cylinder Lock


Interchangeable Core Patents

1384022 Lock,
                      Best Frank Ellison,1921-07-05
1384022 Lock, Best Frank Ellison,1921-07-05, 70/340; 70/367; 70/373; 70/493; 70/DIG.59; 70/375; 70/378; 70/451 -

"...to provide means for removing the core from the case by pulling on the key, after the secondary locking mechanism has been unlocked.."  "...provide pin tumbler combinations Such that one key may operate both the primary and secondary locks by being in serted to different positions (BC: Note Fig 2 shows the key pulled out one position)..."

While the use of one key for normal operation and using a separate "Control" key is not mentioned, it could be done, but was not thought of by Best.  By using the same key for normal and control functions the security is lowered and the possible applications are limited.
1498047
                      Cylinder lock, Ledin Charles, Yale and Towne
                      Mfg,1924-06-17
1498047 Cylinder lock, Ledin Charles, Yale and Towne Mfg,1924-06-17, 70/490; 70/DIG.40; 70/46 -

Plug for cylinder locks that contains a lever mechanism rather than a pin mechanism.  But it also has the look and feel of what will become the interchangeable core.
1561771 Lock,
                      Best Frank Ellison, 1925-11-17
1561771 Lock, Best Frank Ellison, 1925-11-17, 70/493; 70/370; 70/375; 411/945; 70/369; 70/373; 70/386 -
2268511
                      Removable lock core, Ledin Charles, Yale and Towne
                      Mfg, 1941-12-30
2268511 Removable lock core, Ledin Charles, Yale and Towne Mfg, 1941-12-30, 70/371; 70/369 -
"...having a removable lock core, with the locking mechanism of the core being normally operable by one key, and the core being removable from the cylinder when operated by another key."
2391832
                      Removable core cylinder, Theodore H Johnstone,
                      Yale and Towne Mfg,1945-12-25
2391832 Removable core cylinder, Theodore H Johnstone, Yale and Towne Mfg,1945-12-25, 70/367 -

"...one Setting of the several tumblers effects the release of the key plug for rotation, or for push pull movement as the case may be, while a second setting of the tumblers makes it possible to move the retainer out of retaining position independently of any movement of the key plug." (BC: forces separate Control and Operation keys).
2391833
                      Removable core cylinder, Theodore H Johnstone,
                      Yale and Towne Mfg,1945-12-25
2391833 Removable core cylinder, Theodore H Johnstone, Yale and Towne Mfg,1945-12-25, 70/367 -

Mul-T-Lock Patents

These are part of a class called "Dimple Locks" (Wiki).  Because instead of cutting notches on the edge of a key you make dimples on it's face where the depth of the dimple is the keying variable.

4856309 Pin
                      tumbler lock, Noach Eizen, Mul T Lock Ltd,
                      1989-08-15
4856309 Pin tumbler lock, Noach Eizen, Mul T Lock Ltd, 1989-08-15, - Straight forward dimple lock
See Key-In_Knob Mul-T-Lock Junior above.

LPL: [487] Mul-T-Lock Jr. Picked and Gutted -
BB:
(1595) Mul-T-Lock Junior Picked & Gutted - Using conventional tools (Multipick)

BB: (348) "Tickle" Dimple Locks Open - Fast! - ABUS D10 - 4 top pins & 6 bottom pins
20050204788A1 Pick resistant lock, Rami
                      Almoznino, Mul T Lock Technologies, 2006-08-08
20050204788A1 Pick resistant lock, Rami Almoznino, Mul T Lock Technologies, 2006-08-08, - "Interactive"
Interactive means that there's a moving element in the key.

There is a pin inside a cylinder where both pin and cylinder need to be at the correct height.
Key(17) lifts outer body pins (24) and inner body pin (30) both of which need to be at the correct height.

LPL: [939] Using a “Rotar Pick” To Open a Mul-T-Lock Interactive -

DEF CON 30 - Bill Graydon - Defeating Moving Elements in High Security Keys, 45:44 - Mul-T-Lock Interactive, Mul-T-Lock MT5, Meedco M4, Abloy Protec2

YouTube: Lock Picking Lawyer: Mul-T-Lock Classic (mislabeled: [342] Surprising Mul-T-Lock Interactive Picked and Gutted), 8:05 - 

Handcuffs

Lock picking lawyer:

Peerless


Fig 1
Peerless Handcuffs
Fig 2
Peerless Handcuffs
Fig 3 Double Locking
See: 1821566
Peerless Handcuffs

1531451
                      Handcuff-lock construction, Elmer E Neal, Peerless
                      Handcuff Co, 1925-03-31
1531451 Handcuff-lock construction, Elmer E Neal, Peerless Handcuff Co, 1925-03-31, 70/16 - pawl & notches
cited by 21 other patents.

1579333 Handcuff-lock construction, Elmer E Neal, Peerless Handcuff Co, 1926-04-06, 70/16 - gear wheel

1579830 Handcuff, John J Murphy, Peerless Handcuff Co, 1926-04-06, 70/16 - prior to application can be opened without using key (not by making a full revolution).
1821566
                      Handcuff, Elmer E Neal, Peerless Handcuff
                      Co,1931-09-01
1821566 Handcuff, Elmer E Neal, Peerless Handcuff Co,1931-09-01, 70/16 - lighter,fewer parts,

Supports Double Locking.
Fig 7 Key (26) with prong (25) for double locking by pressing plunger (Fig 2: 27).

1845511 Handcuff,  Elmer E Neal, Peerless Handcuff Co, 1932-02-16, 70/16 -

1851206 Handcuff,  Elmer E Neal, Peerless Handcuff Co, 1932-03-29, 70/16 -

1855686 Lock mechanism, Elmer E Neal, Peerless Handcuff Co,  1932-04-26, 70/16; D11/5 - adds a fully locked position

1855687 Lock mechanism, Elmer E Neal, Peerless Handcuff Co,  1932-04-26, 70/16 -
1872857 Police
                      officer's shackle, Wesson Harold, Edward S
                      Pomeroy, Peerless Handcuff Co, 1932-08-23
1872857 Police officer's shackle, Wesson Harold, Edward S Pomeroy, Peerless Handcuff Co, 1932-08-23, 70/16 -

Missile Launch Decoder

Must be for a nuke missile.  Links to Wiki.
The decoder must have been actual hardware to be used on one of these missiles, so I'm guessing one of the first three (Polaris, Atlas or Titan) on this list.
Missile
First Flight
Retired
UGM-27 Polaris
1961
1996
Atlas SM-65
1957
1965
HGM-25A Titan I 1959
1965?
LGM-25C Titan II
1962
1987
Minuteman-I 1961
?
Minuteman-II 1964
?
UGM-73 Poseidon
1971
1992
Trident
1972
2005
LGM-118 Peacekeeper
1986
2005

Permissive Action Link

(Wiki) - "A device included in or attached to a nuclear weapon system to preclude arming and/or launching until the insertion of a prescribed discrete code or combination. It may include equipment and cabling external to the weapon or weapon system to activate components within the weapon or weapon system."

"The work on PAL prototypes remained at low levels until 1960. Sandia National Laboratories (SNL) successfully created a number of new combination locks that were adaptable to different types of weapons. In the spring of 1961, there was a series of hearings in Congress, where Sandia presented the prototype of a special electro-mechanical lock, which was then known still as a "Proscribed Action Link." The military leadership, however, soon realized that this term had negative connotations for the use of weapons by the officer corps (proscribed = "prohibited"), and changed the meaning of PAL to "Permissive Action Link" (permissive = "allowing / tolerating")"

The B61 Nuclear bomb Preflight Controller - has the look and feel of this device, but is for a bomb, not a missile.
4319223 Full code means for electromechanical decoder, Peter J. Caruso, Bendix, App: 1965-07-01, TOP SECRET, Pub: 1982-03-09, -
4320389 Electromechanical decoder, Peter J. Caruso, Bendix, App: 1963-12-04, TOP SECRET, Pub: 1982-03-16, -
4331845 Output switch assembly and operating mechanism, Peter J. Caruso, Bendix, App: 1964-06-24, TOP SECRET, Pub: 1982-05-25, -
4333073 Electromechanical decoder, Peter J. Caruso, Bendix, App: 1964-05-28, TOP SECRET, Pub: 1982-06-01, -
4401973 Cycle limiting means for an electromechanical decoder, App: 1964-01-17, TOP SECRET, Pub: 1983-08-30, -
4408188 Electromechanical decoder, Peter J. Caruso, Bendix, App: 1963-09-05, TOP SECRET, Pub: 1983-10-04, 341/1; 380/59; 74/149; 74/155 -
4502030 High reliability solenoid switch, Peter J. Caruso, Bendix, 1985-02-26, -
4636761 High reliability solenoid switch, Peter J. Caruso, Robert R. Townsend, Bendix, 1987-01-13, -

Military Vehicle Locks

There are many places the military uses locks, see for example S&G 8088 pad lock & Kaba Mas X-07 combination lock for classified document storage, or the series of S&G high security padlocks used to protect munitions and other military valuables. 

But there's a place the military avoids using locks, and that's on vehicles that are used near the front line of battle (Wiki).  The reason seems obvious.  A missing key would render the vehicle useless and in a life critical case and that is not acceptable.  This applies to the HMMWV, tanks, aircraft, submarines, ships &Etc.  In fact a joke that's played on new members of the military is to ask them to bring the keys to a HMMWV to a specific location at a specific time.

There may be a blunder involved with the F-35 jet (Wiki). The F-35 has no Heads Up Display (Mk20 Mod 4, Mk18, Wiki: HUD, YouTube: Deep Intel on the F-35 @20:28) - the HUD is built into the helmet.
Prior to this military helmets came in a hand full of sizes. But in the case of the F-35 the helmet is custom made for a specific pilot.@22:23 "custom fitted to each person".  To avoid having this act like an ignition key they hopefully will have spare helmets and allow a pilot with a fitted helmet to fly any serial number F-35.

Prison Locks

Adam Folger patented many devices relating to prison locks.  Mostly central locking systems where a guard can open or close many doors all at once.  He also patentes key lock mechanisms that work differently from normal key locks in that there are different modes accessed by the direction of turning (CW v. CCW) and how far the key is turned (1/4 turn or a full turn).

1989137 Lock, Eric O Gidlund, St Paul Foundry, 1935-01-29, -
2266579 Locking device, Adam Folger, 1941-12-16, -
3999411 Lock knob control mechanism, Raymond V. Kambic, Folger Adam Co, 1976-12-28, -
10774565 Pivotable bolt, Francis Colligan, Accurate Lock and Hardware, 2020-09-15, - STM Standard F1577  - "...a lock that will have improved resistance to forceful impacts."
11136786 Confinement room lock, Francis Colligan, Jeffrey J. Graveline, Accurate Lock and Hardware, 2021-10-05, - dual cylinders

Corrections Products Co - History - KeysCylinders (cores) - Tumblers (levers) - Mechanical Locks (bodies) -

References

Books

Ref 1: Construction of Locks and Safes by A. C. Hobbs (Wiki), Circa 1850, Edited by Chas. Tomlinson, First Pub. 1868, reprinted 1970, SBN 901571 30 X
Construction
                      of Locks and Safes by A. C. Hobbs, Circa 1850,
                      Edited by Chas. Tomlinson, First Pub. 1868,
                      reprinted 1970, SBN 901571 30 X


American Lock by Hobbs
Protector Lock by (Wiki) Hobbs
135913
137773
Contents

1. On Locks and Lock-literature
2. Ancient Locks: Grecian, Roman, Egyptian
3. Lock Classification.  The Puzzle-Lock and the Dial-Lock
4. Warded Locks, with their varied appendages
5. On Tumbler or Lever Locks
6. The Bramah Lock
7. American Locks
8. The Lock Controversy: previous to the date of the Great Exhibition
9. The Lock Controversy: during and since the time of the Great Exhibition
10. Effects of the Great Exhibition of 1851 in improving English Locks
11. The Lock and Key Manufacture
12. English Patents for Locks.  Aubin's Lock Trophy.  Conclusion
App 13. On an Improved Construction of Lock and Key: Fenby's Adytic Lock
App 14. Fenby's Stop Lock
App 15. Note upon Iron Safes
Ref 2: The Complete Book of Locks and Locksmithing, 5th Ed, 2001 (on order 12 Apr 2017)
The
                        Complete Book of Locks and Locksmithing, 5th Ed,
                        2001
Not recommended.  Pretty much all the information in the book in on the internet.

Ref 3: Early Locks and Lockmakers of America, 2nd Ed, Nickerson & Collins Pub Co., 1976
Early
                      Locks and Lockmakers of America, 2nd Ed, Nickerson
                      & Collins Pub Co., 1976
Contents

1. Terryville, Conn.: Lewis, McKee, Terry, Eagle
2. England: Barron, Chubb, Bramah
3. New Britain, Conn: Stanley, Russel & Erwin, P&F Corbin, Corbin Cab, Bank Lock
4. New Haven, Conn: Blake, Mallory & Wheeler, Sargent, Barnes, Cowles, Union
5. Conn: Howard, Branford, Norwich, Norwalk, Excelsior, Smith & Egge, William Wilcox, Waterbury
6. America: Chicago, Independent, Junckune, Master, Nashau, Sargent & Greenleaf, Schlage, Slaymaster, Taylor, Yale & Towne
7. Development: Colonial, Rim, Mortise, Pin Tumbler, Disc Tumbler, Patent List 1805-1857, Fire Exit, Cylindrical, Ornate, Padlocks
8. American Bank Locks: Patent List, Early Safe Locks, Dial Safe Locks, Time Locks.
9. Lock Museum of America

Ref 4: United States Patent Keys (1833 - 1980), Edited by Don Stewart,  1985
United States
                      Patent Keys(1833 - 1980), Edited by Don Stewart,
                      1985
Book in chronological order of patent issue date which is the same as patent number order.

(pat No.) (Inventor Name)
(Issue Date) - (Inventor location)
(Assignee)
(Patent title)
Ref 5. Safecracker: A Chronicle of the Coolest Job in the World, Dave McOmie, 2021 -
There are a number of reasons why someone may not be able to open their own safe, and Dave's most common physical attack is drilling.
 DEFCON 14: Safecracking Without a Trace by Eric Schmiedl - nice overview of combination lock history (Non-destructive Entry).
The idea is to open the safe without anyone knowing that it's been opened.  Topics:
Manipulation - book: The Art of Manipulation, Direct Entry Fence, Nose & CamThe problem with time locks, S&G 8400 Manipulation proof lock, Group IR locks use plastic wheels: robot dialers, Mas-Hamilton Group Soft-Drill & then Kaba Mas XO7 safe lock, Other ways to get into safes, Are safes secure?, TL-15, TL-30 (tools), TRTL-(tools & torch) (Wiki), TXTL-(tools, torch & explosives), Further Reading (one of the basis of this Rerences section).  Note Neutron imaging (SPIE, DARPA) can see the plastic through lead.
DEFCON 16: Open in 30 Seconds: Cracking One of the Most Secure Locks in America - Medeco key locks - the book by the same title gets poor reviews because it does not come with the "government only" DVD which shows the "how to" information.

Defcon 19: DIY Non-Destructive-Entry  by Schuyler Towne (Wiki, YouTubeOfficial web page - combination locks

The National Locksmith Guide to Manipulation.pdf - free on line

Locks, Safes and Security by Marc Weber Tobias (Wiki, YouTube, Official web page & blog: Security.org, )

Matt Blaze (Wiki, YouTube, Official web page, papers & blog: Crypto.org, Safe Cracking for the Computer Scientist.pdf
Safecracking at the NSA.pdf - the NSA combo 52-22-37 (15 count seperation) translates to 5BABES, Matt's 10 digit seperation combo 37-22-27 os FRACAS.

Youtube: bosnianbill - instructional lock picking videos, Lock Lab,

Related

Crypto -
Crypto Machines -
Semi-auto Weapons -

Patents

Medeco

3499302 (RE30198) Cylinder lock, Mechanical Development Co., Inc.,
4328690 (RE31910) Removable core cylinder lock, Medeco Security Locks, Inc.

Links

Ref 1. Lock Museum of America - Facebook -

Ref 2. YouTube: Schuyler Towne: Locks: Basic operation and manipulation - a series for 24 videos on pin tumbler locks & picking them
Ref 3. DOD Lock Program - Introduction to Combination Locks -
Ref 4. Wheel Post - obsolete documents hosted by Brian Costley
Ref 5. LockPicking101.com - Registration failed and no contact info - There is some good info on site, but not way to register. This seems to have been fixed. Let me know if you have a problem.
Ref 6. YouTube: Lockpicking, Safecracking, & More by Deviant Ollam & renderman at ShmooCon 3 , Combo lock session - DeviantOllam
Ref 7. YouTube: "defcon safe cracking" -
Ref 8. YouTube: "Getting the Right Rotation: Safe Locks and Sushi Rolls" my talk at PancakesCon 2024, 58:21 - @17:06 (see Ref 9)
Ref 9.
Massively Popular Safe Locks Have Secret Backdoor Codes
Ref 10. How To Swap Out an Electronic Safe Lock for a Mechanical Safe Lock, 20:28 - a fix for the Liberty Mfg reset code on electronic locks.
Ref 11. MIL-HDBK-1013/8 Combinatin Locks, 31 Dec 1989 - (MIL-HDBK-1013-08.pdf)
Table 1
S&G R6700
S&G 8400
S&G 8470MP
Mosler 302-402
Mosler MRK 120
La Gard 1980A RL
S&G 8077AB Steel Shackle
S&G 8077AB Brass Shackle

2.1.3 General Operating Guidelines When operating combination locks or setting combinations, always observe the fol lowing rules:
a) Never spin or jerk the dial. Always turn the dial slowly and evenly, stopping exact ly on each number of the combination.
b) Passing a combination number requires restarting the entire combination sequence from the beginning.
c) Never use force. If a lock fails to operate or operates with difficulty, request assistance from a qualified locksmith.
d) Never close a door or drawer after setting a new combination until the new combination is worked at least three times and is recorded in accordance with security directives.
e) On a mounted three-wheel lock, there are 1,000,000 possible combinations. Some combination padlocks have as many as 125,000 possible settings. However, because of mechanical and psychological factors, not al1 of these combinations are valid.
Specifically, follow these guidelines:
(1) No two numbers should be closer than exactly five digits apart, or multiples of ten.
(2) The third number should not range from 0 to 20 or from 85 to 100.
(3) Do not use straight ascending or descending combinations.  Examples: 41-56-71, 81-58-30.  It is better to use a sequence that is HIGH-LOW-High or LOW-HIGH-LOW.  Examples: 72-23-81, 33-67-38.
(4) All three numbers should not be even.
(5) All three numbers should not be odd.
(6) Never set a 50-25-50 combination (the standard factory combination sequence) on the lock of a container that holds classified material.  When removing a container from service, set combination to 50-25-50.
(7) Do not use significant dates (birthdays, anniversaries, Etc.), street addresses, telephone numbers, Etc, as the basis for combinations.
(8) When locking a safe, door, or cabinet, turn the dial at least four full revolutions in one direction.
The Mosler MRK 120 "BOLT MUST BE OUT TO REMOVE COVER" Fig 31 shows change key installed. Relationship to BP-800?
Ref 12. YouTube ∅: Decodes Old P.O. Box and Explains the Process (141), 9:43 -
Ref 13. How Real Was "The Town"? How Do Safe Lock Duress Codes Work?, 6:33 - The Town (IMDB, Wiki); Duress code (Wiki);
Ref 14. Overview of Locking Systems, Sandia, 1993, 96 pgs - Based on NUKEG/CR-5929 Locking Systems for Physical Protection and Control - many paragraphs have specification call outs like: MIL-P-4
3607G or UL 437.
1. Introduction
2. The Role of Locking Systems in physical Protection and Control
3. Lock Technologies
    3.1 Key Locks
    3.2 Traditional Combination Locks
    3.3 Bolts, Strikes, and Latches
    3.4 Mechanical Coded Locks
    3.5 Electromagnetic Locks
    3.6 Self-Contained Electronic Combination Locks
    3.7 Hirsch Electronics access Control Systems
    3.8 Additional Hardware Issues
4. Vaults
5. Safes and Security Containers
6. Management of Lock Systems
7. Safety Considerations of Locks
App A - Addresses for Specifications
App B - Index of Standards & Specifications
Glossary
Distribution
Ref 15. (picking 745) The FORBIDDEN ZONE of safe combination locks explained, 15:18 - results in lockup.
Ref 16. Attacking Classified Safes and Vaults from the Cold War to Now [CackalackyCon 2025], 1:47:06 -
@26:25: Part 3 - Non Destructive Attacks - Jacobs vibrator (see: 2974517) like happened on naval ships;
@36:54: Miller Family - 2575674, 2937
@40:51: Using modern portable X-Ray equipment even the 1R wheels can be seen
@49:22 Part 4 - Division IX: Poland's "Invisible" Team - Niewidzialni by Tomasz Awqlasewicz (>$40 in Polish, so not on order)
@52:30: Group B - delaying people -
@55:35: photo of radio equipment in US embassy
@55:59: Radiiological Attacks -
@1:03:03:  Switching from Cobalt60 to Iridium192 allowed reading 1R plastic wheels by using a scintillation counter.
@1:12:57: FF-L-2740 and the Great Lock Debacle - SafeCracker by Dave McOmie - on order
@1:15:00: Clayton Miller patent (See: KabaMas X-07), promoted by showing auto dialers & influence of congress.
Ref 17. Bullseye: The Lock Company that is Single-Handedly Keeping an Entire Industry Alive, 13:05 - Safe Deposit Box locks
Crack any Master Combination Lock in 8 Combos or Less - online calculator to find combinations - Combo Breaker - motorized combo lock cracking device -
PRC68, Alphanumeric Index of Web pages, Contact, Products for Sale
Page Created Nov 19, 2016