Semi-auto Weapons

© Brooke Clarke 2021 - 2026

Background
    Stoner
    Next Generation Squad Weapon
    What is a Gun, Car, Computer &Etc?
Description
     Patchett Machine Carbine
     Sterling
        Bolt Bounce
     Tavor SAR
     Steyr AUG   
     SIG stgw57
     Heckler & Koch G3
     Short Magazine Lee–Enfield (SMLE)
    
IMI Galil
   
Bren light machine gun
    Striker 12
   

    Liberator FP-45 Pistol
 Full Auto
    
M2
    Pancor Jackhammer
   
Hill SMG/Pistol
    FN P90
    M3 Grease Gun
    Thompson SMG
        Replica M1928
    Patents
Bayonets
Ghost Guns
    Defense Distributors
        Liberator
        Ghost Gunner
    Tommy Built Tactical
    Polymer 80
    USFA Zip 22
    GB-22
    80% Sellers
    Information on DIY Guns
Odd Balls
Common Remotely Operated Weapon System (CROWS)
HK P11
Altor Single-shot 9mm
Broom Handle Mauser
Jatimatic
Chain Guns
Historical Patents
Microstamping
Ruger
Carbonic Acid Pistol
Related
References
Links

Background 

These are all California legal as of 2016 and can be registered in 2017 as assault weapons.  This means removing some restrictions that apply in 2016 for some of them.

Stoner & the AR-15, M-16, M4

Eugene stoner (Wiki) developed the gas operated system.  It's clear from reading the patents that his primary goal had two key parts:
1. lighter weight than prior art guns,
2. lower part count, i.e. lower cost to manufacture.
The first production gun was the AR-10.
I had one of the first AR-15 rifles with a serial number below 1,000.  Note this is a .22 caliber (Wiki) rifle even though the ammunition is described as 0.223 Remington (Wiki) or 5.56 x 45mm (Wiki).  I had an adapter that allowed using standard 22 ammunition and it made use of the existing bore where 22 adapters for larger caliber rifles, like the FN FAL, made use of a new barrel.
2903809
                      Cartridge magazine of aluminum or magnesium,
                      Eugene M Stoner, Fairchild Engine and Airplane
                      Corp, ArmaLite, App:1956-02-21, Pub: 1959-09-15
2903809 Cartridge magazine of aluminum or magnesium, Eugene M Stoner, Fairchild Engine and Airplane Corp (Wiki: ArmaLite), App:1956-02-21, Pub: 1959-09-15, - lighter weight than prior art steel magazines.
2951424 Gas
                      operated bolt and carrier system, Eugene M Stoner,
                      Fairchild Engine and Airplane Corp ,ArmaLite, App:
                      1956-08-14, Pub: 1960-09-06
2951424 Gas operated bolt and carrier system, Eugene M Stoner, Fairchild Engine and Airplane Corp (Wiki: ArmaLite), App: 1956-08-14, Pub: 1960-09-06, - "It is an object of this invention to provide a gas system which is lighter and less expensive to produce because of its simplicity than the present gas systems now used in automatic rifle mechanisms." "A further object of this invention is to provide smoother operation and longer life of the working parts of the automatic rifle mechanism. Since, in this invention, the actuating force is transmitted directly down the center line of the barrel and the bolt mechanism to the shoulder of the shooter, all of the off center loads found in most other types of gas actuated weapons are eliminated."
D188193 Gun,
                      Eugene M Stoner, App: 1958-07-23, Pub: 1960-06-14
D188193 Gun, Eugene M Stoner, App: 1958-07-23, Pub: 1960-06-14, - Design
3035495
                      Cartridge feeding mechanism, Eugene M Stoner,
                      Fairchild Engine and Airplane Corp, ArmaLite, App:
                      1958-07-03, Pub: 1962-05-22
3035495 Cartridge feeding mechanism, Eugene M Stoner, Fairchild Engine and Airplane Corp (Wiki: ArmaLite), App: 1958-07-03, Pub: 1962-05-22, - either magazine or belt fed.
3045555
                      Automatic trigger mechanism with three sears and a
                      rotatable control member, Eugene M Stoner,
                      Fairchild Engine and Airplane Corp ArmaLite,
                      App:1959-12-22, Pub: 1962-07-24
3045555 Automatic trigger mechanism with three sears and a rotatable control member, Eugene M Stoner, Fairchild Engine and Airplane Corp (Wiki: ArmaLite), App: 1959-12-22, Pub: 1962-07-24, -
Safe - Semi - Full in that order.
3090150 Hand
                      guard construction, Eugene M Stoner, Fairchild
                      Engine and Airplane Corp ArmaLite, App:
                      1960-06-13, Pub: 1963-05-21
3090150 Hand guard construction, Eugene M Stoner, Fairchild Engine and Airplane Corp (Wiki: ArmaLite), App: 1960-06-13, Pub: 1963-05-21, - "...extremely light weight, has a minimum number of component parts, and achieves the desired ends of both providing adequate cooling for the barrel of the gun and eliminating the possibility of the burning of the hand of the soldier firing the same."

Next Generation Squad Weapon

The M4 (M-16) (Wiki) has had some problems some of which relate to it's small caliber.  The NGSW uses 6.8x51 mm ammunition (Wiki, SAAMI) which is 0.268" dia.  It's not far from the existing 7.62x51mm NATO round (Wiki) which is 0.308" dia. (Wiki) used by the M-14 (Wiki), FN FAL (Wiki), M246 SAW (Wiki), and others.

What is a Gun, Car, Computer &Etc?

Products that have a legal title or warranty typically have a serial number. 

Cars

Cars have a Vehicle Identification Number (Wiki: VIN).  The vehicle license is tied to the VIN.  The VIN must be stamped into the vehicle chassis, and in newer cars it's also stamped into some body panels.  Note that the engine may have a serial number and other parts will have serial numbers that are different from the VIN.  These are on "parts" that are generic in nature.  If a part needs to be replaced is has no impact on the VIN or title.

There was a case where a 427 Cobra (see CSX3282)  was used exclusively for racing.  After many races the chassis (with the serial number) was sent to the local wrecking yard and a new replacement chassis was made for the race car.  A young man bought the old chassis from the wrecking yard (including a title with the VIN) and add all the parts to make it into a working car.  When the young man went to register his rebuild car there was a problem at the Department of Motor Vehicles because the VIN number matched an existing car.  The law suit established that the young man "owned" the VIN and that made his car very valuable.  The race team failed to grind the VIN number off the old chassis and so gave it up.

Computers

Computers, and other products that have warranties have serial numbers.  The s/n is typically affixed to the main chassis.  This allows replacing parts, like the keyboard, mouse, hard drive, display &Etc without impacting the warranty.

Guns

Guns are treated in the same way.  That's to say the serial number is stamped into the frame (aka: chassis or receiver) and the other parts are mounted to the frame.  These other parts can be replaced.

In all the above cases there's no legal requirement of any kind on who can purchase parts for cars, computers (&Etc) or guns.  They can be ordered through the mail by anyone capable of placing the order.

3D Printed Guns

In 2013 Defense Distributed (Wiki) published plans for a single shot pistol that could be made using a common plastic 3D printer.

80% Receivers

In the past the ATF has ruled that partially machined gun part is not a receiver if it is less than 80% complete.  This is determined by submitting a sample to the ATF.

I just learned that California has banned 0% receivers!  This is nonsense.  It's legal for a home builder to make a firearm.  The 0% AR-15 receiver is just a block of 6061-T6 Aluminum 8"x4.5" x 1.5" that can be purchased at any metal supplier.

Ghost Guns

Wiki defines a "Ghost Gun" as a home made firearm.  I think it's a term that obscures the issue since home made firearms are legal, i.e. not all "ghost guns" are illegal.

Legal Question: What is a Receiver? (2024Dec12 an open question)

The Texas Court of Appeals for the Fifth Circuit 23-10718 said the ATF rule banning 80% receivers (aka: Ghost Guns) was invalid.  The decision has been appealed as Supreme Court docket 23-852. (Wiki: Garland v. VanDerStok) The key questions raised is what constitutes a firearm Vanderstok Brief Mar 7,2024. Defense Distributed Et Al Brief Mar 8 2024. Joint appendix Jun 25 024 -  many official letters, many with photos.

The two most popular 80% kits are for the AR-15 (Wiki) and Polymer80 (Wiki) which is a kit that can accept Glock (Wiki) parts.

The ATF ruling that was overturned is that an 80% receiver by itself is not a firearm, but when the 80% receiver is near a jig to allow completing the machining then it becomes a firearm.  This seems wrong in that if a legitimate home builder (ATF: Privately Made Firearms, License) buys the legal 80% receiver then makes it into a firearm there's a problem.  It's my understanding that a home builder can make a firearm for his own use.  The problem is if someone makes a firearm and then sells it.

Description

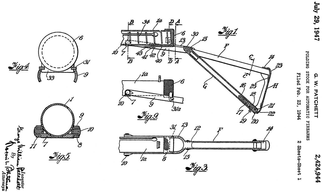
Patchett Machine Carbine

This was the predecessor to the Sterling SMG.
YouTube: Forgotten Weapons: Patchett Machine Carbine Mk I: Sten Becomes Sterling, 13:50 -

2424944 Folding
                      stock for automatic firearms, Patchett George
                      William, App: 1944-02-23, W.W.II, Pub: 1947-07-29
2424944 Folding
                      stock for automatic firearms, Patchett George
                      William, App: 1944-02-23, W.W.II, Pub: 1947-07-29 2424944 Folding stock for automatic firearms, Patchett George William, App: 1944-02-23, W.W.II, Pub: 1947-07-29, -
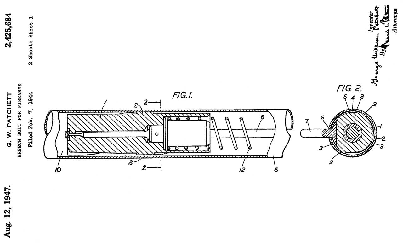
2425684 Breech
                      bolt for firearms, Patchett George William,
                      App:1944-02-07, W.W.II, Pub: 1947-08-12
2425684 Breech
                      bolt for firearms, Patchett George William,
                      App:1944-02-07, W.W.II, Pub: 1947-08-12 2425684 Breech bolt for firearms, Patchett George William, App:1944-02-07, W.W.II, Pub: 1947-08-12, - "The object of the present invention is to over come these difficulties (sand, mud &Etc) and to render the bolt self clearing in its backward and forward movement and to provide a positive tendency to eject any adventitious lodgment."


2426563 Recoil mechanism for automatic firearms, Patchett George William, App:1944-10-05, W.W. II, Pub: 1947-08-26, -
2432486 Fire
                      controlling mechanism for automatic firearms,
                      Patchett George William, App: 1943-11-27, W.W.II,
                      Pub: 1947-12-09
2432486 Fire
                      controlling mechanism for automatic firearms,
                      Patchett George William, App: 1943-11-27, W.W.II,
                      Pub: 1947-12-09 2432486 Fire controlling mechanism for automatic firearms, Patchett George William, App: 1943-11-27, W.W.II, Pub: 1947-12-09, -
2437548
                      Telescopic firearm, Patchett George William,
                      App:1944-06-19, W>W. II, Pub: 1948-03-09
2437548
                      Telescopic firearm, Patchett George William,
                      App:1944-06-19, W>W. II, Pub: 1948-03-09 2437548 Telescopic firearm, Patchett George William, App:1944-06-19, W>W. II, Pub: 1948-03-09, -
33" extended, 13" collapsed


2467270 Folding bayonet for firearms, Patchett George William, App:1944-06-16, W.W. II, Pub: 1949-04-12, -


2510831 Cartridge magazine for automatic firearms, Patchett George William, 1950-06-06, - dual row, staggered


2795880 Cartridge magazine with spring guide means, Patchett George William,1957-06-18, - dipples on side of mag center circular coil spring.


3058222 Aperture sighting for firearms, 1962-10-16, - multiple apertures merge

Sterling Mk 4 (L2A3) (Wiki)

Testing started in 1944 but it was put into service starting in 1953.
L2A3: (Sterling Mark 4) Adopted in 1956. Last regular version in service with the British Army, Royal Marines and RAF Regiment.
9mm 7.7" barrel.  So in California this is a semi-auto pistol, so the stock mounting ears have been cut off so it is not classified as a short barreled rifle.
There is a metal vane welded into the receiver which prevents installing the full auto bolt, so is a semi-auto, not a full auto.

Bolt Bounce

In the Design details section of the Wiki page it mentioned: "There are two concentric recoil springs which cycle the bolt, as opposed to the single spring arrangement used by many other SMG designs. This double-spring arrangement significantly reduces "bolt-bounce" when cartridges are chambered, resulting in better obturation, smoother recoil and increased accuracy."

YouTube:

Three parts kits purchased and the best bits used for the re-welding operation to make California legal semi-auto version.
Numrich 1410230 with barrel, no mag
Apex Sterling L2A3 - Kit - optional mags
Old Arms of Idaho - Sterling L2A3 Kit with barrel and mag

Spring kits from Surf Tactical.com http://surftactical.com

Fig 1

Sterling Mk 4 (L2A3)


Fig 2

Sterling Mk 4 (L2A3)


US Patents

Class 42 is Firearms and class 89 is Ordnance.

2424944 Folding stock for automatic firearms, William Patchett George, Filed: May 26, 1943 Pub: Jul 29, 1947, 42/72   
2426563 Recoil mechanism for automatic firearms, William Patchett George, Filed: Apr 1, 1943 Pub: Aug 26, 1947, 89/198 -
2432486 Fire controlling mechanism for automatic firearms, William Patchett George, Filed: Aug 17, 1942 Pub: Dec 9, 1947, 89/142, 298/22.0AE, 124/37    
2437548 Telescopic firearm, William Patchett George, Filed: Mar 13, 1944 Pub: Mar 9, 1948, 42/72, 42/73, 89/194 -
2467270 Folding bayonet for firearms, William Patchett George, Filed: Mar 13, 1944 Pub: Apr 12, 1949, 42/86 -
2510831 Cartridge magazine for automatic firearms, William Patchett George, Filed: Apr 18, 1946 Pub: Jun 6, 1950, 89/34, 42/50 - "one of the best" (see YouTube below)
3012479 Firing mechanism for automatic firearms, Ernest Ruffell Leslie, Sterling Engineering Company L, Dec 12, 1961, 89/142
3058222 Aperture sighting for firearms, William Patchett George, Oct 16, 1962, 42/142 -

YouTube: Forgotten Weapons -
British Submachine Gun Overview: Lanchester, Sten, Sterling, and More!  - Sterling SMG at the Range -
YouTube: Solscud: Sterling MK4 Select Fire Machine Gun - both open & closed bolt versions

Tavor SAR (Wiki)

Made in Pennsylvania rather than Israel because of gun laws.  Made to be semi-automatic.  0.223 caliber.  Bull-pup (Wiki)  design.

Fig 1
Tavor SAR



Fig 2
Tavor SAR



Steyr AUG (Wiki)

Designed in the 1960s. 0.223 caliber, but they are also made in NATO 7.62x51
Fig 1  Bull-pup (Wiki) stock assembly
Steyr AUG
Fig 2 Bolt assembly
Steyr AUG
Fig 4 Picatinny rail (Wiki), Chamber, separate from barrel
Steyr AUG
Fig 5 Short barrel assembly
Steyr AUG
Fig 6 long barrel assembly
Steyr AUG
4944109 Rifle,
                      Ulrich Zedrosser, Steyr-Daimler-Puch Ag, Jul 31,
                      1990, 42/71.01, 42/75.01 -


4191089 Breech-closing mechanism for automatic rifle, Ulrich Zedrosser, Steyr-Daimler-Puch Ag, Mar 4, 1980, 89/181, 89/185 - bull pup
4555860 Rifle breech assembly, Ulrich Zedrosser, Steyr-Daimler-Puch Ag, Dec 3, 1985, 42/25 -
4702144 Cocking slide for automatic hand firearms, Ulrich Zedrosser, Steyr-Daimler-Puch Ag, Oct 27, 1987, 89/1.4, 89/181 -
4739570 Firearm, Ulrich Zedrosser, Steyr-Daimler-Puch Ag, Apr 26, 1988, 42/15, 42/39.5, 42/69.01 - chamber separate from barrel
4760663 Firearm, Ulrich Zedrosser, Steyr-Daimler-Puch Ag, Aug 2, 1988, 42/15, 89/155, 42/39.5, 89/33.03 - bull pup
4817496
Firearm, Ulrich Zedrosser, Steyr-Daimler-Puch Ag, Apr 4, 1989, 89/191.02 -
4916844 Hand-held firearm, Ulrich Zedrosser, Steyr-Daimler-Puch Ag, Apr 17, 1990, 42/75.02, 42/70.02 - bull pup
4930241 Hand-held firearm provided with a detachable sight, Ulrich Zedrosser, Steyr-Daimler-Puch Ag, Jun 5, 1990, 42/148 -
4941394 Hand-held automatic firearm, Ulrich Zedrosser, Steyr-Daimler-Puch Ag, Jul 17, 1990, 89/129.02, 89/142, 89/141 -
4944109 Rifle, Ulrich Zedrosser, Steyr-Daimler-Puch Ag, Jul 31, 1990, 42/71.01, 42/75.01 -
4949493 Firearm, Ulrich Zedrosser, Steyr-Daimler-Puch Ag, Aug 21, 1990, 42/15, 42/25, 42/39.5 -ejector,  bull pup
5852892 Rifle with bipod, Ulrich Zedrosser, Steyr-Daimler-Puch Ag, Dec 29, 1998, Dec 29, 1998, 42/94, 42/72 -

SIG stgw57 (Wiki)

I had a civilian version (Forgotten Weapons: SIG PE57) of this many decades ago.
Patent assignee: Energa,
YouTube: Bloke on the Range:
YouTube: Forgotten Weapons: SIG PE-57 Swiss Roller-Delay -

Also known as the SIG 510.  Used from 1957 up to 1990.  Replaced by the SIG SG 550 (Wiki).
The long arm assigned to every able bodied man in Sweden.
7.5x55 (Wiki) Swiss caliber.
The action is a roller delayed blow back (Wiki) (see G3 below)
Fig 1 Barrel assembly
SIG
                      stgw57
Fig 2 Roller lock bolt assembly
SIG
                      stgw57
Fig 3 Stock assembly
SIG
                      stgw57
Fig 4 Bipod on barrel assembly
SIG
                      stgw57
Fig 5 Grip and rear sight assembly
SIG
                      stgw57
Fig 6 Grip and rear sight assembly
SIG
                      stgw57
Fig 7 front and rear ends of receiver with center demilled.
SIG
                      stgw57
Fig 8 Rifle assembled but with missing receiver.
SIG
                      stgw57
Fig 9 Bayonet & barrel
SIG
                      stgw57
Fig 10 bolt that interchangeable with old rifles
SIG
                      stgw57
Fig 11 CAD drawing of receiver
SIG
                      stgw57


Heckler & Koch G3 (Wiki)

Fires the 7.62 x 51 NATO round (.308). (Wiki)
The action is a roller delayed blow back (Wiki) the same as the SIG stgw57 above.
3283435 Breech closure, Koch Theodor, Heckler and Koch GmbH, 1966-11-08 (patent currently missing figures showing roller delayed mechanism, so see WikiMedia)
Heckler & Koch
                      G3
Heckler & Koch
                      G3

Short Magazine Lee–Enfield (SMLE) (Wiki)

In the 1960s there seemed to be a large number of various versions of this rifle for sale on the surplus market.
It fires the .303 cartridge (Wiki).
This is a Mk 3 which began production in 1907.

Short
                      Magazine Lee–Enfield (SMLE)
Short
                      Magazine Lee–Enfield (SMLE)

Bren light machine gun (Wiki)

These were made in the 1930s and fire the same British .303 round as the SMLE above.


Bren light
                      machine gun
Bren light
                      machine gun

IMI Galil (Wiki

Made in the late 1960s.  This one is in .223 (5.56 x 45).

IMI Galil
IMI Galil

Possible Patents:
US3618457 Rotary and sliding firearm bolt with eternal cam, Arthur Miller, 1971-11-09

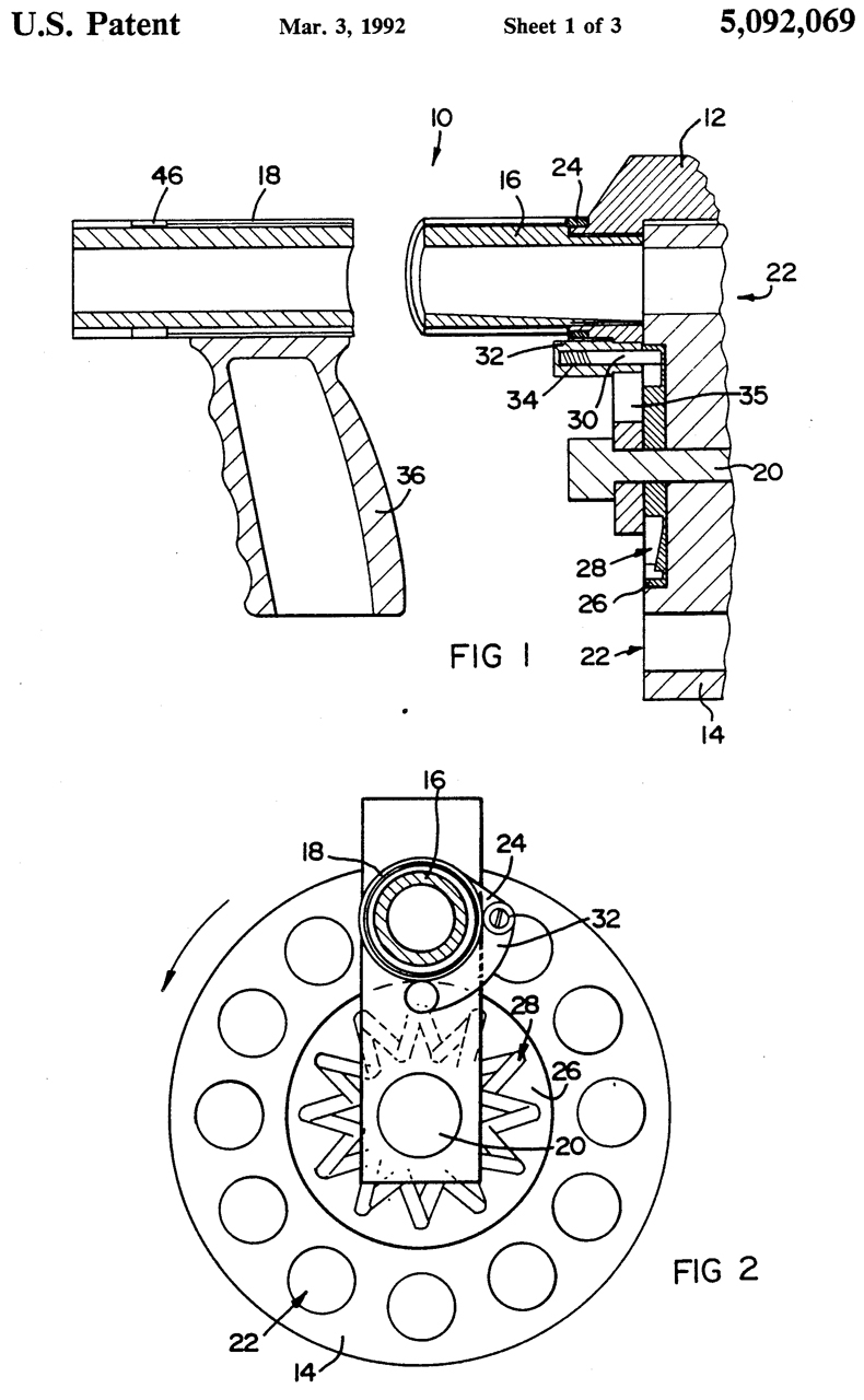
Striker 12 (Wiki)

YouTube: Forgotten Weapons:  Striker 12: Shotgun Turned "Destructive Device" - it's a drum fed semi-auto 12 Ga shotgun.  To minimize the trigger effort the drum is spring wound.  (@9:23) "In 1994, public pressure led the Clinton administration to designate the Striker-12 along with the Cobray Streetsweeper and USAS-12 (Wiki) shotguns as Destructive Devices under the 1934 National Firearms Act."

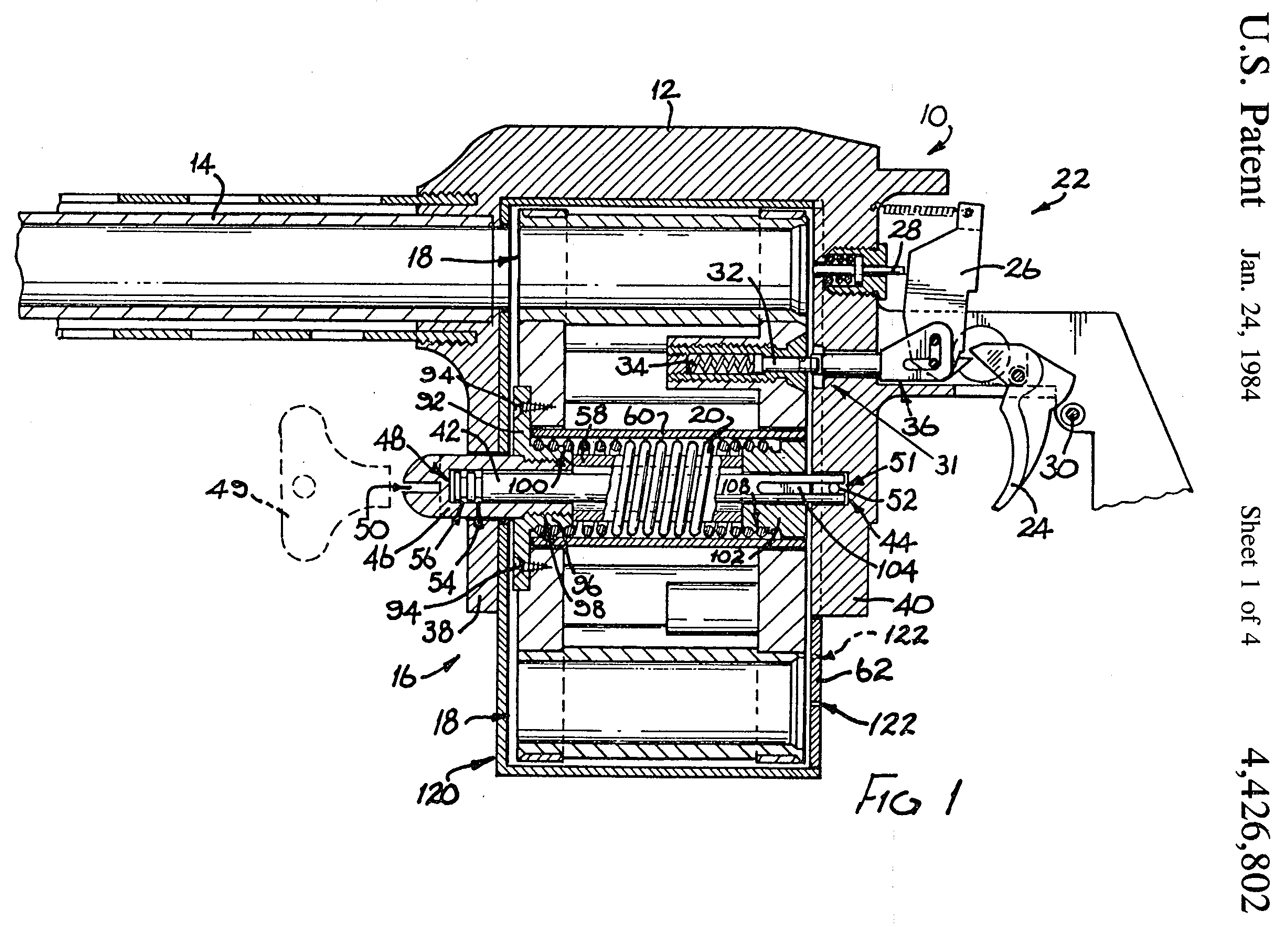
4426802
                      Firearm, Hilton R. Walker, Aserma Mfg, 1984-01-24
4426802 Firearm, Hilton R. Walker, Aserma Mfg, 1984-01-24, - The Striker-12
The main problem to be overcome is the rotational inertia of the magazine. 
A spring advances the cylinder, hence it's a semi-automatic gun.
The South African police deemed this a semi-auto gun, and so it was banned. (@4:53)

This was copied as the Cobray SWD Street Sweeper.
5092069
                      Firearm, Hilton R. Walker, Hoffmann Walker,
                      1992-03-03
5092069 Firearm, Hilton R. Walker, Hoffmann Walker, 1992-03-03, - The Protecto
It seems the main problem is gun laws where a claim is made:
"The only firearms having drum magazines, of which the Applicant is aware, are either automatic or semi-automatic firearms. However for many different applications of firearms, automatic and semi-automatic firearms are not permitted. In this invention a firearm having a drum magazine is disclosed which is not an automatic firearm."
Designed to be "manually operated" by requiring advancing the drum by turning the front grip.

In the U.S. Sentinel Arms Corp, Ridgway, PA

Also see the 40mm M32 Multiple Grenade Launcher (MGL) "Six Pack Attack" & the Manville gas gun (Wiki).

2101148 Machine
                      projector, Charles J Manville, 1937-12-07
2101148 Machine projector, Charles J Manville, 1937-12-07, -

Benelli M1014 shotgun

The M1014 (Wiki) adopted by US Marines.
YouTube:

Liberator FP-45 Pistol (Wiki)

According to the book: The FP-45 LIBERATOR PISTOL 1942 - 1945 by R.W. Koch their was an effort to hide who made the pistol.  So the parts drawings were given bogus names such as "tube" instead of barrel.
The official name was Flare Projector hence the FP-45 designation.  Mentioned the oil holes, but does not have any information about their use.

Someone at Aertech brought one of these to work.  This was in the old days when there was no security at airports and you just boarded the plane then paid for the seat on the plane.  The stewardess stood at the gate and used a push button counter to determine when the plane was full. 

As far as I can remember, this was early 1970, he had the full setup, i.e. box, instructions, wood dowel, 10 .45 ACP cartridges and the FP-45.  I never expected to ever own one since they were made of Unobtainium (Wiki).

After watching the YouTube: The Liberator Pistol: America's Most PLA Gun Ever, ft. Ian from Forgotten Weapons, 8:38 - I learned about the replicas made by Vintage Ordnance (YouTube).
They offer a cutaway, a couple of standard .45 ACP models and the .22 (6mm) blank model.

The design of the packing (Fig 5) requires that the pistol is not cocked.  This prevents shipping a pistol with a round chambered and cocked, which would be very dangerous.  If the pistol is cocked the box lid will not close.

 DO NOT DRY-FIRE .22!

Wiki: "Though dry fire does not pose any real risk of damage to most modern centerfire firearms, dry fire can pose a risk for rimfire weapons, where the firing pin in most designs will impact the breech face if the weapon is dry-fired. Because of this, precautions (such as the use of snap caps) are recommended if such a weapon is to be deliberately dry-fired."

I got the .22 blank version since it would be more fun.

Fig 1 Note2 oil holes
Liberator
                      FP-45 Pistol 22 blank version
Fig 2
Liberator
                      FP-45 Pistol 22 blank version
Fig 3 Note oil hole
Liberator
                      FP-45 Pistol 22 blank version
Fig 4
Liberator
                      FP-45 Pistol 22 blank version
Fig 5 Replica Packing materials.
Liberator
                      FP-45 Pistol 22 blank version
Fig 6 .22 (6mm) Blanks.
Liberator
                      FP-45 Pistol 22 blank version
Fig 7 Book: FP-45 LIBERATOR PISTOL 1942 - 1945 by R.W. Koch - fold out has pictorial instruction sheet.
Liberator FP-45 Pistol 22 blank version

Patent

2805507
                        Pistol with a knife blade thereon, Adolph P
                        Buquor, App: 1955-02-03, Pub: 1957-09-10, -
                        FP-45 Liberator pistol w/knife
2805507 Pistol with a knife blade thereon, Adolph P Buquor, App: 1955-02-03, Pub: 1957-09-10, - FP-45 Liberator pistol w/knife

The cartridges shown in the patent are rimmed, not 45ACP (Wiki). I wonder if Adolph actually had his hands on a real FP-45, or maybe he was going to make it to take 38 revolver ammunition (Wiki)?

Full Auto

Forgotten Weapons: Origins of Constant Recoil: The Ultimax Mk3 & Knight's Assault Machine Guns at the Range - both highly praise the "Constant Recoil" system in that it adds a lot of control to full automatic fire.  The particular guns made for Singapore had some reliability problems.  It's not clear if that's related to the constant recoil aspect or something else.  So far have not found the patent for this.

J. M. Browning (Wiki , Ref 7)

544657 Gas Operated Machine Gun, J.M. Browning, 1895-07-20,
544658 Gas Operated Machine Gun, J.M. Browning, 1895-07-20,
544659 Gas Operated Machine Gun, J.M. Browning, 1895-07-20,
544660 Gas Operated Breech Loading Gun, J.M. & M.S. Browning, 1895-07-20,
544661 Gas Operated Firearm, J.M. Browning, 1895-07-20,- potato digger (Wiki)

M2

While watching the Forgotten Weapons YouTube: Ma Deuce: The Venerable Browning M2 .50 Caliber HMG - there was a closeup of the patent numbers.
So here are those patents plus other related/referenced patents.

1293021 Automatic machine-gun, John M Browning, 1919-02-04, - M1919 Browning machine gun (Wiki)
1628226 Automatic firearm, Browning John, 1927-05-10, -
RE19159 (was: 1803351) Reversible feed mechanism for Machine Guns,
Frederick T Moore, Pfeiffer Christian, Colt's Patent Fire Arms Mfg,
1803351 Reversible feed mechanism for machine guns, Frederick T Moore, Pfeiffer Christian,
Colts Mfg, 1931-05-05, - belt from left or right
1845242 Bolt operating mechanism for machine guns, Richard C Coupland, 1932-02-16, -
1858498 Bolt operating mechanism for machine guns, James L Hatcher, 1932-05-17, -
1919242 Cooling system for firearms, Frederick T Moore, Colts Manufacturing Co, 1933-07-25, - either air or water cooling
1936254 Reversible feed mechanism for machine-guns, Frederick T Moore, Colts Manufacturing Co, 1933-11-21, - for left or right hand feed
2101851 Machine gun jacket mounting, Samuel G Green, 1937-12-14, - "
The purpose of the invention is to provide a machine gun trunnion block which is adapted to mount different types of jackets without resorting to the use of matched threads and to provide means on the trunnion block for locking the Selected jacket in a predetermined position.
2108060 Back plate latch for machine guns, Samuel G Green, 1938-02-15, - allows the back plate to be easily removed.
2110165 Machine gun, Frederick T Moore, Colts Manufacturing Co, 1938-03-08, - "The invention relates to a machine gun, particularly to air-cooled machine gun, having a readily detachable barrel. One of the objects of the invention is to provide a machine gun of the reciprocating barrel type, wherein the barrel may be readily put in place or removed from the front of the gun without disturbing or disassembling any other essential gun part."

Pancor Jackhammer

This is a selective fire (semi or full auto) 12 Gz shotgun that uses 2-3/4" shells.  It uses a 10 shot revolver type magazine.

Forgotten Weapons:  YouTube:
Pancor Jackhammer: The Real One - This is the only surviving one of the three made.
Pancor Jackhammer Mk3 - this is an non functional prototype missing parts because never fully built

The videos mention:
HP White Laboratory, which closed in 2020 - here's their YouTube channel: HP White Laboratory.
Here's a snapshot from 7 Aug 2012 of their web page.

4709617 Firearm, John A. Anderson, App: 1984-06-21, Pub: 1987-12-01, - Pancor Jackhammer

Webley–Fosbery Automatic Revolver (Wiki)
584631 Recoil
                      operated firearm, G. V. Fosbery, 1897-06-15
584631 Recoil operated firearm, G. V. Fosbery, 1897-06-15, -

Also holds UK patents: 
GB189515453 Improvements in Revolvers, Magazine Pistols, and other Small-arms, 1896-07-04
GB189612470 Improvements in Pistols and other Small-arms, 1896-07-11
GB189624155 Improvements in Pistols and other Small Arms, 1897-10-23
688217 Automatic
                      revolver-firearm, William John Whiting,
                      1901-12-03
688217 Automatic revolver-firearm, William John Whiting, 1901-12-03, -
"This invention relates to small-arms of the breakdown-revolver type, and has reference to automatic revolvers primarily of the Webley-Fosbery class." "... in conjunction with means for insuring the rotation of the cylinder in the proper direction."  oops

So this adds the zig-zag to the outside of the cylinder.

Whiting holds a number of patent on this: 584631, 688216, 688217, 700592,

The way the revolver cylinder is grooved on the Real One is different than shown in the below patents.
Both of these patents look like the MK3 - it has the cast handle/sight that dovetails onto the receiver.

4709617
                          Firearm, John A. Anderson, 1987-12-01
4709617 Firearm, John A. Anderson, 1987-12-01, -

Fig 1 is the exploded view.
4856410
                          Firearm, John A. Anderson, 1989-08-15
4856410 Firearm, John A. Anderson, 1989-08-15, -

Fig 1 is just the cylinder.  The patents cited are mostly about the cylinder



Hill SMG/Pistol

Forgotten Weapons: Hill SMG/Pistol: Inspiration for the FN P90, 15:39

2624241 Gun
                      action, John L Hill, 1953-01-06
2624241 Gun action, John L Hill, 1953-01-06, -
Notice that the rounds in the magazine are turned 90 degrees from the barrel.
Turntable is part of receiver.
2773325
                      Magazine and cartridge container assembly, John L
                      Hill, 1956-12-1
2773325 Magazine and cartridge container assembly, John L Hill, 1956-12-11, -
2882635 Tubular
                      combined cartridge container and magazine unit,
                      John L Hill, 1959-04-2
2882635 Tubular combined cartridge container and magazine unit, John L Hill, 1959-04-21, -
3064382 Gun
                      with ejection through hand grip, John L Hill,
                      1962-11-2
3064382 Gun with ejection through hand grip, John L Hill, 1962-11-20, -

FN P90

The Hill SMG was the precursor to the FN P90 (Wiki).
Forgotten Weapons: How to Classify the H&K MP-7 and FN P90P90: FN's Bullpup PDW;

5012743
                      High-performance projectile, Jean-Paul Denis, Marc
                      Neuforge, FN, Priority: 1988-12-05
5012743 High-performance projectile, Jean-Paul Denis, Marc Neuforge, FN, Priority: 1988-12-05, Pub: 1991-05-07, -

FN 5.7×28mm (Wiki) - new round to penetrate Russian military body armor.
The case has straight walls, no taper like on most rifle cartridges.  This was probably done to allow stacking in the unique magazine of the P90.

 
4905394 Top
                      mounted longitudinal magazine, Rene Predazzer, FN,
                      1990-03-06
4905394 Top mounted longitudinal magazine, Rene Predazzer, FN, 1990-03-06, -

They have the turntable in the magazine.

M3 Grease Gun

The inventors for the Grease Gun: Frederick W Sampson and George J Hyde also were involved with the FP-45 Liberator Pistol, and Thompson SMG.
In Jan 1943 the M3 Grease Gun replaced the M1A1 Thompson.
YouTube: Forgotten Weapons:
M3 and M3A1 Grease Gun SMGs -
Shooting the M3A1 Grease Gun -
Suppressed OSS M3 Grease Gun and Bushmaster Booby Trap Trigger - "Booby Trap" backwards spells "Party Boob"
Valkyrie Arms Semiauto M3A1 Grease Gun semi-auto is legal in DC.
Denix: Collectors armoury:  SKU: 22-1313 Non-Firing Replica US "Grease Gun" .45 Submachine Gun
SARCO: REP44 Grease Gun Replica With Sling And Cover - this is the M3 not the M3A1
2403306 Firearm
                      construction, Frederick W Sampson, George J Hyde,
                      GM, App: 1944-05-01
2403306 Firearm construction, Frederick W Sampson, George J Hyde, GM, App: 1944-05-01, Pub: 1946-07-02, -
2418906 Breech
                      bolt retracting means, Frederick W Sampson, George
                      J Hyde, GM, App: 1944-05-01
2418906 Breech bolt retracting means, Frederick W Sampson, George J Hyde, GM, App: 1944-05-01, Pub: 1947-04-15, -
2424194
                      Extensible shoulder stock for firearms, Frederick
                      W Sampson, George J Hyde, App: 1944-05-01
2424194 Extensible shoulder stock for firearms, Frederick W Sampson, George J Hyde, GM, App: 1944-05-01, Pub: 1947-07-15, -
Note the FP-45 Liberator pistol (Wiki) and this sub machine gun are both made mainly out of sheet metal.
This M3 has charging handle.

The follow on to the Liberator pistol was the "Deer Gun" (Wiki).

Another follow on product was the Defense Distributed 3D printed Liberator (Wiki).
2428683 Firearm
                      safety, Frederick W Sampson, George J Hyde, GM,
                      App: 1944-05-01
2428683 Firearm safety, Frederick W Sampson, George J Hyde, GM, App: 1944-05-01, Pub: 1947-10-07, -
Tab on dust cover blocks bolt in either forward or cocked positions.
2539554 Trigger
                      and sear mechanism, Frederick W Sampson, George J
                      Hyde, GM, App:1944-05-01
2539554 Trigger and sear mechanism, Frederick W Sampson, George J Hyde, GM, App:1944-05-01, Pub: 1951-01-30, -
This M3 has charging handle.

Thompson SMG

The various models of the Thompson Sub-Machine Gun (Wiki) were designed by a small group called Auto Ordnance (Wiki) and manufactured on contract by Colt (Wiki) or Savage Arms (Wiki).

YouTube:
Forgotten Weapons: Thompson 1921: The Original Chicago Typewriter - 800 RPM
@8:01: Patents: March 9, 1915 (1131319), May 4, 1920, May 25, 1920, May 25, 1920, July 27, 1920, Aug 10, 1920, Sep 7, 1920, Oct 26, 1920, Dec 28, 1920

The Marines' First SMG: 1921/28 Thompson Gun -  @4:30 over stamp; 600 RPM by Oscar Payne;

Shooting the Thompsons: Comparing the 1921, 21/28, and M1A1 - 1921: 960 RPM, 1921/28: 830 RPM, M1A1: 655 RPM
Ken Hackathorn on the Thompson and the MP5, 26:15 -
Model 1927 Thompson Semi Automatic Carbine -
M1 Thompson: Savage Simplifies the SMG, 18:01 -

Replica M1928

Collectors Armory: Replica Thompson M1928 Submachine Gun Non-Firing, SKU: 22-1092 Order: May 7, 2021.

I'm very disappointed that the stock is fixed to the receiver!  On the actual gun you can just press a button and slide the stock back.  This allows storing the gun, stock and magazine in a violin case. (or a saxophone case; See YouTube:

 There's a photo of John T. Thompson holds aloft a stock-less M1921

Fig 1
Replica
                      Thompson M1928
Fig 2
Replica
                      Thompson M1928
Fig 3
Replica
                      Thompson M1928

Fig 4 Bolt cocked and
will slam home when trigger is pulled
Rear sight in up position.
Replica
                      Thompson M1928
Photo from Wiki.
f John T.
                      Thompson holds aloft a stockless M1921




Thompson Patents


1312687
                      Firearm, Theodore H Eickhoff, Auto Ordnance,
                      1919-08-12
1312687 Firearm, Theodore H Eickhoff, Auto Ordnance, 1919-08-12, -

Maybe developed for the Thompson Autorifle (Wiki) but also used on the Sub Machine Gun.

1329444 Gun-barrel, Thompson John Taliaferro, 1920-02-03, - not as tight a fit so reduce wear and temperature in a machine gun.
347755
                      Cartridge-magazine, Oscar V Payne, Auto Ordnance,
                      1920-07-27, - 50 round drum magazine
1347755 Cartridge-magazine, Oscar V Payne, Auto Ordnance, 1920-07-27, - 50 round drum magazine
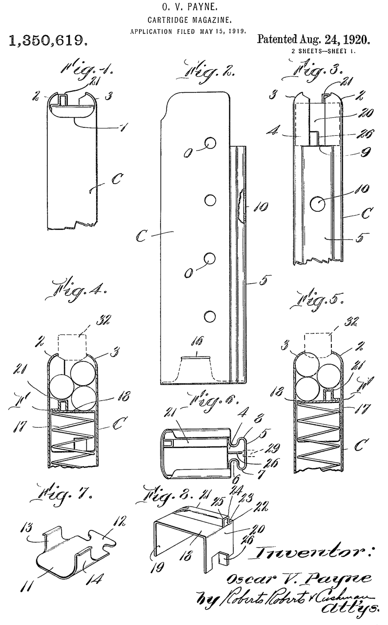
1350619
                      Cartridge-magazine, Oscar V Payne, Auto Ordnance,
                      1920-08-24, -20 round stick magazine
1350619 Cartridge-magazine, Oscar V Payne, Auto Ordnance, 1920-08-24,  -20 round stick magazine

1351141 Buffer, Thompson John Taliaferro,1920-08-31, -
1425808 Breech
                      mechanism for guns, Thompson John Taliaferro, Auto
                      Ordnance, 1922-08-15
1425808 Breech mechanism for guns, Thompson John Taliaferro, Auto Ordnance, 1922-08-15, 89/152; 89/142; 89/190; 42/69.02; 89/187.01; 89/198 -

Shows single control: Safe, Semi-auto, Full-auto - but this was not used.
1425809
                      Breech-closure mechanism, Thompson John
                      Taliaferro, Auto Ordnance, 1922-08-15
1425809 Breech-closure mechanism, Thompson John Taliaferro, Auto Ordnance, 1922-08-15, 89/187.01; 89/190; 42/106 -
Cites: 1131319 Breech-closure for firearms, John Blish, 1915-03-09, - Blish Lock (Wiki) a myth, really blow back.
1636357
                      Anticlimb device, Richard M Cutts 1927-07-19, -
                      Cutts Compensator
1636357 Anticlimb device, Richard M Cutts Jr., Richard M. Cutts Sr., 1927-07-19, - Cutts Compensator (Wiki: Muzzle Break)

World War Two Heats Up: The M1928A1 Thompson SMG  -
@8:50 Patent numbers (not dates):1131319, 1338866, 1340848, 1340843, 1347734, 1349345,1352414, 1357208, 1363809, 1403623, 1406546, 1408276, 1817321

1338866
                      Firearm
1338866 Firearm
"Heretofore, one of the serious faults in gun design has been the failure to secure symmetry of conformation and consequent equality of distribution of weight and of thrust about the longitudinal axis of the piece. This failure renders the gun more difficult to aim and results in frequent break ages due to asymmetric stresses. When the lack of symmetry appears in reciprocating parts its deleterious effect is very much increased. The lack of balance in weight of these reciprocating parts carries the resultant of the thrust due to the movement of the parts, out of the line of the longitudinal axis of the piece. This eccentrically oper ating thrust creates a lateral component tending to turn the gun and to cause the parts to chatter and ultimately break. And this eccentric component of the thrust is particularly marked in machine guns and other rapid-fire guns where the reciproction takes place at a rapid rate."

1340891 Breech-closure,

1340943 Breech-closure,

1347754 Firearm,
1349345
                      Firearm
1349345 Firearm,

1352414 Breech lubrication,

1357208 Firearm,
1363809
                      Firearm
1363809 Firearm,
1403492 Hammer
                      construction, Theodore H Eickhoff, Auto Ordnance,
                      1922-01-17
1403492 Hammer construction, Theodore H Eickhoff, Auto Ordnance, 1922-01-17, -
cited in patent 1817321
Fires from a closed bolt in semi and full auto.
Hammer (24), Firing Pin (18)
1403623 Gun
1403623 Gun,
Shows single control: Safe, Semi-auto, Full-auto - but this was not used.

1406546 Breech closure for guns,
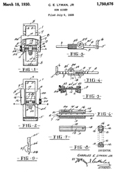
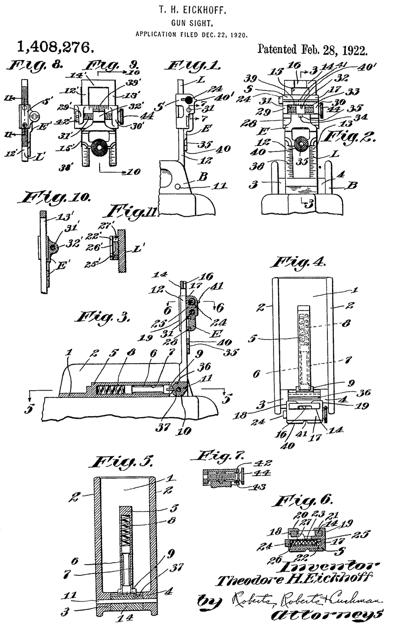
1408276 Gun
                      sight
1408276 Gun sight, Theodore H Eickhoff, Auto Ordnance, App: 1920-12-22, Pub: 1922-02-28, -

I think this was added for "Marketing" rather than for function.  The thinking may have been someone who saw the same sight on match rifles might ass-u-me that the Thompson was an accurate gun.

The sight in the Forgotten Weapons on the 1921 model was marked Lyman.  The closest patent with "Lyman" as inventor was 10 years after, in 1930. 
1750676
                              Gun sight, Charles E Lyman Jr, 1930-03-18 1750676 Gun sight, Charles E Lyman Jr, 1930-03-18, 42/137 - This is probably NOT the correct patent since it's a couple of decades too new.


1433945 Gun mechanism, Theodore H Eickhoff, Auto Ordnance, 1922-10-31, - Thompson Autorifle (Wiki)?
1437889 Fire
                      control for automatic guns, Theodore H Eickhoff,
                      Auto Ordnance, 1922-12-05
1437889 Fire control for automatic guns, Theodore H Eickhoff, Auto Ordnance, 1922-12-05, -

This is the dual control system (Full or Semi Auto & Fire or Safe) rather than the single control selector switch that's shown on all (?) the other Auto Ordnance patents for the Thompson.


A single part sear is shown in patent
2053489 Automatic firearm, Norman George (UK), Auto Ordnance, 1936-09-08 - Blish block shown but not mentioned.
Patent date far after the BSA Autorifle (Wiki) so what gun used this?

1544566
                      Cartridge extracting and ejecting mechanism for
                      firearms, Theodore H Eickhoff, Auto Ordnance,
                      1925-07-07
1544566 Cartridge extracting and ejecting mechanism for firearms, Theodore H Eickhoff, Auto Ordnance, 1925-07-07, -
"In the usual form of firearm, in which the extractor and ejector mechanism is controlled by retraction of the bolt in the receiver, as by recoil, the speed of travel of the bolt is so great that the cartridge is thrown a considerable distance from the firearm with an objectionably large force."  This was a big problem with the 1923 Thompson Autorifle (Wiki).
1817321
                      Firearm, Oscar V Payne, Auto Ordnance, 1931-08-04
1817321 Firearm, Oscar V Payne, Auto Ordnance, 1931-08-04, - This is for the 1921/28 over stamp for the Marines.
"The desirability of slowing down these guns to a reduced rate of fire has long been realized and in peace-time the military authorities have consistently refused to accept guns operating faster than approximately five or six hundred shots a minute." 

They claim by increasing the weight of the actuator more speed reduction is obtained than by just increasing the weight of the bolt.

This is the upgrade for the Marines to lower the cyclic rate.  Notice:
(12, 13, 14) hammer, firing pin & spring), (18) Blish block, (Fig 3) heavy weight charging handle/actuator
2342283 Rifle,
                      George J Hyde, Firearms Research Corp, App:
                      1940-08-09, W.W.II, Pub: 1944-02-22, - Thompson
2342283 Rifle, George J Hyde, Firearms Research Corp, App: 1940-08-09, W.W.II, Pub: 1944-02-22, - Thompson
Trigger group can easily be removed from receiver.

Note Hayes also invented the M3 Grease gun as well as the FP-45 liberator pistol and other guns.

2376057 Rifle, George J Hyde, Firearms Research Corp, Priority: 1940-08-09, W.W.II, Pub: 1945-05-15, -
two major assemblies (division of patent 2342283)

2376921 Toy submachine gun, William J Kelly, 1945-05-29, - al wood construction to save on war materials.

2407157 Firearm, George J Hyde, Firearms Research Corp, App:1941-06-14, W.W. II, Pub: 1946-09-03, -
many improvements on the Thompson SMG.
.
2660000 Toy sounding flash gun, Lawrence H Strayer, 1953-11-24, -
Cites:
876088 Electric pistol, Ernst Oswald Pfeil, 1908-01-07, - snub nose revolver flashlight in barrel, batteries in cylinder.
1272353 Automatic toy pistol, Martin P Appell, 1918-07-16, -spring driven notched wheel makes repeating noise when trigger pulled.
2208313 Electric pseudo machine gun toy, Schmidt Jacob, 1940-07-16, - model railroad car with motor driven noise wheel.
2420076 Toy machine gun, Robert R Goodwin, George M Dasher, 1947-05-06, - Thompson with drum that contains door bell noise maker.

The Iconic American WW2 Thompson: the M1A1 -Blish brass part removed, mass added to bolt, charging handle on side, no provision for drum, used 30 round stick mag,
The M1A1 has the firing pin fixed to the bolt face.
Auto Ordnance holds about 109 patents.

Bayonets (Wiki)

The bottom two bayonets in Fig 1 were made by Ontario Knife Co.
All of them fit the M-16 family of rifles.

PS It's strange the Wiki pages for various bayonets mention length of blade, but not much about the weight of the bayonet and scabbard/sheath since most soldiers are very concerned about how much weight they must carry.

Fig 1
Bayonets
M7 (Wiki)
9.6 oz
M8 Scabbard: 11.5 oz
Total: 1 lb 5.1 oz





M9 (Wiki)
NSN: 1095-01-227-1739
TM9-1005-237-15P
TM9-1005-237-23&p
see: 5031810
1 lb 10 oz including sheath





OKC 3S (Wiki)
NSN: 1095-01-521-6087
See: 7921567
1 lb 4 oz including sheath

1253665 Insulated grip for bayonet-carrying shoulder-arms, Henry Brewer, Winchester, 1918-01-15, - See Ref 4. adapter to allow use of M1917 bayonet on M1897 shotgun.
1260021 Bayonet-mount for shoulder-arms, John E Otterson,
Winchester, 1918-03-19, - See Ref 4.
20050015998
Bayonet having a serrated edge and a balanced positioning access point, Nicholas Trbovich, Kathlyn Green, Priority: Jun 12, 2003, Pub:  Jan 27, 2005 applies to the OKC 3S
4821356 Military bayonet and scabbard, Charles A. Finn, (PHROBIS III Ltd - Buck Knives), Apr 18, 1989 - applies to the M9 - cuts not only wire but also packing strap
3076280 Means for removably securing a bayonet to a rifle, Johannes Bervoets, Staatsbedrijf Artillerie Inric, Filed: Mar 30, 1961, Pub: Feb 5, 1963 -
5031810 Knife or bayonet scabbard, Charles A. Finn (Wiki), Douglas D. Olson, Qual A Tec, 1991-07-16, - YouTube: Why the M9 Bayonet was a Combat FAILURE, 10:19 - Phrobis III
7921567 Bayonet having a serrated edge and a balanced positioning access point, Nicholas D. Trbovich, Jr., Ontario Knife Co, App: 2006-01-31, Pub: 2011-04-12, - 3S

Ghost Guns

It's possible to make a firearm from scratch, but that's not practical since, in the U.S. you can buy gun parts with no restrictions except the receiver on which gun manufacturers engrave a serial number and other markings that are prescribed by law such as the manufacturer or importers name and the caliber.  So you could buy a hunk of metal and machine your own receiver.  As a joke 80 percent Arms offers a 0% receiver for $29.  Note this is just a block of 6060-T6 aluminum that's 8"x4.5"x1.5" that you could buy from any metal supplier.  So that 0% receiver is always going to be available.

Then the question becomes how much machining can be done to raw metal and still have it classified by the ATF as a gun part rather than a receiver?  The simple answer is that 80% of the receiver can be machined without the person doing that machining being deemed as a manufacturer which would require them to be licensed and to engrave the appropriate serial number and other markings.

For each model of gun, samples need to be submitted to the ATF to get the coveted approval letter that says you have come up with an approved 80% receiver, i.e. you are selling a gun part.

Defense Distributors

Liberator

The first plastic 3D printed gun, the Liberator single shot pistol (Wiki) was designed by Cody Wilson (Wiki) of Defense Distributors.
Note the 3D pistol was named after the W.W.II Liberator FP-45 single shot .45 pistol (Wiki) invented by George Hyde (Wiki) who also invented the M3 "Grease Gun" (Wiki)  sub-machine gun.

Ghost Gunner

Later Defense Distributors came out with the Ghost Gunner which is a milling machine designed to make lower receivers for:
AR-15, AR-308, AR-9, AR-45, Polymer80, 1911, engraving, Serialization.
It expects to start with an 80% receiver, but I suspect it would not be a stretch to start with a 0% receiver.

Tommy Built Tactical

The idea was to solve some of the problems with the Defense Distributors guns.  (AFAICR they self destructed after a few shots).
T36 Receiver -  injection molded, glass filled polymer compatible with most German G36 (Wiki) parts and accessories - ATF FAQ 15Mar2021 -
FGC-9 (Wiki) based on designs by Philip Luty (Wiki) author of Expedient Homemade Firearms (pdf).
Forgotten Weapons: Weapons as Political Protest: P.A. Luty's Submachine Gun -
ARES: Publications -  
P.A. Luty 9 mm sub-machine guns -

Polymer 80

The Glock pistol is made on a polymer frame (not metal) (Wiki).  This was a ground breaking development.  The Polymer 80 company makes a number of 80% receivers out of Polymer rather than metal.  They have had some legal problems related to the city of Syracuse, NY et al suing BATF because ATF decides what's an 80% receiver on a case by case basis rather than having a rule.  Docket: 1:20-cv-06885 SDNY, Case: 1:20-cv-06885

Case: 3:20-mj-00123 Search Warrant: Polymer80 This case is based on the sale and shipment of "Buy Build Shoot Kits".  The BATF seems to be saying that the Polymer 80 pistol frame as submitted is not a firearm, i.e. it's a gun part.  But when Polymer 80 ships their frame and a kit of gun parts all in one box that collection of parts becomes a firearm.  So the BATF position is it would be OK to sell the frame blank, but not to sell it along with other parts which would allow making a functional gun. But what does that mean when someone builds a working gun from an 80% receiver?  Is it legal to build a gun from a 0% blank, i.e. raw metal?

My mother subscribed to Eros magazine (Wiki, Ralph Ginzburg) and received the first year (I still have them), but did not get the second year because Ginsburg was convicted, based on the shipping postmarks, such Blue Ball, PA (Wiki) & Intercourse, PA (Wiki)  &Etc.  He broke no law on the books at the time, but the Supreme Court said what he did was a crime.

USFA Zip 22

U.S. Fire Arms (USFA) Zip 22 (Wiki) - Forgotten Weapons: USFA Zip 22: How a Garbage Gun Destroyed A Good Company - Zip 22: Shooting the Worst Gun Ever -
Because the moving parts are so light they cycle at an extremely fast rate.  So fast that the gun can not function.
20150323267 Compact semiautomatic firearm,
                        Douglas F. Donnelly, Usfa/zipfactory LLC,
                        2015-11-12
20150323267 Compact semiautomatic firearm, Douglas F. Donnelly, Usfa/zipfactory LLC, 2015-11-12, -
YouTube: The Gun So Bad It Destroyed an Entire Company, 16:27 -

GB-22

Very simple and low cost 22 single shot pistol.
YouTube: Tiny Plywood Gun is LOUD!, 4:57 - claims so low cost you can make they can be used in buy-back programs to make a profit.

80% Sellers

5D Tactical - AR-15, AR-308, Glock, AR-9
80% Lowers -
80percentArms -
80lowers -
Polymer80 - had some legal trouble -nearly all items out of stock
Brownells - 80% lower - -nearly all items out of stock
Precision Reflex - Forged 80% AR-15 lower

2022 July 8: Pictured: ‘Electrically Fired’ DIY Shotgun Used to Assassinate Shinzo Abe - double barrel shotgun pistol.  muzzle loading, electrically ignited (18650? cells and toggle switch).

Information on DIY Guns (Wiki: Improvised firearm)

Impro Guns: Guns made in garages from around the world - Photos sometimes with link to a news story.  A wide assortment of DIY guns.-
     Rockets & Grenade Launchers -
     Pen Guns - Automatic center punch, flashlight, tire gauge

Cal Guns: California Center fire, Semi-Auto Rifle Identification

State of California v. Polymer80 - Case No.: 21STCV06257 - MEMORANDUM OF POINTS AND AUTHORITIES IN SUPPORT OF DEMURRER OF DEFENDANTS POLYMER80, INC., DAVID BORGES, AND LORAN KELLEY TO COMPLAINT (20-Memo-of-Ps-As-ISO-Demurrer-File-Stamped.pdf) -

Also see the patents related to the M-186 Pocket Flare Gun.
Book on order: Zips, Pipes, And Pens: Arsenal Of Improvised Weapons, J. David Truby, 1993 -

Odd Balls

I stumbled on the patent for the "Protector" and so started this paragraph for odd balls.  I had a neighbor who collected Muff Pistols (Wiki) , which is a similar firearm.
273644 Revolver, Jacques Edmond Turbiaux, 1883-03-06, - (Wiki: Protector Palm Pistol) (Russian web page, Select English on the home page - mostly about early pistols)

Common Remotely Operated Weapon System (CROWS)

Wiki: CROWS - supports: Mk 19 grenade launcher (Wiki) w/96 rounds, 12.7mm M2 .50 Caliber Machine Gun (Wiki) w/400 rounds, 7.62 mm M240B Machine Gun (Wiki) w/1000 rounds & 5.56 mm M249 Squad Automatic Weapon (Wiki) w/1600 rounds.
This is a remotely operated weapon station (Wiki).

3007051 Optical infrared sight system, Amara Dominic, Henry F Rempt, Lockheed, 1961-10-31, - integrates IR into aircraft optical fire control system
5129309 Electro-optic targeting system, John Lecuyer, Recon Optical, 1992-07-14, - replaces fixed reticle in reflex gun sight (Navy Mk. 18 Gun Sight, Mk 20 Mod 4 Gun-Bomb Sight) with a CRT (Wiki).
20040050240 Autonomous weapon system, Ben Greene, Steven Greene, Electro Optic Systems, 2004-03-18, - TV, Night vision, Laser ranging.
7946213 Dual elevation weapon station and method of use, James P. Quinn, EOS Defense Systems, 2011-05-24, - cites 46 patents, cited by 97 patents,

HK P11

Forgotten Weapons:

Altor Single-shot 9mm

9328985 Single shot firearm, Alexander R. Malcolm, Altor Corp, 2016-05-03, -
Altor Pistol: Barely legal single-shot 9mm, 8:56 -

Broom Handle Mauser (Wiki: Mauser C96)

In the late 1950s there was a gun store on El Camino in Mountain View, California.  He had a broom handle Mauser that was admired for the quality of its construction.  He would sell it to me for a good price, but my mother would not sign for it (I was not old enough to buy it on my own).

These came with a built-in clip-fed magazine or other models had detachable box magazines.
Some were only semi-auto, others had a selector position for full-auto.
Like the Luger (Wiki), they had an optional wooden holster that could clip on the back of the hand grip to be a stock.
The "96" in C96 references the year 1896.  The Luger came out in 1900 and set the standard design for semi-auto pistols.  The Colt 1911 .45 semi-auto pistol came 15 years later.

Inspired by Ref 2, Also see: Ref 6.


GB189407451 Cartridge Holder, Paul Mauser, 1894-06-16, - stripper clip
GB190008566 Cartridge Receptacles or Holders for Charging Magazine Fire Arms, Paul Mauser, 1900-06-09, - stripper clip for pistol
661743 Cartridge-holder for charging magazine-firearms, Paul Mauser, 1900-11-13, - stripper clip for pistol
DK3810 Fjederanordning ved Patronrammer for Magasinvaaben, Paul Mauser,1901-03-25, - stripper clip for pistol


GB189600959 Improvements in and connected with Magazine Repeating Fire-arms, Paul Mauser, 1896-02-22, -
CH11943 Repeating firearm actuated by the recoil with movable barrel, in which the bolt is locked, Paul Mauser, 1896-09-15, - C96 Broom handle (Wiki: C96) uses stripper clip
CA56262 Repeating magazine firearms, Paul Mauser, 1897-06-14, -
DK925 Repetervaaben med bevægeligt Løb, der sættes i Virksomhed ved Reculen, Paul Mauser, 1897-02-01, -


CH15828 Metal Cartridge, Paul Mauser, 1898-08-15, - for rifle, not pistol

1818086 Safety
                      device for firearms, Nickl Josef, Mauser Werke,
                      1931-08-11, - Broom Handle
1818086 Safety device for firearms, Nickl Josef, Mauser Werke, 1931-08-11, - Broom Handle (Wiki: C96)
introduced in 1896.
1980874
                              Quick-firing pistol, Nickl Josef, Mauser
                              Werke,1934-11-13, - Selective fire Broom
                              Handle
1980874
                              Quick-firing pistol, Nickl Josef, Mauser
                              Werke,1934-11-13, - Selective fire Broom
                              Handle
1980874
                              Quick-firing pistol, Nickl Josef, Mauser
                              Werke,1934-11-13, - Selective fire Broom
                              Handle

1980874 Quick-firing pistol, Nickl Josef, Mauser Werke,1934-11-13, - Selective fire Broom Handle

Removable box magazine or stripper clip (r) like on the semi-auto C96.

Jatimatic GG-95 PDW

YouTube: The SMG That Could’ve Changed Everything—Until It Got Stolen,
4569270 Automatic hand firearm, Jali Timari, 1986-02-11, - breach block slids on an angled receiver in such a way as to cancel muzzle climb.
Used in movies Cobra (IMDB) and Red Dawn (IMBD).

Chain Guns (Wiki)

A Minigun (Wiki) is essentially a multi-barrelled, i.e. Gatling gun (Wiki); whereas a chain gun is a motorized single barrel gun.  The chain gun will be more accurate compared to a minigun for a number of reasons.
Hughes had many facilities in southern California: Torrance, Culver City and Fullerton were locations I visited.  I think one of these was for Hughes Helicopters (Wiki) .  Note that Hughes did not just make helicopter air frames but also invented much of the equipment related to helicopters, such as remote control gyroscope stabilized guns and the guns themselves. (PS. The PRC-104 radio system included a helicopter version).

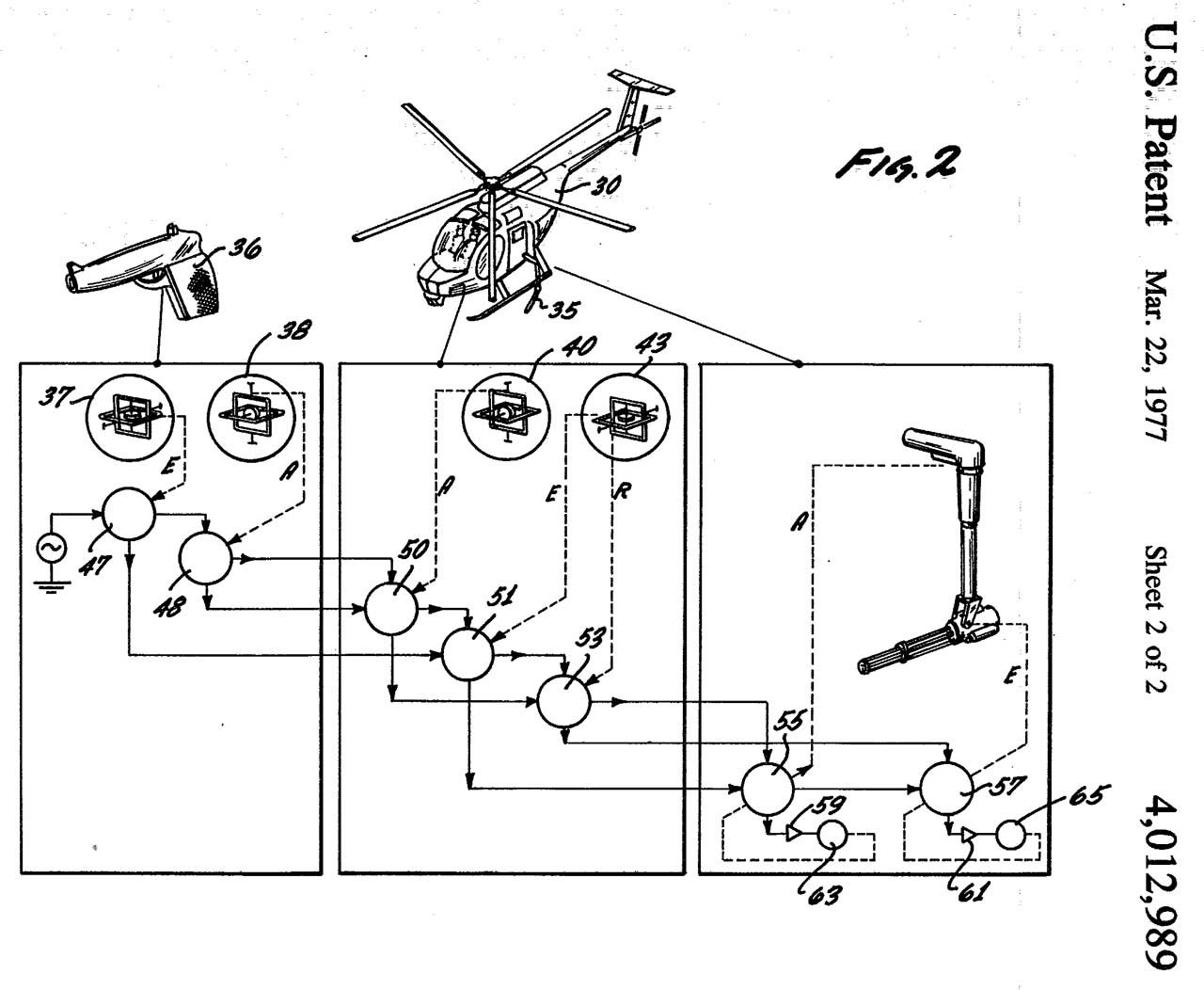
4012989
                      Inertial free-sight system, Robert G. Hunt,
                      Theodore B. Edwards, Hughes Helicopters, App:
                      1975-04-21, Pub: 1977-03-22
4012989 Inertial free-sight system, Robert G. Hunt, Theodore B. Edwards, Hughes Helicopters, App: 1975-04-21, Pub: 1977-03-22, -
4301709
                      Mechanical anti-hangfire system, Luis A.
                      Bohorquez, Michael M. Cleary, Charles C. Ash, Don
                      E. Van Osten, Robert B. Pounds, John H. Sallach,
                      Hughes Helicopters, App: 1979-06-08, Pub:
                      1981-11-24 - chain gun

4301709 Mechanical anti-hangfire system, Luis A. Bohorquez, Michael M. Cleary, Charles C. Ash, Don E. Van Osten, Robert B. Pounds, John H. Sallach, Hughes Helicopters, App: 1979-06-08, Pub: 1981-11-24, - The primary reason for the development of the "chain gun" was to eliminate the problem of hang fires (Wiki) by providing a delay between the hammer strike and unlocking the breach.  Prior art guns that use an external power source may have a problem when a cartridge that has hang fired is ejected and then explodes, a very unsafe condition, especially for large caliber rounds. Duds (Wiki) are not a problem for externally powered guns.  Cook off (Wiki) can be mitigated by leaving the bolt open when the gun is stopped.

4418607 Single barrel externally powdered gun, Leonard W. Price, Hughes Helicopters,1983-12-06, - "The feed mechanism which continuously advances rounds is integrated to the intermittent motion of the bolt by a Geneva wheel mechanism (Wiki), as the bolt assembly reaches the proper position in its rearward movement. Bolt locking, firing and unlocking are all controlled, and carried on while the chain drive assembly is continuously moving. In another form, a parallel index drive assembly may be used in place of a Geneva wheel mechanism with resultant simplification of the overall gun structure."

4481858 Single barrel externally powered gun, Leonard W. Price, Hughes Helicopters,1984-11-13, - "Thus, a simple relatively inexpensive and reliable gun system of the externally powered type, which is simple in operation, offers advantages, especially for airborne use. By this invention, a gun system is provided which is lighter in weight, has reduced profile for lowered aerodynamic drag, is comparatively inexpensive and is as reliable as the prior art systems. Moreover, the gun system of this invention offers the additional advantages of shorter time to reach full rate of fire, long firing burst capability, prevention of double round feeding and safety against "cook off", i.e. firing due to presence of a round in a heated firing chamber. These advantages are achieved by a gun having substantially less parts than the prior art systems e.g. those gun systems known as the GE XM-188 and XM-140. Moreover, the sequence and timing of the gun function is controlled in a novel man ner by an improved control mechanism."

4563936 Weapon with next round select feed system, Michael M. Cleary, Luis A. Bohorquez, Hughes Helicopters, 1986-01-14, - improvement on chain gun

4658701 Side stripping mechanism for linked ammunition, Bill Moore, 1987-04-21, - also by not twisting the links less likely to jam.

4665793 Weapon with next round select feed system, Michael M. Cleary, Luis A. Bohorquez, Hughes Helicopters, 1987-05-19, - improvement on chain gun so that after changing the type of round (HEI or APDS) the change happens no the next shot, unlike 1563936 where one more shot of the old type happens, which is not a good thing.

Historical Patents

12648 Repeating Firearm, Rollin White, 1855-04-03, - This is the  "Bored-through" cylinder patent that was the heart of the Smith & Wesson Model 1 seven shot 22 short revolver (Wiki).  First revolver to use cartridges instead of loose powder &Etc.

United Defense

UD M42 & UD M43 submachine Guns (American Rifleman)
United Defense Supply Corp Arthur J. Pope & Col. Arnold Strode-Jackson.
2342824 Self-loading repeating firearm, Carl G Swebilius, High Standard Mfg, 1944-02-29, - UD M42
2365307 Self-loading repeating firearm, Carl G Swebilius, High Standard Mfg, 1944-12-19, - UD M42
2447091 Interchangeable gun barrel and stock, Arthur J Pope, App:1943-09-18, W.W.II, Pub: 1948-08-17, - UD M43 Submachine gun (Wiki) -

Uzi (Wiki)

4335643 Semi-automatic firearms, Uzi Gal, Action Mfg Co, 1982-06-22, - Sturm Ruger, Wiki: MP-9 closed breach version of original open breach submachine gun.;
4513523 Grip and stock assembly for facilitating use of a compact gun, Uzi Gal, Uzia R&D (Sturm Ruger, Wiki: MP-9), 1985-04-30, - folding stock

Microstamping (Wiki)

The idea is to have special marks on the tip of the firing pin and somewhere on the brass case that mark the ejected shell with what amounts to a serial number.  But the technology has not been perfected and so as of 2025 is not practical.  So far Laser Marking (Wiki) has been suggested as part of the system.

6833911 Method and apparatus for reading firearm microstamping, Todd E. Lizotte, Identification Dynamics, 2004-12-21, - cites 43 patents, called by 59 patents.
ES2438751 Device and procedure for marking an object by means of a laser beam, Kevin L. Armbruster, Brad D. Gilmartin, Peter L. Kueckendahl, Bernhard J. Richard, Daniel J. Ryan, Alltec, 2014-01-20, - cites 273 patents, called by 15.

Strengthening Forensic Science in the United States: A Part Forward; 2009, 350 pages (228091.pdf) - Research report by the National Research Council (EO2859).  It was submitted to the DOJ, but since it was Not Invented Here (Wiki: NIH), they did not act on it.
Tool Marks (pg 150)  include from firing pin, lands and grooves.
Bullet caliber, number and size of Lands & Grooves plus rifling twist can lead to identifying the make and model of the gun that fired a given bullet.
But matching a crime scene bullet to a suspect's bullet using markings or lead analysis is not scientific.

Ruger (Wiki) Mk IV (Target: 40183, 22/45: 40187)


2655839 Blowback autoloading pistol, William B. Ruger, Sturm Ruger and Co, App: 1946-11-05, Pub: 1953-10-20, -

At the time I added the Microstamping paragraph above, Ruger no longer made a .22 pistol that was California legal, but starting in 2023 (Wiki) they make some.  This is because the California law removed the microstamping requirement.


2655839 Blowback autoloading pistol, William B Ruger, Sturm Ruger and Co, App: 1946-11-05, Pub: 1953-10-20, - cleaver use of sheet metal and cylindrical shapes to lower cost. Uses some ideas from the M3 Grease Gun,
D164735 Pistol, William B. Ruger, App: 1950-04-29, Pub: 1951-10-02, - The classic Standard Ruger 22 pistol design
Ruger Mark Series: The Evolution of a .22 Caliber Icon, 14:53 -
2933983 Semi-automatic pistol, William B Ruger, Sturm Ruger and Co, 1960-04-26, -

Mk III
7096618 Pistol with magazine disconnect, James McGarry, Sturm Ruger and Co, 2006-08-29, - Mk III (Wiki)
D516662S1 Pistol, James McGarry, Sturm Ruger and Co, 2006-03-07, -
7383655 Pistol with loaded chamber indicator, James McGarry, Sturm Ruger and Co, 2008-06-10, - Mk III (Wiki)
D511364 Pistol, James McGarry, Sturm Ruger and Co, 2005-11-08, - Mk III
7234261 Pistol with lockable manual safety mechanism, James McGarry, Sturm Ruger and Co, 2007-06-26, -

Mk IV
The Mk IV is now very easy to take apart for cleaning, unlike all the earlier models.

7096618  Pistol with magazine disconnect, James McGarry, Sturm Ruger and Co, 2006-08-29, - can not fire when magazine has been removed - Done to comply with CA law that no longer is in force, along with loaded chamber indicator and microstamping.
8701326  Pistol barrel system and method, Amir Zonshine, Sturm Ruger and Co, 2014-04-22, - interchangeable barrel, maybe related to the new take down system?
9291411  Firearm with pivoting barrel-receiver assembly, Amir Zonshine, Sturm Ruger and Co, 2016-03-22, - the new take down system
D777283  Pistol, David Anderson, Amir Zonshine, Sturm Ruger and Co, 2017-01-24, - has the new take down button
D777284  Pistol, David Anderson, Amir Zonshine, Sturm Ruger and Co, 2017-01-24, - has the new take down button
9791223  Firearm with pivoting barrel-receiver assembly, David Anderson, Joseph J. Cramer, Dwight Potter, Sturm Ruger and Co, 2017-10-17, - the new take down system
10520271 Integrally suppressed handgun, Jonathan Barrett, Sturm Ruger and Co, 2019-12-31, -

Carbonic Acid Pistol

YouTube: The Expert Was Shocked When He Saw This Rare And Old Pistol -
452882 Gas
                      Repeating Gun, Paul Giffard, 1891-05-06, -
                      Carbonic Acid Pistol
452882 Gas Repeating Gun, Paul Giffard, 1891-05-06, - magazine holds enough gas for many shots
CA33702A Paul Giffard, ,

475728 Apparatus for Charging Magazines with Liquefied Gas, Paul Giffard, International Gun and Ordnance Co, 1892-05-24 -
CA39489A,

134048 Cartridges for Atmospheric Fire-Arms, Paul Giffard, 1872-12-17, -
- compressed air cartridge

136315 Air Repeating-Guns, Paul Giffard, 1873-02-25, - - magazine permanent part of the arm



Related

40mm Grenades & Related
AN/M8 Pyrotechnic Flare Pistol & Gyrojet Pen Flare Launcher
Hammerlli M150 Free Pistol
FN FAL ".308 Match" Rifle, AR15/M16/M4 parts table with optical sights, Ballistics info.
Daisy BB Rifle
Geek Stuff - Knife Sharpening
One Man Life Raft - AF Survival Knife
Pocket Tools - Leatherman Classic & free T4- Swiss Army Knife - German Army Knife (Traifinder) - Gransfors Burks Hand Hatchet - Woodman's Pal -
Pop Guns
PRG-7v Rocket Propelled Grenade Launcher & Accessories
SDU-5/E Distress Strobe Light
Survival Kit with M-186 Pocket Pen Gun flare launcher
Survival Guns
Survival Radios
Ruger SP101 .357 Magnum Revolver
Sonobuoys
including Vietnam outdoor intrusion detectors, CRT-1 the first U.S. sonobuoy
Torpedoes including: Naval mines, Depth Charges, Hedgehogs

References

Ref 1. Zips, Pipes, and Pens: Arsenal of Improvised Weapons, J. David Truby, 1993 -
page 3: 35600 Plow, French & Fancher, 1862-06-17 - combined plow and cannon.
page 4: 2169083 Automatic firearm, William L Swartz, Colts Mfg, 1939-08-08, - semi or full auto M1911
Ref 2. 10 Most Overrated Guns, 35:58 - @3:58: #9 Thompson (semi auto, closed bolt); @7:23 #8 Pump action shotguns; @12:23 #7 Big Bore revolvers; @15:33 #6 FN PS90; @18:32 #5 Desert Eagle; @20:37 #4 FN Scar Series; @24:48 #3 Glock Pistols; @27:45 #2 HK MP7; @31:28 #1 SIG P320.
Ref 4. Peak American: the Winchester 1897 Trench Gun in WW1, 15:00 -
Ref 5. History of 3D Printed Guns (Re-upload), 19:52 - 2023 Sep 13.
0:21 History
3:08 The Liberator
4:16 Jar
5:29 Deterrence Dispensed (now called: The Gatalog)
6:44 ECM rifling
8:17 The Ender 3 3D Printer
8:56 PLA vs ABS
9:55 PLA Plus (PLA Pro)
12:12 FGC9 (from Shuty AP-9); Three Categories: only receiver printed, Primarily Printed (uses hardware store parts), Hybrid combined 3D & gun parts, i.e. the FGC9.
14:45 HK
16:14 Suckboy Tony
17:16 Flywheel rifle
Ref 6. C96 Broomhandle Mauser - Awesome, Terrible and Slightly Unsafe, 25:51 - Slide might leave piston and hit you in the face!
Ref 7. The Many Miracles of John Moses Browning - The Greatest Firearm Designer of All Time, 32:33 -
Ref 8. Munisalva (Wiki: Mendoza PK-62 pistol; Cabañas P-8 pistol (YouTube); Cabañas RC-30 rifle; - in Mexico treated as an air gun, What about the U.S.?

Links

Denix - Collector's Armoury - Replica Thompson M1928 w/drum mag.  made of metal and wood, not plastic.

PRC68, Alphanumeric Index of Web pages, Contact, Products for Sale
Page Created 15 Oct 2016