AN-M8 Pyrotechnic Flare Pistol

& Gyrojet & Sedgley Mk IV & Mk 5

© Brooke Clarke 2015 - 2023
 
AN-M8 Pyrotechnic Flare Pistol
GyroJet Flare
                  Launcher
Sedgley Mk IV
                  Flare Pistol
Sedgley Mark 5 Navy Signal Pistol
Sedgley Mk IV
                  & Mk 5 Signal Pistols



Background
Description
    DOA
Ammunition
Aircraft Mount
Photos
Patents
    AN-M8 Flare Pistol
    Very Signal Cartridge
    Hand Held flare

 
GyroJet Flare Launcher
Sedgley Mk IV
    Ammunition
    Photos
    Problem
Sedgley Mark 5 Signal Pistol
    Photos
Navy 25mm Sedgley M1929
Sedgley Patents
Carlstrom / Juhasz Concealed Sleeve Gun
Yugo M57
Schermuly Pistol Rocket Apparatus
Olin 25mm Flare Launcher
Webley & Scott No.3 Mk. I
Ram-shell
Related
References
Links

Background 

This is a flare pistol, mainly used during and after W.W.II in aircraft.  Flare pistols were called Very pistols in late 1800s.  They were named after Edward Wilson Very (Wiki) there are two spellings Wiki shows Verey, the Signal-Cartridge patent (below) shows Very. His cartridge looks similar to a shotgun shell except there's a couple of pyrotechnic balls that ignite as soon as the cartridge is fired and so, like a tracer round, there's light from the muzzle until burnout after reaching maximum altitude.  He patented the signal cartridge (not a pistol) which came to be called the Very Light.

Signal Cartridges were intended to be used like Signal Flags (Wiki) or Morse Code (Wiki) and Aldis lights 1867 (Wiki), that's to send a message. Note the Very patent is dated 1877 so came after the Aldis light.  Not sure of the relative adoption rates but expect it would be a lot easier (lower cost) to bring a flare pistol on board any ship than it would be to mount an Aldis signal lamp.

Flares are also fried from aircraft as decoys for infrared guided missiles.

Description

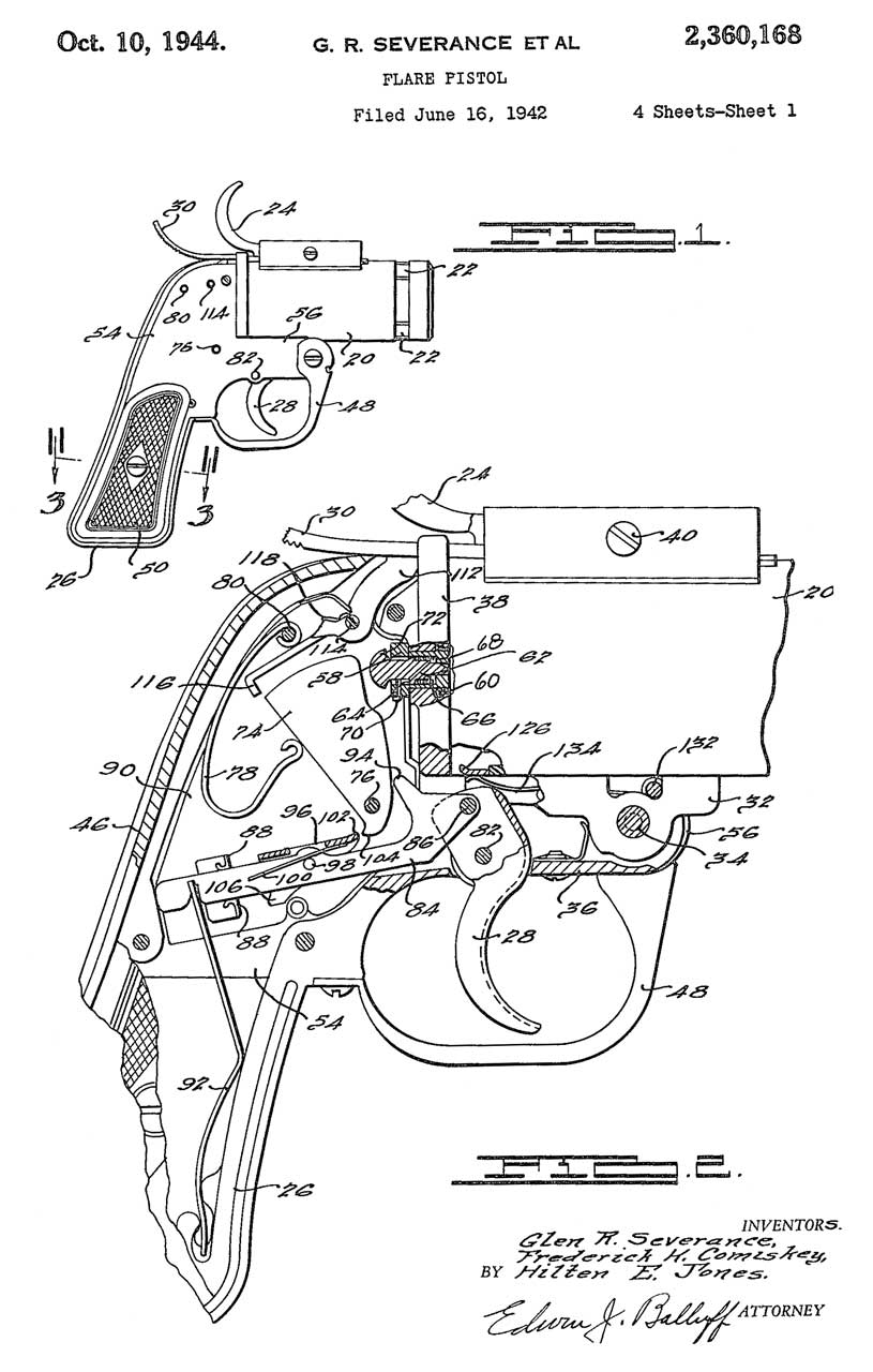
Although intended to be mounted in the M1 aircraft mount, this flare pistol can be used as a conventional flare pistol.  The barrel hinges down to allow loading/removing a flanged partridge (Fig M74A1).  But a grooved (flangless) type cartridge (Fig M9A1) must be breach loaded from the muzzle end of the barrel. 
Designed during W.W.II to be manufactured by the Eureka Vacuum Cleaner Co. (Wiki) and so uses metal stamping instead of machined parts.  The frame is cast aluminum.

The two levers on the top of the barrel give it a very unique look.  The top hook shaped lever when pulled back allows the pistol to be installed or removed from the M1 mount in an aircraft.

DOA

As received the firing pin is not coming out of the breech.  If a dead 9V battery is trapped between the back of the barrel and the breech block, and while the safety is held down the trigger pulled, you can hear the snap but there's no mark on the battery.  Putting a 1/16" brazing rod into  the firing pin hole with the pistol pointed up (barrel closed) and pulling the trigger vigorously shoots the rod so the firing pin is moving, it's just too short to work.

Here's some information on the firing pin
NSN 1095-00-529-9549

Casehardening Indicator: Not casehardened
Firing Pin Type: Shoulder
For Use With/On: 1095-726-5820 AN-M8
Metallic Hardness Rating: 40.0 minimum Rockwell C and 45.0 maximum Rockwell C
Overall Length: 0.687 inches minimum and 0.697 inches maximum
FSC Application Data: Pistol,pyrotechnic
Material: Steel, Fed QQ-S-631,comp 1095
Weapon Model Number: AN-M8
Weapon Size Designation: 40 millimeter
Striking End Diameter: 0.124 inches minimum and 0.126 inches maximum
Striking End Radius: 0.031 inches nominal
Striking End Type: Spherical
Surface Treatment: Phosphate

Ammunition

The AN-M8 uses 37mm flares or 26.5mm flares by using an adapter.
Doesn't seem to use M79 type 40mm rounds.  Need to check to see of M79/M203 type rounds can be fired from an AN-M8 .
A unique feature of the AN-M8 is that it can use both American annular groove ammunition, like the M9A1 (Fig M9A1) and British flanged ammunition like the M74A1 (Fig M74A1).  This is very similar to the difference between a .45 Colt flanged round and a .45 ACP round.
Wiki: 40 mm grenade - United States 40 mm grenades -
40 mm Low-Velocity Grenades
Fig 30 Ammo
AN-M8
                      Pyrotechnic Flare Pistol
Left to right

Custom made round for Canadian Flare Pistol
Flange dia 43.9 mm
Flange thickness: 3.8 mm
Body dia. just above flange: 39.7 mm
Body dia. at open end: 39.5 mm

Mk19 type 40mm Practice Round  & solid aluminum projectile
Flange dia 43.6 mm
Flange thickness: 1.88 mm
Body dia. just above flange: 41.3 mm
Body dia. at open end:  41.1 mm

37mm? Flare case that takes 209 Shotgun primer.
Flange dia 42.7 mm
Flange thickness: 3.4 mm
Body dia. just above flange: 39.0 mm
Body dia. at open end: 38.0 mm

The M169 40mm case used for the M385 practice round that's used in the M79/M203 gernade launcher will not fit the AN-M8.
The AN-M8 bore is within less than a half mm of 40mm I.D.
The M169 case has an OD of more than 41mm.

See: OP 1664 (Vol 1) 1947Part 3 Ch 8 Aircraft Pyrotechnics, S1 - Pistol and Hand-size signals -
Parachute Star M11: 7.69" long, 1.58" (40.1mm) dia
Double-Star AN-M28 to AN-M33: 3.92" long, 1.58" dia combinations of Red, Yellow and Green
Single-Star AN-M34 to AN-M36: Red, Yellow or Green
AN-M37 to AN-M42: 3.85" long, 1.54" dia
x
x

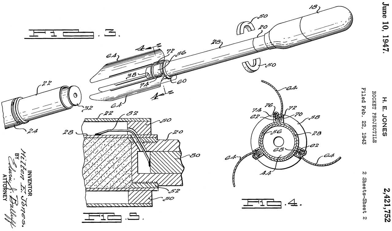
2421752 Rocket projectile, Hilten E Jones, Eureka Williams Corp, App: 1943-02-22, W.W.II, Pub: 1947-06-10, -
Looks like made for the AN/M8


Aircraft Mount

In Fig 5 below it an be seen that the M8 flare pistol is too big to fit into the aircraft mount for the Periscopic Aircraft Sextant.

The M-1 aircraft mount is made specifically for the M8 flare pistol, see Fig

Photos


Fig 1 Right side
s/n is on back of frame.
AN-M8
                      Pyrotechnic Flare Pistol
Fig 2 Left side
AN-M8
                      Pyrotechnic Flare Pistol
Fig 3 The firing pin retainer can be seen.  It has a central hole for the firing pin, and a couple of spanner wrench holes to the left and right of the center.  The top hole contains a 6-32 x 1/8" long set screw.  Also see Fig 7 below.
AN-M8
                      Pyrotechnic Flare Pistol
Fig 4 marking inside a triangle:
M
S.W.C.
U.S. Property
Pistol Pyrotechnic M8
--------------------
Smith Wesson Co.????
AN-M8
                      Pyrotechnic Flare Pistol
Fig M74A1 British style Flanged Round
Must be breach loaded.
AN-M8
                      Pyrotechnic Flare Pistol M74A1 ammo
Fig M9A1 American style Grooved Round
Note must be muzzle loaded because flare body is larger in diameter than bore of pistol.
A flanged round can not be muzzle loaded.
AN-M8 Pyrotechnic
                      Flare Pistol M9A1 round
Fig 5 The Periscopic Aircraft Sextant has a mount with a hole that's about the same size as this flare pistol.
But it does not fit. It sure would be convenient if it did.

These pistols require a special aircraft mount, typically on the side, not the top like the sextant mount.
AN-M8
                      Pyrotechnic Flare Pistol
Fig 6 Grips removed
AN-M8
                      Pyrotechnic Flare Pistol
Fig 7 Firing Pin Group Removed
AN-M8
                      Pyrotechnic Flare Pistol
The set screw is 6-32 x 1/8" long.
Need to know the firing pin diameter at primer end
and it's protrusion past breech block when fully forward.
Let me know where to buy one.
Fig 8 Remove Trigger guard & trigger hinge screw
AN-M8
                      Pyrotechnic Flare Pistol
Fig 9 Remove barrel group
AN-M8
                      Pyrotechnic Flare Pistol
Fig 10 Remove right side plate after removing grips
AN-M8
                      Pyrotechnic Flare Pistol
Fig 11 Frame with plate in place
AN-M8
                      Pyrotechnic Flare Pistol
Fig 12 Frame with plate off
AN-M8
                      Pyrotechnic Flare Pistol
Fig 13 close up of mechanism & with firing pin in place
AN-M8
                      Pyrotechnic Flare Pistol
Fig 20 Partially disassembled
AN-M8
                      Pyrotechnic Flare Pistol
Fig 21 M-1 Aircraft Mount Outside face.
M-1
                      Aircraft Mount for M8 Flare Pistol
Fig 22 M-1 Aircraft mount Inside Face.
M-1
                      Aircraft Mount for M8 Flare Pistol

Patents



674400 Signal-holder, William F Coston, 1901-05-21, 42/51; 102/343 - to hold flare cartridge and ignite it w/o barrel?
1436534 Signal
                      gun, Herbert O Russell, Paulus Charles Leigh,
                      1922-11-21
1436534 Signal gun, Herbert O Russell, Paulus Charles Leigh, 1922-11-21, - tube with knob at breach end - Signal Flare Launcher sold with cylinder of colored flares
1712382
                              Firearm, Jr Louis L Driggs, Henry B Faber,
                              1929-05-07, - US M2 Flare gun
1712382
                              Firearm, Jr Louis L Driggs, Henry B Faber,
                              1929-05-07, - US M2 Flare gun

1712382 Firearm, Jr Louis L Driggs, Henry B Faber, 1929-05-07, -

By using a rimless cartridge there's no need to open the breach.
The cartridge has a groove, like the .45 ACP that's used to keep it from falling out.
1747057
                              Firearm, Jr Louis L Driggs, Henry B
                              Faber,1930-02-11, - US M2?
1747057
                              Firearm, Jr Louis L Driggs, Henry B
                              Faber,1930-02-11, - US M2?

1747057 Firearm, Jr Louis L Driggs, Henry B Faber, 1930-02-11, -

By using a rimless cartridge there's no need to open the breach.
The cartridge has a groove, like the .45 ACP that's used to keep it from falling out.

1754986 Fixed ammunition, Jr Louis L Driggs, Henry B Faber, 1930-04-15, -
rimless parachute signal flare

1754987 Photographic-flash-light cartridge, Jr Louis L Driggs, Henry B Faber, 1930-04-15, -
rimless cartridge that when trigger pulled makes a bright flash of light.

1782291 Projectile for signaling or illuminating purposes, Jr Louis L Driggs, Henry B Faber, 1930-11-18, - parachute signal flare for use with a cannon

1823390 Ammunition for signal pistols, Jr Louis L Driggs, Henry B Faber,1931-09-15, - flanged cartridge to work with 1947834 & adapter to fire cartridge by hand w/o flare gun.

1937219 Flare supporting and firing device, Jr Louis L Driggs, International Flare Signal Co, 1933-11-28, -
not pistol, but rather electrical ignition, probably for use on aircraft.
1951864 Parachute,
2175477 Parachute device, illumination flare
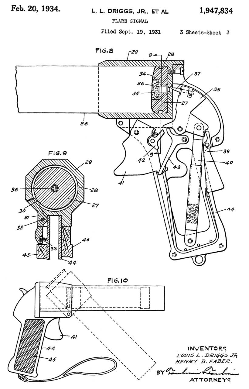
1947834
                              Flare signal, Jr Louis L Driggs, Henry B
                              Faber, 1934-02-20
1947834
                              Flare signal, Jr Louis L Driggs, Henry B
                              Faber, 1934-02-20

1947834 Flare signal, Jr Louis L Driggs, Henry B Faber, 1934-02-20, - pistol & Cartridge

This has a breach that opens so can use rimmed cartridges.
1970501
                              Firearm, Jr Louis L Driggs, 1934-08-14, -
                              US M2 Flare Gun
1970501
                              Firearm, Jr Louis L Driggs, 1934-08-14, -
                              US M2 Flare Gun

1970501 Firearm, Jr Louis L Driggs, 1934-08-14, - US M2 Flare Gun

By using a rimless cartridge there's no need to open the breach.
The cartridge has a groove, like the .45 ACP that's used to keep it from falling out

2097023 Firearm, Jr Louis L Driggs, Henry B Faber, 1937-10-26, -
for flanged flare cartridges
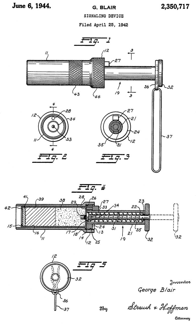
2350717
                      Signaling device, Blair George, App: 1942-04-25,
                      W.W.II, Pub: 1944-06-06
2350717 Signaling device, Blair George, App: 1942-04-25, W.W.II, Pub: 1944-06-06, -
2351268
                              Signal pistol, Jackson Donald Richard
                              Patrick, Molins Machine Co Ltd, App:
                              1942-02-10, W.W. II, Pub: 1944-06-13
2351268
                              Signal pistol, Jackson Donald Richard
                              Patrick, Molins Machine Co Ltd, App:
                              1942-02-10, W.W. II, Pub: 1944-06-13

2351268 Signal pistol, Jackson Donald Richard Patrick, Molins Machine Co Ltd, App: 1942-02-10, W.W. II, Pub: 1944-06-13, -
In order to mount the pistol on the fuselage. of an aircraft, the barrel of the pistol is provided at a convenient distance from the muzzle of the barrel, with four radial projections (32) which are equispaced around.the barrel."

The aircraft flare gun holder is made in two parts and makes use of springs to take up the recoil. 

This appears to be the same lug mounting system as the AN-M8.
2356709 Flare
                      gun, John R Smith, Harrington & Richardson
                      Arms, 1944-08-22
2356709 Flare gun, John R Smith, Harrington & Richardson Arms, 1944-08-22, 42/44 -
2436751
                      Discharger, Kemper M Hammell, Frederick K
                      Comiskey, Eureka Williams Corp, App: 1945-02-19,
                      W.W.II, Pub: 1948-02-24
2436751 Discharger, Kemper M Hammell, Frederick K Comiskey, Eureka Williams Corp, App: 1945-02-19, W.W.II, Pub: 1948-02-24, -

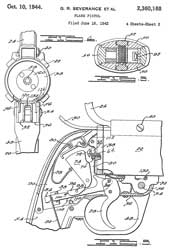
AN-M8 Flare Pistol

Can fire both flanged "American" shells as well as grooved "British" shells

same figures as 2360168
2347645 Flare pistol, John M Sherrer, Glen R Severance, Ephraim S Huntington, Eureka Vacuum Cleaner Co, May  2, 1944, 42/69.1, 42/44

2354025 Firearm, Johnson Edwin H, Kilgore Mfg Company, Jul 18, 1944, 42/1.15, 42/46, 102/342 -
"
...receive a signal or illuminating flare through the muzzle or the breech..." "...can be operated with one hand."
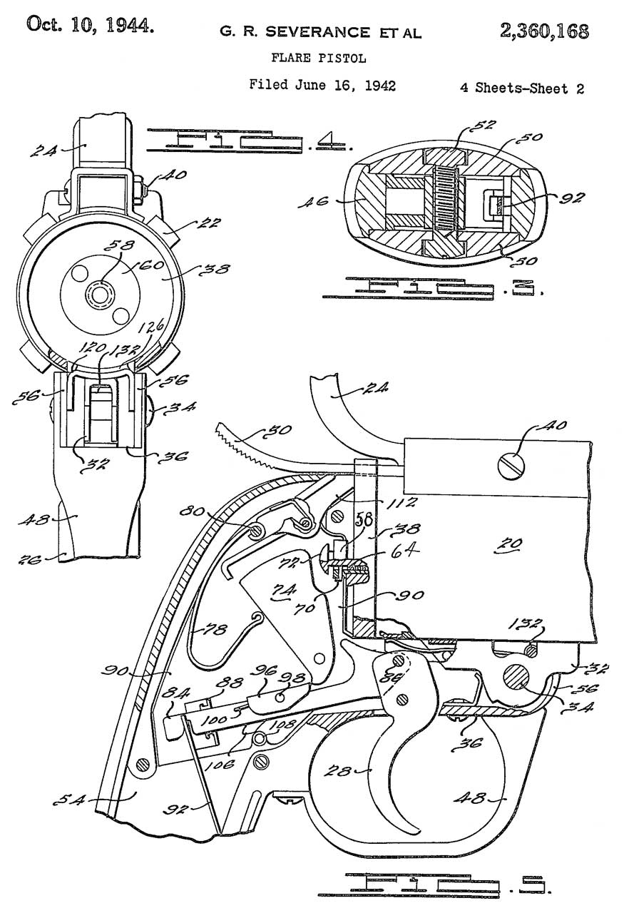
2360168
                              Flare pistol, Glen R Severance, Frederick
                              K Comiskey, Hilten E Jones, Eureka Vacuum
                              Cleaner Co, Oct 10, 1944, 42/46, 42/1.15 -
                              AN/M8 Flare Pistol
2360168
                              Flare pistol, Glen R Severance, Frederick
                              K Comiskey, Hilten E Jones, Eureka Vacuum
                              Cleaner Co, Oct 10, 1944, 42/46, 42/1.15 -
                              AN/M8 Flare Pistol
2360168
                              Flare pistol, Glen R Severance, Frederick
                              K Comiskey, Hilten E Jones, Eureka Vacuum
                              Cleaner Co, Oct 10, 1944, 42/46, 42/1.15 -
                              AN/M8 Flare Pistol 2360168
                              Flare pistol, Glen R Severance, Frederick
                              K Comiskey, Hilten E Jones, Eureka Vacuum
                              Cleaner Co, Oct 10, 1944, 42/46, 42/1.15 -
                              AN/M8 Flare Pistol

2360168 Flare pistol, Glen R Severance, Frederick K Comiskey, Hilten E Jones, Eureka Vacuum Cleaner Co, Oct 10, 1944, 42/46, 42/1.15 - AN/M8 Flare Pistol
2363203 Flare
                      pistol, John M Sherrer, Glen R Severance, Ephraim
                      S Huntington, Eureka Vacuum Cleaner Co, Nov 21,
                      1944
2363203 Flare pistol, John M Sherrer, Glen R Severance, Ephraim S Huntington, Eureka Vacuum Cleaner Co, Nov 21, 1944, 42/69.1
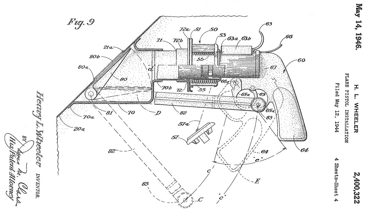
2400322
                              Flare pistol installation, Wheeler Henry
                              L, Cons Vultee Aircraft Corp, May 14,
                              1946
2400322
                              Flare pistol installation, Wheeler Henry
                              L, Cons Vultee Aircraft Corp, May 14,
                              1946
2400322
                              Flare pistol installation, Wheeler Henry
                              L, Cons Vultee Aircraft Corp, May 14,
                              1946 2400322
                              Flare pistol installation, Wheeler Henry
                              L, Cons Vultee Aircraft Corp, May 14,
                              1946

2400322 Flare pistol installation, Wheeler Henry L, Cons Vultee Aircraft Corp, May 14, 1946, 89/37.19, 89/37.4, 89/134, 89/36.14, 89/37.16, 89/31, 89/936 - mounting into side of aircraft

2449540 Aircraft flare, Albin Joseph, priority: 1942-06-09, Patent Citations (25), - for illumination

Very Signal Cartridge

190263 Signal-Cartridge, E. W. Very, May 1, 1877, 102/346 - oldest patent in this class, 300 feet up 8 seconds burn time (starts burning in barrel) -
        oldest in class 102/346 AMMUNITION AND EXPLOSIVES\PYROTECHNICS\Gun-type cartridge
        RE8167 Signal Cartridge, E.W. Very,  April 9, 1878, 102/346; 102/342  (reissue of 190263)
GB189702081 (eSpaceNet) Gun Carriages, Edward Wilson Very, 1897-03-13, - wooden and metal wheels.
1299136 Projection of explosive shells, bombs, or grenades, S.C. Davidson, Apr 1, 1919, 89/1.3, 89/1.1, 42/105 - tripod mounted flare pistol
1306407 Flare Light Shell, S.C. Davidson, June 10 1919, 102/342, 102/346 - cartridge for breach loading smooth bore launcher/gun
2344957 Pistol rocket, Anzalone Ralph, Aerial Products Inc, Filed: Jan 12, 1940, Pub:  Mar 28, 1944, - 2 parts, one breach loaded the other muzzle loaded. Referenced by 35 other patents Aerial Products
2309107 Parachute device, Guy E Giroux, Aerial Products, 1943-01-26, 244/145 - molded as thin sheet of rubber in hemispherical shape
2344957 Pistol rocket, Anzalone Ralph, Aerial Products, 1944-03-28, 244/3.26; 89/1.816; 244/3.3; 446/52; 42/105; 102/348 - fins outside flare pistol barrel
2397114 Rocket construction, Anzalone Ralph, Aerial Products, 1946-03-26, 102/340; 102/351; 102/346 - fins fold inside flare pistol barrel
2417592 Smoke generator, Dwyer Martin, Aerial Products, 1947-03-18, 102/334; 206/573; 220/521; 206/803 - metal can with pop-top lift and pull tab
2442528 Rocket device, John O Beattle, Aerial Products, 1948-06-01, 102/340; 102/357 - flare with parachute
2459267 Self-contained emergency signaling device adapted to be operated automatically after being launched, Dwyer Martin, Harbor Hewlett, Philip B Edwards, Aerial Products,1949-01-18, 340/815.4; 116/26; 340/981; 441/6; 102/341; 340/850; 429/119; 441/11 - dropped from aircraft, timer
2505950 Launching or discharging equipment for signaling, Dwyer Martin, Tsang Chi Mou, Aerial Products,1950-05-02, 244/136; 193/5; 222/165; 244/137.1; 116/209; 193/17; 222/166 - for distress signaling, not countermeasure flares.

Hand Held flare

2448521 Emergency signaling device, Dwyer Martin, App: 1943-05-17, Pub: 1948-09-07, 102/343; 220/761; 220/768; 292/246 -
2455242 Emergency day and night signaling device, Dwyer Martin, App: 1945-07-21, Pub: 1948-11-30, 102/343 -
Signal Distress Day and Night) Mark 13 Mod 0, NOrd-12513, Made by the Troy Sunshade Co. MIL-A-6338A, One end for smoke, one end for flare

GyroJet Flare Launcher (Wiki)

Stumbled on this at Numrich Product# 1371200.  Has Israeli markings (see Fig 2) and marked 1000-03155.
This pen gun style flare launcher made in Israel and patterned after the USAF A/P25S-5A.
The body is made as one part since no threaded joint is needed for muzzle loading.  I'm guessing tear down is by unscrewing the cocking handle.
I expect it takes a 1/2" OD flare/rocket.

This exact same flare launcher showed up on eBay with MB Associates p/n: 6000-0-4040-3;

Also see the Korean Police Action era Survival Kit M-186 Pocket Flare Gun.

I owned a small amount of MB Associates stock many decades ago, thought it was a neat idea.  Sold it near break even.
Today I see it's a poor idea. The rocket starts out at zero velocity and slowly speeds up.  If you hit a target that's close to the launcher there will be a small amount of energy and so not effective.  Another problem with the slow launch speed it there's no way to stabilize the rocket.  A small defect will cause poor accuracy (rocket stability).  See below YouTube.

Fig 1
GyroJet
                      Flare Launcher
Fig 2 Israeli markings
What do they say? (tell me)
{?} 1000-03155
GyroJet
                      Flare Launcher
Fig 3 Muzzle loading
GyroJet
                      Flare Launcher
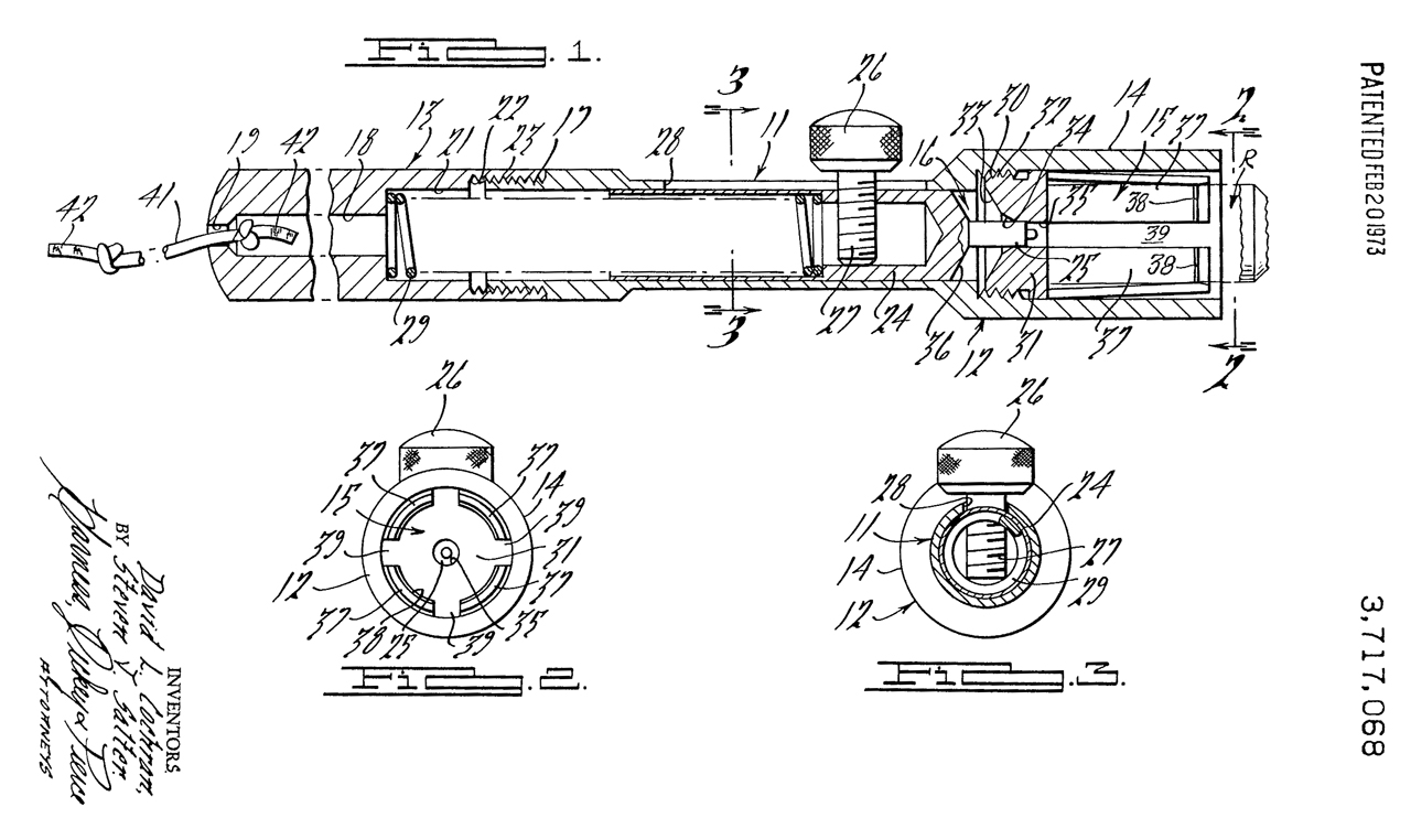
Patent 3717068 Rocket launcher
3717068 Rocket
                      launcher, D Cochran, S Salter, MB
                      Associates,1973-02-20, - Flare Launcher
Patent 3855930 Personnel distress signal
3855930
                      Personnel distress signal, S Mulich, D Duffy, S
                      Salter, MB Associates,1974-12-24


Patents

First search on inventor: Robert Mainhardt, - there are a number of patents by Mainhardt that are not shown.  I have the feeling some of these where done for the CIA????
YouTube: DemolitionRanch:
  • Very poor accuracy - This is because there's no stabilization, i.e. the spin is imparted by the canting the exhaust nozzles.  A tiny error will cause an error in line of flight.  See Rocket Stability.  Note the rocket is burning after it leaves the launch tube so will have poor accuracy.  If the rocket burned all it's fuel inside the launch tube, like the Bazooka, it would be much more accurate.
  • Fire effects shooter
  •  Rounds not reliable (maybe due to age, but I suspect conventional ammo of the same age would be much more reliable).

3186304 Hypervelocity gun, Arthur T Biehl, MBAssociates, 1965-06-01, -

3199406 In-line launching, Bert B Gould, MBAssociates, 1965-08-10, - single tube, multiple rockets

3200747 Method of duplicating ballistic density, Glenn P Sorenson, Richard G Mckee, MBAssociates, 1965-08-17, - "This invention relates in general to the field of ballistic missiles and, more particularly, to a method of creating the appearance on radar detection devices of a high density ballistic missile warhead using in actuality a low density vehicle." i.e. for dummy MIRVs (Wiki)
3212402 Hand
                      weapon, Mathew C Hengel, Arthur T Biehl, Mainhardt
                      Robert, MB Associates, 1965-10-19
3212402 Hand weapon, Mathew C Hengel, Arthur T Biehl, Mainhardt Robert, MB Associates, App: 1962-11-29, Pub: 1965-10-19, 89/1.801; 42/7; 42/69.01; 89/1.813; 102/380 -
Rocket projectile but not Gyrojet at this time.  The application date was: 1962-11-29 . . . but
patent 3345902 for the projectile has an application date of 1966-04-04.
Sequential patents 3367112 and 3367113 have an application date of 1965-10-18.

So . . . while this is a rocket firing pistol it is not the Gyrojet pistol.  For that see 3412641 below.

PS this design is missing vital safety features that are in 3412641 so is not a practical weapon.

3224317 Method of constructing a miniature solid propellant rocket, Bert B Gould, MBAssociates, 1965-12-21, -

3224337 Hypervelocity gun, Franklin C Ford, Arthur T Biehl, MBAssociates, 1965-12-21, - as high as 150,000 feet per second

3225227 Miniature magnetohydrodynamic generator, Arthur T Biehl, MBAssociates, 1965-12-21, - 50MW for 5us - "caterpillar drive" from movie "Hunt for Red October".

3269268 Nested rockets, Bert B Gould, MBAssociates, 1966-08-30, - "The primary object of this invention is the stacking of miniature rockets in an alternated columnar nested relation with the fin portions of the several rockets being adapted to provide support for the bodies of adjacent rockets." for storage/shipping

3308759 Radar reflector rocket, Glenn P Sorenson, MBAssociates, 1967-03-14, - cites 11, cited by 10 see RWR/Chaff

3313207 Underwater weapon, Arthur T Biehl, Mainhardt Robert, (not assigned), 1967-04-11, - Rocket fits inside a pistol cartridge, maybe a .38 special?

3318033 Grenade launching arrangement, Irwin R Barr, AAI Corp (Textron Systems), 1967-05-09, - looks like a tin can on the muzzle of a pump 12 Ga shotgun.  Used to launch a can shaped grenade, like smoke.

3318241 Dispersal of rockets, Bert B Gould, MBAssociates, 1967-05-09, - "The method of dispersal firing of clusters of miniature rockets towards a target area comprising the steps of releasing a bomblet containing a multiplicity of miniature tubular rockets containing propellant for self-propulsion and having a center of gravity and a center of pres sure with the center of gravity between the center of pressure and the forward end of the rocket and the center of pressure between the center of gravity and the aft end of the rocket, opening the bomblet while in flight above the surface of the earth, allowing the rockets to fall in free flight free of the bomblet whereby the centers of gravity and the centers of pressure react to the surround ing atmosphere substantially to align the rockets with the direction of flight and to effect dispersal of the rockets, and igniting the propellant while in the directed flight whereby the rockets become self-propelled towards the target area." - sounds like a work around for poor accuracy, like the Folding Fin Aircraft Rocket.
3319522
                      Launching device, Bert B Gould, Arthur T Biehl,
                      MBAssociates, 1967-05-16
3319522 Launching device, Bert B Gould, Arthur T Biehl, MBAssociates, 1967-05-16, -

3322067 Apparatus for igniting miniature rockets, Bert B Gould, MBAssociates, 1967-05-30, - "It has been found by experiment that desirable ignition can be accomplished by a localized source of heat that effectively travels the length of the propellant grain. Said heat source is not sufficient to cause local ignition of the grain but initiates chemical reactions and gas evolution similar to those that normally occur in the layer immediately beneath a burning propellant surface. Said heat source is sufficient, however, to cause ignition after it has traveled substantially the length of the grain and has thereby effected sufficient gas evolution to increase the chamber pressure and fill the grain port with inflammable vapors."

3323457 Underwater weapon, Arthur T Biehl, Mainhardt Robert, 1967-06-06, 102/399; 42/1.14 -

3329063 Rocket machine gun, Frederick K Ehrenburg, Mainhardt Robert, MB Associates,1967-07-04, 89/1.801; 42/76.01; 89/1.807; 42/79 -
some interesting ideas including a barrel with a bend to shoot around corners.
I don't think it even got to the prototype stage.

3343766 Nozzle insert, Arthur T Biehl, Mainhardt Robert, MBAssociates, 1967-09-26, - for underwater rocket, provides spin stabilization without using fins that have drag.  fits inside a pistol cartridge, maybe .38 special? - I'm guessing no power close in and no accuracy far out.
3344711 Javelin
                      stabilized quiet round
3344711 Javelin stabilized quiet round, Robert C Mawhinney, Bert F Gould, Arthur T Biehl, Mainhardt Robert, William D Barton, 1967-10-03 89/14.05; 42/106; 102/511; 102/532; 89/1.818; 102/512; 102/703 -  An adapter allows a .22 Long Rifle cartridge to be modified to shoot a 0.030" dia projectile that will not show up on X-ray. 

This patent is a decade prior to the Georgi Markov "umbrella pellet" poisoning (Wiki).

Needlegun (Wiki)

Forgotten Weapons:
Steyr ACR: A Polymer Flechette-Firing Bullpup From the 90s -
to improve hit probability SPIW (Wiki)  & ACR (Wiki).
AAI 2nd Gen SPIW Flechette Rifles, 17:39 - first contract in 1962
Winchester 1964 SPIW: Flechettes and a Blow-Forward Grenade Launcher, 17:49 - 1962 SPIW program

YouTube: Nuclear Vault: Advanced Combat Rifle (1991), 15:24 -
BUT . . . This patent predates the ACR program by 30 years!


The CIA's Scariest Weapon, 8:39 - @5:06 drawings of MB Associates Micromissile Launcher "Heart Attack Gun",
3345902 Method
                      of manufacturing a miniature rocket, Arthur T
                      Biehl, Mainhardt Robert, MB Associates,1967-10-10
3345902 Method of manufacturing a miniature rocket, Arthur T Biehl, Mainhardt Robert, MB Associates, App: 1966-04-04, Pub: 1967-10-10, 86/1.1 - no fins

3348452 Miniature rocket defense system, David R Sawle, MBAssociates, 1967-10-24, - "...the miniature rocket salvo defeats the guided aircraft rocket (GAR) at a minimum kill distance of fifty feet to the rear of the aircraft. Distances to a few hundred feet are conceivable."  This does seem to have enough range to be practical.

3364817 Small arms weapon, William D Barton, MBAssociates, 1968-01-23, - "... diameter within the range of 1/32 to 1 inch and a length within the range of 1/2 to 24 inches and preferably to miniscule or miniature rockets having a diameter of less than 1/4 inch and a length less than 6 inches..."; launcher shown fires a couple of dozen rockets all at once.

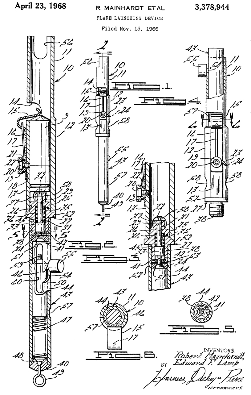
3378944 Flare
                      launching device, Mainhardt Robert, Edward F Lamp,
                      MB Associates, 1968-04-23
3378944 Flare launching device, Mainhardt Robert, Edward F Lamp, MB Associates, 1968-04-23, 42/1.15; 42/2 -
While this is functionally the same as the flare launcher above, this patent is way too complicated.

See 3717068 Rocket Launcher below for my flare launcher patent.

3394306 Transmission line scattering range utilizing directionally controlled unradiated wave guiding for measuring reflective wave properties, Michael J Gans, MBAssociates, 1968-07-23, - uses waveguide to parallel #10 Cu wires so that the 1/r4loss is avoided allowing more accurate measurements.

3397638 Rocket launcher, Bert B Gould, MBAssociates, 1968-08-20, - two stages with many second stage rockets

3412641 Pistol
                      for firing a miniature ballistic rocket, Arthur T
                      Biehl, Mainhardt Robert, MB Associates,1968-11-26
3412641 Pistol for firing a miniature ballistic rocket, Arthur T Biehl, Mainhardt Robert, MB Associates, App: 1966-06-27, Pub: 1968-11-26, 89/1.812; 42/69.01; 42/7; 42/70.01  -
"The present pistol is an improvement over that illustrated, described and claimed in Patent No. 3,212,402..."
Only the first of three drawings shown at left.

This is how I remember the Gyrojet pistol.

3419230 Nozzle, Mainhardt Robert, Robert C Mawhinney, MBAssociates, 1968-12-31, - four nozzles with one straight side and one side with a 45 degree cut, to cause rotation.
no figures
3537923 Booster ignition compositions for small arms weapon containing boron and boron compositions, Bert B Gould, Arthur T Biehl, Robert Mainhardt, William D Barton, MBAssociates, 1970-11-03, - for use in Small Arms Weapon,

3546997 Small arms weapon, Bert B Gould, Arthur T Biehl, Robert Mainhardt, William D Barton, MB Associates, 1970-12-15, 86/1.1; 102/380 -
The idea was to use a rocket about the size of a rifle bullet.  It would be more effective since it would have higher velocity.
These projectiles have fins, i.e. very expensive to make.
3367112
                      Multiple plate rocket nozzle, Mainhardt Robert, MB
                      Associates, 1968-02-06 - Gyrojet
3367112 Multiple plate rocket nozzle, Mainhardt Robert, MB Associates, App: 1965-10-18, Pub: 1968-02-06, 60/201; 60/263; 244/3.23; 60/256; 102/350 - Gyrojet

the rear assembly that includes a small primer and three angled nozzles.
3367113
                      Internally cut rocket nozzle, Mainhardt Robert, MB
                      Associates,1968-02-06 - Gyrojet 3367113 Internally cut rocket nozzle, Mainhardt Robert, MB Associates, App: 1965-10-18, Pub: 1968-02-06, 60/201; 60/263; 102/350; 244/3.23 -

A rocket with angled nozzles so that it will spin.  The Gyrojet.
3397638 Rocket
                      launcher, Bert B Gould, MB Associates,App:
                      1961-03-08, Pub: 1968-08-20
3397638 Rocket launcher, Bert B Gould, MB Associates,App: 1961-03-08, Pub: 1968-08-20, 102/377; 89/1.817; 102/703 -

This appears to be a cluster of very small rockets, about the size of small arms flechettes (Wiki), that could be packaged into a Gyrojet type rocket.
n.a.
3521344 Method of making a rocket nozzle, Bert B Gould, Arthur T Biehl, Robert Mainhardt, William D Barton, MB Associates, 1970-07-21, 29/890.01; 29/557 - In this patent and in 3344711 the idea of getting the cg near the front is a key idea, i.e. like an arrow.
n.a. 3521345 Method of making a rocket nozzle, Bert B Gould, Arthur T Biehl, Robert Mainhardt, William D Barton, MB Associates, 1970-07-21, 29/890.01; 29/558 -

3521564 Miniature rocket, Bert B Gould, Arthur T Biehl, Robert Mainhardt, William D Barton, MBAssociates, 1970-07-21, - has fins

3546997 Small arms weapon, Bert B Gould, Arthur T Biehl, Robert Mainhardt, William D Barton, MBAssociates, 1970-12-15, - "...speeds of better than 3,000 feet per second obtainable 200 to 300 feet from point of launch...."

3698320 Telescopic rocket, MB Associates, 1972-10-17, 102/374; 89/1.806; 89/1.817 - telescoping part extends length to add stability

3702090 Sheet igniter, Charles T Hoard, MB Associates (BAE Systems), 1972-11-07, - a large number of very small rockets have their fuzes terminate in a sheet of material that burns very fast, so that all the rockets are launched at the same time.

3717068 Rocket
                      launcher, D Cochran, S Salter, MB
                      Associates,1973-02-20, - Flare Launcher
3717068 Rocket launcher, D Cochran, S Salter, MB Associates, 1973-02-20, 89/1.806; 89/1.807; 42/1.15; 89/1.816 - Flare Launcher i.e. MB Associates p/n 6000-0-4040-3.

For flare see 3855930 Personnel distress signal below.

3728809 Projectile launcher baton, S Mulich, J Sweeney, MB Associates (BAE Systems), 1973-04-24, - a replacement for the M79 40mm grenade launcher suitable for Minimum Lethality rounds.  Cited by 17 patents

3762329 Lethal expandible projectile, R Mawhinney, MB Associates (BAE Systems), 1973-10-02, - A shot shell for the .38 that contains the shot in a bean bag that assumes a disk shape because of the spin.  Slows down in a short distance.  Equation for Velocity at a given range.

3815502 Lethal expandible projectile, R Mawhinney, MB Associates (BAE Systems), 1974-06-11, - new Equation for Vx.

GB1387797 Smooth bore shot gun barrel with rifled extension, 1975-03-19, -

3855930
                      Personnel distress signal, S Mulich, D Duffy, S
                      Salter, MB Associates,1974-12-24
3855930 Personnel distress signal, S Mulich, D Duffy, S Salter, MB Associates,1974-12-24, 102/342; 102/351 -

use in MB Associates p/n 6000-0-4040-3 flare launcher pen.

3889652 Cartridge assembly for a gas powered weapon system including a pressure responsive seal, Herbert E Curtis, MBAssociates, 1975-06-17, - uses 1, 2 or 4 CO2 cartridges as the propellant.  has handle like a police baton.  

3962865 Rocket motor construction, Alan I. McCone, Jr., MB Associates (BAE Systems), 1976-06-15, - "The present invention rocket motor. relates to a fuel grain for a rocket motor.

Heretofore, a serious problem sometimes referred to as "errosive burning" or “ignition shock" has plagued attempts to use double base propellant fuel grains in small high-G rocket motors. Generally speaking, the problem arises in attempts to optimize the fuel mass and involves the generation of high internal pressures relatively early in the propellant burn. Due to this problem, the fuel grain has a tendency to blow up rather than to burn in the desired fashion."
4002122
                      Microjet fuse, Bert B. Gould, MB Associates, App:
                      1961-03-02, ( SECRET 16 years), Pub: 1977-01-11
4002122 Microjet fuse, Bert B. Gould, MB Associates, App: 1961-03-02, ( SECRET 16 years), Pub: 1977-01-11, 102/202; 102/202.14 -

This rocket projectile is only 1/10" dia x 1-1/2" long.
https://patents.google.com/?inventor=Robert+Mainhardt
4644930 Gun for firing a variety of projectiles, Robert Mainhardt, 1987-02-24, 124/58; 124/84; 42/1.06; 42/1.14; 42/1.15; 42/16; 42/77 -

for the CIA?
YouTube: Backyard Ballistics:
1960s GYROJET Rockets - Part 1: Improvements,11:00, - Ref An Introduction to MBA Gyrojets and other Ordnance by Mel Carpenter, instead of the original 13mm dia he is using 19mm (aprox. a 12 Ga round), KNDX propellant, -

Remaking 1960s GYROJET Rockets - Part 2: Test Fire, 9:36 -
Beyond Ballistics: HOW I've Remade the 1960's GYROJET Rockets [part 3/3], 6:17 - body made from CO2 cartridge cut to 60mm long. Richard Nakka's Experimental Rocketry Web Site: KNDX;
GyroJet.This Pistol Literally Shoots ROCKET BULLETS!!!, 23:59 - the rocket is burning long after it leaves the launch tube so poor stability.  Also the velocity keeps increasing after leaving the launch tube.  The kinetic energy at the muzzle is very low and probably not harmful, i.e. there's some distance a target needs to be in order to receive the maximum energy.

Sedgley Mk IV

It took some time to find one of these since they are the basis of the Mandalorian (Wiki) Pistol used by Boba Fett (Wiki) in the Star Wars movie and so rare.
There are replica kits available (Blaster Factory: Boba Fett Pistol Sedgley Mk V, Mandalorian)
They also have some prop guns based on the Webley flare pistol.

The front end of the bore measures 37.1mm ID.

Labels on Mk IV


Fig 1
Fig 2
Fig 3
Fig 4
Barrel
R.F. Sedgley Inc.
Sedgley Signal Pistol
Mark IV



Frame
Pat. 8-22-32
Pat. 8-22-32 11020
Grip
JSW?
S


Barrel
Tang


Phila. RA. U.S.A.
PT(circle S)
11020
6-1-43

Note 8-22-32 is a Monday, so not a valid U.S. patent date.  The two closest August patents are:
RE18576 Method of and apparatus for making coils, Reginald F Sedgley, 1932-08-23 - for making coil springs.
and
1874815 Firearm, Reginald F Sedgley, 1932-08-30

37 mm Ammunition

See general flares Ammunition above.

Flange dia: 42mm (1.65")
Flange thickness: <2.7mm (0.100")
Body dia (inside rear of barrel): 1.5" (38.6mm)

Mk IV Photos

Fig 1
Sedgley Mk
                      IV Flare Pistol
Fig 2
Sedgley Mk
                      IV Flare Pistol
Fig 3 Top screw not seated.
Sedgley Mk
                      IV Flare Pistol
Fig 4 Extractor jammed.
Sedgley Mk
                      IV Flare Pistol
Fig 5 Bent Extractor & it's retaining screw
Sedgley Mk
                      IV Flare Pistol
Fig 6 Bent Extractor, probable cam orientation.
Note there are small and large notches.
Sedgley Mk
                      IV Flare Pistol

Problem

The ejector rod was bent (Fig 4 Fig 5 & Fig 6 above).  After straightening the rod it moves freely after the capture screw is tightened.  But when assembled and the action opened the extractor moves out, like it should, but will NOT go back.  The reason is that the cam has rotated too far.  Is there supposed to be a spring to keep the cam from turning too far? Let me know.

If the action is forced shut when the ejector has not retracted it will be bent.  That's probably why it was bent.

Sedgley Mark 5 Navy Signal Pistol

The Mk 5 is a 10 Ga flare pistol made for the US Navy.
It first may have been called the Mk 2 Marine Illumination Signal.

Photos

Fig 1
Sedgley Mark
                      5 Navy Signal Pistol
Fig 2
Sedgley Mark
                      5 Navy Signal Pistol
Fig 3
Sedgley Mark
                      5 Navy Signal Pistol
Sedgley Mk IV (37mm)
& Mk 5 (10 Ga, 0.775", 19.685mm)
Sedgley Mk
                      IV & Mk 5 Signal Pistols


Navy 25mm Sedgley M1929

A photo shows a patent date of: 8-12-13 which I take to mean  1913-08-12 (yyyy-mm-dd).

Can not find a relevant patent on 1913-08-12, but there were 1,059 patents granted that Tuesday. See Navigation\Miscellaneous.

Sedgley Patents


1224223 Ratchet-wrench, Reginald F Sedgley, 1917-05-01, -
1236608
                      Revolver, Reginald F Sedgley, 1917-08-14, - Baby
                      Hammerless
1236608 Revolver, Reginald F Sedgley, 1917-08-14, - Baby Hammerless (NRA)

1216001 Combined rebounding, main, and trigger spring for firearms 1917-02-13 - used in baby hammerless

2007774 Cartridge magazine, Reginald F Sedgley, Wurzer Martin, 1935-07-09


1521331 Clutch wrench, Reginald F Sedgley, 1924-12-30, -"... can be utilized for all the purposes to which a ratchet wrench of a more expensive character is adapted, my novel wrench being so constructed that it may be used for either tightening or loosening nuts, bolts or the like by simply singing the wrench handle back and forth through relatively small arcs, provision being made for the automatic or manual separation or unlocking of certain of the parts at the proper periods during the actuation of said handle, in order to effect the actuation of the wrench or wrench socket to the desired extent."

1777900 Method of and apparatus for making coils, Reginald F Sedgley, 1930-10-07, - Coil springs

RE18576 Method of and apparatus for making coils, Reginald F Sedgley, 1932-08-23, -
1788443
                      Firearm, Reginald F Sedgley, 1931-01-13,
1788443 Firearm, Reginald F Sedgley, 1931-01-13, 42/8; 43/135; 42/1.15 - gas, shot, bullets or signals

has an Art Deco Streamline style (Wiki) look.
1849507
                      Firearm, Reginald F Sedgley, 1932-03-15
1849507 Firearm, Reginald F Sedgley, 1932-03-15, - "...a novel ejecting means for the cartridge which also has the function of locking the barrel in its carrier and aligning member."

1850729 Rifle loading mechanism, Reginald F Sedgley, 1932-03-22, -
22 rimfire adapter for standard military rifle (Wiki: M1903 Springfield)

1858601 Combined club and firearm, Reginald F Sedgley, 1932-05-17, -
maybe 12 Ga gas shell?

1874815
                      Firearm, Reginald F Sedgley, 1932-08-30
1874815 Firearm, Reginald F Sedgley, 1932-08-30, 42/51 - one handed operation for pilots

2029839 Machine gun, Reginald F Sedgley, Wurzer Martin, 1936-02-04, - 22 rimfire for training

2007774 Cartridge magazine, Reginald F Sedgley, Wurzer Martin, 1935-07-09 - 50 round? drum magazine for 22 rimfire

2370435 Releasing mechanism for firing actions, Wurzer Martin, R F SEDGLEY Inc, App: 1940-09-11, W.W.II, Pub: 1945-02-27. - sub-calibre machine guns

2056213 Method of and apparatus for curling strand material, Reginald F Sedgley, 1936-10-06, -  improvement on prior coil spring patents in that the cross section shape of the wire is changed in addition to forming the coil spring.



2089581 Safety firing pin for guns, Reginald F Sedgley, 1937-08-10, - for bolt action rifle to prevent parts hitting shooter if primer ruptures and pin breaks. (Wiki: M1903 Springfield)
2111374
                              Line throwing mechanism for pistols,
                              Reginald F Sedgley, 1938-03-15
2111374
                              Line throwing mechanism for pistols,
                              Reginald F Sedgley, 1938-03-15

2111374 Line throwing mechanism for pistols, Reginald F Sedgley, 1938-03-15, 42/106; 102/504; 89/1.34 -Designed for his flare pistol.

2421752 Rocket projectile, Hilten E Jones, Eureka Williams Corp, 1947-06-10, -
2423448
                              Fist gun, Stanley M Haight, App:
                              1944-02-29, Top Secret OSS, Pub:
                              1947-07-08
2423448
                              Fist gun, Stanley M Haight, App:
                              1944-02-29, Top Secret OSS, Pub:
                              1947-07-08

2423448 Fist gun, Stanley M Haight, App: 1944-02-29, Top Secret (Wiki: OSS), Pub: 1947-07-08, -

An eBay photo of a Sedgley flare pistol showed patent dates of: 8-22-32 and 6-25-43 which are on Monday and Friday, so not valid US patent dates. Maybe GB patents?
3-2-44 (Thursday so not valid) possible 3-7-44, 3-14-44, 3-21-44, 3-28-44
Valid dates (Tuesday) might be: 2, 9, 16, 23 or 30 Aug 1932 and 1, 8, 15, 22 or 29 June 1943 - but none of them close to Sedgley.
Searching the above dates and using Class 42/$:
ISD/8/2/1932 AND CCL/42/$
1869911 Firearm, E.G. Reising
1869618 Firearm, Eugene G Reising,
1869537 Firearm, Walter S Bradbury, Aubrey L Lowe, Remington Arms
ISD/8/9/1932 AND CCL/42/$
1870552 Single trigger mechanism, Browning John, J M & M S Browning Co,
ISD/8/16/1932 AND CCL/42/$
1872093 Toy Pistol, Edward S Peake, Kilgore Mfg, - cap gun
ISD/8/23/1932 AND CCL/42/$
ISD/8/30/1932 AND CCL/42/$
1874952 Magazine for automatic shotguns, Frank John Ira, Theodore Smith,
1874815 Firearm, Reginald F Sedgley, 1932-08-30, - see above
1874408 Shotgun loader, Zichy Andrew,
ISD/6/1/1943 AND CCL/42/$
2320450 Belt clip for pistols, Valenzuela Pedro
2320430 Recoil pad, Frank D Hawkins
2320403 Feed mechanism for firearms, Nicholas L Brewer, Savage Arms,
2320348 Firearm, Ralph E Clarkson, Western Cartridge, - tubular magazine access from butt
ISD/6/8/1943 AND CCL/42/$
2321287 Trigger operating mechanism, Walter M Fay
ISD/6/15/1943 AND CCL/42/$
2321720 Magazine for firearms, John R Whittaker, Automatic Appliance Corp, - drum mag for Colt 1911
ISD/6/22/1943 AND CCL/42/$
ISD/6/29/1943 AND CCL/42/$
2322806 Flash hider for automatic weapons, Albert M Jackson
2322780 Gun, Walter T Gorton,
ISD/3/7/1944 AND CCL/42/$
2343802 Gun sight, Carl E Rodney
2343341 Firearm, Sundquist Herman,
ISD/3/14/1944 AND CCL/42/$
ISD/3/21/1944 AND CCL/42/$
2344752 Recoil absorber for firearms, Utz Melvin - shoulder pad
2344563 Ejector, Leon F Punsalan
ISD/3/28/1944 AND CCL/42/$
2345249 Telescopic sight mount for rifles, Ferriroli Peter 42/124 -
2345127 Gun having sliding and interchangeable barrel, Kehne Karl 42/75.02 -
2345089 Gun barrel, Born Woldemar 42/78 -
2345083 Takedown firearm, David M Williams, Western Cartridge 42/75.01 -1903 rifle?
2345077 Cartridge-ejecting means for firearms, Carl G Swebilius, High Standard 42/25 - center fire, Thompson?
2345031 Multiple clip magazine for rifles, James H Carithers 42/18 42/50 - M1A1?
2345003 Firearm, Pickens Homer Howard 42/6 -
2344957 Pistol rocket, Anzalone Ralph, Aerial Products 244/3.26 89/1.816 244/3.3 446/52 42/105 102/348 -fits a flare pistol (burn hands and face?)
Did not find any patents that look like they apply to the Sedgley flare pistol.

 Carlstrom / Juhasz Concealed Sleeve Gun

Located this paragraph just after the Fist Gun (see 2423448 above)
Based on YouTube: Carlstrom / Juhasz Concealed Sleeve Gun, 4:56 -
 
1726228
                      Automatic concealed firearm for self-defense, Elek
                      B Juhasz, 1929-08-27
1726228 Automatic concealed firearm for self-defense, Elek B Juhasz, 1929-08-27, -

The example in the video has a restricted barrel, so used for gas cartridges.

20080168693 Buckle gun, Jorge Cordero Palau, 2008-07-17, - cites 1726228 and 16 similar patents. A few are for wrist holsters with a spring to push the gun into the shooter's hand.

Yugoslavia M57

26.5mm flare pistol.  Copied from Russian SPSh-44 except its external safety and different design on the grips.
Came with carry case and cleaning brush.
The carry case has loops for flares and other tools.
Forgotten Weapons: Czechoslovakian Flare Pistols: vz 44/67 and vz 44/81, 13:31 - from Royal Tiger Imports,  26.5mm

Photos

Fig 1
Yugoslavia Yugo M57 Flare Pistol
Fig 2
Yugoslavia Yugo M57 Flare Pistol
Fig 3
Yugoslavia Yugo M57 Flare Pistol
Fig 4
Yugoslavia Yugo M57 Flare Pistol
Fig 5
Yugoslavia Yugo M57 Flare Pistol
Fig 6 Top down: 37mm, 26.5mm, 10Ga (19.69mm)
Yugoslavia Yugo M57 Flare Pistol

Schermuly Pistol Rocket Apparatus

Also see Launched Grapnel Hook.

This Man Thought He Made a Loss Buying This Item,
 
1792399 Collapsible tripod and like stand, Schermuly Augustus Willi Louis, Schermuly Alfred James, Schermuly Charles, 1931-02-10, - to support line launching pistol

2208475 Pistol, gun, or the like for firing and projecting rockets or projectiles for use in throwing lines, Schermuly Alfred James, Schermuly Conrad David, Schermuly Charles, Schermuly Pistol Rocket Apparatus Ltd, 1940-07-16, -

2210820 Rocket or projectile for use in throwing lines, Schermuly Alfred James, Schermuly Conrad David, Schermuly Charles, Schermuly Pistol Rocket Apparatus Ltd, 1940-08-06, -

Olin 25mm Flare Launcher

Olin is well known for making a plastic flare pistol.  They also have many patents related to shotguns and shotgun shells and other ammunition.

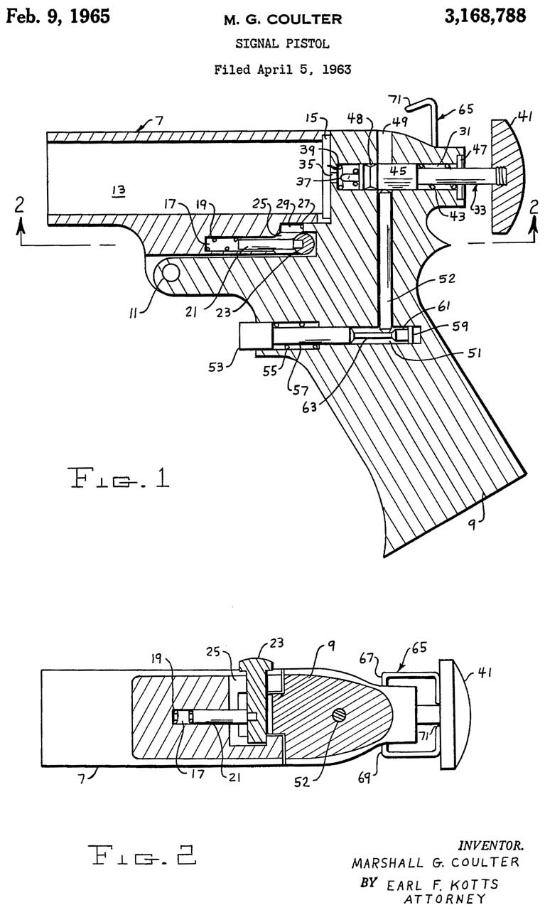
A cast metal Flare Launcher showed up on eBay with a patent number, which after trying many combinations, turned out to be 3168788.

Fig 1
Olin 25mm
                      Flare Pistol Cast Metal patent 3168788
Fig 2
Olin 25mm
                      Flare Pistol Cast Metal patent 3168788
Fig 3
Olin 25mm
                      Flare Pistol Cast Metal patent 3168788
Fig 4
Olin 25mm
                      Flare Pistol Cast Metal patent 3168788

Marked: 25mm Flare Launcher
For Marine Signal
Purpose Only
Olin (Wiki) -East Alton Ill (Wiki)


2968542 Illuminants, Jean A M Brock, Olin Corp, 1961-01-17, - magnesium flare composition

2971573 Flame thrower, Griffin Donald Neilson, Wanter Richard Walter, Olin Corp, App: 1958-01-16, Pub: 1961-02-14, -

3060436 Tool, Caro Charles J De, Robert W Henning, Olin Corp, 1962-10-30, - cartridge activated nail gun
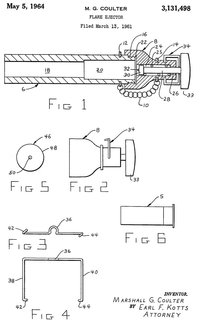
3131498 Flare
                      ejector, Marshall G Coulter, (not assigned),
                      1964-05-05
3131498 Flare ejector, Marshall G Coulter, (not assigned), 1964-05-05, -

Fig 6 shows a cartridge, maybe 12Gz or 25mm?
3168788 Signal
                      pistol, Marshall G Coulter, not assigned),
                      1965-02-09, - 25mm Olin
3168788 Signal pistol, Marshall G Coulter, (not assigned), 1965-02-09, - 25mm Olin

3954059 Pyrotechnic signal with collapsible handle, James D. Langseth, Olin Corp,1976-05-04, -

5029529 Semiconductor bridge (SCB) packaging system, Frank N. Mandigo, George C. Mei, Julius C. Fister, Olin Corp, 1991-07-09, -
cites: 4708060 Semiconductor bridge (SCB) igniter, Robert W. Bickes, Jr.Alfred C. Schwarz, DOE, 1987-11-24, -  cited by 93 patents

Webley & Scott No.3 Mk. I

Found this in Canada.
See my YouTube: Webley & Scott No. 3 Mk I Flare Pistol Firing Ping Pong Ball, 0:30 -

Ram-shell

These are training adapters.  Currently only available in 12 Ga.  They use an offset .22 nail gun blank cartridge and any .68 caliber round.  For example rubber balls.

There are now training adapters that use 209 primers (Wiki), but the nail gun blanks also may include a small amount of powder.

Related

40mm munitions & projectors
8-Day Aircraft Clocks
Gyroscopes
Ruger SP101 .357 Magnum Revolver
Hammerlli M150 Free Pistol
FN FAL ".308 Match" Rifle
Daisy BB Rifle
Survival Kit with Pocket Pen Gun flare launcher
Gibson Girl CRT-3A Life Boat radio system
Survival Radios
RPG-7 Rocket Propelled Grenade Launcher
LFP-45 Liberator Pistol

References

FM 3-23.30 Grenades and Pyrotechnic Signals, Oct 2009

TM 901095-201-15 Operator, Organizational, Field and Depot Maintenance Manual
                                 Ground Signal Projector M1A1;
                                 Hand Pyrotechnic Projector M9; and
                                 Pyrotechnic Pistol AN-M8 with Pyrotechnic Pistol Mount M1
                                 Nov 1962

TM 9-1095-201-25P Organizational, Field and Depot Maintenance, Repair Parts and Special Tool Lists for
                                    Ground Signal Projector M9, and
                                    Hand Pyrotechnic Projector M9, and
                                    Pyrotechnic Pistol AN-M8 with Pyrotechnic Pistol Mount M1
                                    30 March 1962

TM-43-0001-37 Technical Manual, Army Ammunition Data Sheets:
                            Military Pyrotechnics (Federal Supply Class 1370)
                            January 1994

Notes on Signal and Illuminating Devices and the Apparatus for Projecting them, from the French Edition of 1917, Translated and edited at the Army War College, May 1917

Military and Civilian Pyrotechnics, by DR. Herbert Ellern, 1968 -
Pyrotechny by George W. Weingart, Poor Man's James Bond, Vol1 No. 1
Pyrotechnics by George Washington Weingart, 2nd Ed 1947

Patents with "Pains-Wessex" somewhere

Forgotten Weapons: OSS "Stinger" Covert Cigarette Guns -

WayBackMachine: Signal Pistols -

Flares and Flare Guns, 9:32 - Historical overview
The CIA's Scariest Weapon, 8:39, Sources - Saxitoxin (Wiki) - CIA's Secret Heart Attack Gun, Dart Gun patents,

Aviation Ordnanceman MAVEDTRA 14313, July 2001, 526 pgs - Chapter 4 Pyrotechnics -

Flares and Flare Guns, 9:32 -
Flare Guns: the Unsung Tools of 20th Century Warfare, 35:39 -
Flare Guns, 15:08 - ,
           overview of calibers, pistols
@3:25 Orion 12 Ga
@6:03 Geco 26.5 mm
@7:41 Polish Model 78 (K&K P2A1) 26.5 mm & 12 Ga adapter
@10:26 Outside at night: Olin 12 Ga, 26.5mm (more recoil)
@14:04 Caution do not shoot 12Ga shot shells.

Links

PRC68, Alphanumeric Index of Web pages, Contact, Products for Sale
Page Created 9 Nov 2015