
This page is evolving into Toy Guns in general.
This page came about because of my interest in BB Guns and Carbide Big Bang cannons. Also related to the metal products that used to be common and now have been replaced by plastic. I noticed that there are old plastic products offered for sale, but they have major cracking and were no longer functional, whereas the metal versions were still functional.
There are different ways to get the "pop" sound. One is to use a cork to trap air that when released makes a "pop". Another is to burst a hole in a paper strip that makes a "pop" sound with the paper breaks. Another way depends on something like an origami folded paper "funnel" at the barrel end of a pistol shaped piece of paper.
560570 Toy Arm, Frank Burns, 1896-05-19, - alternate ways of working
580967 Toy Pop Gun, E.J.B. Whitaker, April 20, 1897, 446/405; 124/65 - dual acting cork pop gun.
723603 Toy gun, Edward Hazlehurst, Toy Gun Manufacturing Co, 1903-03-24, - percussion cap fires rubber ball.
874952 Gas-gun, William Suddards Franklin, 1907-12-31, - calcium carbide + water, spark coil and cork.
Uses No. 6 Dry Cells in the primary of a spark coil.
1057420 Gas-gun, Nelson Goodyear, Maine Development Corp, 1913-04-01, 1913-04-01, -toy tin ship with carbide cannon There are similar toy guns in the categories of sparking and cap guns. See the flashlight web page for a pistol that is a slide projector.
History of Daisy, Plymouth Iron Windmill Co, Markham Air Rifle Co. King Mfg. Co.
Clarence Hamilton invented a vaneless windmill (Wiki) and setup the The Plymouth Iron Windmill Co. to sell them.
250661 Windmill, Clabence J. Hamilton, R.L. Root, Dec 13, 1881, 416/53 - and offered a BB gun as a premium if someone bought a windmill (Daisy History, Museum) The all metal gun came from the Plymouth Air Rifle Co. By 1895 the windmill company changed its name to Daisy Mfg Co. and only made BB guns.
390297 Air Gun, C.J. Hamilton, C.A. Pinckney, Oct 2, 1888, 124/67 - single shot spring air gun
427313 Barrel for Spring Air-guns, Clarence J. Hamilton, May 6, 1890, 42/76.1; 124/83 - type metal used to join brass false barrel with brass true barrel using a mold.
446711 Spring air-gun, Hiram H. Passage, muzzle loading
631010 Air-gun, Clarence J Hamilton, Daisy Mfg Co, Aug 15, 1899, 124/66 - break action just above trigger
679670 Repeating air-rifle, Clarence J. Hamilton, Daisy Mfg Co, Jul 30, 1901, 124/85; 124/49 - shot or darts by removable barrel, false barrel pulled forward to load new BB.
Also in Plymouth was the Markham Air Rifle Co.
860754 Air-gun, William F Markham, Markham Air Rifle Company, Jul 23, 1907, 124/66 - cork on a string pop gun
872747 Magazine air-gun, David F Polley, Markham Air Rifle Company, Dec 3, 1907, - brass disks used to join true brass barrel to larger dia spring air tube.
878560 Air-gun, David Frank Polley, Markham Air Rifle Company, Feb 11, 1908, 124/50; 124/85 - seamless brass true barrel tube
880555 Gun, William F Markham, Ernest S Roe, Markham Air Rifle Company, Mar 3, 1908, 124/67; 74/2 - lever action spring air gun
911056 Air-gun, William F Markham, Ernest S Roe, Markham Air Rifle Company, Feb 2, 1909, 124/66 - (missing figures) break action
937078 Spring-gun, Reuben N Laudermilch, Henry C Laudermilch, (no company), 1909-10-19, 124/27; 124/38 - pull cocking knob straight back
977549 Combined air-rifle, rubber ball, and pop-gun, Ernest S Roe, Markham Air Rifle Company, Dec 6, 1910, 124/44.7; 124/85 - spending money on this may have bankrupt them
1268238 Air-gun, William B Greeenleaf, Ernest S Roe, Markham Air Rifle Company, Jun 4, 1918, 124/67 - break barrel cocking
1373451 Air-gun, Ernest S Roe, Markham Air Rifle Company, Apr 5, 1921, 124/67 - break barrel action
1419308 Air-gun, Ernest S Roe, Markham Air Rifle Company, Jun 13, 1922, 124/67 - break barrel action
1477770 Air-gun, Ernest S Roe, Markham Air Rifle Company, Dec 18, 1923, 124/66; 124/37 - break barrel action
1589985 Air-gun, Ernest S Roe, Markham Air Rifle Company, Jun 22, 1926, 124/66 - cork on a string pop gun, ring shape trigger
1928 Markham Air Rifle sold to Daisy and name changed to King Mfg. Co.
Some key top patent Class numbers:
42 Firearms
72 Metal Deforming
89 Ordnance
124 Mechanical Guns and Projectors
446 Amusement Devices: Toys
Big Bang Carbide Cannon
As a boy I "invented" many uses for Calcium Carbide. When combined with water it makes acetylene (Wiki) gas which burns or explodes. I remember one of the shops where my uncle had his heavy earth moving equipment repaired had a large outdoor system which generated acetylene using Calcium Carbide and water. It turns out that you can not compress acetylene to store it like is done with oxygen but instead the tank holds a liquid, like acetone, that can absorb it.
Early toy cannons used caps from early pistols. Then came the firecracker cannons. Then the roll or disk of paper caps cannons. Then compressed air and cork cannons. Then blank firing cannons. This paragraph is about the cannons that used Calcium Carbide (Wiki) and water to make acetylene gas (Wiki).
See Ref 3.
874952 Gas-gun, William Suddards Franklin, 1907-12-31, 42/55 ; 89/7 - calcium carbide + water, spark coil and cork.
1057420 Gas-gun, Nelson Goodyear, Maine Development Corp, 1913-04-01, 1913-04-01, -toy tin ship with carbide cannon
1352715 Gas Cannon, J.H. Wily, Sep 14 1920, 42/55 - breach removed between shots
1384366 Gas Gun, E.P. Welch, Jly 12 1921, 89/7 ; 446/401 - calcium carbide noise maker pistol w/large dia. barrel
1597447 Gas Operated Cannon, J. Klarke, Aug 24 1926, - external gas generator
1624086 Toy Firearm, James H. Wily, Apr 12 1927, 42/54 - pistol using calcium carbide, looks like revolver
1757523 Toy Gas Cannon, M.F. Grimm, May 6 1930, 42/55 - toy 18th century mortar (Wiki)
1765562 Gas Cannon, C.C. Blackmore, Jun 24 1930, 42/55 - mixing chamber separate from combustion chamber
1789585 Gas Cannon, S. Gormly, Jan 20 1931, 42/55 - provides for scavenging smoke prior to next firing
1806633 Toy Gas Cannon, John W. MacDonald, May 26 1931, 42/55
1806693 Toy Gas Cannon, May 26 1931, 42/55 -fixes smoke and cleaning of water mixing chamber
1807974 Toy Cannon, Birger Engstrom (Forster Mfg Co), Jun 21 1931, 42/55 - complex fix
1854679 Toy Cannon, G.W. Walker, Apr 19 1932, 42/55 - thin sheet metal designed to not explode
1863062 Toy Cannon, J.W. MacDonald, Jun 14 192, 89/7 ; 42/55 - foolproof fix toy cannon
1883028 Gun, E.H. Smith, (Smith Welding Equip Co), Oct 18 1932, 42/55 - tripod mounted external gas generator
1883029 Toy Machine-Gun, E.H. Smith, (Smith Welding Equip Co), Oct 18 1932, 42/55 - "
1908070 Gun, E.H. Smith, (Smith Welding Equip Co), May 9 1933, 42/55 - "
1998023 Gas Cannon and Method of Operating same, E.S. Peake (Kilgore Mfg), Apr 16 1935, 42/55 -
1999357 Cannon, Jr Louis L Driggs, Kilgore Mfg, 1935-04-30, - shoots a rubber? ball
2000607 Gas Cannon, E.S. Peake, (Kilgore Mfg Co), May 7 1935, 42/55 ; 89/7 - toy 18th century mortar, feed for calcium carbide BBs + lanyard sparker
2046663 Miniature Cannon, G.E. Wade, Jul 7 1936, 42/55 - blocked barrel to prevent shooting something
2094854 Gun, E.H. Smith, (Smith Welding Equip Co), Oct 5 1937, 89/7 42/55 431/278 431/353 89/40.01- machine gun simulator, uses external oxygen & acetylene tanks
2754607 Gas Gun, J.H. Wily, (not assigned), Jly 17 1956, 42/55 - separate mixing & firing chambers Big-Bang, Bangsite, Carbide Cannon (Wiki) Still made by Big Bang Cannons.
Calls:
1624086 Toy Firearm (see above)
1757523 Toy Gas Cannon (see above)
1863062 Toy Cannon (see above)
2000607 Gas Cannon (see above)
Carbide Related: Acme Miner's Lamp with 7" dia reflector, Cannon (17" overall length), Fine Grain size Calcium Carbide 16 oz can 4" tall x 3-5/16" dia. CheapCarbide.com - eBay: carbide-cannons
16FC carbide is fine ground for the cannon, Pea size for carbide lamps.
3022597 Electric Toy Cannon, R.A. Rucker, Feb 27 1962, 42/55 - fires dummy missile, external gas tank
3346984 Combustible Gas Toy Gun, R. Lohr, Oct 17 1967, 42/55 89/7 D21/573 - M16 lookalike
3365832 Carbide Adapter for Salute Cannon, E.T. Chapman, Jan 30 1968, 42/55 89/7 - looks like shotgun shell to be used in Winchester 98 Signal Cannon3559325 Gas Noisemaker, J. Webster, Feb 1971, 42/55 102/344 124/56 446/398 89/7 - 4th of July, uses a fuse rather than a sparker.
Calls:3745691 Harmless firework, S Brown, Raymond Org, 1973-07-17, - lighter fluid and a flame produces a loud report when set off in this special tube.
1088606 Mosquito Torch, C.M McGinley
1384366 Weeden page
1998023 Weeden page
2754607 Weeden page
3280744 Pyrotechnic Device, P.E. Brown, Oct 25 1966
Austin Magic Pistol
This was a toy pistol that projected a ping pong ball "over 100 feet" by using calcium carbide to generate acetylene gas which was ignited by the trigger.
2026 Jan: One showed up on eBay with a starting price of $800.
Dangerous Vintage Toys of The Good Old Days - Austin Magic Pistol, Gilbert Glass Blowing Kit, Gilbert U-238 Atomic Energy Lab
Facebook: Simple History's Post -
Classic replica air pistol review: The Austin Magic Pistol - with video
Baldwin Mfg Co Cannon
This showed up on eBay with Model No. 890 Baldwin Manufacturing Company Inc. Brooklyn, N.Y. but no patent numbers.
This is probably a spring powered unit that fires a wooden projectile.
So searching for "Toy Cannon"
https://www.google.com/search?tbo=p&tbm=pts&hl=en&q=toy+OR+Baldwin+OR+model+OR+safe+intitle:Cannon&num=30
375453 J.J.Loud, 1887-12-27, 42/55 -
fires common firecracker. Hinges to open, fuse out top.
569282 Toy cannon and target, J. Hannan, 1896-10-13, -
Spring powered cannon and target both mounted on wheeled platform.
How can it be aimed?
623159 Toy Cannon, A.G. Jacobs, 1899-04-18, 42/55 - firecracker mounted on model ship
650633 Toy Cannon, Thomas D Cooper, Sam Law, 1900-05-29, 124/64; 42/76.01 -
a rubber bulb is connected to the bore with a hose. How hard the bulb is pressed determines range.
706399 Toy Cannon, Archie G Fifer, 1902-08-05, -
compressed coil spring fires a wooden projectile.
725332 Toy Cannon, William Frowe, 1903-04-14, -
pulling string trips arm which brings burning rope to hole at rear of barrel.
938982 Toy Cannon, William Henry Cornford, 1909-11-02, -
used with board war game. Adjustable elevation angle.
1068667 Toy Cannon, Joseph D Kilgore, 1913-07-29, -
fires roll caps
1076125 Toy Cannon, Joseph D Kilgore, 1913-10-21, 124/29; 124/50; 124/37 -
spring powered ball, repeater, similar to BB gun.
1172766 Toy cannon, Julius Chein, 1916-02-22, - basically a cork pop gun.
1175803 Toy Cannon, Carl B Osborn, 1916-03-14, -
spring powered
1209160 Toy cannon, Thomas Raymond Arden, David Heyman, 1916-12-19, - basically a cork pop gun.
1244876 Toy Cannon, Walter O Mcdaniel, Schroeter Brothers, 1917-10-30, -
Coil spring fires wooden projectile
1248378 Toy Cannon, Charles C Murray, 1917-11-27, -
rubber band powered shoots shot
1279122 Toy cannon, Edward Joslin Kingsbury, 1918-09-17, - a single hair pin spring for hammer & trigger. Fires wooden? projectile.
1362171 Toy cannon, Christian W Minnich, 1920-12-14, 124/26; 124/29 -
flat spring snaps rod to drive projectile
1504819 Toy cannon, pistol, gun, and the like, Hanwell Cedric Harold, 1924-08-12, 1504819 -
a pair of coil springs pull on the bottom of a hammer which moves forward when released
1591180 Toy cannon, Ferdinand A Pfeifer, 1926-07-06, 42/55 - fires paper cap
1832177 Toy cannon, Samuel L Berger, 1931-11-17, 124/2; 124/29 -
looks similar to Baldwin model 890
1863062 Toy Cannon, John W Macdonald, 1932-06-14, - calcium carbide
2336391 Toy sparking cannon or the like, Walter J Burchett, Art Metal Works, 1943-12-07, -
3403669 Toy cannon with barrel recoil mechanism, Dorland L Crosman, De Luxe Topper, 1968-10-01
3938272 Toy cannon, Donald R. Ditto, Kenneth H. Hare, 1976-02-17, -
All-Metal Products Co.
Double Barrel Cork Gun
All-Metal Products Co. (Wiki) aka Wyandotte Toys, made sheet metal based toys between 1921 and 1957. (News-Herald: History: Remembering Wyandotte Toys)
This is a pop gun made by All-Metal Products Co (Wiki).
Class 124: MECHANICAL GUNS AND PROJECTORS
Sub Class 27: Spring(16) \ Guided Projectile (26) \ Spring (27)
Sub Class 83: Projectile Impelled by User-Provided Force (79) element (80) / Projector barrel (83)
Class 251: Valves and Valve Actuation
Sub Class 74: Permanent or Constantly energized Magent actuator ( 65) \ Biased Trip (66) \ Mechanical movement trip actuation (74)
2099806
Fig 1 Double barrel dual triggers.
Fig 2 Cocking both barrels
Fig 3 Label
All-Metal Products Co.
Wyandotte, Mich, U.S.A.
Pat. # 1,979,963
Pat. # 2,099,806
Fig 4 Top barrel cocked
Bottom barrel fired.
1575644 Pistol, Schmidt William F, All Metal Products Company, Mar 9, 1926, 124/66, 124/36, 124/37 - Cork type pistol.
Single Barrel Pump Action Cork Pop Gun
1660581 Toy gun, Schmidt William F, All Metal Products Co, Feb 28, 1928, 124/66, 251/74 - pump action
Fig 1
Fig 2 All-Metal Products Co. Wyandotte, Mich, U.S.A., Pat. # 1,660,581
1633795 Spring gun, William F Schmidt, All Metal Products Company, Jun 28, 1927, 124/27 -
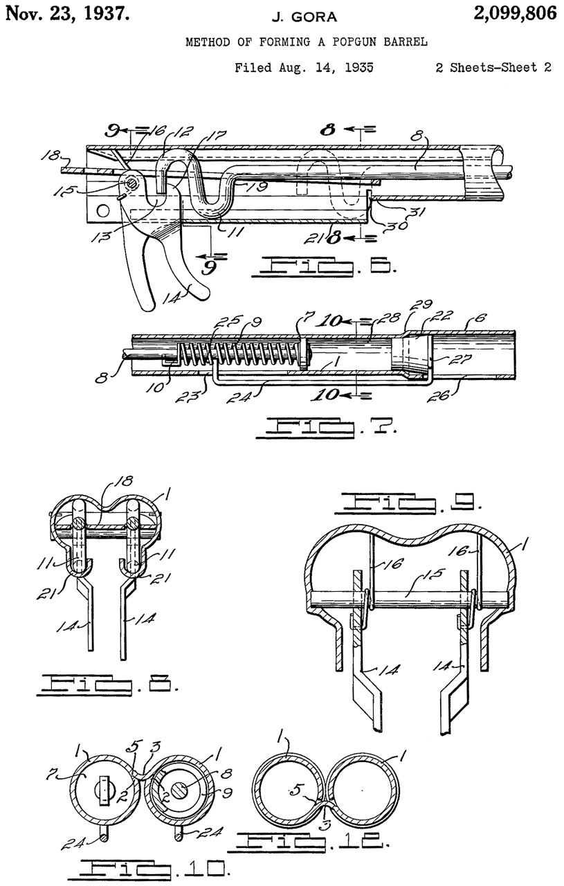
1979963 Popgun barrel, Decker Arnold J, John Gora, All Metal Products Company, Nov 6, 1934, 124/83 - how to stamp and form sheet metal into barrel.
1660581 Toy gun, Schmidt William F, All Metal Products Co, Feb 28, 1928, 124/66, 251/74 - pump action
1779892 Popgun, Ernest S Roe, King Mfg Company (sold to Daisy), Oct 28, 1930, 124/66, 446/188 - Cork shooter, trigger looks like ring
1830291 Popgun, Ernest S Roe, King Mfg Company (sold to Daisy), Nov 3, 1931, 124/66 - Cork shooter, stock hinges to cock
2099806 Method of forming a popgun barrel, John Gora, All Metal Products Company, Nov 23, 1937, 72/324, 124/83 -
2336391 Toy sparking cannon or the like, Burchett Walter J, Art Metal Works Inc, Dec 7, 1943, 446/23, 124/29, D21/569 - sparks and shoots soft tipped arrow.
Single Barrel Break Action Cork Pop Gun
One of these is made by Wyandotte Toys and the other by Daisy. Neither of them has any patent numbers. They are slightly different in size but very similar in construction.
Fig 1
Fig 2
Fig 3 Wyandotte Toys
Made in U.S.A.
--------------------
Daisy Mfg. Co.
Plymouth Mich. U.S.A.
Buck Rogers 25th Century Rocket Pistol, Zooka
1466131 Popgun, Lefever Charles F, Daisy Mfg Co, Aug 28, 1923, 124/66 - break cocking
1666771 Toy Gun, J.H. Buhrie, Apr 17, 1928, 124/29, 124/39 - cork
1633031 Popgun, Charles F Lefever, Daisy Mfg Co, Jun 21, 1927, 124/66, D21/573 - break cocking, ring trigger pop gun rifle
1779892 Popgun, Roe Ernest S, King Mfg Company, Oct 28, 1930, 124/66, 446/188 - break cocking, ring trigger pop gun rifle
Others Pending
2055900 Toy gun
2055900 Toy gun, Charles F Lefever, Daisy Mfg Co, Filed: Mar 11, 1935, Pub: Sep 29, 1936, 446/192, 124/27, 124/66 - This is the Zooka or Buck Rogers sheet metal pop gun that cocks by the hinged grip. There may have been different versions, the first unpainted sheet metal with stamped patent numbers, the later one painted. Yet another "collectors edition" made of bronze castings. Daisy Zooka Pop Pistol
I think the Zooka-Pop-Pistol is newer than the Buck Rogers 25th Century Rocket Pistol.
Fig 1 Left Side
Buck Rogers
25th Century
Daisy Mfg. Co. Plymouth, Mich. U.S.A.
Patents
1,466,131 1,633,031
1,666,771 1,779,892
Others Pending
Buck Rogers
25th Century
Fig 2 Cocked
Fig3 Right Side
Fig 4 Front
Fig 5 from an eBay listing
Note below OTHERS PENDING:
D 54,748 or D51,748
-------------------------- attempt to find the design patent D_?_748 ---or--- D51748
D54748 - added under "others pending" on an eBay photo, but the design patent with that number is titled Receptacle by C.S. Humphrey and looks like a whiskey decanter
Here are some design patents found while looking for a design patent that may be the one intended instead of D54748:
D112090 Toy Projector Gun, E. Rundles, Nov 8, 1938 D21/574 - rubber band pistol
D102382 Toy Gun, Dec 15, 1936 D21/574 - futuristic
D169921 Toy Gun D21/574; 42/54- sort of like Buck Rogers
![]()
Searching class D21/574 shows:
D13815 Toy Pistol, Charles R. Ritchel, Unexcelled Fireqorks Co, Mar 27, 1883 - 258810
D51746 Vehicle Tire
D51748 Rear automobile wheel fender
D54133 Toy Gun, J.R. Searight, Nov 4, 1919
D58057 Top Small Arm, C.W. Beiser - spring cork gun with capture string
D75635 Toy Popgun, W.J. McMarlin, McDowell Mfg Co. June 26, 1928, - paper roll at muzzle "pops" from air pressure.
D87124 - toy hand crank machine pistol
D89207 - small roll of caps pocket toy pistol
D93819 Toy Pistol, R.A. Frisbie, 1934 - revolver
D94312 Pistol Like Toy Weapon, L Marx - "Ray Gun" 1935
D100683 Toy Weapon, J. Bonnett 1936 - semi auto pocket pistol
D102382 Toy Gun, Otto A. Langos, 1936 - space ray gun using paper roll - D75635
D112090 Toy (rubber band) Projector gun, E. Rundles, 1938
D114548 Toy Gun, A.T. Linney, May 2, 1939, D21/574 - folded paper with "Funnel" at muzzle.
D147375 Toy Pistol D21/574 - scope sight futuristic
D131363 Popgun, E.M. Mathews, 1942
D132661 Toy (double barrel flintlock, J.E. Brubaker, 1942 -
D134561 Rocket Pistol (Flare Gun?), A.H. Gregory, 1942., 2208475, 2344957, AN/M8 Flare Pistol
D137522 Toy Pistol, Herbert U. Dernehl, 1944 - M1911 style
D138085 Toy Pistol, David Krechman, 1944 - strange revolver
D138485 Toy Pistol, Mano Hirsch, 1944, revolver
D139679 Toy (Cork Pop) Gun, Seth Earl Dahlquist, 1944 - still sold on eBay
D140087 Toy Gun, Irving G. Rubin, 1945 - futuristic
D141452 Toy Pistol, William Lockerbie Williams, 1945 -
D142551 Toy Gun, Leo J. Frankel, 1945 - minimal futuristic
D142618 Toy (Cork Pop) Gun, Seth E. Dahlquist, 1945 - double barrel version of D139679
D147375 Toy Pistol, Joseph Oshman, 1947 - futuristic w/ telescopic sight
D148647 Toy Pistol, James F. Robinson, 1948 - futuristic
D149113 Pistol, John F. Dille, 1948 - classic Ray Gun
D151746 Walking Stick
D151748 Camera or Similar Article
D152709 Toy Pistol, Peter Lim, 1949 - futuristic
D154516 Toy Gun, Thomas M. Shelton, 1949 - futuristic Ray Gun - D159552
D154748 Permanent Waving Machine
D156438 Toy Gun, Otto A. Langos, 1949 - space ray gun using paper roll - D75635
D159904 Toy Pistol, Glen I. Griffith, 1950 - futuristic feel- I have a 2003 Baphomet (Wiki) pin by H.R. Giger (Wiki).
D160370 Toy Disk Gun, Robert W. Clauss, 1950 - shoots "disk" 1907697 Aerial toy
D162662 Toy Pistol, Domenick Ippolito, 1951 - futuristic - rocket above barrel
D164398 Toy Proppeler-ejecting Gun, Joseph B. Barricks, 1951 -
D164657 Toy Pistol, Allen Dix Tovell, 1951 - futuristic
D166738 Toy Disk Gun, Robert W. Clauss, 1952 -
D168909 Toy Weapon, Richard Rastetter, 1953 - futuristic
D168972 Toy Pistol, Grover C. Schaible, 1953 - futuristic
D169039 Toy Sparking Pistol, Samuel Hoffman, 1953 - futuristic
D169440 Toy Weapon, Mahlon Hirsch, 1953 - futuristic Ray Gun
D169921 Toy Gun, Sidney Wasserman & Allen M. Sterns, Futuristic Prod Co. June 23, 1953 - futuristic Ray Gun
D147375 Toy Pistol, Joseph Oshman, 1947 - futuristic w/ telescopic sightD170023 , D170091 Toy Cap Pistol or Similar Article, Frederick J. Maywald, 1953 - futuristic
D149113 Pistol, John F. Dille, 1948 - classic Ray Gun
D193729 Toy Gun, Earl J. Grabau, 1962 - "String-Ding"rubber band gun, 1868312, 1892405
D221451 D226113 Novelty Pistol, Marvin C. Hewett, 1971 - revolver w/barrel pointing backward
5389027 (Collector's model disintegrator pistol (CMDP), Ellis Kantor, Daniel H. Heymann, Feb 14, 1995, 446/23, 446/405, 446/192, 446/473 - mainly for look and feel, the "pop" mechanism works a different way (the grip is not hinged).
Buck Rogers Pistol, Rusty
This was on eBay for a low price because it's very rusty. As received it would not cock. After taking it apart it was possible to cock the action, but it was unstable (Fig 4). After using a square file to make the sear sharper (Fig 5 & Fig 6) it seems to cock. Need to re-assemble to test. Still does not cock (Fig 7).
Fig 1
Fig 2
Fig 3
Fig 4
Fig 5
Fig 6
Fig 7
2055900 Toy gun
Buck Rogers "Atomic Pistol "
This is very similar to the above 25th Century Rocket Pistol, but there are slight differences. It makes a flash behind the red plastic, in addition to the "pop" when the trigger is pulled. BUT, this is a double action gun, i.e. the handle does not hinge/cock like on the 25th Century Pistol, instead there is a long trigger pull. So I don't see why patent 2006741 is on the label since this is a double action. trigger.
1779892 Popgun, Roe Ernest S, King Mfg Company, Oct 28, 1930, 124/66, 446/188 - break cocking, ring trigger pop gun rifle
Design Patent with hard to read number:
2006741 Toy Gun, Charles F Lefever, Daisy Mfg Co, Jul 2, 1935, 124/66, 124/37, - Note this has cocking grip and single action short movement trigger, no sparking.
The "Atomic Pistol" has no cocking grip and a double action long movement trigger.
D31748 Buckle, Henry Hammer, Oct 31, 1899
D51748 Rear Automobile Wheel Fender, C. Babley, Feb 12, 1918
D54748 Receptacle, Glen- S. Humphrey, Mar 23, 1920
2006741 Toy Gun
Fig 1 from eBay listing:
Buck Rogers
Atomic Pistol
Daisy Mfg. Co. Plymouth, Mich. U.S.A.
PATS 2,006,741 - 1,779,892 88 (???)
D ???,748 Others Pend.
Buck Rogers Disintegrator Pistol
Marked:
Buck Rogers
25th Century
DISINTEGRATOR
Daisy Mfg. Co. Plymouth, Mich U.S.A.
Pats: 1,666,771 - 1,779,892 - 1,240,990
D: 512,748 - Others Pending
Very similar to the Atomic pistol. What is the difference? let me know
1666771 Toy Gun, J.H. Buhrie, Apr 17, 1928, 124/29, 124/39 - cork
Fig 1
Fig 2
![]()
Fig 2 photo mis-labeled atomic
![]()
1779892 Popgun, Roe Ernest S, King Mfg Company, Oct 28, 1930, 124/66, 446/188 - break cocking, ring trigger pop gun rifle
1240990 Pop-gun, Charles F Lefever, Daisy Mfg Co, Sep 25, 1917, 446/182 - paper burster pistol (not cap gun)
This patent number was on a Buck Rodgers Rocket Police Patrol (seen in the Steve McQueen movie Hunter (Wiki, IMDB) where his house has a collection of stuff from the 20s & 30s.
1621266 Toy, Marx Louis, 1927-03-15, - illustrated is a fire truck with a vertical boiler, but the patent if for the wind-up mechanism.
Sonic Ricochet Rifle
As received the eBay red plug inside the barrel stopped even the "pop" sound. But after removing the plug and getting a pop, there was still no ricochet sound. But, after putting a drop of oil on the "Oil Here" hole and firing the gun the oil was sucked inside. Doing that a few times brought back the ricochet sound.
Fig 1
Fig 2 Model No. 2916, Daisy Mfg. Co., Rogers, Arkansas, U.S.A., Pat. No. 2,729,208 & 3,078,618, Oil Here
Fig 3 Toothed wheel keeps spinning after "pop".
Wire transfers noise to drum head.
2729208 Popgun, Lee B Gaeke, Daisy Mfg Co, Jan 3, 1956, 124/66, 137/543.19, 124/73, 446/192 - very loud "pop" noise
2968123 Ricochet sound producing toy, Stanley E Hadden, 1961-01-17, -
Cites:3078618 Noise making popgun, Richard I Daniel, Cass S Hough, Daisy Mfg Co, Feb 26, 1963, 446/192, 446/401 -
2660000 Toy sounding flash gun, Lawrence H Strayer, 1953-11-24, -See SemiAuto Weapons 2660000
2751710 Musical doll-cradle, Percy L Pace, 1956-06-26, -
2814906 Toy outboard motor, Arthur H Orvis, 1957-12-03, - sound changes with tension on musical wire, electric motor powered.
Rubber Band Gun
The rubber band was invented in 1845 (Wiki). One of the uses is for rubber band guns (Wiki).
1461119 Toy gun, Harris James C, Jul 10, 1923, 124/19 - 10 notches & 10 triggers
YouTube: DISINTEGRATOR: The Movie (rubber band gun) -twin drum rubber band mini gun
1483304 Toy gun, Heffner Augustus C, Feb 12, 1924, 124/19 - pulling string lifts rubber band out of notch
1729917 Toy pistol, Webb Thomas E, John R Hiller, Oct 1, 1929, 124/18, 473/589, D21/575, 124/35.1 - includes a special rubber band with eyelet and thick portion, uses close-pin
1868312 Toy gun, Coventry William A, Grey Iron Casting Company, Jul 19, 1932, 124/18, D21/573 -
1890403 Toy gun, Murdock Clifford J, Dec 6, 1932, 124/19 - multiple notches with string
1892405 Toy gun, Metzger Joseph A, Dec 27, 1932, 124/17; 124/18; 124/42 -
D112090 Toy Projector Gun, E. Rundles, Nov 8, 1938 D21/574 - rubber band pistol
2313721 Toy gun, Borth Edward C, Mar 16, 1943, 124/35.1 - 4 shots
2508235 Toy rubber band pistol, Elgan Dunnegan Edward, May 16, 1950, 124/18, 124/35.1 -
2535891 Rubber band gun, Bozarth Walter L, Dec 26, 1950, 124/18, 124/35.1 - keeper (24) tips releasing a rubber band
2578198 Toy gun, Muggli Victor V, Dec 11, 1951, 124/19 -
D193729 Toy Gun, Earl J. Grabau, 1962 - "String-Ding"rubber band gun
3556072 Multiple load rubberband gun, Levin Gilbert B, Jan 19, 1971, 124/19, 124/35.1, D21/574 - pulling strap releases successive rubber bands (see 1483304)
Precision Rubber Band System - Talos - Super Impulse patent 3556072
9562737 Elastic band launcher, Benjamin A. STACK, Super Impulse USA, LLC, Feb 7, 2017 - speed v. distance plot for symmetrical and asymmetrical tension "optimize range and accuracy" 71 Citations, (on order 17 Aug 2017)
Dart, Arrow, Marble
212826 Toy Pistol, Henri M. Weaves, Mar 4, 1879, 124/27 - spring shoots some object
355975 Toy spring-gun, Feed W. Gbandall, Jan 11, 1887, 124/21; 124/37 - rifle "rubber gun" does not shoot the rubber band, but uses it to shoot something else (Wiki: catapult)
368588 Toy Catapult, Petee D. Hobton, Aug 23, 1887, 124/22 - tube anchors rubber bands, shoots arrow
437770 Toy gun, Fowler A. Brandenburg, Oct 7, 1890, 124/22; 124/21 - rifle shoots dart with very large paper fins that have printed advertising
862979 Toy gun, William G Lee, Aug 13, 1907, 124/17; 124/42 - shoots paper squares with spinning motion
1024374 Toy pistol, George W Stambaugh, Apr 23, 1912, 124/21; 124/35.1; 124/42 - shoots disk using rubber band power
1077142 Marble-gun, George Colvin Kennedy, Oct 28, 1913, 124/21 - improvement on 1037262 Marble-gun
1089713 Toy gun, Gustave A M Liljencrantz, Mar 10, 1914, 124/22; 124/26; 124/35.1; 43/19; 446/63 - crossbow pistol for launching paper airplanes
Water Gun
There is some confusion about patent dates. The two examples of Liquid Pistols I've seen both have June 13, 1896 dates, but the Parker patent is dated March 15, 1898, so is not the first liquid pistol. Note they were called liquid pistols because they were intended to shoot ammonia at dogs or people, not as a summer time toy.
Liquid Pistol
The problem with all of these is that the rubber bladder has gone bad. There are three missing parts: the bladder, tube and nozzle.
Parker, Stearns & Co. Liquid Pistol Ad
Parker, Stearns & Co. Liquid Pistol Ad
The icon is a stylized P&S for Parker Stearns & Sutton
They P&S must have purchased the Wolff patent in order to use the June 30, 1896 patent date.
600552 Liquid-pistol, Russell Parker, Mar 15, 1898, 222/79; 222/212; 222/505; 251/9 -
563114 Water-Gun, John Walter Wolff, Jun 30, 1896, 222/79; 222/214; 42/54 - similar to a penny cap pistol, i.e. single piece hammer-trigger, but instead of a spring there is a bladder that gets squeezed when trigger pulled. There are at least 2 different designs that have this patent date. This is the oldest water gun patent in class 222/79 prior patents were for a paint gun and a pistol shaped atomizer.
688882 Liquid-pistol, Russell Parker, Dec 17, 1901, 222/79; 222/210 -
Fig 1 "Wizard" Liquid Pistol
inside, missing bladder and tube.
Fig 1 Liquid Pistol
Marked: Patd June 30, 1886 which is a typo, should be 1896
Results of Search in US Patents Collection db for:
ISD/6/30/1886: 0 patents. No patents have matched your query (PS not a Tuesday)
Fig 2 Wizard Liquid Pistol left side
Fig 1 Liquid Pistol (no model name)
Marked: USA Liquid Pistol
1180855 - see BB Guns
1180856 Liquid-gun, Charles F Lefever, Daisy Mfg Co, Apr 25, 1916, 222/79, 222/383.1, 222/321.8 - semi auto look, slide extends, multiple shots
1180857 Liquid-gun, Charles F Lefever, Daisy Mfg Co, Apr 25, 1916, 222/79, 222/321.8, 222/381 - semi auto look, single shot
1180858 Liquid-gun, Charles F Lefever, Daisy Mfg Co, Apr 25, 1916, 222/79, 222/383.1, 222/321.8 - semi auto look, slide extends, multiple shots
1180859 - see BB Guns
1186212 Liquid-gun, Charles F Lefever, Daisy Mfg Co, Jun 6, 1916, 222/79, 222/321.8, 222/391 - semi auto look, slide extends
1363475 Liquid-gun, Charles F Lefever, Daisy Mfg Co, Dec 28, 1920, 222/79, 222/391 - Buck Rogers 25th Century Liquid Helium Water , 15 Shot Repeater, Pistol, Model X-Z 44.
No. 8
1919 - 1932
No. 8
1143839 Liquid-pistol, Charles F Lefever, Daisy Mfg Co, Jun 22, 1915, 222/79 - semi auto look, rod sticks out back
? Feb. 20, 1917, - ?
1662067 Liquid gun, Charles F Lefever, Daisy Mfg Co, Mar 13, 1928, 222/79, 222/321.6, 222/381 - minimal semi auto look, wire trigger guard is trigger
1706532 Liquid gun, , Charles F Lefever, Daisy Mfg Co, Mar 26, 1929, 222/79, 222/381, 222/162 - pocket pistol look
No. 80 Buzz Barton 6-shot
1935 - 1941
1907839 Liquid discharge gun, Charles F Lefever, Daisy Mfg Co, May 9, 1933, 222/79, 222/391 - revolver look, working hammer
"No. 80 - Daisy Repeating Water Pistol
Designed after the latest model "police special" revolvers. Water chamber is filled by simply pulling back the cylinder rod directly under the barrel of the pistol. This pushes hammer back and pistol is ready to fire first shot. Shoots 6 times without reloading and throes a stream of water about 25 feet. Made of heavy gauge gun steel, blued. No rubber bulb to get out of order. Length 7-1/4", Weight, 7 ounces. Packed 1 in a box, one-half gross in a case."
No. 71 " REPEATER" aka Junior 3-shot Water Pistol
1935 - 1941
44129 (typo?)
1186212 Liquid-gun, Charles F Lefever, Daisy Mfg Co, Jun 6, 1916, 222/79, 222/321.8, 222/391 - semi auto look, slide extends
1363475 Liquid-gun, Charles F Lefever, Daisy Mfg Co, Dec 28, 1920, 222/79, 222/391 - Buck Rogers 25th Century Liquid Helium Water , 15 Shot Repeater, Pistol, Model X-Z 44.
1662067 Liquid gun, Charles F Lefever, Daisy Mfg Co, Mar 13, 1928, 222/79, 222/321.6, 222/381 - minimal semi auto look, wire trigger guard is trigger
No. 71 Water Pistol
Pats. 44129-1186212-1363457 (typo)
1662067 others pending
Made in U.S.A.
REPEATER
No. 72 Squirt-O-Matic
1941
Daisy No. 72
Squirt-O-Matic
Combination water and noise pistol
Daisy Mfg. Co. - Plymouth, Mich - U.S.A.
Patents Pending
Fig 2 Water gun barrel over pop gun barrel
1363475 Liquid-gun, Charles F Lefever, Dec 28, 1920, 222/79, 222/391 - Buck Rogers 25th Century Liquid Helium Water , 15 Shot Repeater, Pistol, Model X-Z 44.
2302963 Toy gun, Charles F Lefever, Filed: Dec 6, 1939, Pub: Nov 24, 1942, 222/79, 222/39, 446/192, 446/475, 124/37, 446/407 -Daisy Squirt-O-Matic, Model No. 72 combines pop & water gun.
Water Gun Patents
2249608 Fluid gas gun, Fred E Greene, 1941-07-15, - CO2 powered water gun intended for use in prisons by adding ammonia and glycerin.
Atom Ray Gun
Many decades ago I dreamed about a water pistol that's very similar to this one. Maybe I saw it when I was younger? But this is missing one of the key ideas and that's a way to pressurize the water, like in the Super Soaker. This design pumps the water out rather than pressurizing the water.
This showed up in a YouTube review of Blazing Saddles.
There are two problems with this example.
1. the zinc trigger is broken,
2. the part of the trigger should be anchored to the rod, but it is not anchored. It needs to be firmly attached to the rod in order to pull the rod, and hence pump the water. How does the trigger casting attach to the rod? Let me know.
Fig 1 from eBay
Fig 2 from eBay
Fig 3 from eBay
Fig 10 sold as-is with broken trigger.
Can it be welded?
The trigger is not attracted to a magnet.
Maybe a zinc die casting?
Cast into the right side: HILLER Pat. Applied for.
Patents related to the Atom Ray Gun:
1178269 Liquid-throwing gun, William F Schmidt, Moyer-Shaw Mfg Co, 1916-04-04, -
D147893 Water Pistol, Edgar A. Crumb, 1947-11-18, -
2566487 Water pistol, Gora John, Scarbrough John Dale, All Metal Products, App: 1947-05-21, Pub: 1951-09-04, -
The box says "The All-Metal Water Pistol That Shoots 50 Times Without Reloading".
The assignee is "All Metal Products" and it's for a water pistol. They hold many patents for pop guns and BB guns.
D168878 Toy water pistol, Charles Arliss, 1953-02-24, -
2707579 Water pistol, Valentine C Vincent, Palmer Plastics, 1955-05-03, -
Super Soaker (Wiki)
Smithsonian: The Accidental Invention of the Super Soaker - Quora -
4591071 Squirt gun, Lonnie G. Johnson, 1986-05-27, - A pump action water gun where air is stored in a 2 liter soft drink bottle.
YouTube: [Stop-Motion Restoration] 1990s Super Soaker Water Gun, 2:59 -
4706848 High efficiency battery operated water gun, Bruce M. D'Andrade, Larami, 1987-11-17, -
4757946 Flow actuated pulsator, Lonnie G. Johnson, 1988-07-19, -
5303848 Double position bayonet connection for pressure tank, Bruce M. D'Andrade, Larami Ltd, 1994-04-19, -
5074437 Pinch trigger pump water gun, Lonnie G. Johnson, Bruce M. D'Andrade, Larami, 1997-12-16, -
5150819 Double tank pinch trigger pump water gun, Lonnie G. Johnson, Bruce M. D'Andrade, Larami, 1992-09-29, - pat num on SS60
5244153 Water gun directional nozzle, James O. Kuhn, Lee J. Goldman, Larami Ltd, 1993-09-14, -
5292032 Pinch trigger water gun with rearwardly mounted hand pump, Lonnie G. Johnson, Bruce M. D'Andrade, Larami, 1994-03-08, -
5305919 Pinch trigger hand pump water gun with non-detachable tank, Lonnie G. Johnson, Bruce M. D'Andrade, Larami, 1997-12-16, -
5322191 Low pressure, high volume pressurized water gun, Lonnie G. Johnson, Bruce M. D'Andrade, Larami, 1994-06-21, -
5779099 Nozzle with turbulence control member for water gun laminar flow ejection, Bruce M. D'Andrade, Larami, 1998-07-14, -
5878914 Toy water gun, Lonnie G. Johnson, Johnson R&D, 1999-03-09, - cites 30 prior art patents - not battery powered but pump with tanks for air and water.
4022350 Water gun, Alan B. Amron, Talk to me, 1977-05-10, - battery powered electric motor drives water pump - cited by 31 patents, most of them electric motor type
4706848 High efficiency battery operated water gun, Bruce M. D'Andrade, Larami Ltd, 1987-11-17
4743030 Water gun and target combat game set, Robert T. Auer, Richard L. Keats, Empire Mfg, 1988-05-10, -
Water Rocket (Wiki)
Prior to the water rocket there were toys that made use of only compressed air for propulsion, some used party balloons. Then came the Baking Soda & Vinegar type. These were an improvement since when the water was expelled there was more thrust.
A water rocket was invented by Lonnie Johnson who also invented the Super Soaker (see above) which is also based on water and compressed air in a 2-liter pop bottle.
NASA: Water Rocket Construction - Rockets Educator Guide -
Air Only (A)
These are very weak.
Baking Soda & Vinegar (BSV)
Many toys make use of Baking Soda and Vinegar which when mixed produce CO2 gas. These require some method of keeping them apart so that when mixed no CO2 will be lost.
Rubber Stopper (RS)
The idea is that the friction between the rubber stopper and the neck of the bottle allows some pressure to build up, then the pressure is great enough that the bottle launches. There is no nozzle.
Science in Action 4M: Water Rocket, Stomp Rocket, - use tire pump until pressure causes rubber stopper plugging 2-liter bottle to blow out.Compressed Air & Water (CAW)
The idea is to install a nozzle that includes a means to hold the bottle. The bottle can be pressurized to any desired amount then released. It's possible to explode the bottle since there's no limit on pressure.
The AquaPod contains an Overpressure Venting system to limit the pressure then pull string to launch.
Quest, AntiGravity: flimsy construction requires special nozzle which is not included with launcher.
Air Command Water Rockets, YouTube - DIY info from the world's record holder
The Water Rocket Achievement World Record Association -
Water Rockets -
A
2733699 Rocket Toy, B. Krinsky, 1956-02-07, -
It looks like the user could add some water and get much much better performance.
BSV
2759297 Partitioned toy rocket, Robert B Lewis, Curtiss Wright (Wiki), 1956-08-21, -
Baking Soda (dissolved in water & Vinegar.A
2879624 Toy Jet Missile, R.A. Benson, 1959-03-31, - balloon
CAW
3046694 Jet propelled toy arrangement, Oscar C Holderer, 1962-07-31, -
this may be the first water-compressed air toy rocket.CAW
3049832 Two-stage rocket, Edward J Joffe, Park Plastics, 1962-08-21, 446/212; 60/221; 60/225; 89/1.8; 137/512; 137/798 - 2-stage air-water rocket.
3820275 Toy rocket motor with pressure responsive means activated by propellant pressure, C Green, Centuri Eng/Estes Ind, 1974-06-28, -
48 Freon-12 tank (Wiki)
54 release
CAW
3962818 Reaction toy arrangement and method, Reginald F. Pippin, Jr., 1976-06-15, - multi stage
RS
5188557 Toy rocket apparatus, Randall L. Brown, 1993-02-23, -
Instead of using a rubber stopper from a chem lab, this uses a drip irrigation fitting.
CAW
D346844 Toy rocket, Bruce M. D'Andrade, LARAMI Ltd, 1994-05-10, -
cites:
D324802 Rocket Toy
2733699 Rocket Toy
2841084 Toy Rocket (solid fuel with parachute)
2879624 Toy Jet Missile
2957272
CAW
5415153 Pressurized air/water rocket and launcher, Lonnie G. Johnson, Bruce M. D'Andrade, 1995-05-16, - cites 16 prior art patents, cited by 41 patents,
The key innovation is using a 2-liter pop bottle as the high pressure vessel. The same innovation that led to the Super Soaker (see above)
CAW
5951354 Toy rocket, Lonnie G. Johnson, Johnson R&D, 1999-09-14, -
adds an improved parachute and simplified pressurization system.
BSV
RS
6568170 Rocket with high pressure fueling module, William D. Rives, Scientific Explorer, 2003-05-27, - Uses 2-liter pop bottle plus chem lab parts plus nose cone and fins.
BSV
7476103 Science party kit and method, Penelope Anne Norman, 2009-01-13, - baking soda and vinegar rubber stopper
CAW
7601046 Launching device for toy rocket, Ping-Sung Chang, 2009-10-13, - uses bicycle brake lever to pull cable. Balanced design to avoid tilting the rocket when string is pulled.
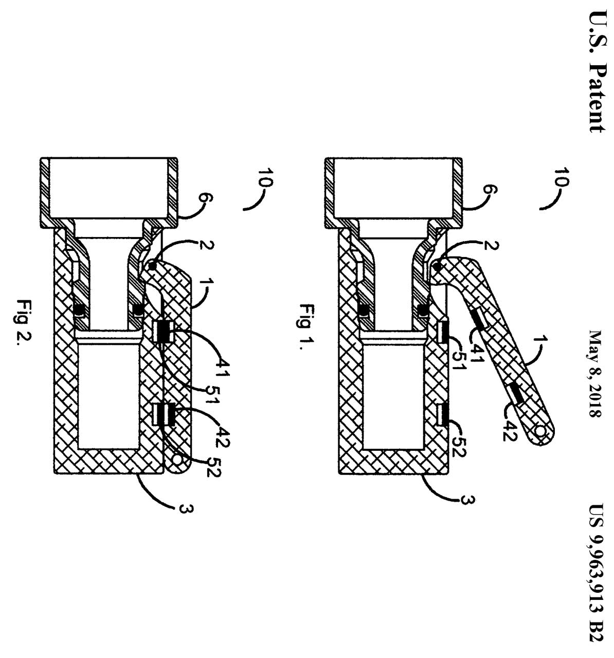
9963913 Latch with magnetic hold-open and magnetic hold-close, William Scott Howell, Scott Douglas Farner, 2018-05-08, - bottle release mechanism
Attracting magnets (42, 52) hold latch closed.
When lanyard pulls arm (1) open repelling magnets (41, 51) hold arm (1) open.
Note no magnets are part of nozzle. They are all in launcher.
relationshipware
CAW
9649571 Water rocket fin attachment system, William Scott Howell, Scott Douglas Farner, 2017-05-16, - extends the bottom of bottle so fins are lower/more effective.
relationshipware
9975057 Water rocket water transfer station, William Scott Howell, Scott Douglas Farner, 2018-05-22, - with metal tube to control water level
relationshipware -use tire pump until desired pressure, then trigger release using bicycle brake lever. Also have fins, recording altimeter, chute release, YouTube: Water Rocket Rail System Assembly & Launch Procedure, 15:25,
Gel Ball Guns (Wiki)
The Hydro Gel gardening capsules sell retail for about $1 per 1,000. Since these are gardening supplies they are not considered firearm ammunition.
YouTube: Low Guido's Chop Shop: Videos -
These toys are popular in Australia where paintball guns are not allowed in some areas.
Gel Blaster Gun, Tatical Gel Blasters, Renegade Blasters, M4A1 Gel Blaster, X-Force Tactical, are some retailers in Australia.
gel blaster mods for beginners: 11.1V battery, 1.3 spring (1.2 is another option) , Al barrel, O-ring;
Why do we use ported cylinders? manometer
The idea is to match the volume of the cylinder be in a good relationship to the barrel volume. But the video goes off the rails when ais used improperly to measure pressure (not volume). Note air is compressible so the volume of tubing connecting the device under test to the manometer adds an error. The question is the maximum pressure that can be applied to a gel ball? Mfg: Zenduo Toys -
Hop-up (Wiki) - Magnus Effect (Wiki) -
Bubble Makers
YouTube:
5498191 Bubble producing toy, Robert A. DeMars, Imperial Toy, 1996-03-12, 446/15; 446/178 - expired in 2015 - cited by 67 patents - peristaltic pump inside (56), Fan (100).Disney bubble wand teardown, 9:17 - a novel method that makes use of a peristaltic pump and fan.
"A toy emitting a steady stream of air bubbles made from a closed fluid system which contains and controls the fluid and is designed to eliminate or minimize spillage during handling of the toy would provide an exciting toy to the child and please any parent."
5520564 Large bubble producing toy, Robert A. DeMars, 1996-05-28, -
20190111358 Bubble producing device, toy, or wand with bubble release, lights, and sound, Christopher D. Kelly, Joshua C. Kelly, Max Armendariz Lalama, Macaulay Bruton, LightUpToys, 2019-04-18, - LightUpToys.com - Looks like the Disney bubble wand in the BigClive YouTube. - Disney Parks Mickey Mouse Glowing Bubble Wand, 1:56 -
Prior Art
4423565 Bubble-blowing device with varying air flow pressure, Philip D. Bart, Miami Toy Makers, 1984-01-03, - two AA batteries power fan and wheel with holes immersed in bubble solution.
Model Rockets
Model rockets (Wiki) are different than toy rockets.
In the 1950s I had a model airplane powered by a Jetex (Wiki) engine. The plane was essentially a glider with the Jetex model 50 (alternate spelling: Jetx, Jet-X) engine added on. The fuse was formed over a very fine (steel?) wire which sometimes would still be there after firing.
archivesite.jetex.org/ - archive of old web page
Jetex.org - current info
How load a Jetex 50, 3:29 -
Also see Ref 4.
These have a lot of similarities with real rockets, see Bazooka.
GB374203 devices for winding model aeroplanes, 1932-06-09, - box to hold plane and geared crank that turns propeller to wind rubber band. (needed because strong torque on prop may break plane.)
GB413466 Improvements in toy aircraft, John Winnington Bristow, Wilmot Mansour & Co, 1934-07-19, - rubber band powered (Wiki)
Wilmot Mansour made rubber band powered model planes and then added a gas reaction motor (Jetex) to them (Wiki).
I have here somewhere a very small & light DC motor-prop and very small battery designed to be mounted on a fold-up paper airplane (Wiki).
1625167 Aeronautic toy, Lawrence H Strayer, 1927-04-19, - flies around pylon which contains battery.
GB642689 reaction motors suitable for the jet propulsion of model aircraft, Joseph Maime Mansour, Wilmot Mansour & Co,1950-09-06, - model 100 & 200
Springs (22) are added as an over pressure safety.
Instead of a hole in thin sheet metal (model 50) the nozzle for the models 100 & 200 is a better shape (Wiki).
GB645897 Improvements in or relating to gas-escape reaction propulsion devices, 1950-11-08, -
GB838490 ignition of gas-generating charges in small reaction motors, Joseph Maime Mansour, Wilmot Mansour & Co, 1956-08-30, -
GB907218A Reaction Motor, Cecil Arthur Rassier, Joseph Naime Mansour, Sebel and Co, 1962-10-03, -model 50, the one I had.
GB922560 Rocket Motor, Cecil Arthur Rassier, Joseph Naime Mansour, Sebel and Co, 1963-04-03, -replace model 50 bail with either screw or bayonet.
GB943991 Combustion mixtures, Cecil Arthur Rassier, Sebel and Co, 1963-12-11, - gas generating mixture (also see China Lake Patents)
80 to 90 parts of guanidine nitrate (Wiki: guanidinium nitrate) are mixed with
35 to 50 parts potassium dichromate (Wiki),
0.5 to 2 parts of sesquinoxide of iron (Wiki) and
1 to 3 parts of kaolin or china clay (Wiki), all parts being by weight.
2617251 Gas escape reaction propulsion device, Alexander C Hutchison, Wilson Matthew, Imperial Chemical Industries, 1952-11-11, -disposable all-in-one jet engine, similar to Estes.
3650214 Toy rocket and gas propellant system, Charles J Green, Vashon Ind, 1972-03-21, -
Tech Ingredients:
J&H Aerospace - Rocket Gliders including thier own Fliplock glider (wings folded back in rocket mode, wings flip out at apogee).DIY Rocket Engines - Easy and Cheap!, - @ 6:02 tease Hybrid design using NOx; Igniting Our Own Rocket Engines - DIY (no data, one explodes);
Aerotech Consumer Aerospace -Mid-Power rocket engines - Single use & Reloadable Engines
LOC Precision - Hi-Power rocket engines
Public Missiles - Hi-Power rocket engines
Apogee Components - Rocket Simulator -
Rocket Central Org -
1901852 Rocket, Stolfa Hermann, Zwerina Rudolf, 1933-03-14, - fireworks, force v. time plots
5707270 System for detonating a percussion cap in a toy projectile, Lonnie G. Johnson, John T. Applewhite, Johnson R&D, 1998-01-13, - noise maker
Orville Carlisle
2841084 Toy rocket, Orville H Carlisle, 1958-07-01, 102/348; 102/349; D12/16.1; 446/52 -
3114317 Model rocket, Vernon D Estes, 1963-12-17, -
2841084 Toy rocket, Orville H Carlisle, 1958-07-01, -
Estes & Estes Industries (Patents)
3157960 Model rocket-glider, John F Schutz, Vernon D Estes, Estes Ind, 1964-11-24, -
3292302 Multistage model rocket, Vernon D Estes, William M Simon, Estes Ind, 1966-12-20, -
3452471 Model boost glider, Gene J Street, Estes Ind, 1969-07-01, -
Estes-Cox (Patents)
Centuri Corp aka: Estes-Cox Corp
3820275
5413514 Recoverable aerial toy, Tim V. Milligan, Estes-Cox Corp (Centuri Corp), 1995-05-09, - blades pop out and allow auto-rotation decent
Tripoli Rocketry - Vendors - Approved GPS units for altitude records -
Puff of Air
2614551 Toy gun, Shelton Thomas M, Filed: Jun 14, 1946, Pub: Oct 21, 1952, 124/55, 273/386, 122/479.2, 124/37, 124/27 -
2855714 Smoke ring producing toy gun, Thomas William J, Oct 14, 1958, 42/57, 124/1, 124/55, 42/54, 446/24, 124/2 - roll cap firing to make smoke
2085412 Repeating toy pistol, Bixler Willard R, Jun 29, 1937, 42/57 - roll cap firing mechanismD154516 Toy Gun, Thomas M. Shelton, Filed:Aug 9, 1947, Pub: Jul 12, 1949, D21/574; 446/473 -
6421502 Smoke generator and toy smoke-ring gun using same, Alan Aronie, Joel Aronie, Jul 16, 2002, 392/399, 446/24, 392/404 - "Zero Blaster Fog Smoke Ring Gun" uses 6 ea. AA batteries to heat liquid used to make smoke.
3342746 Process for producing steam and smoke clouds in a toy, Eberhard Seuthe, Sep 19, 1967, 516/6, 392/387, 392/405, 446/24 -for toy locomotives where intermittent puffs are desired. mixture of hydrocarbons one with a boiling point between 150 - 230 deg C and the other between 250 - 450 deg C. Example 16: 90% n-diamylketone and 10% water.
2324359
--------------------
Training Rifle
This is a 28-1/2" long version of the rifle Parris made for training soldiers at the start of W.W.II. (Wiki: M1903)
The soldier training or parade version is about 43" long (1903, M1 parade dummy rifles for spinning and manual of arms, a lower cost 42" 1903 rifle only good for marching.)
Fig 1
This was made by Parris Mfg Co. (Wiki) and they are still in business. Before W.W.II they made a wind generator based on an automotive generator 2052816, 2102309.
2406493 Imitation firing mechanism for training arms, Dunn William G, Filed: Jan 8, 1943 Pub: Aug 27, 1946, 42/69.2, 42/20, 42/106 - non firing low cost Springfield M1903 (Wiki) training rifle
2649849 Pistol construction, Parris Cecil L, Parris Mfg Co, Aug 25, 1953, 124/66, 124/41.1, 124/37 - pop gun cocks like Buck Rogers 25th Century pistol. - pat No. appears on M1903 training rifle
Cap Guns
First Generation Cap devices
266813 Toy cap-exploder, Charles P. Harman, Oct 31, 1882, 446/400 - "imitation whip crack" - on end of string
738585 Detonating toy, Carl E Wenzel, 1903-09-08, - toy cannon with hollow barrel acting as megaphone
190481 toy cap-exploder, William G. Fischer, May 8, 1877, 446/402; 135/66; 42/54 - two part arrow for paper cap
1250425 Toy pistol, Silas B Brown, Edwards Mfg Company, Dec 18, 1917, 42/57 - marked "Scout" with (E) on grip (i.e. letter E in a circle.
1647577 Toy pistol, Peake Edward S, Kilgore Mfg Company, Nov 1, 1927, 42/57 - roll of caps
1872093 Toy pistol, Peake Edward S, Kilgore Mfg Company, Aug 16, 1932, 42/57, 226/164 -
1921133 Toy pistol, Peake Edward S, Kilgore Mfg Company, Aug 8, 1933, 42/57 -
2045369 Machine gun type pistol, Rickenbacher Robert J, Kilgore Mfg Company, Jun 23, 1936, 42/57 -
2482436 Toy gun cartridge, Kenneth C Ream, 1949-09-20, - cleaver upside down sear and upside down trigger.
273879 Toy cap-exploder, Daniel H. Murphy, Mar 13, 1883, 42/57; 244/117R - works with a strip of caps
D13815 Toy Pistol, Charles F. Ritchel, The unexcelled Fireworks Company, Mar 27, 1883, D21/574 - cap pistol
D13816 Toy Pistol, Charles F. Ritchel, The unexcelled Fireworks Company, Mar 27, 1883, D21/575; D22/108 - cap pistol
258972 Toy cap-exploder, Edward Aldom, Jun 6, 1882, 446/400; 42/54 - ball with cap under a hammer. When thrown a string (held in the hand) trips the hammer.
D25147 Toy cap-exploder, Edward R. Ives, Feb 11, 1896, D22/112 - on end of a string
236599 Toy cap-exploder, Louis Kysee, Jan 11, 1881, 446/297 - when string is pulled the hand of monkey moves up smacking it's mouth exploding a paper cap
332063 Toy cap-exploder, Henry M. Dixon, Dec 8, 1885, 446/297; 42/54; 446/398 - when fired a bird drops as if shot
392820 Toy cap-detonator, Charles Oakfoed, Nov 13, 1888, 446/398; 81/20 - looks like a hammer
433427 Toy Detonator, J. Voger & J. Brooks, July, 29, 1890, 446/400 - when a string is lowered and this item hits the ground a plunger fires cap
591827 Toy detonating trick device, M.N. Drew, Oct 19, 1897, 446/398; 116/99 - looks like pocket watch, but when stem is pulled up fires cap
650048 Sounding toy, Levi Knott, May 22, 1900, 446/402; 135/66; 42/54 - based on 22 blanks and is a way to remove the empty case.
708084 Toy-cartridge exploder, Robert L Short, Cleveland Toy And Mfg Company, Sep 2, 1902, 446/402; 42/54 - a cane like stick with a ball on the end holding a cap. May be the one now on eBay with a patent date of April 8, 1900 (sic, is a Sunday)
2708429 Elastic band gun with cap exploder, Tufts George E, May 17, 1955, 124/2, 124/18, 124/31 - fires cap as it shoots.
Hubley Mfg. Co.
The Hubley Mfg. Co. (Wiki) was named after John E. Hubley.
548093 Toy Pistol, J.M. Ribert, John E. Hubley, Oct 15, 1895, 42/54 - fires caps. It's not clear if paper or metal (Wiki). Derringer (Wiki) shape, single piece hammer-trigger
1993916 Toy pistol, Brubaker Jacob E, Hubley Mfg Company, Mar 12, 1935, 42/57 - revolver appearance, roll cap gun, break action to open
2088891 Toy pistol, Brubaker Jacob E, Hubley Mfg Company, Aug 3, 1937, 42/57, 42/58 - revolver appearance, cylinder hinges out like real gun to access roll caps
1962387 Toy pistol, Brubaker Jacob E, Hubley Mfg Company, Jun 12, 1934, 42/57 - revolver appearance, roll cap gun
2137154 Toy pistol, Brubaker Jacob E, Hubley Mfg Company, Nov 15, 1938, 42/57 - looks like .25 pocket auto pistol. roll cap holder hinges up
2148603 Cartridge simulating device for use in toy pistols and the like, Brubaker Jacob E, Hubley Mfg Company, Feb 28, 1939, 102/430, 102/530, 102/281, 42/58, 102/441 -
2722073 Toy firearm with slidable magazine cover, Rockey Sr Harry J, Weimer John H, Hubley Mfg Company, Nov 1, 1955, 42/57 - .45 auto appearance,
2855715 Toy cap revolver with ejector, Weimer John H, Hubley Mfg Company, Oct 14, 1958, 42/58, 124/82 - 6 shot revolver with removable "cap-bullets"
2857699 Toy rifle, Weimer John H, Hubley Mfg Company, Oct 28, 1958, 42/57, 42/75.1, 42/21 - lever action rifle, roll caps?
2912780 Toy revolver, Weimer John H, Hubley Mfg Company, Nov 17, 1959, 42/58 - revolver, ball & cap simulating seating lever.
2944358 Toy cap revolver, Weimer John H, Hubley Mfg Company, Jul 12, 1960, 42/58 - improvement on 2912780 - a two part shell where the bullet acts as an anvil for the cap which is trapped between the shell casing and the "bullet".
Langson Mfg. Co. (LMCO) Popping Paper pistols
Wix web page dedicated to LMCO products
LMCO Super-Nu-matic Pistol
160965 Toy Fire-arm, Eben T. Starr, Henry C. Morgan, Mar 16, 1875, 42/57 - roll cap derringer style pistol (first in class 42/57, prior patents were for cap and ball guns)
1004043 Automatic Air Torpedo, O.A. Langos, Sep 26, 1911, 446/182 - cane?
1112563 Pneumatic pistol, Daniel R Sackman, Oct 6, 1914, 446/182 - paper roll just in front of trigger guard, cocks like Daisy Buck Rogers pop gun, i.e. forward break of grip. Not LMCO.
1004043 Automatic air-torpedo, Otto A Langos, Sep 26, 1911, 446/182 - paper bursting cane tip
1220242 Automatic air-torpedo, Otto A Langos, Melville M Ostertag, Mar 27, 1917, 446/182 - paper bursting cane tip
17337981334867 Toy, Otto A Langos, Melville M Ostertag, Mar 23, 1920, 446/182 - <mounted on base plate with crank, i.e. machine gun paper blasterAutomatic air torpedo, Harlan Ralph P, Oct 29, 1929, 446/182 -
1273303 Air-torpedo, Frank B Wuebben, Jul 23, 1918, 244/14 - not a toy, but rather what we would call a cruise missile (Wiki).
1632518 Sounding-toy film burster, Lawrence H Strayer, 1927-06-14, -
1660175 Toy Pistol, Peake Edward S, Feb 21, 1928, 42/57, 446/401 - roll cap gun - not LMCO
Calls:D75635 Toy Popgun, William J. McMarlin (McMablin), Lawrence H. Strayer, McDowell Mfg Co, 1928-06-26, -
859032 Pistol, Cane, and Toy Gun, Earl T Adams, Jul 2, 1907, 42/57 - roll cap pistol, roll inside grip
1930450 Toy, Langos Otto A, Langson Mfg Co, Oct 10, 1933, 446/464, - clockwork powered vehicle, non-removable key and free run after spring winds down
2008915 Vest Pocket Flashlight, O.A. Langos, Chicago Electric Mfg Co, July 23, 1935, 362/203, 200/60, 12/142.00C - see my Flashlight web page and <CTRL><F> 2008915 switched by pressing battery against spring to contact back of lamp.
2058241 Toy, O.S. Langos, (not assigned), Oct 20, 1936, 446/304 - pulling trigger causes bird sitting on barrel to peck
D102382
Fig 1
Fig 2
2083535 Pg 1
2083535 Pg 2
D102382 Toy Gun, Otto A. Langos, Dec 15, 1936 - Paper Bursting,
2083535 Toy, Langos Otto A, Jun 8, 1937, 446/182, 29/270 - paper popping sci-fi (D102382)
D110750 Paper Burster Toy, Otto A. Langos, (Alfred F. Langos, Otto E. Langos, Harold L. Langos & Matilda R. Langos), Aug 2, 1938, - cane
2168454 Sparking paper rupture toy weapon, Anthony N Smith, Louis Marx and Co, 1939-08-08, -
2176474 Paper rupture pistol, Anthony N Smith, Louis Marx and Co, 1939-10-17
2179662 Paper Burster Toy, Langos Otto A, Alfred F Langos, Harold L Langos, Matilda R Langos, Otto E Langos, Nov 14, 1939, 446/182 - cane
2265606 Holder for the Paper of a Paper Breaker Gun, Langos Otto A, Alfred F Langos, Harold L Langos, Matilda R Langos, Otto E Langos, Dec 9, 1941, 242/410, 242/598.5, 83/177, 83/53, 242/598.6 - top of barrel near muzzle
2355595 Paper Breaking Gun, O.A. Langos, Alfred F Langos, Harold L Langos, Louis A Langos, Matilda R Langos, Otto E Langos, Aug 8, 1944, 446/182, D21/575 - bottom roll, long trigger (common on eBay)
D156438 Toy Gun, Otto A. Langos, 1949 - space ray gun using paper roll - D75635
2490991 Self-Feeding Paper Bursting Toy Gun, O.A. Langos, (not assigned), Dec 13, 1949, 446/182, 124/37 - paper roll under barrel near muzzle, used paper comes out at top of barrel at back
D156438 Toy Gun, Otto A. Langos, Dec 13, 1949, - goes with 2490991
RE23386 Self-Feeding Paper Bursting Toy Gun, O.A. Langos, Langson Mfg Co, July 3, 1951, 446/182 - RE Issue of 2490991
2494605 Toy firearm, Oscar A Albrecht, 1950-01-17, - "Tommy Gun" sound and "smoke"
2590187 Combination toy gun holster and package, Alfred F Langos, Langson Mfg Co, Mar 25, 1952, 224/575, 224/240, 224/677, 229/103, 229/112, 224/911, 224/673, 224/906, 224/679, 206/315.1, 206/317, 206/216 -
2634548 Toy paper bursting six-shooter, Langos Otto E, Apr 14, 1953, 446/182, 124/55, 124/37 - Revolver appearance with extra long trigger
2634549 Self-Feeding Paper Burster Gun, Langos Alfred F, Apr 14, 1953, 446/182, 124/37 - paper roll just in front of trigger guard below barrel.
2634550 Low-pressure multipull paper burster gun, Langos Alfred F, Langson Mfg Co, Apr 14, 1953, 446/182, 124/37, 74/156, 74/142 -
2637941 Paper Burster Gun, Langos Harold L, Langson Mfg Co, May 12, 1953, 446/182, 124/37, 226/164 - similar to 2634549
2641868 Paper Bursting Toy Gun, Langos Alfred F, Langson Mfg Co, Jun 16, 1953, 446/182, 226/160- revolver appearance with extra long trigger
D225542 Toy Film Bursting Cane, Lawrence H. Strayer, Kenneth W. Pratt, Funtime Products, 1972-12-19, -
Patent/model?
Fig 1 No marking of any kind.
Fig 2
Cites:LMCO Super-Numatic
1334826 Detonating device, William P Woerner, 1920-03-23, - paper cap in bottom of cane
1583513 Detonating toy, Milton M Adler, 1926-05-04, - paper cap in bottom of cane
Fig 1 paper strip cut from 8-1/2 x 11" paper.
Just under 3/4" wide. Pin on top right pulls paper back
but . . . the paper is not being "popped".
Fig 2 U.S. Pat. 2,083,535
Pat. No. 481162 (????)
Canada Pat. No. 378,006 (CA491552, CA491553A, CA491554)
Other Pats. Pend.
Made in U.S.A.
Albert T. Linney All Paper Pop Gun
D114548 Toy Gun, A.T. Linney, May 2, 1939, D21/574 - folded paper with "Funnel" at muzzle.
The thick frame (I've colored green in the patent drawing) is about 0.028". The thin paper (blue) is about 0.003" thick. (close to printer paper.)
I'm looking for a source of the thick paper since it would be easy to make this yourself.
D114548 Toy Gun
Fig 1
Fig 2
Fig 3
Louis Marx & Co. Inc.
2835495 Toy shooting range, Sakuta Daniel, Raymond J Lohr, Louis Marx & Co. Inc., May 20, 1958, 273/356, 273/391, 124/16, 273/397 -
Fig 1 Very poor Packaging.
Fig 2
Fig 3
Fig 4
2835495 Toy shooting range, Sakuta Daniel, Raymond J Lohr, Louis Marx & Co. Inc., May 20, 1958
D233847 Toy shooting gallery, Martin Condry, Louis Marx a Co, Dec 3, 1974, -
Calls:3098474 Toy repeat firing cap gun with percussive firing noise and simulated used shell ejection, Mahlon E Hirsch, Merl Carl, Louis Marx and Co, 1963-07-23, - lever action rifle
D214456 Cabinet for a moving target display, Burton Linne, Jun 17, 1969, -
243096 Toy piano, E.C. Bailey, June 21, 1881,
1036879 Target, Walter Curtis Miner, Aug 27, 1912, 273/388, - hitting bird knocks down bird and brings up circle, hitting circle knocks down circle and brings up bird. Wiki: Steel Target, IPSC Targets
Cap Bomb
These are similar to a dart (Wiki) but instead of a point have a combined weight and exploding mechanism for paper caps.
Fig 1 shown open
Fig 2 shown closed
433427 Toy Detonator, J. Vogel & J. Brooks, 1890-07-29 -
1385634 Mechanical toy, Marshall Percy Andress, 1921-07-26, - toy airplanes includes cap bomb
1502198 Detonating toy, Hill Harry Wallace, 1924-07-22, -
173212 Toy cap-exploder, Charles Coester Jr, 1876-02-08, - uses fulminating-powder.
1893787 Torpedo dart, Otto F Schroeder, 933-01-10, -
2119524 Exploding dart, Char Yew, 1938-06-07, - either conventional bomb tail or Badminton Shuttlecock (Wiki)
2183152 Toy Bomb,Harold N Prensky, Grieshaber Eugene, 1938-11-28 -
2503360 Explosive toy bomb, Thomas S Stephenson, 1950-04-11, - versions to work with either toy caps or blank shells. Includes ports for gas (sound) escape.
2534976 Toy bomb, Clifford A Kidder, 1950-12-19, -
2611999 Cap Discharge Device, Raymond M Mikolay, Tybond Tool Engineering Company, 1950-01-16, 446/400 473/582 -
2637142 Detonating toy dart, Kahn Julian Seth, 1953-05-05, -
2710490 Toy bomb with noise amplifier, Wildstein Stephen Ned, Palmer Plastics Inc, 1953-07-28, 446/400 -
2752729 Explosive rocket toy and launcher, Peter A Macinnes, 1956-07-03, - rocket is fired from barrel in hammer head.
3059376 Soft nose cap-firing bullet, Wildstein Irving, 1962-10-23, -
Callen Cap Corp
2616219 Toy Bomb, Harry Callen, Callen Mff Corp, 1949-11-29, 446/400 -
3183623 Toy Bombs, Callen Eugene, 1963-05-13, 446/400 - improved version of 2616219 so that only 2 pieces are needed.
1030532 Toy pistol, Peder T Pederson, HANS A REKSTAD, 1912-06-25, 124/21; 124/37 -
1159706 Toy pistol, Peder T Pederson, 1915-11-09, 124/27 -
In the 1930s Charles W. Griffith figured out that a beam of light could be used to simulate the aim of a gun and patented a couple of ways to do that. These were used in dozens of arcade games.
876088 Electric pistol, Ernst Oswald Pfeil, 1908-01-07, 42/54; 340/321; 42/106; 362/112; 446/401 - this is a form of flashlight
2007082 Marksmanship practicing means, Charles W Griffith, Rayolite Rifle Range Co, 1935-07-02, - gun makes flash of light and photocell target activates if illuminated. turns lamp on and off electrically
2007083 Shooting gallery, Charles W Griffith, Rayolite Rifle Range Co, 1935-07-02, - uses the above Ray-O-Lite system, when activated a solenoid flips down the target, which may have been moving on a belt.
RE
2070529 Marksmanship practicing device, William P Falkenberg, 1937-02-09, - Duck on pond, shotgun simulator
2119005 Light gun, Alva J Carter, Rayolite Rifle Range Co, 1938-05-31, - uses mechanical shutter to pass light from lamp that's also switched.
2131791 Electric target rifle range, Alva J Carter, Rayolite Rifle Range Co, 1938-10-04, - duck moving in circle
2148612 Electric target range, Reginald D French, Rayolite Rifle Range Co, 1939-02-28, - climbing squirrel
2159141 Electric rifle range, William P Falkenberg, Rayolite Rifle Range Co, 1939-05-23 - duck on belt pops up on left and down at right.
2181015 Electric target practice game, William P Falkenberg, Rayolite Rifle Range Co, 1939-11-21, - cuckoo clock with swinging pendulum, Thud sounder for each shot, but stops when all the shots have been fired.
2181948 Target practicing apparatus, Fred C Mcclellan, Rayolite Rifle Range Co, 1939-12-05, flock of ducks, marginal light turns off when hit.
2188292 Electric target machine with reversing target, Jawn R Hall, William P Falkenberg, Rayolite Rifle Range Co, App: 1939-08-25, W.W.II, Pub: 1940-01-23 - man in forest, 2 units (shooter and target),
2241670 Electric target range, Archie J Mcmaster, Rayolite Rifle Range Co,1941-05-13, - single unit, lamp & shutter pistol, stationary wild animals with target active lamps,
2269258 Target rifle range, William P Falkenberg, Rayolite Rifle Range Co, App: 1940-01-06, W.W.II, Pub: 1942-01-06, - bonus shots for high score
2275150 Electric rifle, Mahlon W Kenney, Herman G Jensen, Rayolite Rifle Range Co, App: 1940-01-12, W.W.II, Pub: 1942-03-03, - 2 units, target reverses direction when hit, simulates metallic bullet, (practice for W.W.II?)
2285035 Gun stand for electric target devices, Mahlon W Kenney, Herman G Jensen, Rayolite Rifle Range Co, App: 1940-07-15, W.W. II, Pub: 1942-06-02, - shooter unit holds 2 rifles.
2308814 Electric rifle range, Mahlon W Kenney, Herman G Jensen, Rayolite Rifle Range Co, App: 1940-01-20, W.W.II, Pub: 1943-01-19, - 2 units, target reverses direction when hit, simulates metallic bullet, (practice for W.W.II?)
I remember the Wham-O (Wiki) wood "Y" slingshot and later the over the wrist wire slingshot, as well as the Frisbee (Wiki) and Hula Hoop (Wiki).
2614551 Toy gun, Thomas M Shelton, 1952-10-21, - later sold to Wham-O (patents). - Air Blaster, no nose piece
3410013 Toy cap gun having a parabolic gas expansion chamber, Jack V Miller, Ronald W Froelich, Edward E Headrick, George C Strader, Wham O Manufacturing Co, 1968-11-12, -
4157703 Toy gun, Gary W. Brown, Jimmie L. Whittington,Douglas A. Geller, Wham O Manufacturing Co, 1979-06-12, - Air Blaster with nose piece
881150 Amusement device, Charles B Post, Ward Stilson Co, 1908-03-10, -
YouTube: 17+ Mysterious Items - @1:06 18-Inch Wooden-Handled Object: Petty Bone Manufacturing
1936150 Toy explosive device, Sorcn S Adams, 1933-11-21, -
YouTube: What Is This MYSTERIOUS Mechanism In A Matchbook...,
This patent number appears on an eBay example but a better patent is 2640297
eBay search term "(gag,fun,joke,novelty) exploding" - Most items do NOT include the plastic caps.
2640297 Explosive fountain pen, Sorcn S Adams, 1953-06-02, - @0:56: Matchbook with spring mechanism
I won a tethered model car, probably a Cox, that used a 2-stroke engine. The smell of Nitromethane fuel and the Doppler shift of the engine sound was quite something.
Wiki: Leroy M. Cox; Cox model engine (his first products were pop guns.); Cox Models,
Adding this after watching YouTube: The Death of America's Airplane Model Empire: The Abandoned Cox Models Factory, 1:03:33.3955310 Automatic control device for tethered model airplane, Larry H. Renger, Cox Mfg, 1976-05-11, - "U-control" (Wiki), 2-mechanical wires control a bell crank for up/down. Adds balance arm for automatic correction for wind. A child can easily keep plane level.
4067139 Electric powered flying model airplane, Kenneth R. Pinkerton, Douglas J. Malewicki, Cox Mfg, 1978-01-10, - "U-control" includes On/Off switch
4440122 Model airplane engine starter, Roger D. Theobald, Cox Hobbies, 1984-04-03, - turning prop backwards winds a spring, which will then spin the prop to start engine.
4651688 Model airplane engine starter and drive train, William H. Selzer, J. Dale Kirn, Cox Hobbies, 1987-03-24, - improvement to prevent prop slip
D331083S Radio transmitter control for model airplanes, Daniel Gunderson, William H. Selzer, Cox Hobbies, 1992-11-17, - design w/single joy stick and trim tabs.
16 Aug 2017 called both the Daisy museum and Daisy headquarters and neither of them has any information about patents or errors in patent number stamping.
Easily confused letters and numbers (ismp.org)
0
8
3
9
3
8
4
9
5
8
5
3
6
8
7
1
So D54748 might be (single substitution): D84748, D34748, D59748, D54148, D54798, D54743, D54745, D54740, D54746 - none of these is the pop gun, Maybe a dual sub?)
40mm Gernades & Related
AN-M8 Pyrotechnic Flare Pistol & Gyrojet & Sedgley Mk IV & Mk 5
China Lake Patents: Proximity Fuzes, Sidewinder, Shrike, &Etc.
Hammerlli M150 Free Pistol
FN FAL Rifle, Ballistics, Rifling, Picatinny rail, MIL-STD-1913 rail, 2324 rail, or tactical rail, Method of Stadia (Range-finding, SOPMOD M4 Accessory Kit & various types of optical sights
Ruger SP101 357 Magnum Revolver
Daisy BB Guns
Survival Kit with pen flare gun
Semi-automatic Weapons - Thompson
Ruger SP101 .357 Magnum Revolver
Ref 1. Toy Rayguns - 30's & 40's - 50's & 60's Rayguns - European - Japanese - Accessories - Box Art and Target - Holsters, Suits, Helmets - Gallery/Links -
Ref 2. Ray Gun, Jr. Metcalf, Eugene W. , Frank Maresca, 1999, ISBN-13 : 978-1584180043 - nice color photos of guns and related literature
Ref 3. Big Bang Cannons: the Heavy Artillery of Vintage Toys, 19:38 -
Ref 4. Jetex JETCAR - Good old fun, but dangerous?, 16:21 - tethered so runs in a circle, the pivot point (an eyelet) is built into the box, which needs to be weighted.
PRC68, Alphanumeric Index of Web pages, Contact, Products for Sale
Page Created 2017 June 17