Aqua Locator

Dip Needle or Miner's Compass

© Brooke Clarke, N6GCE, 2003 - 2022



Aqua Locator
Aqua Locator
                  Front w/o carry case
Aqua Locator Top
                  w/o carry case


Background
Operation
Instructions
Aqua Locator related Patents
Dip Needles
Dip Meters
Related
Links

Background

These are known as "Dip Needles" or "Dip Circles" (Wiki) or Miner's Compass where Strike and Dip (Wiki) are as important as bearing.

Reading water meters is made more difficult in that some are not read frequently and so they get hidden by weeds, dirt blown by the wind, etc.  In order to make finding them easier a number of products were developed, the Aqua Locator is one of them.  This product is not a "water witching" device but rather a magnetic dip needle that's optimized for locating ferrous metal in the ground, like a water meter, but can be used for finding any ferrous metal that's relatively near the surface.  It's a compass that works on the up-down part of the field (which is stronger than the horizontal field in most of North America).

This is a magnetic dip meter.

Most water meters (Wiki) contain magnets that allow coupling the movement of the vanes to the counting mechanism that's in an adjacent water proof compartment.

Operation

When the instrument is turned face up it acts like a conventional azimuth compass, except the window only displays the cardinal directions NW - N - NE, but by turning the case you can get the Red end of the needle to point North.  Then the Aqua Locator is held a few inches off the ground using the carry strap and is oriented with the North arrow on the case pointing North.

Now maintaining the North direction slowly move the locator over the area where ferrous metal might be located and look down at the image of the needle in the 45 degree mirror.  When over ferrous metal the needle will move to a vertical position.

When I brought the locator over a metal stake that was driven into the ground with a sledge hammer the needle flipped over, i.e. instead of seeing the Red end the Black end was pointing up!  The stake probably was made into a magnet when pounded into the ground. Or may have been manufactured as a magnet for just this purpose.

Instructions

Sam Poon was kind enough to send the instructions and here they are (less an image of the locator):
INSTRUCTIONS
for use of the
AQUA MAGNETIC LOCATOR
LOCATES VALVE BOXES, SURVEYOR'S STAKES, MANHOLE COVERS
 AND OTHER CONCENTRATED FERROUS METAL OBJECTS.
The following is a series of steps in the use of the Aqua Magnetic Locator. Please follow them carefully for 100% satisfaction:
 
1. Open flap on leather case. (Instrument need not be removed from case.) Turn AQUA
    on its side, bottom of case toward you, NW, N, NE dial level. In this position, your
    AQUA is a compass. Point dial portion north until red end of needle points exactly at
   "N". You now have true north position.
 
2. Turn AQUA upright, point gold arrow on leather case to "N", as was indicated
    by instrument in step #1. (When leather case is very new, it is helpful to fold
    the flap down firmly so that it will remain in position when in use, and not
    obscure the dial.) Using carrying strap, lower instrument to just a few inches
    above ground, holding instrument carrying strap over four fingers. Holding strap
    by four fingers minimizes chances of instrument twisting out of position as
    you walk. Be sure that "N" is still pointing north.
 
3. Begin "walking" the instrument in parallel paths, about 12 to 15 inches apart,
     until the red end of the needle dips and the black end of the needle appears.
    Find the point of maximum reading: that point at which black end comes nearest
    to "90" mark. At this point, walk at right angle to former path, still keeping
    instrument pointing toward north, until maximum reading is found on right angle
    path. This is the location of missing valve box or stake.
 
When object to be located is very deep in the ground, or heavily covered, a full deflection
to "90" mark cannot be expected. In cases of this kind, "70" or "75" may be the best reading obtainable.
 
In areas where there are high voltage overhead wires, there is usually electrical disturbance, which will cause the red end of the needle to show on dial. This does not hamper location operations. When over the object, red end will disappear and black end will appear on dial.
 
Where shrubbery or other obstructions prevent the strap method of holding instrument, AQUA may be removed from its leather case and metal rim pulled up and used as a
handle. However, whenever possible, keep AQUA in leather case, as a protection
against possible damage from bumps and jolts.
 
THE AQUA SURVEY & INSTRUMENT CO.
7041-43 VINE STREET AT SEYMOUR CINCINNATI, OHIO 45216 PHONE: (513) 821-2514

Patent

Dec. 25, 1956, Christmas day the patent office must have been working, US patent number 2775736 was granted with the assignee Aqua Survey & Instrument company, Cincinnati, Ohio. the patent classes are: 324/260; 33/345; 33/348; 116/303; 324/67; 324/156; 324/228; 324/326
2775736 Valve locating device, Othmar W Pies,
                  William H Middendorf, Jr Carl F Evert, Aqua Survey
                  & Instr Co, 1956-12-25
2775736 Valve locating device, Othmar W Pies,
                  William H Middendorf, Jr Carl F Evert, Aqua Survey
                  & Instr Co, 1956-12-25 2775736 Valve locating device, Othmar W Pies, William H Middendorf, Jr Carl F Evert, Aqua Survey & Instr Co, 1956-12-25, 324/260; 33/345; 116/303; 324/156; 324/326; 33/348; 324/67; 324/228 -

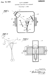
1639229 Latitude indicator for aircraft, George P
                  Luckey, 1927-08-16
1639229 Latitude indicator for aircraft, George P Luckey, 1927-08-16, 356/250 - used a magnetic dip needle (10) and pendulum (11).

Dip Needles

Description

The body is about 3-1/2" diameter.  As received the needle was out of it's bearings.  The cover glasses on both sides can easily be removed to access the pivots'.  There is a shipping stability Split pin (Wiki) that can be inserted on either side near the top which captures the needle making it less likley to be jarred out of the pivots.  Note in Fig 2 I have the split pin in the storage/ship position.

In Fig 2 and Fig 3 you can see a small spring near the pivots on the white painted part of the needle.  This can be moved along the needle.  These are common on normal magnetic compasses and used to counter balance the downward force on one end of the needle so that the needle sits level.  Without this feature on a magnetic compass the needle tends to jam or have high friction and so is sticky.  But I don't see why this weight/spring is on a dip needle.  Let me know why it's there.

Photos

Fig 1
Darley &
                  Co Dip Needle
Fig 2
Darley &
                  Co Dip Needle
Fig 3
Darley &
                  Co Dip Needle

Patents

Looking for WS Darley & Co but no Dip Needle patent found, but many pumps.Here are some that might be related.
  108555 Improvement in compasses for mining, J. Blomgren, Oct, 25, 1870, 33/355R; 324/259 -
  887140 Dipping needle, Pascal H Stedman, 1908-05-12, 33/355R; 324/259 -
  961298 Prospector's needle, Dell W Jewell, 1910-06-14, 324/345; 324/259 -
1947809 Miner's compass or dip needle, William F Sprengnether, 1934-02-20, 33/355R; 324/259 -
2461864 Instrument for geophysical exploration, Zuschlag Theodore, 1949-02-15, 324/259; 33/355R; 33/352 -
3142122 Magnetic instrument, Boepple Otto Hartwig, Kenyon Inst Co, 1964-07-28, 33/352; 33/359; 33/355R; 324/259 -

Dip Meters

Used in oil exploration then . . .
1980100 Electromagnetic process for surveying the deviations of drill holes, Schlumberger Conrad (Wiki) Services Petroliers Schlumberger SA, 1934-11-06, - using the 3D Earth's magnetic field to plot the path of a bore hole.  Makes use of an Induction Compass (Navigation) and pendulum.  Later this was expanded to learn about the nearby soil.

3014177 Electromagnetic earth surveying apparatus, Ernest T Hungerford, Charles H Fay, Shell Oil, 1961-12-19, - mentions: self-potential dipmeter, the resistivity dipmeter, and the microlog dipmeter.  For measuring the Earth's magnetic field (Wiki, Sensors).  The patent works with the soil resistivity and Eddy Currents (Wiki).

Also see Ground Water EM Survey.

Related

3 Axis Magnetometer - field instrument
Aircraft Pilot's Standby Magnetic Compass B-16
DC Gaussmeter Model 1
    AMY6 Magnetic Polarity Tester
    GE Gauss Meter & Reference Magnet
Electromagnet Toy Engine
Fluxgate (& other) Patents
Helmholtz Coil
    Sensitive Research Instrument Co. Fluxmeter
    Annis M25 Pocket Magnetometer
    Cenco Scientific 79860 Dynamo Analysis Apparatus - works with Fluxmeter
    M3 Coil Magnetic Survey Instrument &
    
Ruska Helmholtz Coil
Home Built Magnetometers
HP 428 Clip-on Milliammeter Magnetometer
HT20 2000 mT Magnetic Flux Meter
KVHC100FG KVH C100 Flux Gate Compass module
Magnetics
Magnets
MC1 MC-1 Magnetic Compass Calibration Set similar to AN/ASM-344
Permanent Magnet DC Motors
Sonobuoys use magnatometers
Telegraph Telegraph Equipment, Stock Ticker, District Telegraph, Teletype, Keys, Relays, Sounders, Veedre Counter, Early Connectors, Electro-magnets
Torpedoes tried to  use magnetic exploders
Weeden-El-Mtr  Weeden DC Electro0magnetic Machine (Motor or Generator)
Wireless Driveway Monitor - STI-34100 solar power magnetometer

Links

Kenyon College, Ohio -  Instruments for Natural Philosophy - ElectricityThe Dip Needle - a page of photos of old ones.
These show up on eBay from time to time.
Back to Brooke's PRC68, Products for Sale, Sensors, Military Information, Personal Home page

page created 5 July 2003.