Harris TS22AL Telephone Butt Set

© Brooke Clarke 2021

Harris TS22AL
                  Telephone Butt Set

Background
Description
Manual
Photos
Patents
Related
References
Links

Background


It turns out there's a memory backup battery built into this butt set and when it goes bad all functionally stops.  So you can get them for a low price.  This is how I got this one, knowing that the internal battery would need to be replaced.

Description

Versions

TS22L Amplified Speaker (for listening only)
TS22AL
Speakerphone & Speaker (talk and listen when in TALK mode)

Batteries

Speaker power

Battery:  9V
Remove three screws near Belt Clip (snap hook) to access battery compartment.
Memory
Battery: 2032 3V coin cell.

Cords

Harris Butt Set Cords
The standard cord is the P3218-028 Single Piercing Pin.
The most common option is the P3218-234 Angled Bed of Nails that also has a piercing pin.

Manual

Harris TS 22L and TS 22AL Data Lockout Series Craft Test Set Description and Use (pdf) is on line.
There's no mention in the manual of the memory backup battery!
Note the U.S. government put a requirement on all purchases some decades ago banning internal batteries that were not user replaceable.

Photos

Fig 1
Harris
                      TS22AL Telephone Butt Set

Fig 2
Harris
                      TS22AL Telephone Butt Set
Fig 3
Harris
                      TS22AL Telephone Butt Set
Fig 4 9V measured 2.2V,
CR2032 Measured: 0.017V
Harris
                      TS22AL Telephone Butt Set
Fig 5 The CR2032 battery has tabe spot welded to the top and bottom.  The tabs are soldered into the PCB.
Harris
                      TS22AL Telephone Butt Set
Fig 6  I broke the top spot welds and broke the bottom tab to remove the battery.
Harris
                      TS22AL Telephone Butt Set
Fig 7
Harris
                      TS22AL Telephone Butt Set
Fig 8 Checking polarity: top of battery=+
Note solder pad under battery and solder pad
near lower left corner are both ground.  Used the latter pad for connection.
Harris
                      TS22AL Telephone Butt Set
Fig 9 Installed.
Harris
                      TS22AL Telephone Butt Set
Fog 10  Need to trim plastic tab on cover.
Harris
                      TS22AL Telephone Butt Set



Patents

3708634
                      Telephone hand test set, M Vantill, G Laing, D
                      Lounsbury, Nortel, 1973-01-02
3708634 Telephone hand test set, M Vantill, G Laing, D Lounsbury, Nortel, 1973-01-02, 379/21 -
Prior Art test sets had Monitor - Talk switch for High or Low impedance. 
But were not designed to be connected to a circuit carrying data. 
This test set allows bridging a data circuit without problems.

- not well suited for dry loop operation
D258061
                      Telephone transmitter and receiver, Arthur L.
                      Foreman, (Dracon) Harris, 1981-01-27,
D258061 Telephone transmitter and receiver, Arthur L. Foreman, (Dracon) Harris, 1981-01-27, -
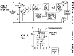
4682346
                      Telephone test set, Richard W. Faith, Thomas W.
                      Durston, Fluke (Harris), 1987-07-21
4682346 Telephone test set, Richard W. Faith, Thomas W. Durston, Fluke (Harris), 1987-07-21
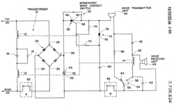
The voltage drop across the polarity indicating circuit of the TS-21 diminishes the usability on "dry circuits"
where there is no central office battery.  The TS22 solves this problem and so works on both types of circuit.
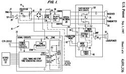
4691336
                      Telephone test set having an auxiliary amplifier
                      and speaker for permitting listening to line
                      signals, Thomas W. Durston, Harris (Fluke),
                      1987-09-01
4691336 Telephone test set having an auxiliary amplifier and speaker for permitting listening to line signals, Thomas W. Durston, Harris (Fluke), 1987-09-01, - Allows (1) hearing speaker with test set clipped to belt, (2) can listen to DATU (Wiki) messages, (3) in monitor mode no disturbance to line.  Replaces an add on amplifier used on the TS-21.

3632878 Piggyback amplifier, John A Stratman, Lumedor Prod, 1972-01-04





Historical Patents

Excluding ones that contain a hand crank magneto.

736672
                      Telephone, John A Barrett, Louis A Falk, Herbert E
                      Shreeve, AT&T, 1903-08-18
736672 Telephone, John A Barrett, Louis A Falk, Herbert E Shreeve, AT&T, 1903-08-18, - Western Electric 244
1439729
                      Telephone hand set, Deakin Gerald, AT&T,
                      1922-12-26
1439729 Telephone hand set, Deakin Gerald, AT&T, 1922-12-26, 379/362; D14/148; 379/370; 379/433.07; 379/433.01 - Belgium may use different dial number order?
1440752
                      Telephone Test Set, R.B. Stone, 1923-01-02
1440752 Telephone Test Set, R.B. Stone, 1923-01-02, 379/21 379/433.01 - specifically does NOT have a magneto since they are huge.  All prior telephone test sets have had them and so were mounted in wooden boxes.
1613851 Hand
                      telephone, Sengebusch Hans, Automatic Electric,
                      1927-01-11
1613851 Hand telephone, Sengebusch Hans, Automatic Electric, 1927-01-11, 379/370 200/1A D14/148 -
Looks like current standard dial number order.
2039625
                      Acoustic device, Blount Nelson, Bell Labs,
                      1936-05-05
2039625 Acoustic device, Blount Nelson, Bell Labs, 1936-05-05, 379/370 D14/148 425/DIG.56 379/433.01 -
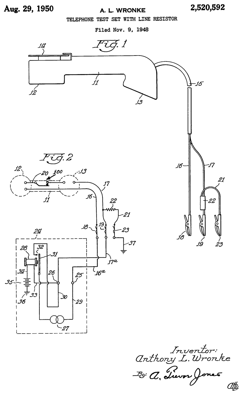
2520592
                      Telephone test set with line resistor, Anthony L
                      Wronke, 1950-08-29
2520592 Telephone test set with line resistor, Anthony L Wronke, 1950-08-29, 379/21 -

Includes dial (14) mounted behind receiver.

Related

Phones -

Bell System 302 Dial Phone -
Bell System 500 Dial Phone -
Bell system 2500 Touch Tone phone -
Cell Phones
EE-8 Telephone Set
Fullerphones
TSEC/KY-65
TA-1 Sound Powered Telephone Set
TA-312/PT Telephone Set  (Field Phone)
TA-341/TT
TA-838/TT Telephone Set
TA-1042  Digital Non-Secure Voice Terminal (DNVT)
TG-5-B Telegraph Set
Western Electric 202 Dial phone-

Test Equipment
Fluke TS100 Cable Fault Finder
HP 4395A Network Analyzer with the HP 4380S CAT 5 Cable test System
KS-8455L2
MK-356/G Wire Splicing Kit
Tempo Sidekick T&N
ZM-4B/U Resistance Bridge
Harris T1000 ADSL tester
Harris TSP-21 Test Set - similar or operator's phone
Acterna DSL350 Tester
JDSU SmartClass ADSL Tester
Subscriber Loop Analyzers -
Telephone Tool Kit
Tone & Probe
TS-2839/GY Audio Test Set - for U-77 military audio accessories
TS-3647/G, Control Orderwire Unit (COU)
Others
SB-22A  Switchboard
SB-4170 /TT Switchboard
HYX-65-1 Wire-line Adapter Local Unit for KY-65
Panasonic KX-TA824 Small Business hybrid PBX
Sound Powered Telephone & early Loudspeakers
GRA-39 Radio Set Remote
Z Impedance
Z0 - transmission line impedance including CAT5 and Open wire
Station Protection

References


Links

PRC68, Alphanumeric Index of Web pages, Contact, Products for Sale
Page Created 2021 June 15