Pendulum Astrolabe


© Brooke Clarke 2018 - 2023
Pendulum
                  Astrolabe
Pendulum
                  Astrolabe Pendulum
                  Astrolabe

Pendulum
                  Astrolabe

Background
Description
Photos
Patents
Related
References
Links

Background

The Astrolabe (Wiki) is an ancient instrument used to measure the elevation angle of a heavenly body above the horizon.  These early instruments could only be used for determining Latitude (Wiki), or if your Latitude is known the elevation angle of a planet or star.  

The more modern Astrolabes, used with precision time sources can determine you Longitude as well as Latitude.  This is a 60 degree Pendulum Astrolabe or the Danjon (Wiki) Prismatic Astrolabe (Royal Observatory).
Is David White still in business?
YES.  David White’s SitePro is now based in Lafayette, IN (near Purdue University).

The David White name is known for high-quality surveying equipment and optical instruments. The David White Company was founded in Milwaukee, Wisconsin, in the year 1895 by Mr. David White. The founder was born in Hungary and his occupation was that of an instrument maker. After immigrating to the United States he started the company with the help of established relatives in the Milwaukee area. 
In 1900, he organized a partnership with Charles Klaweither, as they were both involved with manufacturing drawing and surveying instruments. The company was incorporated on June 22, 1912 and it's products became widely recognized for craftsmanship in specialized optics along with the name for high quality. 

How old is this David Clarke Astrolabe?
Most likely the last number (on mfg. plate) is the internal mfg. serial number, 
which would suggest a 1945 manufacturing date.

Description

From TM 5-234 (References) : "An astrolabe is an instrument by which stars are observed at a constant altitude.  It is not necessary to know the actual altitude of the observation, since this datum does not enter into the computation for position.  In the 60° pendulum astrolabe the stars are observed at approximately 60° altitude."  "It consists essentially of a V-shaped telescope at the bottom of which is suspended a flat mirror."

This is a 60 degree Pendulum Astrolabe used to determine a location on Earth based on observing star crossings of a circle that has a 60 degree elevation above the horizon.  This is part of Geodetic Astronomy  (Wiki related subjects).  This is in the class called Transit Instruments (Wiki) also see Theodolite.  The Zenith Telescope at the local Ukiah Latitude Observatory is also a transit instrument, but it's main function is to measure the zenith angle of a pair of stars. 

Corps of Engineers
Purchase Order No. 23-3914
Pendulum Astrolabe
Serial No. 40
David White Co. Milwaukee, Wis.
No. 29431 (this may mean 1945 date)

The observing eyepiece contains 5 lines.  So each star gets measured 5 times.

Photos

Fig 1 Double Boxed Shipping
Pendulum
                      Astrolabe
Fig 2 Peanuts between boxes
Pendulum
                      Astrolabe
Fig 3 Bubble wrap around Astrolabe
Pendulum
                      Astrolabe
Fig 4 Right side
Pendulum
                      Astrolabe
Fig 5 Left Side
Pendulum
                      Astrolabe
Fig 6 Front
Pendulum
                      Astrolabe
Fig 7 Back
Pendulum
                      Astrolabe
Fig 8 Label
Corps of Engineers
Purchase Order No. 23-3914
Pendulum Astrolabe
Serial No. 40
David White Co. Milwaukee, Wis.
No. 29431
Pendulum
                      Astrolabe
Fig 9
Pendulum
                    Astrolabe




Patents

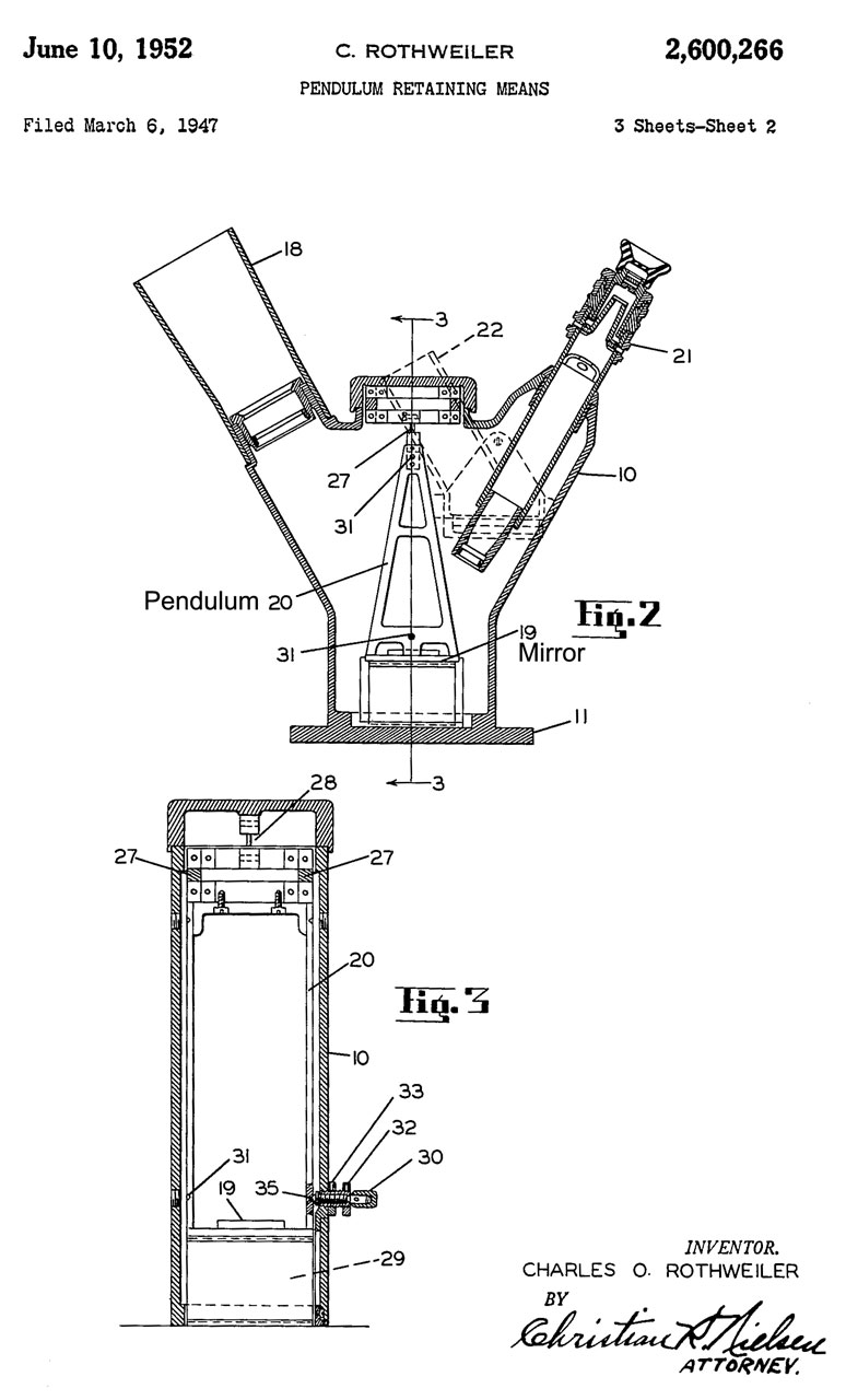
2600266
                      Pendulum retaining means, Rothweiler Charles,
                      David White Company, 1952-06-10
2600266
                      Pendulum retaining means, Rothweiler Charles,
                      David White Company, 1952-06-10 2600266
                      Pendulum retaining means, Rothweiler Charles,
                      David White Company, 1952-06-10 2600266 Pendulum retaining means, Rothweiler Charles, David White Company, 1952-06-10 -
Calls:
 444705 Plumb Level, J.T. Lambdin, Jan 13, 1891 - plumb bob in tube
 505445 Adjustable spirit-level and plumb device, 1893-09-26 -
 663252 Leveling, plumbing, and angle-measuring instrument, John S Bogardus, 1900-12-04 - uses pendulum
 920718 Level, Peter J Bernard, 1909-05-04 - pendulus pointer and dial
 1586153 Plumb level, Herbert L Hunter, 1926-05-25 - pendulum angle readout
1651014 Sextant, Wilbur A Cogshall, 1927-11-29 - Eyepiece - Mirror - Objective
1806506 Nut lock, W.G. Savidge, May 19, 1931 - Cone interface double nut
2191201 Lock Nut, Samuel M Kass, 1940-02-20 - Cone interface double nut
2407416 Level or like surveying instrument, Gudmundson John Ejnar, 1946-09-10 - pendulum with vertical mirror






2408343 Level, Rothweiler Charles, 1946-09-24 - (16) allows lateral adjustment as well as leveling



2440211 Leveling Device, Rothweiler Charles,1948-04-20 - (16) leveling screw?



2504454 Leveling Device, Rothweiler Charles, David White Company, 1950-04-18 - (16)  totally enclosed, no exposed threads; leveling screw?



2666675 Adjustable bearing, Rothweiler Charles,1954-01-19

Related

Astronomy
Eastern Science Supply Co. Heliostat
Gyroscope - Foucault -
Pendulums - related to gravity and time
Navigation 
Stellar Time -
Theodolite
Time and Frequency
Ukiah Latitude Observatory - Photographic Zenith Tube
Warren Knight PIBAL Theodolite

References

TM 5-234 Topographic Surveying 1953 - Chapter 10 Geodetic Astronomy, Section 7 Observations with the 60 deg. Pendulum Astrolabe
TM 5-238 60 deg Star Graphs
The Contribution of the Impersonal Astrolabe to Fundamental Astronomy, George Darwin Lecture delivered by Professor André Danjon on 1958 May 9
Make your own Astrolabe by Dominic Ford -
List of Technical Manuals in the 5-230 series
TM 5-230 Topographic Drafting
TM 5-231 Mapping Functions of the Corps of Engineers
TM 5-232 Elements of Surveying
TM 5-233 Construction Surveying
TM 5-234 ?
TM 5-235 Special Surveys
TM 5-236 Surveying Tables
TM 5-237 ?
TM 5-238
60-Degree Star Graphs
TM 5-239?
TM 5-240 Aerial Photography
TM 5-241 The Universal Grid Systems
TM 5-242?
TM 5-243?
TM 5-244 Multiplex Mapping Equipment



The Museum of HP Calculators -  Spherical Triangles for the HP-41 - program to solve spherical triangles
HP 48 Astronomy Programs -

History of [the] U.S. Army Topographic Laboratories (1920 to 1973)”. (AD0785549)
Chapter 6. R&D Programs mentions:
pdf g 81 W&T altimeters adopted 1943
pdf pg 83 Astrolabs

Links

PRC68, Alphanumeric Index of Web pages, Contact, Products for Sale
Page Created 24 November 2018